PGA4130 - Cooker Pando - Free user manual and instructions
Find the device manual for free PGA4130 Pando in PDF.
Download the instructions for your Cooker in PDF format for free! Find your manual PGA4130 - Pando and take your electronic device back in hand. On this page are published all the documents necessary for the use of your device. PGA4130 by Pando.
USER MANUAL PGA4130 Pando
Installation and user manual
Guarantee certificate

Quality Management System Certification

ISO 14001:2015 - ES20/208675
Environmental Management System Certification
integralkitchen solutions
Images and content in this catalogue is of exclusive property of Pando- INOXPAN S.L, for which it is completely forbidden the use of images as well as total or partial reproduction without previous authorisation in written.
LAS IMÁGENES MOSTRADAS EN ESTE CATÁLOGO NO SON CONTRACTUALES.
THE IMAGES SHOWN IN THIS CATALOGUE ARE NOT CONTRACTUAL
Pando Technical Management reserves the right to modify, alter or improve any technical drawings exposed in this Catalogue with previous warning.
Precaución: No permitted that the border is a metal (B) which apoyes alone.
£ Qn Gas Natural = 6.0 kW
£ Qn GPL = 436 gr/h (G30)
TENSION = 220 - 240 V ~
FRECUENCIA = 50 / 60Hz
DATOS TÉCNICOS DE LA REGULACION GAS DEL APARATO
£ Qn Gas Natural = 6.0 kW
£ Qn GPL = 436 gr/h (G30)
10) REMPLACEMENT DES BUSES
∑Qn Gaz Naturel = 6,0 kW
Qn GPL = 436~gr / h (G30)
Tension = 220 - 240V
Frequence = 50 / 60Hz
DONNÉES TECHNIQUES DU RÉGLAGE DE GAZ DE L'APPAREIL
First of all we wish to thank you for the trust shown on our Company by purchasing one of our products. We are sure you have made the right choice.
In Pando, not only we offer first quality products, but also we make available a large professional team to serve and assist you on any query you may have regarding installation and/or performance.
We also suggest you to pay a visit to our web site (www.pando.es/en) to get to know us better and where you will find all product range containing all necessary commercial and technical information.
A wide selection of extractor hoods can be found there; Wall Hoods, Ceiling, Island or Canopy Hoods. Four types of installation making possible to adapt ourselves to any type of kitchen based on different needs.
At the same time, we take the opportunity to introduce you our collection of in house essential appliances, such our new high performance Ovens and Microwaves, Induction and Gas Hobs to make real your best recipes. Wine Coolers and Aging Wine Coolers to maintain and keep your wines in best of conditions and built-in Dishwashers with latest technology.
All that under a brand with over 40 year history in the market, making products like a real craftsman, and gathering in them the best of our experience to please all your needs.
We sincerely look forward you to have fun, experience and enjoy with the comfort and capacity of what already became your new kitchen ally.
Many Thanks
The PANDO Team

The symbol on the product or its packaging indicates that this product cannot be disposed of like normal domestic waste. The product must be handed over at a collection point for recycling electrical and electronic equipment. If you ensure that this product is correctly disposed of, you will help to avoid the possible negative environmental and public health effects that could arise from incorrect disposal. For more detailed information about recycling this product, please contact your city authorities, the domestic waste service or the establishment where you purchased it. This electrical appliance is marked in compliance with European Directive 2002/96/EC on electrical and electronic appliance waste (WEEE).

ENVIRONMENTAL PROTECTION AND WASTE TREATMENT
DISPOSAL OF THE PACKAGING. The packaging is marked with in Green Dot.
In its commitment to the protection of the environment and in compliance with the provisions of the European Directive 94/62 / EC on packaging and packaging waste and the derived Law 22/2011 on Contaminated Residues and Soils, Pando entrusts entities of social economy an Integrated Management System, responsible for the periodic collection at the consumer's home or in its vicinity of used packaging and packaging waste for subsequent treatment.
To remove all packaging materials such as cardboard, expanded polyurethane, and film, use the appropriate containers.
This ensures the correct treatment and reuse of packaging materials.
EN - INTRODUCTION
Dear Costumer:
We sincerely than you for purchasing our product.
We are sure that this new appliances, state-of-the-art, practical and functional, manufactured of the highest quality materials, will fully meet your expectations. The appliance is very simple to operate.
However, to ensure optimum results when using it, please read and understand this manual.
Provided instructions are valid only in the countries whose symbols are shown on the operating manual title page and on the appliance label. The manufacturer accepts no liability for potential personal harm or property damage resulting from incorrect installation or improper use of the appliance.
The manufacturing company accepts no liability for discrepancies in the manual that may arise as a result of misprints or copying error. Figures in the text are given for reference only. The manufactures reserves the right to make modifications of its products that are required or necessary for meeting user needs in the opinion of the manufacturer, but that do not affect basic safety and operating specifications of the appliance. This cooktop is designed to be used exclusively as food preparation equipment. Using it for other purposes(such as room heating) is improper and dangerous.
OPERATION
MODEL:PGA-4130

Attention: this appliance is designed for domestic use in a home environment by normal consumers. The appliance may be used only by adult, completely sane persons. It is prohibited to let children approach the appliance or play with it. Easily accessible parts on the appliance front may become very hot during use.
Make sure that children and handicapped persons do not touch hot surfaces and keep away from the appliance during its operation.
WARNING:
Children under 8 years of age can stay near the product only providing constant control.
This appliance can be used by children over the age of 8 as well as physical, sensorial or mentally handicapped people or inexperienced people if they are appropriately supervised or trained regarding the safe usage of the appliance and they are aware of the possible dangers its use could entail.
Children are not allowed to play with the appliance.
Children are allowed cleaning and performing maintenance of the product only under control.
OPERATION
The scheme indicating the gas ring, which is controlled by the knob, is specified on the cooktop surface above each control knob. When tap of gas network or gas cylinder is opened, ignite gas rings performing actions, which will be described below:
Automatic Electrical Ignition
Press and turn the control knob counterclockwise corresponding to the gas ring, which is planned to be used, until the knob is in "Maximum" position (high flame, Fig. 1). Then press the knob to stop.
- Ignition of Gas Rings Equipped with Control Thermocouple
If gas rings are equipped with control thermocouple, then turn the control knob counterclockwise corresponding to the gas ring, which is planned to be used, until the knob is in "Maximum" position (high flame, Fig. 1) and press it, when it comes to stop. When gas ring ignites, hold the control knob within about 10 second.
If flame goes out suddenly, turn off the gas ring by the control knob and wait within at least 1 minute, then try to turn on the gas ring.
Gas Ring Use
To achieve the maximum result at minimum gas consumption, you should remember that:
- It is necessary to use pans corresponding to each gas ring (refer to the Table below and Fig. 2).
- Upon achievement of the boiling point, place the control knob into "Minimum" position (low flame, Fig. 1).
- Use only pans with covers.
DUAL gas ring:
regulation of internal flame line independent from external line (in practice, dual gas ring, which is controlled by one knob); high flexibility during operation due to the possibility to use only internal flame line or the whole gas ring (internal and external flame lines simultaneously).
IGNITION AND OPERATION OF DUAL GAS RING
Place the pan on the cooktop before igniting the gas ring.
Notwithstanding that DUAL gas ring is controlled by the rotary knob, it can be operated in two different modes.
A) - Operation of the whole gas ring:
in "off" position it is necessary to press the rotary control knob simultaneously turning it counterclockwise until it gets into the position
designated with a sign of maximum supply position that will ensure maximum supply for both flame lines.
When the flame ignites, hold the rotary control knob in pressed position within several seconds until the device can automatically sustain gas ring ignition.
Then it will be possible to regulate flame intensity turning the rotary control knob counterclockwise (from the position of maximum supply for internal and external flame lines) to the position of maximum supply for internal line and minimum supply for external line. In order to go out the gas ring turn the rotary control knob clockwise, until it gets into "off" position indicated with sign .
B) - Operation only with internal flame line:
When flame is ignited, with maximum supply for internal flame line and minimum supply for external flame line as it was mentioned above, turn the rotary control knob counterclockwise until it overcomes a small obstacle, then supply to the internal line will be maximum, and external line goes out.
To set the minimum supply to internal flame line, continue turn the control knob counterclockwise.
Turning off:
In order to go out the gas ring turn the rotary control knob clockwise, until it gets into "off" position indicated with sign .
If DUAL gas ring has already operated in one of the above mentioned modes, you can go from one mode into the other pressing and turning the control knob until it gets into the required position.

OPERATION
| Gas Rings | Pan Ø (cm) |
| Whole DUAL gas ring | 22 ÷ 30 |
| DUAL internal flame line | 8 ÷ 16 |
WARNING:
- Ignition of gas rings equipped with control thermocouple is possible, only if the control knob is in "Maximum" position (high flame, Fig. 1).
- In the absence of electricity, gas rings can be ignited with matches.
-
Don't leave the product without control during gas ring operation, make sure that there are no children near the product. Among other issues, make sure that pan handles are in correct position, carefully control cooking with use of oils or fats, as there are highly inflammable substances.
-
It is prohibited to use sprays near the operating product.
- Don't move the pans on glass surface, they can leave scratches.
- If you notice cracks on glass surface, immediately disconnect the product from the mains.
- Don't lean on the cooktop.
- Don't put pans on gas rings with unstable or deformed bottom, they can turn over, liquid contained in them can flow out and cause injuries.
- Persons (including children) with limited physical and mental abilities or persons, who don't have experience in electrical equipment handling are allowed using this product only provided that they are under control and receive instructions from grown-ups, who are responsible for their safety. It is necessary to control that children don't play with the product.
- Place pans so that they don't protrude beyond the cooktop.
ATTENTION:
In case of cooktop glass damage:
- Immediately go out all gas rings and turn off electrical heating elements, then disconnect the product from the mains.
- Don't touch the product surface.
- Don't use the product.
Maximum gas supply position

"Off" position
Minimum gas supply position

FIG. 1
FIG. 2
OPERATION
WARNING AND RECOMMENDATIONS FOR THE USER:
- During operation of cooking gas equipment in the room, where it is installed, heat and moisture are generated. Thus it is necessary to ensure proper ventilation of the room, control that openings for natural ventilation (Fig. 3) are not closed and turn on mechanical device for ventilation (cooker hood or electric fan Fig. 4 and Fig. 5).
- During intensive or long-term operation of the product additional ventilation can be required, for example, you will have to open the window or ensure more efficient ventilation increasing poser of the available forced ventilation.
- If equipment is operated within a long term period and intensively, the necessity in addition ventilation can occur; in this case you will have to open the window or improve ventilation increasing power of forced ventilation, if installed.
- Don't try to change the product specifications, it can be dangerous.
- If the decision to stop operation of this product (or replace the out-of-date model) is made, then before disposal, it is recommended to make the product worthlessness observing the applicable regulations in the area of health and environment protection, which are provided for such cases, and remove parts, which can constitute a threat especially for children, who can use the disposed product as a toy.
- Don't touch the product, if you have wet or humid hands or legs.
- Use the product only after shoes putting on.
- The manufacturer shall not be responsible for damage, which can occur as a result of improper, wrong or incorrect operation.
- During operation and immediately upon its completion some part of cooktop is heated to very high temperature: don't touch them.
- After cooktop operation, make sure that the rotary control knobs are set into "off" position and close the main tap of gas supply system or cylinder tap.
- In case of failure in gas supply tap operation, contact with the technical support service.
This cooktop is exceptionally developed for use as equipment for cooking, use for any other purposes (for example, for room heating) is improper and dangerous.

(*) AIR ACCESS: REFER TO CHAPTER "INSTALLATION" (SECTIONS 5 AND 6)
FIG. 3

FIG. 4

FIG. 5
OPERATION
ENERGY AND COOKWARE SAVING TIPS







- To avoid energy loss, do not use pots without lids or with partially closed lids when cooking.
- Position cookware precisely in the burner center.
- Do not place large-sized cookware near control knobs. These can be damaged by excessively high temperature.
- Never place cookware directly on the burner, but only on the grate. Before that, make sure that grates are installed correctly.
- Be careful when handling cookware on the cooktop. Avoid shocks and do not place objects that are too heavy.
- Do not remove cookware when the flame is still burning. This may result in heavy injuries.
- Use cookware with the size appropriate for each burner. Do not use cookware with the size that is smaller than burner size. Flame should not be touching cookware sides.
- Use only cookware with good, flat and thick bottom. Deformed cookware can overturn.
CLEANING
ATTENTION:
Before performing any works on cleaning, disconnect the product from the gas network and the mains.
2) OPERATING PANEL
In order the glass surface keeps shine, it shall be washed with warm water with soap after each use, rinsed and dried. Moreover, it is necessary to wash enamelled grates, enamelled caps "A", "B" and "C" and gas ring heads (refer to Fig. 6-7) and clean ignition plugs "A" and thermocouple probes "TC" (refer to Fig. 6). It is prohibited to wash all these parts in dishwashing machine.
Cleaning shall be performed carefully with small nylon brush, as shown in the Figure (refer to Fig. 8) and the product shall be left till complete drying. Cleaning shall be performed after complete cooling of cooktop and its components, it is prohibited to use metallic sponges, abrasive powders or sprays causing corrosion.
It is necessary to exclude long-term contact of the surface with such products as vinegar, coffee, milk, salt water or lemon or tomato juice.
WARNING:
When arranging cooktop components in their places, it is necessary to observe the following recommendations:
- Make sure that slits of gas ring heads "T" (Fig. 6/A) are not blocked with foreign articles.
- Make sure that enamelled caps "A", "B", "C" (Fig. 6-7) are correctly installed on the gas ring heads. In the correct position the cap installed on the head shall be completely stable.
- If any tap is opened and closed hardly, don't apply force: immediately contact with the technical support service.
- Grates shall be installed on the appropriate centering pins (or on aluminium shape, if any). Make sure in complete stability.
- It is prohibited to use steam jet when cleaning the product.




CLEANING
ATTENTION:
Before each cleaning it is necessary to disconnect the product from the gas network or the mains.
Ceramic-Glass
In order to maintain shine for ceramic-glass surface, it is recommended to treat the glass surface with substance on the basis of silicon before operation commencement to create a film, which ensures protection from water and contamination. This protective film is nondurable, thus, treatment shall often be repeated with use of such a substance.
It is very important always clean the glass after use, till it is warm.
When cleaning never use metallic sponges, abrasive products and sprays, which cause corrosion.
Considering contamination degree, you should remember that:
- Small contaminations can be removed by means of soft sponge.
- Resistant and hardened contaminations can be easily removed by means of scraper (Fig. 6/B), which is not included into the cooktop delivery set, but which can freely be purchased in the local network. Use the scraper carefully not to injure.
- Remaining liquid having spilled from the pans shall be removed with vinegar or lemon.
- Be careful, prevent sugar or products containing sugar getting on the cooktop during cooking. If it occurs, turn off the cooktop and immediately remove spots, until they cool, with warm water and scraper.
- At insufficient cleaning of the cooktop or incorrect cookware handling, in course of time colour spots, metal glares or strips can occur on the cooktop. Though it is difficult to remove them, these strips are not a sign of failure in the cooktop operation.
- It is prohibited to use steam jet when cleaning the product.
SIZES, WHICH SHALL BE MET (mm)
| A | B | C | D | E | F | |
| 1F (30) | 282 | 482 | 59 | 59 | 300 min. | Min 70 mm |


INSTALLATION
TECHNICAL INFORMATION FOR PERSONNEL BEING RESPONSIBLE FOR INSTALLATION
Only qualified people can perform installation, any regulations, modifications and operations on maintenance, which are described in this chapter. The manufacturer can't be considered to be responsible for damage, which can be caused to the persons, animals or property as a result of incorrect installation of the product.
Within the product service life, changes in the devices, which ensure safety or automatic regulation of equipment, can be made by the manufacturer or its properly authorized supplier.
3) COOKTOP BUILDING IN
Remove outer package and inner packages of all movable components, make sure that the cooktop is in serviceable condition. If the product condition raises doubt, the product operation shall be prohibited, it is necessary to contact with the qualified personnel. Package elements (cardboard, bags, foam polystyrene, nails...) shall be keep out from children, as they represent sources of potential hazard.
For cooktop building in, opening with sizes given in Figure 9 shall be cut out on the countertop of your furniture and it is necessary to make sure in strict observance of the limit distances within the area, where the product will be installed (refer to Fig. 10). The equipment belongs to the products of the 3 class, thus it shall meet all the requirements specified in the standards, which cover the indicated products.
The installer shall consider that the product can be installed only with one side wall (from the right or from the left of the cooktop), which height shall be higher than the level of the cooktop and which shall be located observing the minimum distance, which is indicated in the Table given below.
4) COOKTOP FASTENING
The cooktop is equipped with special gasket, which excludes any leakage of liquid inside the furniture. For correct installation of this gasket, the following instructions shall be strictly observed:
- Remove moving parts of the cooktop.
- Cut the gasket into 4 parts with the required length in order to install them on 4 edges of the glass surface.
- Turn over the cooktop and correctly arrange adhesive surface of gasket "E" (Fig. 11) under the cooktop edge so that external edge of the gasket aligns with the cooktop perimeter edge. External edges of the strips shall mate without overlapping.
- Attach the gasket to the glass uniformly and reliably pressing with fingers.
- Install the cooktop into the opening made in the furniture and secure it with screws "F" using fastening hooks "G" (refer to Fig. 12).
- In order to exclude possible accidental contacts with the surface of cooktop casing, which is highly heated during operation, wood pad shall be placed at a distance of at least 70mm from the countertop and fixed with screws (Fig. 9).
- To fix the product on the supporting structure, it is not recommended to use electrical electric screwdrivers, fastening hooks shall be tightened manually with average force.

FIG. 11

FIG. 12
INSTALLATION
IMPORTANT RULES, WHICH SHALL BE OBSERVED DURING INSTALLATION
The installer shall consider that the product can be installed only with one side wall (from the right or from the left of the cooktop), which height shall be higher than the level of the cooktop and which shall be located at the minimum distance, which is indicated in Table 9.
Moreover, the rear wall and surfaces, which adjoin and enclose the cooktop, shall withstand temperature of 90^ .
Binding agent, by means of which plastic plate is fixed on the furniture, shall withstand temperature not less than 150^ , in order to exclude coating separation.
When installing the product, the provisions of the applicable standards shall be observed.
The device for combustion residual removal is not attached to the product. Thus, the product shall be installed observing the requirements for installation, which were mentioned above. The special attention shall be paid to the applicable provisions in the area of ventilation and airing, which will be stated below.
5) ROOM VENTILATION
To ensure correct operation of the product it is necessary to provide constant ventilation in the room, where it is installed. The amount of air, which is required for normal gas combustion and room ventilation shall be provided, this amount shall not be less than 20m^3
Arrangement and Fastening of Hooks on the Inside.

Natural air access shall be provided directly through constant openings made in the walls of the room, which is planned to be ventilated. The specified openings shall come outside and have cross section not less than 100cm^2 (refer to Fig. 3). They shall be made so that the possibility of their blocking shall be excluded.
Moreover, it is allowed to perform indirect ventilation by air injection from the rooms being adjacent to the room, where ventilation is required, besides, the provisions of the applicable standards shall be strictly observed.
ATTENTION: if gas rings of the cooktop are not equipped with control thermocouple, ventilation opening shall have cross section not less than 200 cm².
6) ARRANGEMENT AND AIRING
It is necessary to ensure removal of combustion residuals from cooktops by means of cooker hoods, which shall be connected with ventilation ducts, flue funnels or have outlet directly outdoor (refer to Fig. 4). If ventilation duct can't be used providing strict observance of the provisions about ventilation stated in the applicable standards, it is allowed to use a fan, which shall be installed on the window or on the wall with outlet outdoor and which shall be turned on simultaneously withe product (refer to Fig.5).

Warning: The edge of glass part (A) shall not rest on the panel or the working area, the edge of metal part (B), which shall touch the panel, shall rest on it (refer to Fig. A). It is important to consider the cut-in size.
INSTALLATION
7) GAS SUPPLY
Before installing the product, make sure that data on the label located on the inner part of the box, meet specifications of the gas network.
On the label, which is given in the manual, and on the label, which is located on the inner part of the box, data for product regulation are given: gas type and operating pressure.
If gas is supplied via pipeline, then the product shall be attached to the gas supply device:
- Using rigid steel pipe, according to the applicable standards, connections shall be performed with threaded fittings as per EN 10226.
- Using copper pipe according to the applicable standards, connection shall be performed with fittings with mechanical seal as per the applicable standards.
- Using flexible pipe made of stainless steel with solid walls, according to the applicable standards, with length of 2 meters maximum and with sealing gasket as per the applicable standards. This pipe shall be installed so that it could touch the moving parts of the built-in module (for example, boxes) and don't intersect sections, in which any objects can be arranged.

If gas is supplied directly from cylinder, then the product shall be equipped with pressure controller as per the applicable standards and shall be connected as follows:
- Using copper pipe according to the applicable standards, connection shall be performed with fittings with mechanical seal as per the applicable standards.
- Using flexible pipe made of stainless steel with solid walls, according to the applicable standards, with length of 2 meters maximum and with sealing gasket as per the applicable standards. This pipe shall be installed so that it could touch the moving parts of the built-in module (for example, boxes) and don't intersect sections, in which any objects can be arranged. In order to simplify connection of the pressure controller installed on the cylinder with connection fitting, it is recommended to install special adapter on the flexible pipe.
Adapter of such a type can be easily purchased in the shop.
Upon connection make sure in its complete tightness using soap solution, use of flame during check shall be prohibited.
WARNING:
- You should remember that gas inlet fitting of the product is threaded, 1/2'' , taper, with male screw and meet EN 10226.
The product corresponds to the provisions of additional legal regulations of EU directive:
-Regulation (UE) 2016/426
Moreover, walls and surfaces, which adjoin and enclose the cooktop, shall withstand temperature of 90^ .
INSTALLATION
8) POWER SUPPLY
IMPORTANT: installation shall be performed according to the manufacturer's instructions. Errors during installation can be a cause of damage made to people, animals or property, for which the manufacturer can't be responsible.
Connection to the mains shall be performed observing the applicable standards and provisions of the legislation.
- Specifications of supply voltage and power are indicated on the labels from the inner side of the product, they shall be observed when choosing the appropriate cable section for connection with the mains.
- Before energizing make sure that connector or installation are equipped with the reliable grounding according to the currently applicable standards and provisions. The manufacturer shall not be responsible in case of non-fulfilment of these provisions.
When connecting with the mains via socket:
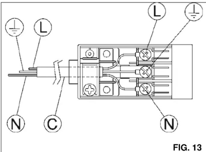
- If plug connector is not provided for power cable "C" (refer to Fig. 13), install standard plug connector corresponding to the load, which is indicated on the label. Connect the cable according to the diagram in Fig. 13, carefully observe the following conditions:
Letter L (phase) = brown cable;
Letter N (zero) = blue cable;
Grounding symbol 1一 = green and yellow cable.
- The power cable shall be installed so that it is never heated to the temperature of 90^ in any point.
- When connecting, don't use changers, adapters or taps, as they can be a cause of reliable contacts and hazardous overheating.
- Upon cut-in completion, access shall be ensured to the plug connector.
When connecting directly to the mains:
- According to the applicable standards, install a single pole circuit-breaker between the product and the mains, which size shall meet the product load.
- Remember that grounding cable can't be interrupted by the circuit breaker installation.
- It is strongly recommended to connect yellow-green grounding cable to the reliable grounding installation.
To ensure greater safety, connection to the mains can also be protected with differential circuit breaker with sharp response.
Before starting any works with the product electrical part, is shall be completely disconnected from the mains.
If it is necessary to make changes in the domestic mains for installation or if incompatibility between socket or plug connector of the product is detected, then such works shall be performed by the professional competent personnel. Professional electrician shall make sure that among other issues the plug connector cable cross section corresponds to the power consumed by the product.
WARNING:
The whole our products correspond to the European Standards and the appropriate amendment to them. Thus, this product meets the requirements of the applicable EU directives belonging to the following:
- electromagnetic compatibility (EMC);
- electrical safety (LVD);
- restriction on use of some hazardous substances (RoHS);
-ecodesign (ERP)

REGULATION
Before any regulations it is necessary to disconnect the product from the mains. Upon regulation or preliminary regulation completion, the technician shall restore the seals. Gas rings of our production don't require regulation of primary air.
9) TAPS
"Minimum" Position Regulation
- Turn on the gas ring and install the control knob in "Minimum" position (low flame, Fig. 1).
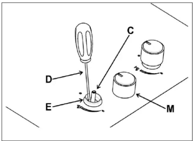
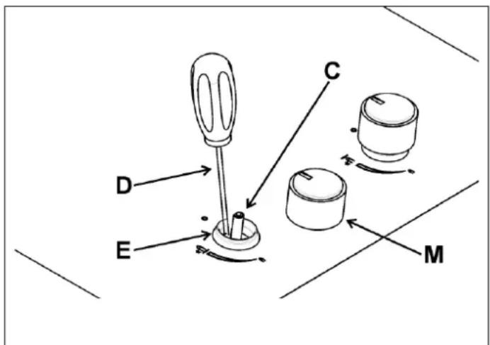
- Remove control knob "M" (Fig. 14 - 14/A), which is put on the tap pin.
- Point for minimum supply setting can be arranged as follows: on the side of the tap (Fig. 14) or in the bottom part of the strip. In any case, regulation is performed by entering the small screwdriver "D" into hole near the tap (Fig. 14), or into hole "C" inside the gas supply tap (Fig. 14/A).
- Turn the screwdriver to the right or to the left from the setup point in order to regulate the flame according to the restricted supply position.
Tap Lubrication
If the tap doesn't turn, don't apply force, call for technical assistance.
It is supposed that this regulation can be performed only for gas rings, which are installed on G20, for gas rings, which are installed on G30 or G31, the screw shall be tightened to stop (clockwise).
- For DUAL gas ring the regulation screw is located inside the pin of bypass cock, which control the central flame line, moreover, the screw is located on the side and controls the external flame line.
The above described operations can be performed conveniently regardless of position or method, with which the cooktop is attached to the furniture.
GAS RINGS DON'T REQUIRE ANY REGULATION OF PRIMARY AIR.
WARNING:
Before starting regulation of minimum position for DUAL gas ring, remove bushing "E" (Fig. 14).
For DUAL gas ring the regulation screw is located inside the pin of bypass cock, which control the central flame line, moreover, the screw is located on the side and controls the external flame line.

FIG. 14

FIG. 14/A
MODIFICATIONS
10) ONNECTION REPLACEMENT
The gas rings can be adapted for work with different gas types installing connections corresponding to each type of gas. To perform this operation, it is necessary to remove gas ring heads, using box wrench "B" loosen connection "A" (refer to Fig. 15) and install the connection corresponding to gas type, which is planned to be used, instead it. It is recommended to reliably tighten the connection.
Upon performance of the above mentioned replacement, the technician shall regulate gas rings as described in para. 9, install seals on available devices for regulation or preliminary regulation and replace the label corresponding to new regulation of gas supply to the product This label is in the bag for replaceable connections.
To simplify work of the installer, the table with indication of power and heat capacity of gas rings, connection diameters and operating pressure for different gas types is given below.

GAS RING ARRANGEMENT

TABLE
| GAS RINGS | GASES | OPERATING PRESSURE | HEAT TRANSFER | CONNECTION DIAMETER 1/100 mm | HEAT TRANSFER (W) | EEgas ring* | |||
| No. | DESCRIPTION | mbar | g/h | I/h | min | max | |||
| 2 | DUAL whole | BUTANE - G30 NATURAL GAS - G20 | 30 | 436 | 571 | 2 x 80 B + 46 B | 3500 | 6000 | 56.4 % |
| 20 | 2 x 125 A + 71 A | 3500 | 6000 | ||||||
| DUAL Central flame line | BUTANE - G30 NATURAL GAS - G20 | 30 | 58 | 76 | 46 B | 400 | 800 | N.A. | |
| 20 | 71 A | 400 | 800 | ||||||
According to Regulation No. 66/2014 of European Union, which states the rules for application of Directive 2009/125/CE, capacity (EEgas ring) was calculated according to EN 30-2-1, last revision for G-20.
*Installation with bushing (B), if any (refer to Fig. 14/B).
MAINTENANCE
TYPES AND CROSS SECTIONS OF POWER CABLES
| COOKTOP TYPES | CABLE TYPE | SINGLE-PHASE POWER SUPPLY |
| Gas cooktop | H05 RR-F | Cross section 3 x 0.75 mm² |
ATTENTION!
When replacing power cable, the installer shall have protective ground conductor (B) with larger length than phase conductors (refer to Fig. 15) and shall observe the requirements stated in para. 8.
WARNING: MAINTENANCE CAN BE PERFORMED ONLY AND EXCEPTIONALLY BY THE AUTHORIZED PERSONNEL.

In case of failure or cable breaking, remove it and don't touch it. Moreover, the product shall be disconnected from socket and flame shall not be ignited. Contact with the nearest authorized service centre for solving the problem.

SPECIFICATIONS INDICATED ON THE FACTORY LABEL
1 DOMINO (30) DUAL GAS RING
Category = _2H3 +
G 30 - Butane = 28 - 30 mbar
G 20 - Natural gas = 20 mbar
∑QnNatural gas = 6.0 kW
∑Qn Liquefied petroleum gas = 436g / h (G30)
Voltage = 220 - 240V
Frequency = 50 / 60Hz
TECHNICAL DATA FOR REGULATION OF GAS USED BY THE PRODUCT
If the kitchen is converted to another type of gas, follow the installation and operation instructions and replace the bottom label with the label stored in the spare parts bag.
TECHNICAL ASSISTANCE AND SPARE PARTS
In order to ensure the best results during operation, the product was checked and regulated by competent and specially trained personnel before shipment from the plant.
Original spare parts are available only in our technical service centres and authorized sales points.
Each repair or adjustment, which can be required in future, must be performed qualified personnel with utmost care and attention.
Therefore, we recommend to always contact the dealer where the product was purchased, or our nearest technical assistance center, specifying the brand, model, serial number and malfunction type of your appliance.
Appliance data are specified on the factory label located on the appliance bottom part and on the label attached to the packaging box.
This information will help the technician find appropriate spare parts and promptly perform the work required. We recommend that you note these data below so that you always have them at hand:
BRAND:
MODEL:
SERIES:
| USER SOLUTIONS | ||
| PROBLEM | CAUSE | SOLUTION |
| The gas ring burns unevenly | Contamination inside the gas ring head. | Remove foreign articles from gas ring head. |
| Wrong gas regulation | Contact with official technical support service of Pando. | |
| Gas ring flame suddenly changes / flashes | Wrong assembly of gas ring components. | Correctly install the gas ring components. |
| Flame is ignited with a great delay. | Wrong assembly of gas ring components. | Correctly install the gas ring components. |
| Flame foes out immediately after ignition | Ignition handle was released too early. | Hold the handle pressed within longer period of time and before finally releasing it, strongly press it. |
| Problem with thermocouple | Move thermocouple | |
| Contact with official technical support service of Pando. | ||
| Change in colour of grates within burning area. | Normal situation caused by high temperature or contamination. | Clean grates and components of gas ring using the appropriate metal cleaning agents |
| When pressing the control knob flame is not ignited (the spark plugs emit spark) | Gas absence or presence of residuals of contamination or cleaning agent on the spark plugs | Open the gas valve meter; clean the spark plugs as described in chapter "Cleaning" |
| When pressing the control knob flame is not ignited (the spark plugs don't emit spark) | Problems with plug or with ignition. | Contact with official technical support service of Pando. |
| Electric ignition doesn't operate. | Power supply absence. | Make sure that electrical connector is connected with the mains. Check, weather the meter is turn on. |
| Wrong assembly or ignition failure. | Contact with official technical support service of Pando. | |
| The spark plugs constantly emit spark. | Humidity | Power off for 24 hours and give the top part to dry; Make sure that all bushings are installed correctly. |
| Wrong assembly or fault of micro switch | Contact with official technical support service of Pando. | |
INOXPAN S.L.
TEL. 902 41 55 10 / FAX: 93 757 96 53
E-MAIL: divisiontecnica@pando.es
WEB: http://www.pando.es/asistencia-technical/
Use the above phone number, fax or e-mail to request technical assistance, under warranty or outside warranty. Please note that warranty covers only the work to eliminate appliance faults.
WARRANTY CERTIFICATE:
INOXPAN, S.L., being the manufacturer of this appliance, guarantees it for a period of three years from the moment of purchase, on the following terms.
1.T his warranty covers repair, spare parts and labor costs in the zones and countries where the appliance is available for sale.
2.T o use the warranty service right, upon demand of a technician of Inoxpan S.L. (Pando) official authorized service it is necessary to provide this certificate, as well as purchase confirmation document (invoice), stating the seller's name, date of appliance transfer, appliance identification data and the price of its sale.
3.A customer or end user is strongly advised to thoroughly read the operation and maintenance manual of the appliance, as well as its specifications, to correctly apply this warranty and better understand the principles of appliance operation.
4.T his warranty does not diminish rights provided to customers by current legislation, as well as rights provided under Royal Decree Law 1/2007 dated November 15th.
WARRANTY SERVICE RESTRICTIONS:
This warranty does not cover failures, accidents or faults of the appliance being the object of this warranty, if they have resulted from one of the following reasons:
a) If appliance installation has not been performed by an authorized professional, qualified electrician or electrical installer, or Pando's official authorized technical service personnel, in line with the requirements of safety standards and gas and electrical work regulations.
b) External effects: atmospheric and geological phenomena, floods, insects, rodents, shocks and operation under nonconforming conditions of power, water, gas supply, etc.
c) Start-up and functional demonstration for a customer or end user.
d) Improper location, incorrect or defective installation of appliance, not complying with instructions in the appliance operation and installation manual.
e) Using jewelry made of metal, silicone, wood, plastic, or glass.
f) External defects, such as indents, rubbing marks, stains, or rust.
g) Accessories and wear parts, such as burners and their components, grates or fire bars, and others.
h) Absence of nameplate or appliance specifications label.
i) Modifications of gas composition.
j) Negligence, improper operation or use of appliance for purposes not specified or contained in the appliance documentation. This warranty covers only appliances used in households, and not in any professional, commercial or industrial operations.
k) Failures that appear as a result of appliance operation and normal wear.
1) Defects and damages that occurred during appliance transportation, unless liability therefor can be placed on Inoxpan S.L. under the terms provided in the catalog, section Return. In this case, the claim must be presented within 24 hours from appliance delivery.
m) Repair, handling or modifications to the appliance done by persons other than Pando's official authorized service personnel. In this case, the warranty is void.
n) Faults resulting from incorrect operation and periodical maintenance of the appliance, in breach of requirements in the appliance operation and installation manual.
This warranty is valid only if duly drawn up. It must contain the model and factory number, and be verified by the seal of sales company or distributor. An invoice must be enclosed specifying the purchase date.
| MODEL AND VERSION: | FACTORY NUMBER: | ||
| INSTALLER: | PURCHASING DATE: | ||
| SELLER: | SELLER'S SEAL: |
NOTAS:
INOXPAN S.L.
Pol. Ind. El Cros
Av. El Moli de les Mateves,11
Apdo. Correos n° 21
08310ARGENTONA
EasyManual