HeavyCoat 750 G - Jet de peinture WAGNER - Notice d'utilisation et mode d'emploi gratuit
Retrouvez gratuitement la notice de l'appareil HeavyCoat 750 G WAGNER au format PDF.
| Caractéristiques techniques | Jet de peinture haute performance, idéal pour les surfaces grandes et irrégulières. |
|---|---|
| Puissance | 750 W |
| Débit de peinture | Jusqu'à 2,5 l/h |
| Pression de pulvérisation | Max 120 bars |
| Poids | Environ 5 kg |
| Utilisation | Convient pour les murs, plafonds, meubles et autres surfaces. |
| Maintenance | Nettoyage régulier des buses et des filtres recommandés après chaque utilisation. |
| Sécurité | Utiliser des équipements de protection individuelle (gants, masque) lors de l'utilisation. |
| Informations générales | Produit conçu pour un usage domestique et semi-professionnel. |
FOIRE AUX QUESTIONS - HeavyCoat 750 G WAGNER
Téléchargez la notice de votre Jet de peinture au format PDF gratuitement ! Retrouvez votre notice HeavyCoat 750 G - WAGNER et reprennez votre appareil électronique en main. Sur cette page sont publiés tous les documents nécessaires à l'utilisation de votre appareil HeavyCoat 750 G de la marque WAGNER.
MODE D'EMPLOI HeavyCoat 750 G WAGNER
Danger de blessure par injection de produit!
Les groupes "Airless" produisent des pressions de projection extrêmement élevées.

Ne jamais exposer les doigts, les mains ou d'autres parties du corps au jet!
Ne jamais diriger le pistolet vers soi, vers d'autres personnes ou vers des animaux.
Utiliser toujours le pistolet muni de sa protection.
Ne traitez pas une blessure par injection comme simple coupure.
En cas de blessure de la peau par l'injection de peintures ou de solvants, consultez sans retard un médecin. Renseignez le médecin sur la nature de la peinture ou du solvant utilisés.
Avant toute mise en service, respecter les points suivants conformément aux instructions de service:
- Ne jamais utiliser un équipement défectueux.
- Verrouiller le pistolet WAGNER par le levier de sécurité à la gachette.
- Assurer la mise à la terre correcte.
- Vérifier et respecter les pressions admissibles pour le flexible et le pistonnet.
- Contrôler l'étanchéité de tous les raccords.
Respecter sans faute les instructions relatives au nettoyage et à l'entretien réguliers du matériel.
Avant toute intervention sur le matériel et pendant chaque interruption de travail, observer les règles suivantes :
- Évacuer la pression du piston et du flexible.
- Verrouiller le pistolet Wagner par le levier de sécurité à la gachette.
- Arrête le groupe.
1 Prescriptions de sécurité pour la projection airless 72
1.1 Explication des symboles utilisés 72 1.2 Dangers pour la sécurité 72 1.3 Utilisation sur un terrain incliné 74 1.4 Sécurité en électricité 74 1.5 Sécurité du moteur à essence 74 1.6 Ravitaillement (moteur à essence) 75
2 Généralités d'utilisation
2.1 Domaines d'utilisation 2.2Produits de revetement 76
3 Description du matériel 77
3.1LeprocedéAirless 77 3.2 Fonctionnement du matériel 77 3.3 Illustration groupes HC avec moteur a essence 78 3.4 Illustration groupes HC avec moteur electrique 79 3.5 Caracteristiques techniques 3.6 Transport 81 3.7 Transport par palan 81
4 Fonctionnement 81
4.1 Installation 81 4.2 Démarrage du moteur (modèles à essence) 83 4.3 Préparation d'un nouveau vaporisateur 83 4.4 Préparation avant de peindre 84 4.5 Peinture 85 4.6 Procédure de décharge de pression 85
5 Pulverisation 86
5.1 Nettoyage d'une buse obstruée 86 5.2 Interruptions de travail 5.3 Manipulation du flexible à haute pression 87
6 Nettoyage 88
6.1 Consignes spéciales de nettoyage lors de l'utilisation du pistolet avec des solvants inflammables 88 6.2 Nettoyage du pulvérisateur 88 6.3 Nettoyage extérieur du groupe 88 6.4 Nettoyage de la crépine 89 6.5 Nettoyage du pistolet Airless 89
7 Entretien 90
7.1 Entretien quotidien 90 7.2 Lubrification des garnitures supérieures 90 7.3 Entretien du filtre 90 7.4 Entretien du système hydraulique 91 7.5 Entretien de la section des fluides 92 7.6 Tuyau flexible haute pression 92 7.7 Entretien de base du moteur (moteur à essence) 92 7.8 Maintenance de la section des liquides 93
8 Dépannage 95
8.1 Pistolet sans air 95 8.2 Séction des liquides 95 8.3 Moteurs hydrauliques 96 8.4 Répartition de la pulvérisation 97
9 ANNEXE 98
9.1 Choix des buses 98 9.2 Entretien et nettoyage de buses Airless en carbure 98
9.6 Tableau des buses 2Speed Tip 99
9.4 Tableau des buses Airless 100
80 Accessoires et PIECES de rechange 104
Liste des pièces de rechange ensemble principal 104 Liste des pièces de rechange ensemble de chariot 106 Liste des pièces de rechange piston à auget HeavyCoat750SSP 107 Liste des pièces de rechange du section des liquides HC 730/750 108 Liste des pièces de rechange du section des liquides HC750/770 110 Liste des pièces de rechange filtre hauteur pression 112
1.1 Explication des symboles utilisés
Veuillez lire et être sûr de comprendre toutes les informations contenues dans ce manuel avant d'utiliser l'appareil. Lorsque vous pénétrez dans une zone qui contient les symboles suivants, soyez particulièrement vigilant et vérifiez que les systèmes de sécurité sont bien installés.

Ce symbole indique un risque potentiel pouvant entraîner des blessures graves ou même mortelles. Vous trouvez ci-après d'importantes consignes de sécurité.

Ce symbole indique un risque potentiel pour vous ou pour l'appareil. D'importantes informations sur la manière d'éviter tout dommage de l'équipement ou d'éviter des blessures légères sont indiquées ci-après.

Danger de blessure par injection de produit

Danger d'incendie

Risque d'explosion

Vapeurs toxiques et/ou inflammables. Danger d'intoxication et de brûlures.

Risque de blessure par choc électrique
Les notes contiennent des informations qui doivent être consciencieusement respectées.

RISQUE: blessure par projection
Un courant de liquide à haute pression produit par cet équipement peut encer la peau et les tissus sous-cutanés, et entraîner des blessures graves ou une amputation.
Ne traitez pas une blessure par injection comme simple coupure. En cas de blessure de la peau par l'injection de peintures ou de solvants, consultez sans retard un médecin. Renseignez le médecin sur la nature de la peinture ou du solvant utilisés.
Prevention:
- NE dirigez JAMAIS le pistolet vers une partie du corps, quelle qu'elle soit.
- NE laissez JAMAIS une partie du corps entrer en contact avec le flux de liquide. NE laissez JAMAIS votre corps au contact d'une unité dans le tuyau de liquide.
- NE placez JAMAIS vos mains devant le pistolet. Les gants ne constituent pas un rempart suffisant contre les blessures par projection.
- Bloquez TOUJOURS la gachette du pistolet, éteignez la pompe et vidangez toute la pression avant toute opération d'entretien, avant de nettoyer une buse ou une protection, avant de changer une buse ou si vous laissez l'appareil sans surveillance. La pression ne s'évacue pas simplement en éteignant le moteur. La vanne PRIME/SPRAY ou la vanne de décharge de la pression doivent être placées dans les positions souhaitées pour vidanger la pression.
- Conservez TOUJOURS la protection de la buse en place lorsque vous pulvérisez. La protection de la buse fournit une certaine protection mais il s'agit principalement d'un système d'alarme.
- Enlevez TOUJOURS la buse de pulvérisation avant de rincer ou de nettoyer le système.
- N'utilisez JAMAIS un pistolet pulverisateur sans blocage de gachette et sans protection de gachette.
- Tous les accessoires doivent pouvoir travailler à la pression de travail maximale du pulvérisateur ou au-dessus. Ceci concerne les buses de pulvérisation, les pistolets, les rallonges et le tuyau.

Le tuyau de peinture peut présenter des fuites dues à l'usure, aux pincements et aux mauvaises utilisations. Toute fuite peut entraîner une projection de matériel dans la peau. Vérifie soigneusement le tuyau avant chaque utilisation.
Prevention:
- Il faut éviter de trop plier le flexible; le plus petit rayon ne doit pas être inférieur à 20 cm.
- Protégez le flexible contre le passage de véhicules et évitez le frottement sur des arêtes vives.
- Remplacer immédiatement tout tuyau à haute pression endommagé.
- Ne jamais essayer de réparer un flexible endommagé!
- La charge électrostatique du piston et du flexible est évacuée par ce dernier. Pour cette raison, la résistance électrique entre les raccords du flexible doit être égale ou inférieure à 1 megaohm.
- Pour des raisons de fonctionnement, de sécurité et de durée utile, utiliser exclusivement des flexibles à haute pression originaux de Wagner.
- Avant chaque utilisation, vérifie que les tuyaux ne doivent ni coupures, ni fuites, ni signes d'abrasion ou de renflement du revêtement. Vérifie l'état et le mouvement des raccords. Remplacez immédiatement les tuyaux s'ils sont en mauvais état. Ne réparez jamais un tuyau de peinture. Remplacez-le par un tuyau à haute pression relié à la masse. Assurez-vous que le tuyau a air et les tuyaux de pulvérisation sont disposés de façon à éviter les risques de glissade, de trébuchement ou de chute.

RISQUE: Explosion et incendie
Les vapeurs inflammables, telles que les vapeurs de solvant et de peinture, dans une zone de travail peuvent s'enflammer ou s'exposer.
Prevention:
- Servez-vous de l'équipement dans un endroit bien aéré. Faites circuler beaucoup d'air frais dans l'endroit afin d'éviter l'accumulation de vapeurs inflammables dans la zone de pulvérisation. Entrepousez l'ensemble de la pompe dans un endroit bien aéré. Ne pulvérissez pas l'ensemble de la pompe.
- Modèle électriques uniquement - N'utilise pas de peintures ayant un point d'éclair sous 21°C. Le point d'éclair est la température à laquelle un liquide peut produit suffisamment de vapeurs pour s'enflammer.
- Modèles à essence uniquement - Ne faites jamais le plein lorsque le moteur est en marche ou chaud. Éteignez le moteur et laissez-le refroidir. L'essence est inflammable. Elle peut s'enflammer ou exposer si on en renverse sur une surface chaude.
- Éliminez toutes les sources d'inflammation, comme les veilleuses, les cigarettes, les lampes électriques portatives et les toiles de protection en plastique (risque d'arc statique).
- Gardez la zone de travail exempte de débris, y compris des solvants, des chiffons et d'essence.
- Ne branchez ou ne débranchez pas les cordons d'alimentation, ne mettez pas l'appareil en marche, n'allumez ou n'éteignez pas les lumières lorsque des vapeurs inflammables sont présentes.
- Mettez à terre l’équipement et les objets conducteurs dans la zone de travail. Assurez-vous que le câble de mise à la terre (non inclus) relié la patte de mise à la terre à une prise de terre réelle. Utilisez uniquement des tuyaux mis à la terre.
- Tenez le pistolet de pulvérisation fermement contre le côté d’unseau mis à la terre lorsque vous pulvériser dans leseau.
- S'il y a production d'étincelles statiques ou si vous ressentez un choc, arrêtez le fonctionnement immédiatement.
- Soyez au courant du contenu de la peinture et des solvants à pulvériser. Lisez toutes les fiches signalétiques (FS) et les étiquettes des récipients de peinture et de solvant. Suivez les consignes de sécurité du fabricant de peinture et du solvant.
- N'utilisez pas de peinture ou de solvant contenant des hydrocarbures hydrogènes, comme du chlore, de l'eau de Javel, un agent anti-moisissure, du chlorure de méthylène et du trichloroethane. Ils ne sont pas compatibles avec l'aluminium. Communiquez avec le fournisseur de revêtement au sujet de la compatibilité du produit avec l'aluminium.
- Gardez un extincteur dans la zone de travail.

RISQUE: Vapeurs dangereuses
Les peintures, solvants, et autres matériaux peuvent être nocifs en cas d'inhalation ou de contact avec la peau. Les vapeurs peuvent entraîner de sérieuses nausées, des syncopes ou des empoisonnements.
Prevention:
- Pendant le travail de protection, porter un masque respiratoire. Lisez attentivement toutes les instructions fournies avec le masque pour vous assurer qu'il fournit bien la protection nécessaire.
- Tous les règlements locaux en matière de protection contre les vapeurs toxiques doivent être respectés.
- Portez des protections oculaires.
- Pour protéger la peau, il est nécessaire de porter des vêtements de protection, des gants et d'utiliser éventuelle œuvre et le nettoyage du matériel.

RISQUE: généralités
peut entraîner des blessures sévères ou des dégâts matériels.
Prevention:
- Respectez toutes les réglementations locales et nationales concernant la ventilation, la prévention des incendies et le fonctionnement.
- Lorsque vous appuyez sur la détente, il se produit un mouvement de recul de la main qui tient le pistolet pulvérisateur. Le recul du pistolet pulvérisateur est particulièrement puissant lorsque la buse a été démontée et lorsque la pompe sans air a été réglée sur une pression élevée. Lors du nettoyage sans buse, régalez donc le bouton de contrôle de la pression sur la pression minimale. N'utilisez que des pièces de rechange d'origine. L'utilisateur assume tous les risques s'il utilise des pièces qui ne correspondent pas aux spécifications minimales et aux dispositifs de sécurité du fabricant de la pompe.
- Respectez TOUJOURS les consignes du fabricant du matériel pour manipuler la peinture et les solvants en toute sécurité.
- Nettoyez immédiatement les matériaux tombés et le solvant déversé accidentellement, afin d'éviter les risques de glissade.
- Munissez-vous d'une protection auditive. Le bruit émis par cet appareil peut dépasser les 85 dB(A).
- Ne laissez jamais cet outil sans surveillance. Tenez-le hors de portée des enfants ou des personnes non familiarisées avec le fonctionnement des équipements sans air.
- Ne vaporisez pas à l'extérieur en cas de vent. L'appareil et tous ses liquides (p. ex., huile hydraulique) doivent être détruits sans danger pour l'environnement.
1.3 Utilisation sur un terrain incline
La partie avant du groupe doit être tournée vers le bas afin d’éviter un déplacement involontaire.
Sur les supports inclinés, l'appareil ne peut pas être utilisé, vu qu'il a tendance à migrer du fait des vibrations.

1.4 Sécurité en électricité
Les modèles électriques doivent être reliés à la terre. En cas de court-circuit électrique, la mise à la terre réduit les risques de choc électrique en fournissant un fil d'échappement pour le courant électrique. Ce produit est équipé d'un câble avec un fil de mise à la terre et une fiche de mise à la terre adaptée. Branchement au réseau seulement par un point d'alimentation spécial, par exemple par un disjoncteur à courant de défaut de INF<30 mA.
| ! | DANGER — Les travaux ou réparations sur l'équipement électrique doivent être confiés uniquement à un électricien qualifié. Nous déclinons toute responsabilité en cas d'installation inappropriée. Arrêtier l'appareil. Avant toutes réparations, tirer la fiche de la prise de courant. |
| ! | Danger de court-circuit par la pénétration d'eau dans l'équipement électrique. Ne jamais nettoyer le matériel avec un jet d'eau ou de vapeur sous haute pression. |
1.5 Sécurité du moteur à essence
- Les moteurs à essence sont conçus pour offrir un service sûr et stable à condition d'être utilisés conformément aux instructions. Lisez attentivement et assurez-vous de bien comprendre le Manuel d'utilisateur du fabricant du moteur avant d'utiliser le moteur. Dans le cas contraire, vous pourriez vous blesser ou endommager l'équipement.
- En vue d'éviter tout risque d'incendie et de fournir une ventilation ajustée, conservez le moteur à 1 mètre (3 pieds) minimum de tout bathtub et de tout autre équipement pendant son fonctionnement. Ne placez pas d'objets inflammables à proximité du moteur.
- Les personnes qui n'utilisent pas l'appareil doivent s'en éloigner afin d'éviter le risque de brûlures des composantes chaudes du moteur ou le danger de blessures provenant de l'équipement utilisé pour faire fonctionner l'appareil.
- Sachez comment arrête rapidement le moteur, et voirlez à bien comprendre le fonctionnement de toutes les commandes. N'autorisez jamais personne à utiliser le moteur sans prendre connaissance des instructions déquates.
- L'essence est un produit extrêmement inflammable pouvant exploser sous certaines conditions.
- Faites le plein d'essence dans une zone suffisamment ventilée, le moteur à l'arrêt. Ne fume pas et évitez tout flamme ou étincelle dans la zone d'alimentation en essence ou dans le lieu où est stockée l'essence.
- Ne remplit pas trop le réservoir d'essence. Après avoir fait le plein d'essence, assurez-vous que le couvercle du réservoir est correctement et solidement refermé.
- Faites attention à ne pas répandre de l'essence lors du remplissage du réservoir. Les vapeurs d'essence ou l'essence répandue sont susceptibles de s'enflammer. Si vous venez à déverser de l'essence, assurez-vous que la zone est bien sèche avant de mettre le moteur en marche.
- Ne faites jamais fonctionner le moteur dans un espace clos ou confiné. L'échappement contient du monoxyde de carbone toxique; toute exposition pourrait occasionner une perte de connaissance, voir entraîner la mort.
- Le pot d'échappement devient extrêmement chaud pendant le fonctionnement et reste chaud pendant un certain moment même après l'arrêt du moteur. Veillez à ne pas toucher le pot d'échappement lorsqu'il est chaud. En vue d'éviter de sérieuses brûlures ou des risques d'incendie, laissez refroidir le moteur avant de le transporter ou de le ranger à l'intérieur.
- Ne déplacez/transportez jamais le pulvérisateur lorsqu'il y a de l'essence dans le réservoir.

N'UTILISEZ PAS cet appareil pour pulvériser de l'eau ou de l'acide.
1.6 Ravitaillement (moteur à essence)

L'essence est extrêmement inflammable et explosive dans certaines conditions.
Spécifications du carburant
- Utilisez une essence automobile ayant un indice d'octane d'au moins 86, ou un indice d'octane recherche d'au moins 91. L'utilisation d'une essence ayant un indice d'octane inférieur peut causer un « cognement » ou une « détonation » (un bruit d'ébranlement métallique) tenace qui, s'il est grave, peut endommager le moteur.

S'il y a un « cognement » ou une « détonation » à une vitesse constante avec une charge normale, utilisez une autre marque d'essence. Si vous obtenez toujours un cognement ou une détonation, consultez un distributeur/agrée du fabricant de moteurs. Le fait de ne pas suivre cette directive constitue un abus. Les dommages causés par l'abus ne sont pas couverts par la garantie restreinte du fabricant du moteur. Il se peut que vous entendiez parfois une détonation légère pendant le fonctionnement avec des charges lourdes. Il n'y a aucune raison de s'inquiéter, cela signifie simplement que votre moteur fonctionne de façon efficace.
- L'essence sans plomb produit moins de dépôts du moteur et de la bougie, et rallonge la durée de vie des composantes du système d'échappement.
- Ne jamais utiliser de l'essence éventée ou contaminée, ou un mélange d'huile et d'essence. Évitez de laisser entrer de la saleté, de la poussière ou de l'eau dans le réservoir à essence.
Essencs contenant de l'alcool
Si vous décidez d'utiliser une essence qui contient de l'alcool (gasohol), assurez-vous qu'elle a au moins un indice d'octane correspondant à celui qui est recommandé par le fabricant du moteur. Il existe deux types de « gasohol » : un type contient de l'éthanol, tandis que l'autre contient du méthanol. N'utilisez pas un gasohol qui contient plus de 10% d'éthanol. N'utilisez pas d'essence qui contient du méthanol (alcool méthylique ou de bois), mais qui n'inclut pas également des cosolvants et des inhibiteurs de corrosion pour le méthanol. N'utilisez jamais de l'essence qui contient plus de 5% de méthanol, même si elle contient également des cosolvants et des inhibiteurs de corrosion.

Les dommages au système d'alimentation ou les problèmes de rendement du moteur découlant de l'utilisation d'essences contenant de l'alcool ne sont pas couverts par la garantie. Le fabricant du moteur ne peut pas approuver l'utilisation d'essences contenant du methanol étant donné que leur adaptation n'a pas encore été éprouvée. Avant d'acheter de l'essence d'une station-service inconnue, essayez de savoir si l'essence contient de l'alcool. Si elle en contient, confirmez le type d'alcool utilisé, ainsi que le pourcentage inclus. Si vous remarquez des caractéristiques de fonctionnement indésirables lorsque vous utilisez une essence qui contient de l'alcool, ou que vous croyez qu'elle contient de l'alcool, utilisez une essence dont vous êtes certains qu'elle ne contient pas d'alcool.
2.1 Domaines d'utilisation
Le domaine principal d'utilisation est l'application de couches épaisses de produits visqueux sur grandes surfaces avec débit élevé.
Couches de fond et de finition de surfaces importantes, scellement, imbibition, assainissement de bâtiments, protection et rénovation de façades, protection antirouille et de bâtiments, revêtement de toits, assainissement de béton, protection anticorrosion lourde.
Exemples de travaux
Génie civil, tours de refroidissement, ponts, stations d'épuration et toits plats.
Température de fonctionnement
Cet équipement fonctionnera correctement à sa température ambience visée, entre +10°C et +40°C au moins.
Humidité relative
Cet équipement fonctionnera correctement dans un milieu ayant une humidité relative de 50% à +40°C. Une humidité relative plus élevée peut être permise à des températures plus basses.
L'acheteur doit prendre des mesures afin d'éviter les effets destructeurs de la condensation accidentelle.
Altitude
Cet équipement fonctionnera correctement jusqu'à 2 100 m au-dessus du niveau moyen de la mer.
Transport etentreposage
Cet équipement résistera aux températures de transport et d'entreposage entre -25°C et +55°C et jusqu'à +70°C pour des périodes courtes, ou il est protégé pour résister à ces températures.
Son emballage prévient les dommages des effets de l'humidité, de la vibration et des coups normaux.
Pour des raisons de fonctionnement, de sécurité et de durée de vie, utiliser exclusivement des tuyaux flexibles à haute pression d'origine de Wagner.
Produits de revêtement utilisables
Laques et peintures diluables à l'eau et solvantes, produits de revêtement à deux composants, dispersions, peintures latex.
Mise en œuvre d'autres produits seulement avec l'accord de WAGNER.

Veiller à la qualité Airless des produits utilisés.
Viscosite
L'appareil permet de mettre en œuvre des produits de revêtement d'une viscosité jusqu'à 50.000 / 65.000 mPas. Si le débit de pulvérisation diminue fortement pour des produits de revêtement de haute viscosité, diluer conformément aux indications du fabricant.

Si le produit est remué avec un agitateur mécanique, éviter la formation de bulles d'air dans le produit qui pourrait entraîner des arrêts de fonctionnement.
Produits de revêtement avec additifs à arêtes VIVES
Ces particules exercent une force abrasive sur les vannes et la buse, ainsi que sur le pistolet de pulvérisation. La durée de vie de ces pièces d'usure en est fortement réduite.
Produits à deux composants
Respecter scrupuleusement le temps d'utilisation correspondant (vie en pot). Rincer et nettoyer le matériel à l'intérieur de ce temps avec le produit de nettoyage ajustat.
Filtration
Une filtration suffisante est nécessaire pour un fonctionnement sans perturbation. L'appareil est muni d'un filtre d'aspiration, d'un filtre d'insertion dans le pistolet de pulvérisation et d'un filtre à haute pression. Un contrôle régulier de ces filtres pour dépréciation ou encrassement est instantément recommandé.
En cas d'utilisation de ce pulvérisateur avec des produits texturés, il est essentiel de retirer le filtre à l'intérieur du pistolet pulvérisateur. Consultez la section 6.5.
3.1 Le procede airless
Le domaine principal d'utilisation est l'application de couches épaisses de produits visqueux sur grandes surfaces avec débit élevé.
La pompe à piston aspire le produit et le refoule sous pression vers la buse. En passant par l'orifice de la buse avec une pression de maximum 25 MPa (250 bar), le produit est éclaté en très fines particules.
Etant donné l'absence d'air dans ce système, il est connu sous le nom „AIRLESS" (sans air).
Ce procédé de projection comporte les avantages tels que pulvérisation très fine, peu de brouillard, surfaces lisses sans bulles. À part ces avantages, il y a lieu de mentionner la vitesse de travail et la maniabilité.
3.2 Fonctionnement du matériel
Pour comprendre le fonctionnement, voici une brève description de la conception technique.

Wagner HeavyCoat sont des groupes de projection à haute pression entraînés par moteur à essence ou moteur électrique.
Le moteur à essence ou moteur électrique (fig. 1, pos. 1) entraîne la pompe hydraulique (3) par l'intermédiaire de la courroie trapézoidale sous sa protection (2). L'huile hydraulique arrive au moteur hydraulique (4) et imprime au piston de la pompe de produit (5) un mouvement de montée et de descente.
En ce qui concerne le matériel HC 750 SSP, le piston de la pompe de produit agit sur un piston à auget (6) qui refoule les produits de revêtement les plus visqueux.
À la montée du piston, la vanne d'aspiration s'ouvre automatiquement. À la descente du piston, le clapet de refoulement s'ouvre.
Le produit est refoulé sous haute pression par le flexible au piston où il est éclaté en passant par la buse.
La vanne de réglage de pression (7) règle le débit ainsi que la pression de fonctionnement.

3.3 Illustration groupes heavycoat avec moteur à essence
- Timon extensible
- Ouverture de remplissage pour l'huile de balayage (l'huile de balayage empêche l'usure rapide des garnitures)
- Filtre à haute pression 4. Sortie du tuyau à haute pression
- Moteur hydraulique
- Poignée de la vanne de décharge
tournaràgauche
tourner à droite
circulation
projection
- Manometre
- Tuyau de décharge
- Tube du siphon
- Courroie trapézoidiale sous sa protection
- Moteur à essence
- Jauge de niveau d'huile
- Bouton de réglage de pression
- Protecteur de buse avec buse sans air
- Pistolet de projection
- Flexible haute pression 17. Barrette de mise à la masse

3.4 Illustration groupes heavycoat avec moteur électrique
- Timon extensible
- Ouverture de remplissage pour l'huile de balayage (l'huile de balayage empêche l'usure rapide des garnitures)
- Filtre à haute pression
- Sortie du tuyau à haute pression
- Moteur hydraulique
- Poignée de la vanne de décharge
tourner à gauche, tourner à droite
- Manometre
- Tuyau de décharge
- Tube du siphon
- Courroie trapézoidale sous sa protection
- Moteur électrique
- Interrupteur MARCHE/ARRET
- Dès que la fiche de réseau est branchée, le voyant vert s'allume
- Jauge de niveau d'huile
- Bouton de réglage de pression
- Protecteur de buse avec buse sans air
- Pistolet de projection
- Flexible haute pression
- Barrette de mise à la masse

3.5 CARACTERISTIQUES TECHNIQUES
| HeavyCoat 730 (gas) | HeavyCoat 750 (110V) | HeavyCoat 750 SSP | HeavyCoat 750 (gas) | HeavyCoat 770 (gas) | |
| HeavyCoat 750 (230V) | (230V) | ||||
| Mateur à essence, puissance | |||||
| Honda | 163cc, 4.9 Hp, 3.6 kW | 196cc, 5.6 Hp, 4 | 1 kW 270cc, 8.4 Hp, 6.2 kW | ||
| Capacité du réservoir d'essence | |||||
| 3,1 I | 3,1 I 6,06 I | ||||
| Tension | |||||
| 110V | - | ~ 110V, 50/60 Hz | - | - | - |
| 230V | - | ~ 230V, 50/60 Hz | ~ 230V, 50/60 Hz | - | - |
| Puisance absorbée | |||||
| 3,1 kW 3,1 kW | kW | - | |||
| Cordon d'alimentation | |||||
| 3 x 2.5 min² - 6 m 3 x 2.5 mm² - 6 m | - | - | |||
| Fusible | |||||
| 15 A 15 A | - | - | |||
| Pression de service maximale | |||||
| 25 MPa (250 bar) 25 MPa (250 bar) 25 MPa (250 bar) 25 MPa (250 bar) 25 MPa (250 bar) | bar) 25 MPa (250 bar) 25 MPa (250 bar) | MPa (250 bar) | |||
| Niveau sonore maximum | |||||
| 92 dB (A)* 80 dB (A)* 80 dB (A)* 92 dB (A)* 98 dB (A)* | dB (A)* | ||||
| Orifice de buse maximum avec un pistonlet | |||||
| 1-pistonlet | 0,041" - 1,04 mm | 0,043" - 1,09 mm | 0,043" - 1,09 mm | 0,047" - 1,19 mm | 0,055" - 1,40 mm |
| 2-pistonlet | 0,029" - 0,73 mm | 0,031" - 0,79 mm | 0,031" - 0,79 mm | 0,033" - 0,84 mm | 0,039" - 0,99 mm |
| 3-pistonlet | 0,021" - 0,53 mm | 0,023" - 0,58 mm | 0,023" - 0,58 mm | 0,027" - 0,68 mm | 0,031" - 0,79 mm |
| 4-pistonlet | 0,019" - 0,48 mm | 0,021" - 0,53 mm | 0,021" - 0,53 mm | 0,023" - 0,58 mm | 0,027" - 0,68 mm |
| Débit maximum | |||||
| 6,00 l/min 6,00 l/min 6,00 l/min 7,60 l/min | 11,4 l/min | ||||
| Poids | |||||
| 78 kg | 85 kg | 87 kg | 81 kg | 90 kg | |
| Système d'aspiration | |||||
| standard | submersible | piston à auget | submersible | submersible | |
| Viscosité maximale | |||||
| 50.000 mPa·s | 65.000 mPa·s | ||||
| Encombrement longueur-largeur-hauteur | |||||
| 1090 x 660 x 866 mm | |||||
| Température maximale du produit | |||||
| 43°C | |||||
| Cartouche filtrante (équipement standard) | |||||
| 50 mailles, 56 cm² | 0 mailles, 56 cm² | 50 mailles, 56 cm² | 50 mailles, 56 cm² | 5 mailles, 56 cm² | |
| Capacité d'huile hydraulique | |||||
| 5,9 I (1,56 gal) | |||||
| Pression maximale de gonflage des pneus | |||||
| 0,2 MPa (2 bar, 30 PSI) | |||||
| Configuration du tuyau recommandé | |||||
| DN 12 mm, 15 m, raccord NPSM 1/2, DN 6 mm, 60 m, raccord NPSM 1/4 | |||||
- Lieu de mesure: à distance latérale de 1 m de l'appareil et 1,60 m au-dessus du sol, pression de service 12 MPa (120 bars), sol réfléchissant.
3.6 Transport

Ne vous servez pas de la poignée du chariot pour soulever lors du chargement ou du déchargement.
L'appareil est très lourd. Trois personnes sont nécessaires pour le soulever.
Transport par vehicule
Assurer le matériel par des moyens de fixation appropriés
Pousser ou TIRER le matériel
Sortir la poignée (fig. 4, pos. 1) en butée. Pour rentrer la poignée - enfoncer les boutons (2) sur les tubes du châssis, puis rentrer la poignée.

3.7 Transport par PALAN
Points d'accrochage des élingues ou cordes. Voir fig. 5.

4 Fonctionnement

L'équipement produit un flux de fluides à extrêmement haute pression. Lisez et comprenez les avertissements de la section des Mesures de sécurité à l'avant du manuel avant d'utiliser l'équipement.
4.1 Installation
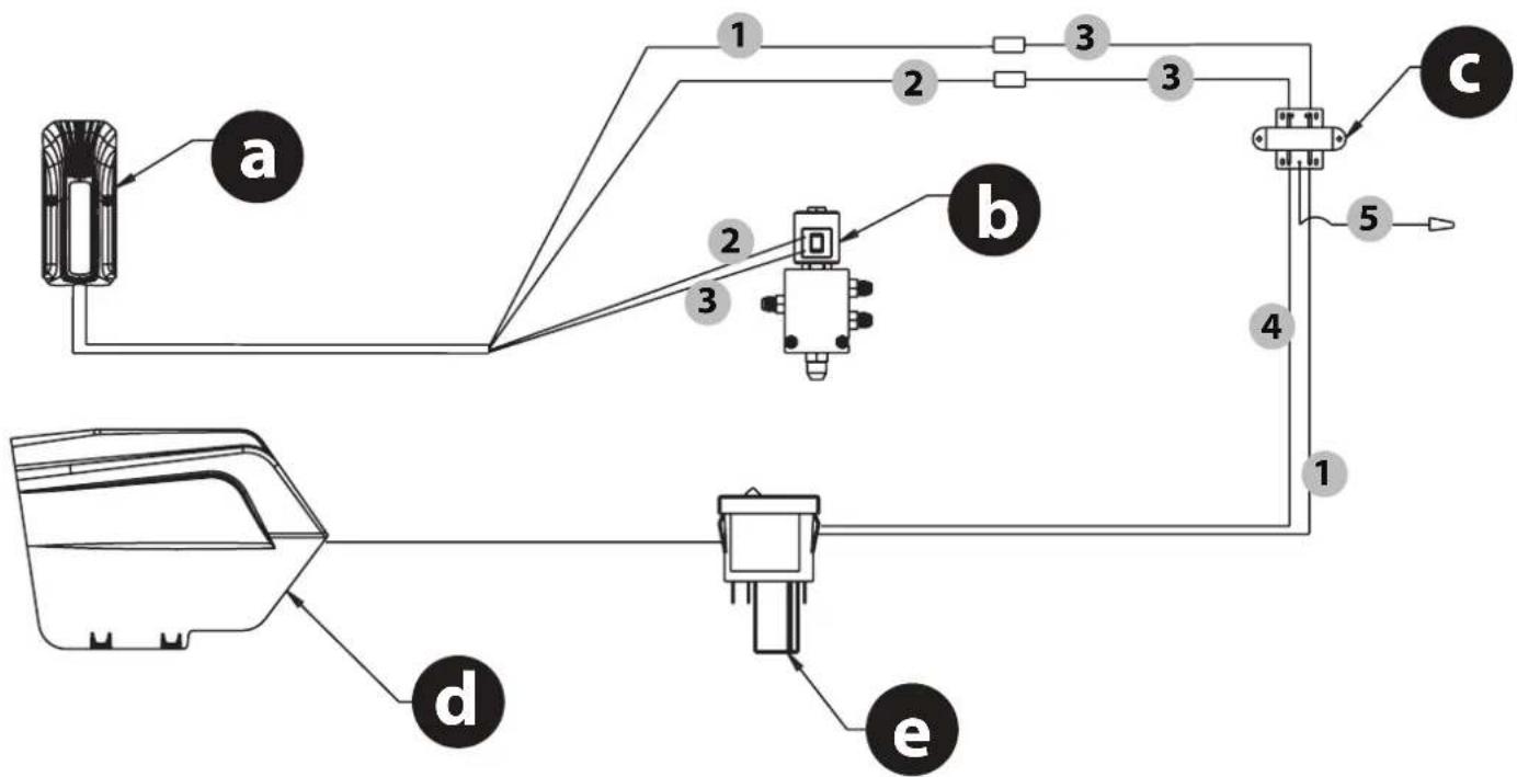
- S'assurer que le tuyau de purgege (fig. 6, article 1) est visser dans la vanne de purgege (2). Le raccord a été recouvert de ruban de PTFE à l'usine, il devrait donc être serré à l'aide d'une clé.
- Attachez au moins 15 m de tuyau en nylon (3) du pistolet sans air au pulvérisateur. N'utilisez pas de ruban de PTFE ou de pâte d'étanchéité pour raccords filés sur le raccord du tuyau de pulvérisation.


- Attachez un pistolet de pulvérisation sans air au tuyau de pulvérisation. N’attachez pas encore la buse de pulvérisation au pistolet. Retirez la buse si elle se trouve déjà sur le pistolet.

Pour le fonctionnement à pistolets multiples, branchez un collecteur à pistolets multiples à la sortie du pistolet simple. Branchez un tuyau et un pistolet à chaque sortie. Assurez-vous que la sortie du second pistolet demeure branchée. Consultez les « caractéristiques techniques » à la section 3.5 afin de déterminer le nombre de pistolets et la taille maximale de la buse de pulvérisation.
⑦
- Remplissez la coupelle d'huile à moitié avec de l'huile EasyGlide (n° de pièce 0508619). Ici, cela permet d'accroître la durée de vie de l'équipement.

Attention
EasyGlide empêche l'usure prématurée des garnitures.

- Contrôlez tous les jours le niveau de fluide avant de lancer l'appareil. Le niveau de fluide hydraulique devrait toucher le bas de la jauge. Consultez les directives d'entretien du système hydraulique à la section Entretien du présent manuel.

Attention
Dans le système hydraulique, vous devez impérativement employer un liquide hydraulique approuvé par Wagner (n° de pièce 0555425). N'utilisez aucun autre liquide hydraulique, il pourrait gravement endommager le circuit hydraulique et annuler la garantie.
- Modèles du moteur à essence - Contrôlez tous les jours le niveau d'huile dans le réservoir avant de démarrer l'appareil. Le niveau d'huile du moteur à essence est déterminé par le fabricant du moteur. Consultez le manuel d'entretien du fabricant du moteur fourni avec ce modele.
- Dans le cas des modèles électriques, utilisez une prise de courant de 15 ampères. Placez toujours le modèle électrique de 3 à 4,5 mètres de la prise de courant. Servez-vous d'un câble électrique court et d'un long tuyau de pulvé
- Vérifiez que l'appareil est bien relié à la terre. Tous les modèles sont équipés d'un œillet de mise à la terre. Un câble de mise à la terre doit être utilisé pour relier l'appareil à la terre. Vé

Il est important de correctement relier l'appareil à la terre. Ceci vaut aussi bien pour les modèles à essence que les modèles électriques. Le passage de certains matériaux dans le tuyau en nylon produit une charge électrique statique qui peut enflammer les vapeurs de solvant lorsqu'elle est déchargée et peut créer une explosion.
- Filtrez toutes les peintures avec un filtre en nylon pour un fonctionnement sans problème et pour éviter d'avoir à nettoyer fréquemment le filtre interne et le filtre du pistolet.
- Vérifiez que la zone de vaporisation est bien ventilée pour empêcher tout fonctionnement dangereux avec des solvants volatiles ou des fumées d'échappement.

Si vous devez pulvériser du vernis-laque ou d'autres produits inflammables, placez TOUJOURS le pulvérisateur à l'extérieur de l'aire de pulvérisation, sinon, cela pourrait causer une explosion.
- Placez le pulvérisateur à l'extérieur de l'aire de pulvérisation afin d'éviter l'obstruction de la prise d'air du moteur ou la surpulvérisation.
4.2 Demarrage du moteur (moteur å essence)

Suivez ces consignes chaque fois que c'est indiqué dans le manuel pour démarrer le moteur.
- Placez la manette de vanne de carburant (fig. 9, pos. 2) en position ouverte,
- Placez le levier de papillon d'accélération (3) au milieu.
- Placez le levier d'étouffement (4) en position fermée pour un moteur froid ou en position ouverte pour un moteur chaud.
- Mettez la clé de contact (1) sur ON.
- Tirez fermement sur la corde du démarreur (5) jusqu'à ce que le moteur démarre.



Si le levier d'étrangleur (4) a été mis en position fermée pour démarrer le moteur, il doit être déplacé à nouveau lorsque le moteur est en marche.
4.3 Preparation d'un nouveau vaporisateur
| i | S'il s'agit d'un nouvel apparéil, il est livré avec du liquide de test dans la section des liquides pour éviter la corrosion durant le transport et le stockage. Ce fluide doit être soignement vidangé du circuit à l'aide un produit de nettoyage approprié avant de commencer à vaporiser. |
| ! Attention | Verrouillez toujours la gâchette sur le pistolet vaporisateur pendant la préparation du circuit. Consultez les consignes du verrou de détente du mode d'emploi du pistolet de pulverisation. |
- Placez le tuyau du siphon dans un conteneur un produit de nettoyage approprié.
- Placez le tuyau de décharge dans un conteneur de déchets en métal.
- Réglez la pression au minimum en tournant au maximum le bouton de réglage de pression (fig. 10, pos. 1) dans le sens inverse des aiguilles d'une montre.
- Ouvrez la soupape de décharge (2) en la tournant complètement dans le sens inverse des aiguilles d'une montre.

- Démarrer le moteur à essence ou moteur électrique. a. Pour démarrer le moteur à essence, suivez les étapes à la section 4.2. b. Pour démarrer le moteur électrique, poussez et maintenez l'interrupteur à la position ON (3) (en marche) jusqu'à ce que le moteur électrique fonctionne à pleine vitesse, ensuite relâchez l'interrupteur.
- Tournez le bouton de réglage de pression dans le sens des aiguilles d'une montre et vers le bas d'environ 1/3 pour accroître la pression jusqu'à ce que les cycles de vaporisation soient réguliers et que le solvant s'écoule sans problème du tuyau de décharge.
- Laissez le vaporisateur tourner pendant 15 à 30 secondes pour vidanger le liquide de test du tuyau de vidange vers le conteneur de déchets.
- Éteignez l'appareil. a. Pour éteindre le moteur à essence :
- Réglez la pression au minimum en tournant au maximum le bouton de réglage de pression dans le sens inverse des aiguilles d'une montre,
- placez le levier de papillon d'accélération en position lente, et
- tournez l'interrupteur du moteur sur OFF. b. Afin d'éteindre le moteur électrique,
- réglez la pression au minimum en tournant au maximum le bouton de réglage de pression dans le sens inverse des aiguilles d'une montre,
- déplacez l'interrupteur pour qu'il soit en position ARRÊT.
4.4 Preparation avant de peindre
| i | Avant de peindre, il est important de s'assurer que le liquide du circuit est compatible avec la peinture qui va été utilisée. Les liquides et peintures incompatibles peuvent boucher les soupapes et obliger l'utilisateur à démonter et nettoyer la section des liquides du vaporisateur. |
| ! | Verrouillez toujours la gâchette sur le pistolet vaporisateur pendant la préparation du circuit. Consultez les consignes du verrou de détente du mode d'emploi du pistolet de pulverisation. |
| Attention |
- Placez le tuyau du siphon dans un conteneur du solvant approprié.
- Placez le tuyau de décharge dans un conteneur de déchets en métal.
- Réglez la pression au minimum en tournant au maximum le bouton de réglage de pression (fig. 10, pos. 1) dans le sens inverse des aiguilles d'une montre.
- Ouvrez la soupape de décharge (2) en la tournant complètement dans le sens inverse des aiguilles d'une montre.

- Démarrer le moteur à essence ou moteur électrique.
a. Pour démarrer le moteur à essence, suivez les étapes à la section 4.2. b. Pour démarrer le moteur électrique, poussez et maintenez l'interrupteur à la position ON (3) (en marche) jusqu'à ce que le moteur électrique fonctionne à pleine vitesse, ensuite relâchez l'interrupteur. 6. Tournez le bouton de réglage de pression dans le sens des aiguilles d'une montre et vers le bas d'1/3 environ pour accroître la pression jusqu'à ce que les cycles de vaporisation soient réguliers et que le solvant s'écoule sans problème du tuyau de décharge. 7. Laissez le vaporisateur tourner pendant 15 à 30 secondes pour vidanger le liquide de test du tuyau de vidange vers le conteneur de déchets. 8. Éteignez l'appareil. a. Pour éteindre le moteur à essence : - réglez la pression au minimum en tournant au maximum le bouton de réglage de pression dans le sens inverse des aiguilles d'une montre, - placez le levier de papillon d'accélération en position lente, et
- tournez l'interrupteur du moteur sur OFF. b. Afin d'éteindre le moteur électrique,
- réglez la pression au minimum en tournant au maximum le bouton de réglage de pression dans le sens inverse des aiguilles d'une montre,
- Déplacez l'interrupteur pour qu'il soit en position ARRÊT.

Assurez-vous qu'aucun embout ou protecteur d'embout n'est installé sur le pistolet vaporisateur.
- Fermez la soupape de décharge en la tournant complètement dans le sens des aiguilles d'une montre.
- Démarrer le moteur à essence ou moteur électrique.
- Tournez le bouton de réglage de pression dans le sens des aiguilles d'une montre et vers le bas d'environ 1/3 pour accroître la pression.
- Débloquez le pistolet en faisant passer la gachette du pistolet vers la position de déblocage.

Reliez le pistolet à la terre en le maintenant contre le bord du conteneur en métal lors du rinçage. Si cette précaution n'est pas respectée, il peut se former une décharge électrique statique pouvant à son tour provoquer un incendie.


- Déclenchez le pistolet dans le conteneur de déchets en métal jusqu'à ce que le solvant usage soit vidangé et que du solvant frais sorte du pistolet.
- Verrouillez le pistolet en tournant le verrou de la détente à la position verrouillée (consultez le manuel du pistolet de pulvérisation).
- Augmentez la pression en tournant lentement et au maximum le bouton de réglage de pression dans le sens des aiguilles d'une montre.
- Vérifiez si le système ne présente pas de fuite. En cas de fuite, suivez la « ProcEDURE de décharge de pression » décrite dans ce manuel avant de serrer les raccords ou les tuyaux.
- Suivez la « Procédure de décharge de pression » (section 4.6) décrite dans ce manuel avant de passer du solvant à la peinture.

Assurez-vous de bien suivre la Procedure de décharge de pression lorsque vous arrêtez l'appareil pour une raison quelconque, y compris lors de l'entretien ou du réglage d'une pièce du circuit de vaporisation, du remplacement ou du nettoyage des embouts de vaporisation, ou lors de la préparation au nettoyage.
4.5 Peinture
- Placez le tuyau de siphon dans un conteneur de peinture.
- Placez le tuyau de décharge dans un conteneur de déchets en métal.
- Réglez la pression au minimum en tournant au maximum le bouton de réglage de pression (fig. 10, pos. 1) dans le sens inverse des aiguilles d'une montre.
- Ouvrez la soupape de décharge (2) en la tournant complètement dans le sens inverse des aiguilles d'une montre.
- Démarrer le moteur à essence ou moteur électrique. a. Pour démarrer le moteur à essence, suivez les étapes à la section 4.2. b. Pour démarrer le moteur électrique, poussez et maintenez l'interrupteur à la position ON (3) (en marche) jusqu'à ce que le moteur électrique fonctionne à pleine vitesse, ensuite relâchez l'interrupteur.
- Tournez le bouton de réglage de pression dans le sens des aiguilles d'une montre et vers le bas d'environ 1/3 pour accroître la pression jusqu'à ce que les cycles de vaporisation soient réguliers et que la peinture s'écoule sans problème du tuyau de décharge.
- Éteignez l'appareil. a. Pour éteindre le moteur à essence :
- réglez la pression au minimum en tournant au maximum le bouton de réglage de pression dans le sens inverse des aiguilles d'une montre,
- placez le levier de papillon d'accélération en position lente, et
- tournez l'interrupteur du moteur sur OFF. b. Afin d'éteindre le moteur électrique,
- réglez la pression au minimum en tournant au maximum le bouton de réglage de pression dans le sens inverse des aiguilles d'une montre,
- déplacez l'interrupteur pour qu'il soit en position ARRÉT.
- Démontez le tuyau de purge du conteneur de déchets et placez-le dans le conteneur de peinture.
- Fermez la vanne de purge en la tournant au maximum, dans le sens des aiguilles d'une montre.
- Démarrer le moteur à essence ou moteur électrique.
- Tournez le bouton de réglage de pression dans le sens des aiguilles d'une montre et vers le bas d'environ 1/3 pour accroître la pression.
- Débloquez le pistolet en faisant passer la gachette du pistolet vers la position de déblocage.

Reliez le pistolet à la terre en le maintenant contre le bord du conteneur en métal lors du rinçage. Si cette précaution n'est pas respectée, il peut se former une décharge électrique statique pouvant à son tour provoquer un incendie.
- Déclenchez le pistolet dans le conteneur de déchets en métal jusqu'à ce que le solvant et l'air soient vidangés et que de la peinture sorte du pistolet.
- Bloquez le pistolet en faisant passer la gachette du pistolet vers la position de blocage (fig. 10).
- Éteignez l'appareil.
- Fixez la protection d'embout au pistolet comme indiqué sur la protection d'embout ou sur les manuels d'embouts.

RISQUE ÉVENTUEL D'INJECTION. Ne vaporisez pas si la protection d'embout n'est pas montée. Ne déclenchez jamais le pistolet si l'embout n'est pas en position de vaporisation ou débouché. Engagez toujours le verrouillage de la gachette du pistolet avant de démonter, de replacer ou de nettoyer l'embout.
- Démarrer le moteur à essence ou moteur électrique.
- Augmentez la pression en tournant lentement le bouton de réglage de la pression dans le sens des aiguilles d'une montre et testez la forme de vaporisation sur un bout de carton. Ajustez le bouton de réglage de pression jusqu'à ce que la peinture soit complètement atomisée.

Si vous augmentez la pression au-delà de la pression nécessaire pour atomiser la peinture, vous pouvez provoquer une usure prématurée des embouts et une vaporisation excessive.
4.6 Procedure de décharge de ppression

Assurez-vous de bien suivre la procédure de décharge de pression lorsque vous arrêtez l'appareil pour une raison quelconque, y compris lors de l'entretien ou du réglage d'une pièce du circuit de vaporisation, du remplacement ou du nettoyage des embouts de vaporisation ou lors de la préparation au nettoyage.
- Bloquez le pistolet en faisant passer la gachette du pistolet vers la position de blocage.
- Éteignez l'appareil. a. Pour éteindre le moteur à essence :
- réglez la pression au minimum en tournant au maximum le bouton de réglage de pression dans le sens inverse des aiguilles d'une montre,
- placez le levier de papillon d'accélération en position lente,
- tournez l'interrupteur du moteur sur OFF. b. Afin d'éteindre le moteur électrique,
- réglez la pression au minimum en tournant au maximum le bouton de réglage de pression dans le sens inverse des aiguilles d'une montre,
- Déplacez l'interrupteur pour qu'il soit en position ARRÊT.
- Débloquez le pistolet en faisant passer la gachette du pistolet vers la position de déblocage (consultez le manuel du pistolet de pulvérisation).
- Maintenez fermement la partie métallique du pistolet contre un conteneur de déchets en métal pour décharger l'électricité statique du pistolet.
- Enclenchez le pistolet pour éliminer toute pression résiduelle dans le tuyau.
- Bloquez le pistolet en faisant passer la gâchette du pistolet vers la position de blocage.
- Placez le tuyau de décharge dans un conteneur de déchets en métal.
- Ouvrez la vanne de purge en la tournant au maximum dans le sens contraire des aiguilles d'une montre.
5 Pulvérisation

Risque d'injection. Ne pulvérisez pas sans avoir installé au préalable le protège-embout. N'appuyez JAMAIS sur la gachette du pistolet si l'embout n'est pas sur la position de pulvérisation ou de débouchage. Bloquez toujours la gachette du pistolet avant d'enlever, de replacer ou de nettoyer l'embout.
Le secret pour réaliser un bon travail de peinture est d'appliquer une couche homogène sur toute la surface. Déplacez votre bras à une vitesse constante et maintenez le pistolet de pulvérisation à une distance régulière de la surface. La meilleure distance de pulvérisation entre l'embout et la surface est de 25-30 cm.
B) Maintenez le pistolet de pulvérization à angle droit par rapport à la surface. Pour ce faire, vous devez effectuer des allers-retours avec tout le bras au lieu de simplement plier le poignet.
Maintenez le pistolet de pulvérisation perpendiculaire à la surface pour que la couche ne soit pas plus épaisse d'un côté que de l'autre.
C) Actionnez le pistolet après avoir commencé le passage. Relâchez la gâchette avant la fin du passage. Le pistolet pulvérisateur doit être en mouvement au moment d'appuyer sur la gâchette ou de la relâcher. Faites chevaucher les passages sur environ 30%, pour garantir une couche uniforme.


Si les bords de projection sont trop nets ou s'il y a des bandes dans le jet, il faut soit augmenter la pression de projection, soit diluer davantage le produit.
5.1 Nettoyage d'une BUSE obstruee

Si la répartition de la pulvérisation devient déformée ou s'arrête complètement en appuyant sur la détente, suivre les étapes ci-dessous.
- Ouvrir la vanne de décharge à la position PRIME (circulation).
- Si la buse est obstruée, faites tourner la poignée de la buse jusqu'à ce que la flèche figurant sur la poignée indique l'opposé de la direction de pulvérisation et que la poignée s'enclenche en position inversée (fig. 12).
- Fermer la vanne de décharge, position SPRAY (projection).


- Appuyez une fois sur la détente du pistolet pour que la pression débouche la buse. N'appuyez JAMAIS deux fois de suite sur la détente lorsque la buse est dans la position inversée. Cette procédure peut être répétée jusqu'à ce que la buse ne soit plus obstruée.

Le flux sortant de la buse de pulvérisation est à très forte pression. Tout contact avec une quelconque partie du corps peut s'avérer dangereux. Ne mettez pas de doigt sur l'embout du pistolet. Ne visez personne avec le pistolet. N'utilisez jamais le pistolet pulvérisateur sans disposer du protège-embout approprié.
5.2 Interruptions de travail
| i | Suivez ces étapes si vous arrêtez de pulveriser pendant jusqu'à 20 heures. Suivez ces étapes seulement si vous avez utilisé des produits à pulveriser au latex ou à l'eau. |
| i | Si vous remplacez tout simplement le écipient de produit, tournez le bouton de commande de pression complètement dans le sens contraire des aiguilles d'une montre au minimum avant de changer le écipient de produit. Tournez le bouton de commande de pression dans le sens des aiguilles d'une montre à la position précédente lorsque vous étés prêt à recommencer la pulverisation. |
- Suivez la « Procédure de décharge de pression » décrite au paragraphe Fonctionnement de ce manuel (section 4.6).
- Placez le pistolet de pulvérisation dans un sac en plastique, ou déposez-le dans unseau d'eau.
- Laissez le tube d'aspiration et le tuyau de return immergés dans le matériel de revêtement ou immergez-les dans un agent de nettoyage correspondant.
- Recouvrez le matériel de revêtement de plastique et placez l'appareil dans un endroit frais et ombragé pour empêcher le matériel de s'assécher.
| Attention | Lors de la mise en œuvre de peintures à séchage rapide ou d'un produit à deux composants, rincer sans faut le groupe à l'intérieur du temps d'utilisation avec le produit de nettoyage ajustat. |
| i | Lorsque vous étés à nouveau prét à pulveriser, enlevez le plastique du réseau de matériel et redémarrez le pulverisateur en suivant les étapes décrites à la section 4.4. |
5.3 Manipulation du flexible à HAUTE pression
| i | L'appareil est muni d'un tuyau à haute pression concu spécialement pour les pompes sans air. |
| Ne jamais utiliser un flexible défectueux. Danger de blessure! Ne jamais essayer de réparer un flexible endommagé! |
Le tuyau flexible haute pression doit être traité avec soin. Il faut éviter de trop plier le flexible ; le plus petit rayon ne doit pas être inférieur à 20 cm.
Protégez le flexible contre le passage de véhicules et évitez le frottement sur des arêtes vives.
Ne jamais tirer sur le flexible à haute pression pour déplacer l'appareil.
Faire attention à ne pas tordre le flexible à haute pression. Cela peut être évité en utilisant un pistolet pulvérisateur de Wagner avec une articulation pivotante et un dévidoir de tuyau.
| i | Pour la manipulation du tuyau flexible haute pression lors de travaux sur un échafaudage, il s'est averé comme le plus avantageux de toujours laisser le tuyau flexible du côte extérieur de l'échafaudage. |
| i | Le risque d'endommagements s'accroît dans le cas des valeurs à haute pression. Wagner recommande de replacer le flexible à haute pression au bout de 6 ans. |
| i | Pour des raisons de fonctionnement, de sécurité et de durée de vie, utiliser exclusivement des tuyaux flexibles à haute pression d'origine de Wagner. |
6 Nettoyage

Le pulvérisateur, le tuyau et le pistolet doivent être soigneusement nettoyés tous les jours après utilisation. Le non-respect de ces consignes peut mener à une agglomération du matériel et donc considérablement endommager la performance de l'appareil.

Lorsque vous utilisez des essences minérales ou tout autre solvant pour nettoyer le vaporisateur, le tuyau ou le pistolet, vaporisez toujours à la pression minimale avec l'embout du pistolet démonté. L'accumulation d'électricité statique peut entraîner un incendie ou une explosion en présence de vapeurs inflammables.
6.1 Consignes speciales de nettoyage LORS de l'utilisation avec des soltvants inflammables
- Rincez toujours le pistolet pulvérisateur de préférence à l'extérieur et au moins à une longueur de tuyau de la pompe de pulvérisation.
- Si vous recueillez les solvants vidangés dans un conteneur en métal d'un gallon (environ 3,780 litres), placez celui-ci dans un conteneur vide de 5 gallons (environ 19 litres), puis vidangez les solvants.
- La zone doit être totalement débarrassée de vapeurs inflammables.
- Respectez toutes les consignes de nettoyage.
6.2 Nettoyage du pulvérisateur
- Suivez la « procédure de décharge de pression » décrite au paragraphe Fonctionnement de ce manuel (section 4.6).
- Démontez l'embout du piston et la protection d'embout puis procédez au nettoyage en utilisant une brosse et un solvant approprié.
- Placez le tuyau du siphon dans un conteneur du solvant approprié.

Utilisez des solvants compatibles lors du nettoyage. Vérifiez auprès du fabricant du liquide le solvant recommandé pour ce liquide.
- Placez le tuyau de décharge dans un conteneur de déchets en métal.
- Réglez la pression au minimum en tournant au maximum le bouton de réglage de pression dans le sens inverse des aiguilles d'une montre.
- Ouvrez la vanne de purge (3) en la tournant au maximum, dans le sens contraire des aiguilles d'une montre.
- Démarrer le moteur à essence ou moteur électrique.
- Laissez le solvant circuler dans l'appareil et vidangez la peinture par le tuyau de purge dans le conteneur de déchets en métal.
- Arrête le matériel OFF (ARRET).
- Fermez la vanne de purge en la tournant au maximum, dans le sens des aiguilles d'une montre.
- Démarrer le moteur à essence ou moteur électrique.

Reliez le pistolet à la terre en le maintenant contre le bord du conteneur en métal lors du rinçage. Si cette précaution n'est pas respectée, il peut se former une décharge électrique statique pouvant à son tour provoquer un incendie.
- Déclenchez le pistolet dans le conteneur de déchets en métal jusqu'à ce que la peinture soit vidangée et que du solvant sorte du pistolet.
- Continuez à déclencher le pistolet dans le conteneur de déchets en métal jusqu'à ce que le solvant sortant du pistolet soit propre.

Pour un stockage prolongé ou dans des conditions climatiques froides, pompez de l'essence minérale dans tout le circuit.
- Suivez la « Procédure de décharge de pression » décrite au paragraphe Fonctionnement de ce manuel.
- Conservez l'outil dans un endroit sec et propre.
Attention
Ne stockez pas l'appareil sous pression.
6.3 Nettoyage exterieur du GROUPE
| 5 | Modèles électriques - Assurez-vous que le cordon d'alimentation est débranché pour éviter un choc électrique. |
| !Attention | Danger de court-circuit par la pénétration d'eau! Ne jamais utiliser un jet ou de la vapeur sous pression pour le nettoyage. Ne pas placer le flexible à haute pression dans du solvant. Essuyer l'extérieur uniquement avec un chiffon imprégné. |
Nettoyer l'extérieur du groupe à l'aide d'un chiffon imbibé du produit de nettoyage adéquat.
6.4 Nettoyage de la crépine

Des filtres propres assurent toujours un débit maximum, une pression de projection constante ainsi qu'un fonctionnement correct du matériel.
Systeme d'aspiration submersible
- La crépine s'obstrue et doit être nettoyée au moins une fois par jour.
- Retirer l'anneau de retenue (fig. 13, article 1) du logement de clapet de pied (2).
- Retirer la crépine d'aspiration (3) du logement de clapet de pied (2).
- Nettoyez-le soigneusement avec le solvant adéquat.
Système d'aspiration standard
- Dévisser la crépine (fig. 14) du tube d'aspiration.
- Nettoyer ou remplacer la crépine.
Effectuer le nettoyage à l'aide d'un pinceau dur et d'un produit de nettoyage correspondant.
6.5 Nettoyage du pistolet airless
- Rincer le pistolet Airless à faible pression de service avec le produit de nettoyage ajustat.
- Nettoyer soigneusement la buse avec le produit ajustat de manière à éliminer les restes de produit.
- Nettoyer soigneusement l'extérieur du pistolet.

Nettoyez le pistolet de pulvérisation après chaque utilisation.
TAMIS de CROSSE dans le pistolet airless (FIG. 15)
- Détachez le dessus du pontet (1) de la tête du pistolet.
- En se servant de la partie inférieure du pontet comme clé, desserrez et enlevez l'ensemble de la poignée (2) de la tête du pistolet.
- Extrayez le filtre (3) de la tête du pistolet. Nettoyez ou remplacez.
- Faites glisser le nouveau filtre, la partie filtrée en premier, dans la tête du pistolet.
- Placez le joint de la poignée dans la tête du pistolet avec la partie plate du joint vers la tête du pistolet. Serrez à l'aide de la clé de la détente.
- Enclenchez à nouveau le pontet sur la tête du pistolet.
7 Entretien

Avant de continuer, suivez la procédure de réduction de pression précédemment exposée dans ce manuel. Respectez également tous les autres avertissements afin de minimiser les risques de blessures dus à des projections ou à des pièces mobiles ou les risques de décharge électrique. Débranchez toujours le pulvérisateur avant de procéder à son entretien!
7.1 Entretien quotidien
Deux procédures quotidiennes sont requises afin de procéder à l'entretien régulier de ce pulvérisateur.
A. Lubrification des garnitures supérieures (section 7.2). B. Nettoyage de la crépine (section 6.4).
7.2 Lubrification des garnitures superieures
- Otez la peinture qui a coulé derrière les garnitures supérieures dans le collecteur d'huile (fig. 16, pos. 1) situé au-dessus de la section des liquides.
- Remplissez le collecteur d'huile à moitié avec de l'huile EasyGlide (n° de pièce 0508619) fournie par le fabricant. Cela permet d'accroître la durée de vie de l'équipement.

Ne remplissez pas trop le collecteur d'huile de façon à éviter que l'huile ne déborde et ne se déverse dans la peinture.
7.3 Entretien du filtre

Nettoyez régulièrement le filtre. Les filtres sales ou obstrués peuvent réduire de manière considérable la capacité filtrante de l'appareil et occasionner un certain nombre de problèmes dans le système (faible pulvérisation, buses obstruées, etc).
Nettoyage (FIG. 17)
Pour nettoyer le filtre, veuillez suivre la procédure qui suit :
- Suivez la « procédure de décharge de pression » décrite au paragraphe Fonctionnement du présent manuel.
- Otez le bouchon (1) et le ressort (2) du filtre.
- Otez l'élément à bille (3) du filtre par le haut du corps du filtre (4).
- Nettoyez à l'intérieur du corps du filtre, l'objet à bille et le bouchon au moyen d'un solvant approprié.

Manœuvrez les pièces avec soin car toute impureté, saleté, rayure ou encoche peut empêcher les joints toriques ou les joints d'adhérer.
Cet élément est filtré depuis l'intérieur vers l'extérieur. Veillez à nettoyer soigneusement l'intérieur de l'élément du filtre. Trempez-le dans le solvant de manière à ramollir la peinture sèche ou remplacez-le.
Inspection (FIG. 17)
Inspectez toutes les pièces du filtre avant de le remonter.
- Inspectez la bille à l'intérieur de l'objet du filtré. Si la bille présente des coupures ou des rayures liées à la pression, remplacez l'objet du filtré. a. Si la bille est coupée, retirez le joint torique en PTFE (5) à l'aide d'un extracteur de joint torique et retirez le siège en carbure (6). b. Vérifiez que le siège ne compte ni encoches ni rainures. Si le siège est endommagé, remplacez-le.

Si vous le retirez, le joint torique en PTFE sera endommagé et devra être remplacé.
- Retirez le ressort (2) de son guide situé dans le bouchon du filtre. a. Mesurez la longueur du ressort non compressé. S'il mesure moins de 1,9 cm (3/4^) d'une extrémité à l'autre, remplacez-le. b. Poussez le ressort dans son guide afin qu'il s'enclenche à sa place.
- Inspectez les deux joints en PTFE (7, 8) et le joint torique en PTFE (5) afin de détecter toute éventuelle déformation, encoche ou coupure. Le cas échéant, remplacez-les.

Les joints en PTFE, le joint torique en PTFE et le ressort sont inclus dans le Kit de maintenance du filtre n° de pièce 930-050.
Remontage (FIG. 17)
Après avoir nettoyé et inspecté toutes les pièces, rassemblez le filtre.
- Placez le siège en carbure (6) dans le corps du filtre (4). Assurez-vous que le côté biseauté du siège est dirigé vers le haut.
- Placez le joint torique en PTFE (5) dans la rainure du diamètre extérieur du siège en carbure (6).
- Placez l'élément à bille (3) dans le corps du filtre (4).

Le haut et le bas de l'élément à bille sont identiques.
- Si ce n'est déjà fait, poussez le ressort (2) dans son guide situé dans le bouchon du filtre (1) jusqu'à ce qu'il s'enclenche à sa place.
- Placez le joint en PTFE (8) fin sur le pas en haut du corps du filtre (4).
- Placez le joint en PTFE (7) épais sur le joint fin (8).
- Serrez le bouchon du filtre (1) au corps du filtre (4).
7.4 Entretien du système hydraulique
Attention
Dans le système hydraulique, vous devez impérativement employer un liquide hydraulique approuvé par Wagner (n° de pièce 0555425). N'utilisez aucun autre fluide hydraulique. L'emploi de tout autre fluide hydraulique risque de gravement endommager le système hydraulique et annulera la garantie.
- Vérifiez le fluide hydraulique tous les jours. Le niveau de fluide hydraulique devrait toucher le bas de la jauge (1). Si le bout est sec, ajoutez du fluide hydraulique de Wagner (no de piece 0555425) uniquement. N'ajoutez ni ne changez le fluide hydraulique si vous n'êtes pas dans un lieu propre dénué de poussière. La pollution du fluide hydraulique diminue la durée de vie de la pompe hydraulique et annule la garantie.

Assurez-vous de placer l'appareil sur une surface plate au moment de vérifier le niveau de fluide hydraulique.

Le liquide hydraulique doit être changé tous les douze mois. Pour cela, contactez le SAV WAGNER.
- Le système hydraulique est doté d'un filtre hydraulique (Fig. 18, pos. 3) externe replacable. Changez le filtre tous les douze mois.
- L'entretien de la pompe hydraulique ne doit pas s'effectuer sur place. Si l'entretien de la pompe hydraulique est nécessaire, la pompe doit être retournée à un centre de services WAGNER autorisé.

7.5 Entretien de la section des fluides
Si le pulvérisateur doit ne pas être utilisé pendant une longue période, il est conseillé, suite au nettoyage, d'introduire un mélange de kérosène et huile faisant office de conservateur. Les garnitures tendent à sécher lorsqu'elles ne sont pas utilisées. Cela s'applique notamment à l'ensemble des garnitures supérieures pour lesquelles il est recommandé de recourir à EasyGlide (n^ de pièce 0508619) pour une utilisation normale.
Si le pulvérisateur n'a pas été utilisé pendant une longue période, il peut s'avérer utile d'amorcer la pompe avec un solvant. Il est extrêmement important que les filets du raccord du tuyau d'aspiration soient correctement fixés. Toute fuite d'air pourrait occasionner un fonctionnement irrégulier du pulvérisateur et pourrait endommager le système. Les courses ascendantes et descendantes doivent être approximativement similaires en termes de temps (l'une ne doit pas être plus rapide que l'autre). Une course ascendante ou descendante trop rapide pourrait indiquer la présence d'air dans le système ou un mauvais fonctionnement de la soupape ou des sièges (reportez-vous à la section consacrée au dépannage).
7.6 TUYAU flexible HAUTE pression
Contrôler visuellement le tuyau flexible haute pression pour entailles ou bosses éventuelles, en particulier à la transition dans le raccord. Les écrous-raccords doivent pouvoir tourner librement. Une conductibilité inférieure à 1 mègohm doit être présente sur toute la longueur.
| Attention | Faire effectuer tous les contrôleles électriques par le service après-venture de Wagner. |
| i | Le risque d'endommagements s'accroît dans le cas des valeurs à haute pression.Wagner recommends de replacer le flexible à haute pression au bout de 6 ans. |
7.7 Entretien de BASE du moteur (moteur à essence)
- Pour obtenir des informations détaillées sur l'entretien du moteur ou des spécifications techniques, reportez-vous au deuxième manuel du moteur à essence.
- Tout entretien du moteur doit être réalisé par un revendeur/agréé par le fabricant du moteur.
- Vérifiez le niveau d'huile du moteur et remplissez le réservoir si besoin est.
- Vérifiez le niveau d'essence du moteur et remplissez le réservoir si besoin est.

Suivez toujours la procédure de ravitaillement précédemment exposée dans ce manuel.
Les 20 premières HEURES
- Changez l'huile du moteur.
- Changez l'huile du moteur. Nettoyez le collecteur de dépôt.
- Nettoyez et ré-réglez la bougie d'allumage. Nettoyez le pare-étincelles.
- Retirez le couvercle du filtre à air et nettoyez l'élément. Dans les environnements très poussiéreux, vérifiez le filtre quotidiennement. Remplacez l'élément le cas échéant. Les pièces de rechange peuvent être achetées auprès de votre revendeur local du fabricant de moteur.
Fonctionnement et entretien du moteur
- Nettoyez les filtres à air et à huile du moteur à essence toutes les 25 heures ou une fois par mois. Ne laissez pas la peinture ou les saletés s'accumuler sur la grille d'entrée d'air du volant du moteur à essence. Nettoyez-la régulièrement. La durée de vie et l'efficacité du moteur à essence dépendent de son bon entretien. Changez l'huile du moteur toutes les 100 heures. Tout manquement à ces consignes peut occasionner une surchauffe du moteur. Consultez le manuel d'entretien qui vous est fourni par le fabricant du moteur.
- Pour économiser de l'essence et accroître la durée de vie et l'efficacité du pulvérisateur, faites fonctionner le moteur à essence au régime moteur le plus bas lui permettant de tourner sans forcer et de fournir la quantité de peinture requise. Un régime moteur plus élevé n'est pas synonyme de pression de travail plus grande. Le moteur à essence est relié à la pompe hydraulique par le biais d'une association de poulies destinées à fournir un maximum de peinture à un régime moteur maximum.
- La garantie sur les moteurs à essence se limite au fabricant d'origine.
7.8 Maintenance de la section des liquides
HEAVYCOAT 730

L'utilisation de pièces de rechange autres que celles fournies par Wagner peut entraîner l'annulation de la garantie. Demandez des pièces d'origine de Wagner pour une meilleure maintenance. Ces pompes doivent être régulièrement entretenues après 1000 heures d'utilisation environ. Un entretien préalable est nécessaire s'il y a des fuites importantes dans la garniture supérieure ou si la course ascendante ou descendante de la pompe devient trop rapide. L'utilisation du lubrifiant EasyGlide de Wagner (n° de pièce 0508619) est conseillée pour lubrifier la garniture supérieure. Ne remplacez pas ce lubrifiant par de l'huile, de l'eau ou un solvant pour lubrifier la garniture supérieure.
Démontage de la section des liquides
- À l'aide d'une clé hexagonale, desserrez les vis imperdables qui fixent l'ensemble de la carte PCB (fig. 27, article 30) au vérin du moteur hydraulique. Une fois enlevée, la carte peut PENDRE des son cordon.
- Faites glisser la bague de retenue (1) vers le haut au moyen d'un petit tournevis puis extrayez la goupille de connexion (2).
- HeavyCoat 730 - Enlevez le tube-siphon (26).
- Tournez l'écrou d'enlevement (15) de la section des liquides dans le sens contraire des aiguilles d'une montre afin qu'il atteigne son point le plus bas sur le filetagu (16).
- Placez une clé sur les côtes plats de l'écrou d'enlevement de la section des liquides (15). Tournez la clé dans le sens contraire des aiguilles d'une montre pour desserrer l'ensemble de la section des liquides.
- Tirez soigneusement la section des liquides vers le bas pour enlever le moteur hydraulique.
- Pour procéder à l'entretien de la section des liquides, stabilisez-la en plaçant les côtés plats de l'écrou d'enlèvement de la section des liquides (15) dans un étau.
- Déserrer le logement du clapet de pied (23) avec une clé à sangle.
- Retirez le dessort de garniture supérieure (5) et la garniture supérieure (4a) du bloc moteur/pompe.
- Placez une clé sur les côtes plats sur le dessus de la tige de déplacement (6). À l'aide d'une seconde clé, desserrez et enlevez le logement de la soupape de sortie (13) de la tige de déplacement (6).
- Enlevez la rondelle d'étanchéité (12), le siège de la soupape de sortie (11), la bille de la soupape de sortie (10), la cage de la soupape de sortie (28, HeavyCoat 750 / HeavyCoat 770 uniquement), la garniture inférieure (4b), le ressort de garniture inférieure (9) et la bague de retenue du ressort (8).
- À l'aide d'une rallonge de 1,25 cm fixée à une clé à cliquet de 1,25 cm, insérez le bout de la rallonge dans l'ouverture carrée de la cage du clapet de pied (17) à l'intérieur du logement du clapet de pied (23). Dévissez et enlevez la cage du clapet de pied du logement du clapet de pied.
- Retirez le joint torique en PTFE (22), la bille du clapet de pied (18), le siège du clapet de pied (19) et le joint torique du siège (20) du logement du clapet de pied (23).
- Retirez le joint torique (21) du cylindre de la pompe (16).
Remontage de la section des liquides

Utilisez du ruban en PTFE sur tous les raccords de tuyaux filétés.
- Placez un nouveau joint torique du siège (20) dans la rainure en bas du logement du clapet de pied (23).
- Vérifiez l'usage du siège du clapet de pied (19). Si un côté est usé, retournez le siège du côté qui n'est pas usé. Si les deux côtés sont usés, installez un nouveau siège. Placez le nouveau siège, ou le siège retourné (côté usé vers le bas) dans l'alésage au bas du logement du clapet de pied (23).
- Placez une nouvelle bille de clapet de pied (18) sur le siège du clapet de pied (19). À l'aide d'une barre d'extension 1/2 attachée à un réglette guide 1/2, insérez l'extrémité de la barre d'extension dans l'ouverture carrée de la cage du clapet de pied (17) et vissez la cage du clapet de pied à l'intérieur du logement du clapet de pied (23). Serrez la cage à 240 po/lbs (20 pi./lbs.).
- Insérez un nouveau joint torique en PTFE (22) dans la rainure du logement du clapet de pied (23). Lubrifiez le joint torique avec de l'huile ou de la graisse.
- Avec, trempez les garnitures en cuir dans l'huile (huile de lin de préférence). Rassemblez la garniture inférieure (4b). Placez la garniture inférieure sur le logement de la soupape de sortie (13) avec la pointe des garnitures en « V » vers le bas, en direction de l'hexagonal du logement de la soupape de sortie.

Toutes les garnitures en cuir doivent être trempées dans de l'huile pendant 15 à 20 minutes avant d'être installées. Trempées les garnitures trop longtemps causera le gonflement des garnitures. Le remontage sera par conséquent plus difficile.
- Vérifiez l'usage du siège de la soupape de sortie (11). Si un côté est usé, tournez le siège du côté qui n'est pas usé. Si les deux côtés sont usés, utilisez un nouveau siège. Insérez la cage de
soupape de sortie (28, HeavyCoat 750 / 770 uniquement), la bille de la soupape de sortie (10), le siège, qu'il soit nouveau ou retourné (côté usé le plus éloigné de la bille) et une nouvelle rondelle d'étanchéité (12) dans la tige de déplacement (6).
- Nettoyez les filetages du logement de la soupape de sortie (13) et enduisez les filetages de Loctite bleue n° 242. Assurez-vous qu'il n'y a pas de Loctite ailleurs que sur les filetages.
- Placez le ressort de garniture inférieure (9) sur le logement de soupape de sortie (13), puis la bague de retenue du ressort (8).
- Vissez la tige de déplacement (6) et le logement de la soupape de sortie (13) ensemble. Vissez dans un état au 50 pi/lbs. (68 Nm).
- Insérez le joint torque en PTFE (3) dans la rainure supérieure du bloc moteur/pompe.
- Insérez la garniture supérieure (4a) dans le bloc moteur/pompe avec la pointe des garnitures en « V » vers le haut en direction du moteur.

Les garnitures doivent être trempées dans l'huile avant d'être installées.
- Placez le ressort de garniture supérieure (5) dans le bloc moteur/pompe avec la petite extrémité conique vers le haut, en direction du bloc moteur/pompe.
- Insérez la tige de déplacement (6) par les garnitures supérieures du bloc moteur/pompe.
- Alignez les trous dans la tige de déplacement (6) et la tige du piston hydraulique, puis insérez la goupille de connexion (2). Replacez la bague de retenue (1) sur la goupille de connexion.
- Vissez le filetage long du cylindre de la pompe (16) dans le moteur/groupe de pompage et serrez-le avec une clé à sangle.
- Vissez le filetage mâle de l'entretoise du cylindre (14) dans le moteur/groupe de pompage et serrez-le avec une clé à sangle. Vissez le filetage long du cylindre de la pompe (16) dans l'entretoise du cylindre (14) et serrez-le avec une clé à sangle.
- Placez le joint torique (21) dans la rainure supérieure du cylindre de la pompe (16).
- Vissez le logement du clapet de pied (23) sur le cylindre de la pompe (16), serrez avec une clé à sangle.
- HeavyCoat 730 - Installer le tube-siphon (26).

Il n'est pas nécessaire de trop visser le logement du clapet de pied. Les joints toriques seront des joints sans serrage excessif. Il suffit d'engager totalement le filetage.
HeavyCoat 730 - Pour fixer le tube du siphon, il est très important que les filetages du tube du siphon pénètrent facilement dans le logement du clapet de pied avec les raccords du tube en PTFE équipés et recouverts de mastic d'étanchéité pour empêcher toute fuite d'air.
Problème
A. Le pistonnet projette par erreur B. Le pistolet ne s'arrête pas C. Le pistolet ne pulvérise pas
CAUSE
- Présence d'air dans le circuit
- Pistol sale
- Déréglage de l'aiguille
- Siège de soupape endommagé ou fêlé
- Aiguille & siège endommagés ou usés
- Dérèglement de l'aiguille
- Pistolet sale
- Absence de peinture
- Filtre ou embout obstrués
- Aiguille du pistolet endommagée
Solution
- Inspectez les raccords pour détecter une éventuelle fuite d'air.
- Démontez et nettoyez.
- Inspectez et régalez.
- Inspectez et remplacez.
- Remplacez.
- Reglez.
- Nettoyez.
- Vérifie l'alimentation en fluide.
- Nettoyez.
- Remplacez.
Problème
A. La pompe ne libère du produit que lors de la course ascendante ou monte lentement et descend rapidement (généralement appelé plongée descendante). B. La pompe ne libère du produit que dans sa course descendante ou monte rapidement et descend lentement. C. La pompe monte et descend rapidement, en libérant du produit.
D. La pompe monte et descend lentement lorsqu'il le pistolet vaporisateur est éteint. E. Le pistolet ne dispose pas d'une pression du liquide suffisante. F. La pompe brute pendant la course ascendante ou descendante.
CAUSE
- La bille du clapet de pied inférieur n'est pas stable à cause des dépôts de déchets ou de l'usure
- Produit trop visqueux pour être aspiré.
- Présence d'une fuite d'air dans le siphon ou tuyau du siphon endommagé. Le siphon peut être trop petit pour les produits denses.
- La bille supérieure n'est pas stable à cause des dépôts de déchets ou de l'usure
- La garniture inférieure est usée.
- Le réservoir de produit est vide ou le produit est trop épais pour s'écouler dans le tuyau du siphon.
- La bille inférieure est collée au siège du clapet de pied.
- Le tuyau du siphon est tordu ou dévissé.
- ée. Le siège des garnitures inférieures est usée.
- La bille supérieure et/ou la bille inférieure n'est pas stable.
- L'embout pulvérisateur est usé.
- Le filtre de sortie ou le filtre du pistonnet sont obstrués.
- Tension faible et/ou intensité de courant électrique inappropriée.
- Taille ou longueur du tuyau trop petite ou trop grande.
- Le solvant a fait gonfler la garniture supérieure.
Solution
- Otez le clapet de pied. Nettoyez et inspectez. Testez le clapet de pied en le remplissant d'eau ; si la bille tombe pour sceller le siège, replacez la bille.
- Dilution du produit - contactez le fabricant pour connaître les procédures de dilution appropriées.
- Serrez tous les raccords situés entre la pompe et le réservoir de peinture. S'ils sont endommagés, remplacez-les. Passez à un siphon de diamètre plus large.
- Vérifiez le siège supérieur et la bille avec de l'eau. Si la bille ne scelle pas l'ensemble, remplacez le siège.
- Remplacez l'ensemble des garnitures si elles sont usées.
- Remplissez de nouveau produit. Si elle est trop épaisse, retirez le tuyau du siphon, immergez la section des liquides dans le produit et amorcez
- Otez le clapet de pied. Nettoyez la bille et le siège.
- Resserrez.
- ez-la le cas échéant. Si aucune de ces solutions ne fonctionne, replacez la garniture inférieure.
- Remettez la bille en place en la nettoyant.
- Remplacez.
- Nettoyez ou remplacez le filtre.
- Vérifiez le circuit électrique. Corrigez si besoin est.
- Augmentez le diamètre du tuyau afin de minimiser la chute de pression le long du tuyau et/ou réduisez la longueur du tuyau.
- Remplacez les garnitures.
Probeme
A. Le moteur hydraulique cale du bas ou au haut de sa course ; pression faible ou intermittente de la pompe ; vitesse de course inhabituelle ; température élevée de l'huile hydraulique (au-dessus de 93°C [200 °F]).
CAUSE
- Faible niveau d'huile hydraulique.
- Le réglage de commande de pression est trop faible.
- Défaillance de la courroie hydraulique ou de la poulie.
- Défaillance du piston hydraulique.
- Piston de la section des liquides lié ou brisé.
- Défaillance du joint d'étanchéité de la tige de piston hydraulique
- Défaillance du joint d'étanchéité de la tête de piston hydraulique
- Autre
Solution
- Vérifie le niveau d'huile. Remplissez l'appareil, au besoin. Si le niveau d'huile est à plein, vérifie le contrôleur.
- Assurez-vous que le bouton de commande de pression est tourné assez haut pour faire fonctionner le moteur. Si le réglage de commande de pression est bon, vérifiez la courroie et les poulies.
- Assurez-vous que la clé est présente dans l'arbre de sortie du moteur/moteur électrique et l'arbre d'entrée de la pompe hydraulique. Assurez-vous que la courroie n'est pas brisée et qu'elle est assez tendue. Si la courroie et les poulies sont en bon état, veillez communiquer avec un centre de service Wagner autorisé.
- Inspectez visuellement la tige de piston hydraulique pour des signes de fissures. S'il est évident que la tige de piston hydraulique est brisée, enlevez/replacez le piston hydraulique. Selon l'endroit dubris, il se peut que le coupleur du piston doive également être remplace. Veuillez visiter un centre de service Wagner autorisé si vous avez reason d'aide. Si le piston hydraulique n'est pas endommage, vérifiez si le piston de la section des liquides est lié/brisé.
- Pour vérifier si le piston de la section des liquides est lié/brisé, découplez le piston hydraulique du piston à peinture en enlevant la goupille de positionnement. Mettez l'appareil en marche. Si le moteur hydraulique fonctionne lorsque le piston hydraulique est découpé du piston à peinture, le problème est sûrement dans la section des liquides. Veuillez vous rendre à un centre de service Wagner autorisé si vous avez besoin d'aide. Si le moteur hydraulique ne fonctionne toujours pas, vérifiez le joint d'étanchéité de la tige de piston hydraulique.
- Enlevez le bouchon du joint de tige du piston hydraulique qui contient le joint de tige, le joint torique et la bague d'usure de la tige. Vérifiez la présence de dommages et remplacez le joint de tige, le joint torique et la bague d'usure de la tige, au besoin. Si le joint de tige, le joint torique et la bague d'usure de la tige ne sont pas endommagés, vérifiez le joint d'étanchéité de la tête du piston hydraulique.
- Enlevez le piston hydraulique et inspectez/replacez le joint d'étanchéité et la bague d'usure de la tête du piston, au besoin. Pendant ce processus, vérifiez la présence de dommages ou d'usure inégale de l'alésage du cylindre. Si l'alésage du cylindre est endommagé, remplacez le groupe de pompe, ainsi que le joint d'étanchéité et la bague d'usure de la tête du piston.
- Si les problèmes persistent, veuillez visiter un centre de service Wagner reconnu.
Problème
A. Trainées

B. Sablier

C. Déformation

D. Pulverisation qui s'étend et se rétracte (surtension)

E. Pulverisation arrondie
CAUSE
- Sortie de liquide incorrecte
- Sortie de liquide incorrecte
- L'embout de la buse est obstrué ou usé
- Fuite d'aspiration
- Embouchure usée 2. Liquide trop dense pour l'embouchure
Solution
- Le liquide ne s'atomise pas correctement. Augmentez la pression du liquide. Changez pour un embout au diamètre plus petit. Réduisez la viscosité du liquide. Réduisez la longueur du tuyau. Nettoyez le pistolet et le(s) filtre(s). Réduisez le nombre de pistolets utilisant la pompe.
- Cf. ci-avant.
- Nettoyez ou remplacez l'embout.
- Détectez toute fuite éventuelle du tuyau d'aspiration.
- Changez pour un embout au diamètre plus petit. Installez un amortisseur de pulsations dans le circuit ou purgez l'appareil. Réduisez le nombre de pistolets utilisant la pompe. Débloquez le circuit, nettoyez le filtre de l'embout si le filtre est utilisé.
- Remplacez l'embout. 2. Augmentez la pression. Diluez le produit. Changez l'embout de la buse.
9.1 Choix des BUSES
Pour réaliser un travail correct et rationnel, le choix de la buse est de grande importance. Dans beaucoup de cas, la buse correcte ne peut être trouvée que par un essai de projection.
Quelques règles à ce SUJET:
Le jet de projection doit être régulier.
Si le jet comporte des bandes, la pression de projection est trop faible ou la viscosité du produit est trop élevée.
Remède: Augmenter la pression ou diluer le produit. Chaque pompe a un débit déterminé par rapport à la grandeur de l'orifice de buse.
Règle générale: grande buse = faible pression
petite buse = haute pression
Il existe un grand choix de buses avec angles de projection différents.
BUSES standard
En cas d'utilisation d'une buse différente, la nettoyer en suivant les indications du fabricant.
La buse comporte un orifice usiné avec grande précision. Afin d'obtenir une longue durée de vie, il est indispensable de traiter les buses avec grand soin. Il faut savoir que l'insert en carbure est fragile. Pour cette raison, il ne faut jamais laisser tomber la buse ni la traiter avec des objets métalliques.
Tenir compte des points suivants afin de conserver la propriété et la disponibilité de la buse:
- Tourner le poignée de la vanne de décharge entièrement vers la gauche (circulation).
- Arrêter le moteur à essence ou moteur électrique.
- Démonter la buse du pistolet.
- Mettre la buse dans le diluant approprié jusqu'à dilution complète des restes de produit.
- Souffler la buse si l'air comprimé est à disposition.
- Avec un objet pointu en bois (cure-dents) enlever les restes éventuels.
- Contrôler la buse à l'aide d'une loupe et répéter les pas de 4 à 6 si nécessaire.
Cette buse airless innovante est composée de 2 noyaux de buse distincts.

2 Speed Tip support
Ref. No. 0271065
Tableau des buses
| Taille de chantiers Produits applicables | |||
| Laque (L) Peinture (D) Enduit (S) | |||
| Petit | D5Buse: 111 / 415Réf. No. 0271 062 | S5Buse: 225 / 629Réf. No. 0271 064 | |
| D7Buse: 113 / 417Réf. No. 0271 063 | |||
| L10Buse: 208 / 510Réf. No. 0271 042 | D10Buse: 111 / 419Réf. No. 0271 045 | S10Buse: 527 / 235Réf. No. 0271 049 | |
| Moyen | L20Buse: 210 / 512Réf. No. 0271 043 | D20Buse: 115 / 421Réf. No. 0271 046 | S20Buse: 539 / 243Réf. No. 0271 050 |
| Grand | L30Buse: 212 / 514Réf. No. 0271 044 | D30Buse: 115 / 423Réf. No. 0271 047 | S30Buse: 543 / 252Réf. No. 0271 051 |
| Très grand | D40Buse: 117 / 427Réf. No. 0271 048 | ||
| Tamis de crosse recommandé rouge | blanc - | ||
9.4 Tableau des BUSES airless
Wagner TradeTip 3 buse jusqu'à 270 bar (27 MPa)
sans buse filet F (11/16 - 16 UN) pour pistolets Wagner Ref. No. 0289391 sans buse filet G (7/8 - 14 UNF) pour pistolets Graco/Titan Réf. No. 0289390

Toutes les buses indiquées dans le tableau ci-dessous sont fournies avec le filtre à pistonnet adéquat.
| Utilisation Marquage Angle de | projection | Orifice inch / mm | Largeur du jet mm1) | Tamis de crosse Réf. No. | |
| Laques et peintures diluables à l'eau et à base de solvant, huiles, agents de démoulage | 107 | 10° | 0.007 / 0.18 | 100 | rouge |
| 207 | 20° | 0.007 / 0.18 | 120 | rouge | |
| 307 | 30° | 0.007 / 0.18 | 150 | rouge | |
| 407 | 40° | 0.007 / 0.18 | 190 | rouge | |
| 109 | 10° | 0.009 / 0.23 | 100 | rouge | |
| 209 | 20° | 0.009 / 0.23 | 120 | rouge | |
| 309 | 30° | 0.009 / 0.23 | 150 | rouge | |
| 409 | 40° | 0.009 / 0.23 | 190 | rouge | |
| 509 | 50° | 0.009 / 0.23 | 225 | rouge | |
| 609 | 60° | 0.009 / 0.23 | 270 | rouge | |
| Laques synthétiques 111 | 10° | 0.011 / 0.28 | 100 | rouge | |
| 211 | 20° | 0.011 / 0.28 | 120 | rouge | |
| 311 | 30° | 0.011 / 0.28 | 150 | rouge | |
| 411 | 40° | 0.011 / 0.28 | 190 | rouge | |
| 511 | 50° | 0.011 / 0.28 | 225 | rouge | |
| 611 | 60° | 0.011 / 0.28 | 270 | rouge | |
| Laques, apprés, couches de fond, bouche-pores | 113 | 10° | 0.013 / 0.33 | 100 | rouge |
| 213 | 20° | 0.013 / 0.33 | 120 | rouge | |
| 313 | 30° | 0.013 / 0.33 | 150 | rouge | |
| 413 | 40° | 0.013 / 0.33 | 190 | rouge | |
| 513 | 50° | 0.013 / 0.33 | 225 | rouge | |
| 613 | 60° | 0.013 / 0.33 | 270 | rouge | |
| 813 | 80° | 0.013 / 0.33 | 330 | rouge | |
| Bouche-pores, anti-rouilles | 115 | 10° | 0.015 / 0.38 | 100 | jaune |
| 215 | 20° | 0.015 / 0.38 | 120 | jaune | |
| 315 | 30° | 0.015 / 0.38 | 150 | jaune | |
| 415 | 40° | 0.015 / 0.38 | 190 | jaune | |
| 515 | 50° | 0.015 / 0.38 | 225 | jaune | |
| 615 | 60° | 0.015 / 0.38 | 270 | jaune | |
| 715 | 70° | 0.015 / 0.38 | 300 | jaune | |
| 815 | 80° | 0.015 / 0.38 | 330 | jaune | |
| anti-rouilles, peintures latex peintures à dispersion | 117 | 10° | 0.017 / 0.43 | 100 | blanc |
| 217 | 20° | 0.017 / 0.43 | 120 | blanc | |
| 317 | 30° | 0.017 / 0.43 | 150 | blanc | |
| 417 | 40° | 0.017 / 0.43 | 190 | blanc | |
| 517 | 50° | 0.017 / 0.43 | 225 | blanc | |
| 617 | 60° | 0.017 / 0.43 | 270 | blanc | |
| 717 | 70° | 0.017 / 0.43 | 300 | blanc | |
| 817 | 80° | 0.017 / 0.43 | 330 | blanc | |
| anti-rouilles, peintures latex peintures à dispersion | 219 | 20° | 0.019 / 0.48 | 120 | blanc |
| 319 | 30° | 0.019 / 0.48 | 150 | blanc | |
| 419 | 40° | 0.019 / 0.48 | 190 | blanc | |
| 519 | 50° | 0.019 / 0.48 | 225 | blanc | |
| 619 | 60° | 0.019 / 0.48 | 270 | blanc | |
| 719 | 70° | 0.019 / 0.48 | 300 | blanc | |
| 819 | 80° | 0.019 / 0.48 | 330 | blanc | |
| 919 | 90° | 0.019 / 0.48 | 385 | blanc | |
| Pare-flammes 221 | 20° | 0.021 / 0.53 | 120 | blanc | |
| 321 | 30° | 0.021 / 0.53 | 150 | blanc | |
| 421 | 40° | 0.021 / 0.53 | 190 | blanc | |
| 521 | 50° | 0.021 / 0.53 | 225 | blanc | |
| 621 | 60° | 0.021 / 0.53 | 270 | blanc | |
| 721 | 70° | 0.021 / 0.53 | 300 | blanc | |
| 821 | 80° | 0.021 / 0.53 | 330 | blanc |
| Utilisation Marquage Angle de | projection | Orificeinch / mm | Largeur du jet mm1) | Tamis de crosse | Réf. No. | |
| Revêtems pour toitures 223 | 20° | 0.023 / 0.58 | 120 | blanc | 0553223 | |
| 323 | 30° | 0.023 / 0.58 | 150 | blanc | 0553323 | |
| 423 | 40° | 0.023 / 0.58 | 190 | blanc | 0553423 | |
| 523 | 50° | 0.023 / 0.58 | 225 | blanc | 0553523 | |
| 623 | 60° | 0.023 / 0.58 | 270 | blanc | 0553623 | |
| 723 | 70° | 0.023 / 0.58 | 300 | blanc | 0553723 | |
| 823 | 80° | 0.023 / 0.58 | 330 | blanc | 0553823 | |
| Matériaux en couche épaisseProtection contre la corrosionMastic vulvérable | 225 | 20° | 0.025 / 0.64 | 120 | blanc | 0553225 |
| 325 | 30° | 0.025 / 0.64 | 150 | blanc | 0553325 | |
| 425 | 40° | 0.025 / 0.64 | 190 | blanc | 0553425 | |
| 525 | 50° | 0.025 / 0.64 | 225 | blanc | 0553525 | |
| 625 | 60° | 0.025 / 0.64 | 270 | blanc | 0553625 | |
| 725 | 70° | 0.025 / 0.64 | 300 | blanc | 0553725 | |
| 825 | 80° | 0.025 / 0.64 | 330 | blanc | 0553825 | |
| 227 | 20° | 0.027 / 0.69 | 120 | blanc | 0553227 | |
| 327 | 30° | 0.027 / 0.69 | 150 | blanc | 0553327 | |
| 427 | 40° | 0.027 / 0.69 | 190 | blanc | 0553427 | |
| 527 | 50° | 0.027 / 0.69 | 225 | blanc | 0553527 | |
| 627 | 60° | 0.027 / 0.69 | 270 | blanc | 0553627 | |
| 827 | 80° | 0.027 / 0.69 | 330 | blanc | 0553827 | |
| 229 | 20° | 0.029 / 0.75 | 120 | blanc | 0553229 | |
| 329 | 30° | 0.029 / 0.75 | 150 | blanc | 0553329 | |
| 429 | 40° | 0.029 / 0.75 | 190 | blanc | 0553429 | |
| 529 | 50° | 0.029 / 0.75 | 225 | blanc | 0553529 | |
| 629 | 60° | 0.029 / 0.75 | 270 | blanc | 0553629 | |
| 231 | 20° | 0.031 / 0.79 | 120 | blanc | 0553231 | |
| 331 | 30° | 0.031 / 0.79 | 150 | blanc | 0553331 | |
| 431 | 40° | 0.031 / 0.79 | 190 | blanc | 0553431 | |
| 531 | 50° | 0.031 / 0.79 | 225 | blanc | 0553531 | |
| 631 | 60° | 0.031 / 0.79 | 270 | blanc | 0553631 | |
| 731 | 70° | 0.031 / 0.79 | 300 | blanc | 0553731 | |
| 831 | 80° | 0.031 / 0.79 | 330 | blanc | 0553831 | |
| 233 | 20° | 0.033 / 0.83 | 120 | blanc | 0553233 | |
| 333 | 30° | 0.033 / 0.83 | 150 | blanc | 0553333 | |
| 433 | 40° | 0.033 / 0.83 | 190 | blanc | 0553433 | |
| 533 | 50° | 0.033 / 0.83 | 225 | blanc | 0553533 | |
| 633 | 60° | 0.033 / 0.83 | 270 | blanc | 0553633 | |
| 235 | 20° | 0.035 / 0.90 | 120 | blanc | 0553235 | |
| 335 | 30° | 0.035 / 0.90 | 150 | blanc | 0553335 | |
| 435 | 40° | 0.035 / 0.90 | 190 | blanc | 0553435 | |
| 535 | 50° | 0.035 / 0.90 | 225 | blanc | 0553535 | |
| 635 | 60° | 0.035 / 0.90 | 270 | blanc | 0553635 | |
| 735 | 70° | 0.035 / 0.90 | 300 | blanc | 0553735 | |
| 439 | 40° | 0.039 / 0.99 | 190 | blanc | 0553439 | |
| 539 | 50° | 0.039 / 0.99 | 225 | blanc | 0553539 | |
| 639 | 60° | 0.039 / 0.99 | 270 | blanc | 0553639 | |
| Applications Heavy Duty 243 | 20° | 0.043 / 1.10 | 120 | vert | 0553243 | |
| 443 | 40° | 0.043 / 1.10 | 190 | vert | 0553443 | |
| 543 | 50° | 0.043 / 1.10 | 225 | vert | 0553543 | |
| 643 | 60° | 0.043 / 1.10 | 270 | vert | 0553643 | |
| 445 | 40° | 0.045 / 1.14 | 190 | vert | 0553445 | |
| 545 | 50° | 0.045 / 1.14 | 225 | vert | 0553545 | |
| 645 | 60° | 0.045 / 1.14 | 270 | vert | 0553645 | |
| 451 | 40° | 0.051 / 1.30 | 190 | vert | 0553451 | |
| 551 | 50° | 0.051 / 1.30 | 225 | vert | 0553551 | |
| 651 | 60° | 0.051 / 1.30 | 270 | vert | 0553651 | |
| 252 | 20° | 0.052 / 1.32 | 120 | vert | 0553252 | |
| 455 | 40° | 0.055 / 1.40 | 190 | vert | 0553455 | |
| 555 | 50° | 0.055 / 1.40 | 225 | vert | 0553555 | |
| 655 | 60° | 0.055 / 1.40 | 270 | vert | 0553655 | |
| 261 | 20° | 0.061 / 1.55 | 120 | vert | 0553261 | |
| 461 | 40° | 0.061 / 1.55 | 190 | vert | 0553461 | |
| 561 | 50° | 0.061 / 1.55 | 225 | vert | 0553561 | |
| 661 | 60° | 0.061 / 1.55 | 270 | vert | 0553661 | |
| 263 | 20° | 0.063 / 1.60 | 120 | vert | 0553263 | |
| 463 | 40° | 0.063 / 1.60 | 190 | vert | 0553463 | |
| 565 | 50° | 0.065 / 1.65 | 225 | vert | 0553565 | |
| 665 | 60° | 0.065 / 1.65 | 270 | vert | 0553665 | |
| 267 | 20° | 0.067 / 1.70 | 120 | vert | 0553267 | |
| 467 | 40° | 0.067 / 1.70 | 190 | vert | 0553467 |
1) Largeur du jet à une distance de 30 cm environ du support, pression de projection 100 bar (10 MPa), laque synthétique de 20 secondes-DIN.
Controle de l'apparel
Pour des raisons de sécurité, nous recommandons de faire vérifier l'appareil par un expert si cela s'avère nécessaire, sans toutefois dépasser un intervalle de 12 mois. Celui-ci contrôle que le fonctionnement de l'appareil est sur.
Si l'appareil n'a pas été mis en service, le contrôle peut être repoussé jusqu'à la mise en service suivante.
On respectera en outre toutes les dispositions nationales de contrôle et de maintenance, celles-ci pouvant différer.
Pour toute question, veuillez vous adresser au service clientèle de la société Wagner.
Indication importante de responsabilité de produit
En vertu d'un décret de l'Union française, si le produit est défectueux, la responsabilité du fabricant n'est engagée sans restriction que si toutes les pièces utilisées sont des pièces d'origine ou des pièces autorisées par le fabricant et si les appareils ont été montés et utilisés de manière appropriée. Le fabricant est partiellement ou intégralement dégagé de sa responsabilité s'il est établi que le défaut du produit est dû à l'utilisation de pièces de rechange et/ou d'accessoires tiers. Dans des cas extrêmes, les autorités compétentes sont susceptibles d'interdire l'utilisation de l'ensemble de l'appareil.
Avec les accessoires et pièces de rechange d'origine WAGNER, vous avez la garantie que toutes les prescriptions de sécurité sont respectées.
Suivant la directive européenne 2012/19/UE d'élimination des anciens appareils électriques et sa transposition dans le droit national, ce produit ne peut pas être éliminé avec les ordures domestiques, mais doit être envoyé à une revalorisation compatible avec l'environnement.

Votre ancien appareil WAGNER sera repris par nos soins ou par nos représentations commerciales et éliminé de manière compatible avec l'environnement. Adressez-vous dans ce cas à un de nos points de service après-vente ou à une de nos représentations commerciales ou directement à nous.
Declaration de garantie
Version du 01.02.2009
1. Étendue de la garantie
Tous les applicateurs professionnels de peinture de Wagner (appelés ci-après «Produits») sont soigneusement vérifiés, testés et soumis aux contrôles rigoureux de l'assurance de la qualité de Wagner. Wagner fournit donc exclusivement à l'utilisateur industriel ou professionnel qui a acheté le produit dans un commerce spécialisé agréé (appelé ci-après «Client»), une garantie étendue aux produits enumerated sur Internet à l'adresse www.wagner-group.com/profi-guarantee.
Les droits de l'acheteur résultant de la garantie des defaults et tirés du contrat de vente avec le vendeur, ainsi que les droits légaux ne sont pas limités par cette garantie.
Nous fournissons une garantie dans la mesure où nous decidons si le produit ou ses pièces détachées sont remplacés ou réparés ou bien si l'appareil est repris contre remboursement du prix d'achat. Nous prenons en charge les coûts du matériel et du temps de travail. Les produits ou les pièces remplacés deviennent notre propriété.
2. Période de garantie et enregistrement
La période de garantie est de 36 mois, en cas d'utilisation industrielle ou de sollicitation équivalente, notamment un travail posté, ou en cas de location de 12 mois.
Nous accordons également 12 mois pour les entraînements fonctionnant avec de l'essence et de l'air.
La période de garantie commence le jour de la livraison par le commerce spécialisé agrée. La date indiquée sur l'original du justificatif d'achat fait foi.
Pour tous les produits achetés auprès d'un commerce spécialisé agréé à partir du 01.02.2009, la période de garantie est prolongée de 24 mois, lorsque l'acheteur enregistre ces appareils dans les 4 semaines suivant le jour de la livraison par le commerce spécialisé agréé conformément aux dispositions suivantes.
L'enregistrement s'effectue sur Internet à l'adresse www.wagner-group.com/profi-guarantee.
Le certificat de garantie, ainsi que l'original du justificatif d'achat provrant la date de l'achat servent de confirmation. Un enregistrement est ensuite uniquement possible, lorsque l'acheteur donne son accord à la sauvegarde des données qu'il faut saisir.
La période de garantie du produit n'est ni prolongée ni reconduite par les prestations de garantie.
Après l'expiration de la période de garantie correspondante, il n'est plus possible de revendiquer des droits vis-à-vis de la garantie et résultat de celle-ci.
3. Règlement
Si des défauts apparaissent sur le matériel, la finition ou la performance de l'appareil pendant la période de garantie, les droits de garantie doivent être revendiqués immédiatement, au plus tard dans un délai de 2 semaines.
Le commerçant spécialisé/agréé qui a livré l'appareil a le droit d'enregistrer les droits de garantie. Mais les droits de garantie peuvent être aussi revendiqués auprès de nos services après-vente cités dans le mode d'emploi. Le produit doit être expédié franco de port ou présenté avec l'original du justificatif d'achat où sont indiquées la date d'achat et la désignation du produit. Le certificat de garantie doit être joint en plus pour bénéficier de la prolongation de la garantie.
Le client supporte les coûts, ainsi que le risque d'une perte ou d'un endommagement du produit au cours du transport vers ou en provenance du service qui enregistre les droits de garantie ou qui renvoie le produit réparé.
4. Exclusion de la garantie
Les droits de garantie ne peuvent pas être pris en compte
Pour les pièces soumises à une usure due à l'utilisation ou une autre usure naturelle, ainsi que les vices du produit résultant d'une usure due à l'utilisation ou une autre usure naturelle. En font notamment partie les câbles, les distributeurs, les emballages, les buses, les vérins, les pistons, les pièces du boîtier ou s'écoule le fluide, les filtres, les tuyaux flexibles, les joints d'étanchéité, les rotors, les stators, etc. Les dommages dus à l'usure sont notamment causés par des produits d'enduction abrasifs, tels que par exemple les dispersions, les enduits, les apprêts, les colles, les vernis, une base siliceuse ; - En cas de défauts sur les appareils qui résultent de la non-observation des consignes d'utilisation, d'une utilisation inappropriée ou incorrecte, d'une mise en service ou d'un montage erroné par l'acheteur ou un tiers, d'un usage non conforme à la destination, de conditions d'environnement anormales, de produits d'enduction inappropriés, d'influences chimiques, électrochimiques ou électriques, de conditions de fonctionnement inadéquates, d'une exploitation avec une mauvaise tension/fréquence du réseau, d'une surcharge, d'une maintenance, d'un entretien ou d'un nettoyage insuffisant ; - En cas de défauts sur l'appareil qui ont été causés par l'utilisation d'accessoires, de pièces complémentaires ou de rechange qui ne sont pas des pièces originales de WAGNER ; - Dans le cas de produits sur lesquels des modifications ou des compléments ont été effectués ; - Dans le cas de produits ou le numéro de série a été effacé ou rendu illisible ; - Dans le cas de produits sur lesquels des personnes non autorisées ont effectué des tentatives de réparation ; - Dans le cas de produits ayant de faibles différences par rapport à l'état de consigne qui importent peu pour la valeur et l'aptitude à l'emploi de l'appareil ;
-Dans le cas de produits qui ont été partiellement ou totalement démontés.
5. Clauses complémentaires
Les garanties ci-dessus sont uniquement valables pour les produits qui sont achetés dans l'UE, la CEI, en Australie par un commerce spécialisé/agréé et qui sont utilisés dans le pays d'achat.
S'il s'avère que le recours en garantie est injustifié, la réparation est effectuée aux frais de l'acheteur.
Les présentes dispositions règlementent votre rapport juridique avec nous de manière définitive. Tous les autres droits, notamment pour les dommages et les pertes de n'importe quel type qui résultent du produit ou de son utilisation, sont exclus sauf dans le champ d'application de la loi sur la responsabilité du fait des produits.
Cela n'affecte pas les droits resulting de la garantie des defaults vis-à-vis du commerçant spécialisée.
Cette garantie est soumise au droit allemand. La langue du contrat est l'allemand. Au cas où la signification du texte de cette garantie en allemand et celle du texte dans une autre langue divergent, la signification du texte en allemand a priorité.
J. Wagner GmbH
République fédérale d'Allemagne
Sous réserve de modifications
GB MAIN ASSEMBLY D'HAUPTBAUGRUPPE
FENSEMBLE PRINCIPAL

| # | 730 (Gas) | 750 (110V) | 750 (230V) | 750 SSP (230V) | 750 (Gas) | 770 (Gas) | Description Benen nung Description | |
| 1 449- | 1006 449-100 | 6 449-1006 44 | 9-1006 449-1 | 006 449-1006 | Screw (2) Schraube (2) Vis | (2) | ||
| 2 982 | 612 9822612 | 9822612 982 | 612 9822612 | 9822612 Washer (2) Scheibe (2) Rondelle (2) | ||||
| 3 | ----- | 0537468A | 0537468A | 0537468A | ----- | ----- | Top shroud | Obere Abdeckung |
| 4 | 0555645 | 0555645 | 0555645 | 0555645 | 0555645 | 0555645 | Filter assembly | Filterbaugruppe |
| 5 | 0507785 | 0507785 | 0507785 | 0507785 | 0507785 | 0507785 | Bypass tube | Bypassrohr |
| 6 | 0537537 | 0537537 | 0537537 | 0537537 | 0537537 | 0537537 | Bypass tube clip | Bypassrohrstutzen |
| 7 | 0509390 | 0509390 | 0509390 | 0509390 | 0509390 | 0509390 | Wheel (2) | Rad (2) |
| 8 029 | 687 0295687 | 0295687 029 | 687 0295687 | 0295687 Washer (4) Scheibe (4) Rondelle (4) | ||||
| 9 | 0528088 | 0528088 | 0528088 | 0528088 | 0528088 | 0528088 | Retaining ring (2) | Sicherungsring (2) |
| 10 | 0537469A | 0537469A | 0537469A | 0537469A | 0537469A | 0537469A | Bottom shroud | Untere Abdeckung |
| 11 | 9822612 | 9822612 | 9822612 | 9822612 | 9822612 | 9822612 | Washer (2) | Scheibe (2) |
| 12 | 449-1006 | 449-1006 | 449-1006 | 449-1006 | 449-1006 | 449-1006 | Screw (2) | Schaube (2) |
| 13 | 0537411 | 0537411 | 0537411 | 0537411 | 0537411 | 0537411 | Air intake grate | Lufteinlassgitter |
Fensemble de chariot

| Pos. | 730 (Gas) | 750 (110V) (230V) | 750 SSP (230V) | 770 (Gas) | 770 (Gas) | Description Benennung Description | |
| 1 053 | 7201 053720 | 1 0537201 05 | 37201 0537201 | 1 Handle Deichsel Poignee | |||
| 2 984 | 1504 984150 | 4 9841504 98 | 41504 9841504 | Snap button (2) Haltefeder (2) Ressort (2) | |||
| 3 | 0295610 | 0295610 | 0295610 | 0295610 | 0295610 | Roll pin (2) | Spannhülse (2) Goupille de serrage (2) |
| 4 | 0295607 | 0295607 | 0295607 | 0295607 | 0295607 | Sleeve (2) | Buchse (2) Douille (2) |
| 5 | 0295609 | 0295609 | 0295609 | 0295609 | 0295609 | Washer (2) Scheibe (2) | Rondelle (2) |
| 6 | 0509386 | 0509386 | 0509386 | 0509386 | 0509386 | Washer (4) Scheibe (4) | Rondelle (2) |
| 7 | 0295608 | 0295608 | 0295608 | 0295608 | 0295608 | Screw (4) Schraube (4) | Vis (4) |
GB SHOVEL VALVE D SCHÖPFKOLBEN
F PISTON À AUGET

| Pos. | 750 SSP (230V) | Description Benennung Description | ||
| 0349 150 Shovel valve assembly Schöpfkolben kpl. Piston à auget complète | ||||
| CARACTERISTIQUES Pression de travail maximale : 34,5 MPa (5000 psi) |
| Surface du filtré : 116 cm 2 (18 In²) |
| Orifices de sortie : (1) 1/4" NPT(F) pour la soupape de décharge (1) 3/8" NPT(F) avec racord de tuyau 1/4 NPSM(M) (2) 3/8" NPT(F) branché pour la connexion d'un pistolet supplémentaire. |
| Pièces mouillées : Acier au carbone avec revêtement de nickel et cadmium autocatalytiques, acier inoxydable, carbure de tungstène, PTFE. |

| Pos. | 730(Gas) | 750(110V)(230V) | 750 SSP(230V) | 770(Gas) | 770(Gas) | Description Benennung Description | |
| 1 | 0290443A | 0290443A | 0290443A | 0290443A | 0290443A | Filter cap assembly | Gehäusedeckel |
| 2 0349 | 430 0349430 | 0349430 0349430 | Spring Druckfeder Ressort | ||||
| 3 0349 | 707* 0349707 | 0349707* 0349707* | 0349707* 0349707* | 707* Filter element, 0 Mwith ball | Filterpatrone, 0Maschen, mit Kugel | Cartouche de filtrer0 mailles, avec bille | |
| 0349704* 0349704* | 0349704* 0349704* | 0349704* 0349704* | 0349704* Filter element, 50 Mwith ball | Filterpatrone, 50Maschen, mit Kugel | Cartouche de filtrer50 mailles, avec bille | ||
| ----- | 0349431* 0349431* 0349431* | 0349431* 0349431* | 0349431* Filter element, 5 Mwith ball | Filterpatrone, 5Maschen, mit Kugel | Cartouche de filtrer5 mailles, avec bille | ||
| ----- | 0349705* | 0349705* | 0349705* | 0349705* | Filter element, 100M, with ball | Cartouche de filtrer100 mailles, avec bille | |
| 4 | 0349432 | 0349432 | 0349432 | 0349432 | 0349432 | Gasket, PTFE (thick) | Dichtung dick |
| 5 | 0349433 | 0349433 | 0349433 | 0349433 | 0349433 | Gasket, PTFE (thin) | Dichtung dunn |
| 6 | 0349434 | 0349434 | 0349434 | 0349434 | 0349434 | O-ring, PTFE | O-Ring |
| 7 0349 | 435 0349435 | 0349435 0349435 | 0349435 0349435 | Seat, tungsten | carbide | Ventilsitz | |
| 8 | 0349348 | 0349348 | 0349348 | 0349348 | 0349348 | Pipe plug (2) | Verschlussschraube (2) |
| 9 | 0508626 | 0508626 | 0508626 | 0508626 | 0508626 | Manometer | Manometer |
| 10 | 817-001 | 817-001 | 817-001 | 817-001 | 817-001 | Bushing | Anschluss |
| 11 | 812-003 | 812-003 | 812-003 | 812-003 | 812-003 | Hex fitting, 1/4" | Sechskantschraube,1/4" |
| ----- | 814-004 | 814-004 | 814-004 | 814-004 | Hex fitting, 3/8" | Sechskantschraube,3/8" | |
| 814-005 | 814-005 | 814-005 | 814-005 | 814-005 | Hex fitting, 1/2" | Sechskantschraube,1/2" | |
| 12 | 817-002 | 817-002 | 817-002 | 817-002 | 817-002 | Fitting, T | Anschluss, T |
| 13 | 814-004 | 814-004 | 814-004 | 814-004 | 814-004 | Adapter | Adapter |
| 14 | 0555645 | 0555645 | 0555645 | 0555645 | 0555645 | Bleed valve | Ablassventil-baugruppe |
| 15 | 0537454 | 0537454 | 0537454 | 0537454 | 0537454 | Filter body | Gehäuse |
| 16 | 0537455 | 0537455 | 0537455 | 0537455 | 0537455 | Fitting | Anschluss |
| 0349700 0349700 0349700 0349700 0349700 0349700 0349700 0349700 0349700 0349700 0349700 0349700 0349700 034 | 0349700 0349700 0349700 0349700 0349700 0349700 0349700 0349700 0349700 0349700 0349700 0349700 0357455 | 0349700 0349700 0349700 0349700 0349700 0349700 0349700 0349700 0349700 0349700 0349700 0349700 036256666666666666666666666666666666666666666666666666666666666666666666666666666666666666666666666666666 | service kit | (includes items 2and 4-6) | Filterwartungssatz(beinhaltet Teile 2 und4-6) | ||
- Optional / Optional / Facultatif
GB CONNECTION DIAGRAM (110V / 230V) D SCHALTPLAN (110V / 230V)
F SCHEMA ELECTRIQUE (110V / 230V)

| Wiring Verkabelung Cables Notes Hinweise Remarques | |||
| 1 | Black | Schwarz | Noir |
| 2 | Red | Rot | Rouge |
| 3 | Yellow | Gelb | Jaune |
| 4 | Orange | Orange | Orange |
| 5 | White | Weiß | Blanc |
| 6 Brown Braun Brun | |||
| a | Sensor board cover | Abdeckung Sensorplatine | Housse du capteur |
| b | Solenoid | Hubmagnet | Solénoïde |
| c | Transformer | Trafo | Transformateur |
| d | Electric motor shroud | Abdeckung Elettromotor | Carénage du moteur électricque |
| e | Motor switch | EIN/AUS-Schalter | Interrupteur MARCHE/ARRET |
GB CONNECTION DIAGRAM (GAS ENGINE) D SCHALTPLAN (BENZINMOTOR) F SCHEMA ELECTRIQUE (MOTEUR À ESSENCE)

| Wiring Verkabelung Cables Notes | Hinweise Remarques | ||
| 1 | Black | Schwarz | Noir |
| 2 | White | Weiß | Blanc |
| 3 Gray | Grau | Gris | |
| 4 Blue | Blau | Bleu | |
| a | Sensor board cover | Abdeckung Sensorplatine | Housse du capteur |
| b | Solenoid | Hubmagnet | Solénoïde |
GB HYDRAULIC DIAGRAM D HYDRAULIKSCHEMA
F Diagramme hydraulique

| Notes Hinweise Remarques | |||
| a Solenoid Hubmagnet Solénoïde | |||
| b Hydraulic motor pump Hydraulice | Motorpumpe Pompe du moteur | hydraulique | |
| c Hydraulic pump Hydraulicpumper | Pompe hydraulique | ||
| d Vent | Belüfung | Orifice de ventilation | |
| e Remote filter mount | Remote-Filterhalter | Monture du filtré à distance | |
| f Hydraulic tank | Hydrauliktank | Réserveir de fluide hydraulique | |

| Pos. | HC 730·750·770 | Description Benennung Description | ||
| 1 | 0502 166 | Spray gun AG 14, F-thread | Spritzpistole AG 14, F-Gewinde | Pistolet AG 14, TradeTip 2-F |
| 0502 119 Spray gun AG 14, G-thread Spritzpistole AG | 14, G-Gewinde Pistole AG 14, TradeTip | 2-G | ||
| 0538 019 Spray gun, Vector Pro Spritzpistole, Vector Pro Pistole Vector Pro | ||||
| 0538 026 | Spray gun, Vector Grip | Spritzpistole, Vector Grip | Pistolet Vector Grip | |
| 2 | 0289 391 | TradeTip 3 tip holder F | TradeTip 3 Tip Halter, F-Gewinde | Porte buse F TradeTip 3 |
| 0289 390 | TradeTip 3 tip holder G | TradeTip 3 Tip Halter, G-Gewinde | Porte buse G TradeTip 3 | |
| 3 | 0553 xxx | Wagner TradeTip 3 | Wagner TradeTip 3 | Wagner TradeTip 3 |
| 4 | 0271 065 | 2Speed tip holder | 2Speed Tip Halter | Porte buse 2Speed Tip |
| 5 | 0271 xxx | Wagner 2Speed Tip | Wagner 2Speed Tip Düse | Wagner 2Speed Tip buse |
| 6 | 0179 732 | Connection socket, 1/4" x 3/8" | Übergangsstutzen, 1/4" x 3/8" | Raccord 1/4" x 3/8" |
| 7 23 | 36 582 Hose whip | ip DN 10 mm, 2.5 m, NPSM 3/8 | Schlauchpeitsche DN 10 mm, 2,5 m, NPSM 3/8 | Fouet du flexible DN 10 mm, 2,5 m, NPSM 3/8 |
| 8 | 3203 026 | Double socket 3/8 inch - 1/2 inch | Doppelstutzen 3/8 - 1/2 | Raccord double 3/8 - 1/2 |
| 9985 783 | Double socket 3/8 inch - 3/4 inch | Doppelstutzen 3/8 - 3/4 | Raccord double 3/8 - 3/4 | |
| 9985 782 | Double socket 1/2 inch - 3/4 inch | Doppelstutzen 1/2 - 3/4 | Raccord double 1/2 - 3/4 | |
| 9 23 | 36 583 Special high-pressure hose DN 10 mm, 15 m, NPSM 3/8 inch | spezial Hochdruckschlauch DN 10 mm, 15 m, NPSM 3/8 | Spezial Hochdruckschlauch DN 10 mm, 15 m, NPSM 3/8 | Flexible à haute pression spécifique DN 10 mm, 15 m, NPSM 3/8 |
| 2336584 | Special high-pressure hose DN 10 mm, 30 m, NPSM 3/8 inch | Spezial Hochdruckschlauch DN 10 mm, 30 m, NPSM 3/8 | Flexible à haute pression spécifique DN 10 mm, 30 m, NPSM 3/8 | |
| 2336 585 Special high-pressure hose DN 13 mm, 15 m, NPSM 1/2 inch | spezial Hochdruckschlauch DN 13 mm, 15 m, NPSM 1/2 | Spezial Hochdruckschlauch DN 13 mm, 15 m, NPSM 1/2 | Flexible à haute pression spécifique DN 13 mm, 15 m, NPSM 1/2 | |
| 2336 586 Special high-pressure hose DN 19 mm, 15 m, NPSM 3/4 inch | spezial Hochdruckschlauch DN 19 mm, 15 m, NPSM 3/4 | Spezial Hochdruckschlauch DN 19 mm, 15 m, NPSM 3/4 | Flexible à haute pression spécifique DN 19 mm, 15 m, NPSM 3/4 | |
| 10 | 808-550 Hex fitting, 3/8" (for high-pressure filter) | Sechskantschraube, 3/8" Anschluss am Hochdruckfilter | Raccord hexagonal, 0,9 cm (filtre à haute pression) | |
| 0349610 Hex fitting, 1/2" (for high-pressure filter) | Sechskantschraube, 1/2" Anschluss am Hochdruckfilter | Raccord hexagonal, 1,3 cm (filtre à haute pression) |
GB ACCESSORIES FOR HC UNITS II D ZUBEHÖR FÜR HC-GERÄTE II F ACCESSIORES POUR GROUPE HS II







| Pos. | HC 730·750·770 | Description Benennung Description | ||
| 1 | 0296 441 | Pole gun 120 cm, G-Thread | Auslegerpistole 120 cm, G-Gewinde | Pistolet à rallonge 120 cm-G |
| 0296 442 Po | e gun 200 cm, G-Thread Auslegerpistole | 200 cm G-Gewinde Pistolet à rallonge 200 cm-G | ||
| 0296 443 Po | e gun 120 cm, F-Thread, Auslegerpistole | 120 cm F-Gewinde Pistolet à rallonge 120 cm-F | ||
| 0296 444 Po | e gun 200 cm, F-Thread Auslegerpistole | 200 cm F-Gewinde Pistolet à rallonge 200 cm-F | ||
| 2 99 | 84 567 Double socket NPSM 3/8 inch DN10 (for hose extension) | Doppelstutzen NPSM 3/8 DN10 (für Schlauchverlägerung) | Raccord double NPSM 3/8 DN10 (pour rallonger le flexible) | |
| 0256 343 Double socket 3/8 inch (for hose extension) | Doppelstutzen 3/8 (für Schlauchverlägerung) | Raccord double 3/8 (pour rallonger le flexible) | ||
| 3202 901 Double socket 1/2 inch (for hose extension) | Doppelstutzen 1/2 (für Schlauchverlägerung) | Raccord double 1/2 (pour rallonger le flexible) | ||
| 9985 781 Double socket 3/4 inch (for hose extension) | Doppelstutzen 3/4 (für Schlauchverlägerung) | Raccord double 3/4 (pour rallonger le flexible) | ||
| 3 | 0268 905 | Texture tip set 4, 6, 8, 10 mm | Strukturdüssensatz 4, 6, 8, 10 mm | Jeu de buses de structure 4, 6, 8, 10 mm |
| 4 02 | 58 202 Spray head | head for working with Airless filler (sprinkle texture) with air support | Spritzkopf zur Verarbeitung von Airless-Spachtelmassen (Sprenkelstruktur) mit Luftunterstützung | Tête de projection pour la mise en œuvre d'enduits à projeter Airless (structure tachetée sous addition d'air) |
| 0258 720 Sp | inkle texture set: Spray head, texture tip set, tip-cleaning needle and air hose DN 9 mm, 15 m with rapid action coupling (no. fig.) | Sprenzkapf, Strukturdüssensatz, Düsenreinigungsnadel und Luftschlauch DN 9 mm, 15 m mit Schnellkupplung (ohne Abbildung) | Jeu de projection à structure tachetée: tête de projection, jeu de buses de structure, aiguille de nettoyage de buse, tuyau d'air DN 9 mm, 15 m avec raccord rapide (sans illustration) | |
| 5 03 | 45 010 In-line roller IR-100 Inline Roller IR-100 Rouleau à | alimentation interne IR-100 | ||
| 6 23 | 83 128 Connection | on kit for large volume container | Anschluss-Set für Großmengenbehälter | Kit de raccordement pour le bac grands volumes |
| 7 | 2374 308 | Large volume container | Großmengenbehälter | Bac grands volumes |
| 8 23 | 74 263 Large volume container with sack press table | Großmengenbehälter mit Sackauspresstisch | Bac grands volumes avec table de pressage de sac | |
| WAGNER GmbH Otto-Lilienthal-Str.18 88677 Markdorf Germany | |||
| D | GBF I | ||
| Konformitätserklärgung Airless Hochdruck Spritzgerät, benzinbetrieben | Declaration of conformity Airless high-pressure spraying unit,gas powered | Déclaration de conformité Apparéil de pulverisation à haute pression Airless, à essence | Dichiarazione di conformità Apparecchio di verniciatura a spruzzo Airless ad alta pressione, azionato a benzina |
| WAGNER HeavyCoat HC 730, HC 750, HC 770 | |||
| Wir erklärren in alleiniger Verantwortung, dass diese Produkte den folgenden einschlädigen Bestimmungen entspricht: | We declare under sole responsibility that this product conforms to the following relevant stipulations: | Nous déclarons sous notre responsabilité que ce produit est en conformité avec les réglementsations suivantes: | Dichiariamo sulla notre exclusiva responsabilità, che il presente prodotto corrisponde alle relative dispositions seguenti: |
| 2006/42/EG | 2006/42/EC | 2006/42/CE, | 2006/42/CE |
| Angewendete harmonisierte Normen, insbesondere: | Applied harmonized standards, in particular: | Normes harmonisée utilisées,notamment: | Norme armonizzate applicate, in particulare: |
| EN ISO 12100:2010; EN 1953:2013 | |||
| Markdorf, 13.02.2017 Location, Date | T.Jeltsch Chief Technology Officer Global Product Strategy & Planning | i.V. for J.Ulbrich Vice President Engineering Dokumentationsverantwortlicher Responsible person for documents Personne responsable de la documentation Responsible della documentazione | |
A J. Wagner Ges. m. b. H.
Ottogasse 2/20
2333 Leopoldsdorf
Österreich
Tel. +43/2235/44158
Téléfax +43/2235/44163
office@wagner-group.at
DK Wagner Spraytech
Scandinavia A/S
Helgeshøj Alle 28
2630 Taastrup
Denmark
Tel. +45 43 27 18 18
Téléfax +45 43 43 05 28
wagner@wagner-group.dk
conseil.paris@euromair.com
Siège Social / S. A. V. Sud
343, bd F. Perrin
13106 Roussset Cedex
Tel. 04.42.29.08.96
conseil@euromair.com
S Wagner Spraytech
Scandinavia A/S
Helgeshøj Alle 28
2630 Tastrup
Denmark
Tel. +45 43 27 18 18
Téléfax +45 43 43 05 28
wagner@wagner-group.dk
CZ E-Coreco s. r. o.
Na Roudne 102
301 00 Plzen
Czechia
Tel. +420 734 792 823
Téléfax 420 227 077 364
Notice Facile