BBQ Patio Chef 4+ - Barbecue Patton - Notice d'utilisation et mode d'emploi gratuit
Retrouvez gratuitement la notice de l'appareil BBQ Patio Chef 4+ Patton au format PDF.
| Caractéristiques techniques | Barbecue à gaz 4 brûleurs, surface de cuisson de 2400 cm², puissance totale de 12 kW. |
|---|---|
| Dimensions | Dimensions totales : 145 x 60 x 115 cm, poids : 50 kg. |
| Matériaux | Acier inoxydable, grilles en fonte émaillée. |
| Utilisation | Idéal pour la cuisson de viandes, légumes et poissons, avec un allumage électronique. |
| Entretien | Nettoyage régulier des grilles, vidage du bac à graisse, protection contre les intempéries. |
| Sécurité | Équipé de dispositifs de sécurité pour éviter les fuites de gaz, couvercle avec verrouillage. |
| Accessoires inclus | Thermomètre intégré, plancha, ustensiles de barbecue. |
| Garantie | 2 ans sur les pièces, 5 ans sur la cuve. |
FOIRE AUX QUESTIONS - BBQ Patio Chef 4+ Patton
Questions des utilisateurs sur BBQ Patio Chef 4+ Patton
0 question sur cet appareil. Repondez a celles que vous connaissez ou posez la votre.
Poser une nouvelle question sur cet appareil
Téléchargez la notice de votre Barbecue au format PDF gratuitement ! Retrouvez votre notice BBQ Patio Chef 4+ - Patton et reprennez votre appareil électronique en main. Sur cette page sont publiés tous les documents nécessaires à l'utilisation de votre appareil BBQ Patio Chef 4+ de la marque Patton.
MODE D'EMPLOI BBQ Patio Chef 4+ Patton
PATTON
1. Données technique du modèles Patio Chef
| Nom de produit | Patio Chef 2+-burner | CE 0063-14 | |||
| Numéro de modèle | 54GCPR201 | ||||
| No. identificatoire de produit | 0063CN7292 | ||||
| Puissance thérmique max: Qn | 8.4 kW (610 g/h) | ||||
| Catégorie de gaz | I_3+(28-30/37) | I_3B/P(30) | I_3B/P(50) | I_3B/P(37) | |
| Type de gaz | Butane Propane | Les mélanges du gaz LPG | |||
| Pression de gaz | 28 - 30 mbar 37 | mbar | 30 mbar 50 mbar | 37 mbar | |
| Dimm. de buses | 0.86 mm | 0.86 mm | 0.76 mm 0.82 mm | ||
| Dimm. de buses brûleur lat. | 0.75 mm | 0.75 mm | 0.65 mm 0.65 mm | ||
| Pays de destination | BE, CH, CY, CZ, ES, FR, GB, GR, IE, IT, LT, LU, LV, PT, SK, et SI. | BE, CY, DK, EE, FI, HU, LT, NL, NO, SE, SI, SK, RO, HR,TR, BG,LU et MT. | AT, CH, DE et SK | PL | |
| Nom de produit | Patio Chef 3+-burner | CE 0063-14 | |||
| Numéro de modèle | 54GCPR511 | ||||
| No. identificatoire de produit | 0063CN7292 | ||||
| Puissance thérmique max: Qn | 11.4 kW (829 g/h) | ||||
| Catégorie de gaz | I_3+(28-30/37) | I_3B/P(30) | I_3B/P(50) | I_3B/P(37) | |
| Type de gaz | Butane Propane | Les mélanges du gaz LPG | |||
| Pression de gaz | 28 - 30 mbar 37 | mbar | 30 mbar 50 mbar | 37 mbar | |
| Dimm. de buses | 0.86 mm | 0.86 mm | 0.76 mm 0.82 mm | ||
| Dimm. de buses brûleur lat. | 0.75 mm | 0.75 mm | 0.65 mm 0.65 mm | ||
| Pays de destination | BE, CH, CY, CZ, ES, FR, GB, GR, IE, IT, LT, LU, LV, PT, SK, et SI. | BE, CY, DK, EE, FI, HU, LT, NL, NO, SE, SI, SK, RO, HR,TR, BG,LU et MT. | AT, CH, DE et SK | PL | |
| À utiliser uniquement en plein air. |
| Lire les instructions d'utilisation de l'appareil. |
| Les parties accessibles peuvent être très chaudes. Ne pas laisser jouer les jeunes enfants à proximité de l'appareil. |
| Ne pas déplacer le barbecue pendant son fonctionnement. |
| Fermez le robinet de la bouteille de gaz après usage. |
| Chaque modification de ce barbecue peut s'avérer dangereux. |
| Des pièces fermées par le constructeur de devraient pas être manipulées par l'utilisateur. |
| Ne jamais altérez ou modifiez la détendeur ou le bloc de fourniture de gaz. |
● LA SPECIFICATION TECHNIQUE CE TROUVE SUR LA PLAQUETTE EN ARGENT.
- UTILISER LE PROPANE/BUTANE LIQUIDE. NE JAMAIS UTILISER LES TUYAUX OU RACCORDEMENTS CONÇUS POUR LE GAZ NATUREL SAUF SI LE GRILL Y EST ADAPTE.
POUR UTILISER LE GRILL, S'APPROVISIONNER EN BOUTEILLE GPL DE GAZ REMPLIE DE PROPANE OU DE BUTANE ET EQUIPE D'UN REGULATEUR DE PRESSION EN MB CONFORMEMENT A LA LOI EN VIGUEUR.
- NE JAMAIS LAISSER LES ENFANTS MANOEUVRER LE GRILL.
- LES PIECES ACCESSIBLES PEUVENT ETRE TRES CHAUDES. NE PAS ADMETTRE LES ENFANTS A PROXIMITE DE L'APPAREIL.
- LES MODIFICATIONS DU GRILL PEUVENT ETRE DANGEREUSES.
- NE PAS CHANGER LE REGULATEUR DE PRESSION OU DE SORTIE DE GAZ.
- NE PAS DEPLACER L'APPAREIL EN SERVICE.
- CONTROLLER LE TUYAU FLEXIBLE AVANT CHAQUE UTILISATION POUR LES CASSURES, DEGATS OU AUTRES ENDOMMAGEMENTS.
- NE JAMAIS ALLUMER LA FLAMME EN CAS D'ODEUR DE GAZ.
● LAISSER INTACTES LES PIECES ETEINTES PAR LE FABRICANT.
- NE PAS PLACER LE GAZ A COTE DU OU SOUS LE GRILL NI SUR LE CHARIOT.
- NE PAS ENTREPOSER LES RECIPIENTS DE RECHANG REMPLIS OU VIDE SOUS LE GRILL OU A SA PROXIMITE.
- NE PAS ENTREPOSER L'ESSENCE OU TOUTE AUTRE SUBSTANCE VOLATILE INFLAMMABLE A PROXIMITE DU GRILL.
ENTREPOSER LE TUYAU DE GAZ ET LES CABLES ELECTRIQUES LOIN DES SURFACES CHAUDES.
● FAIRE ATTENTION A CE QUE LE TUYAU DE GAZ NE SOIT PAS TORSADE.
- CHANGER LE TUYAU S'IL EST ABIME OU SI UN TEL CHANGEMENT EST EXIGE PAR LES REGLEMENTS NATIONAUX.
- NE PAS ALLUMER LE FEU DANS LE GRILL SI LE COUVERCLE EST FERME.
- LES FLAMMES DEVRAIENT ETRE BLEUES ET STABLES, SANS COULEUR JAUNE A L'EXTREMITE.
- AU MOMENT D'ALLUMAGE DU GRILL, NE PAS S'APPUYER SUR LA SURFACE DU PLATEAU OU DES GRILLES.
- UTILISER UNIQUEMENT LES OUTILS DE GRILL ET LES ACCESSOIRES DE BONNE QUALITE.
- NE PAS COUVRIR HERMÉTIQUEMENT LE RÉPARTITEUR DE FLAMME/GRILLES/PANNEAU OU BASE DU GRILL À L'AIDE DE LA FEUILLE D'ALUMINIUM OU D'UN AUTRE MATÉRIEL. CELA PEUT PETURBER GRAVEMENT LA CIRCULATION DE L'AIR ET/OU PROVOQUER LE RÉCHAUFFEMENT EXCESSIF DANS LA ZONE DU BRÛLEUR.
- AVANT LA MISE EN SERVICE DE L'APPAREIL, ENLEVER TOUS LES ÉLÉMENTS DE L'EMBALLAGE ET DES RUBANS ADHÉSIFS DU GRILL ET DES BRÛLEURS.
- LA GRAISSE EST INFLAMMABLE. LAISSER LA GRAISSE REFROIDIR AVANT D'ENTREPRENDRE DE QUELCONQUES ACTIVITÉS. NE PAS LAISSER LA GRAISSE S'ACCUMULER DANS LE TIROIR POUR LES GRAISSES AU FOND DU PLATEAU AVEC LE FEU. NETTOYER SYSTÉMATIQUEMENT LE TIROIR POUR LES GRAISSES (APRÈS TOUTES LES 4-5 UTILISATIONS). FERMER TOUS LES BOUTONS RÉGULATEURS ET S'ASSURER QUE LE GRILL AIT REFROIDI AVANT D'UTILISER LE VAPORISATEUR AVEC LE PRODUIT NETTOYANT AUTOUR DU GRILL OU SUR LE GRILL. LES SUBSTANCES CHIMIQUES SE TROUVANT DANS LES VAPORISATEURS PEUVENT PROVOQUER LA FLAMME OU LA CORROSION À PROXIMITÉ DE LA SOURCE DE CHALEUR.
- NE PAS UTILISER LES PIÈCES/ACCESSOIRES D'AUTRES FABRICANTS S'ILS NE SONT PAS EXPRESSÉMENT RECOMMANDÉS PAR PATTON. VOTRE GARANTIE PERD LA VALIDITÉ SI LES PIÈCES OU ACCESSOIRES D'AUTRES FABRICANTS ONT ÉTÉ UTILISÉS.
● FERMER LA SOUPAPE DE GAZ APRÈS CHAQUE UTILISATION.
SECURITE
- Ne jamais utiliser le grill sans régulateur de pression.
- Si un régulateur de pression adapté à un type donné de carburant n'a pas été fourni, constater le fournisseur local de gaz afin d'en obtenir.
- Les indices de pression dans le schéma ci-dessous ne sont présentés qu'à titre indicatif.
MONTAGE DU REGULATEUR DE PRESSION ET DU TUYAU DE GAZ
- Le régulateur de pression et le tuyau de gaz doivent être adaptés au gaz liquide - Liquid Petrol Gas (LPG).
- Le régulateur de pression et le tuyau de gaz doivent supporter la pression indiquée ci-dessus.
- Le tuyau de gaz ne peut pas dépasser 1,5 mètres.
- Le tuyau de gaz flexible est branché à l'adapteur.
- Utiliser un borne de tuyau convenable pour fixer le tuyau à l'adapteur du grill et afin de brancher le tuyau/régulateur.
- Monter le tout, ouvrir le gaz et contrôler l'étanchéité. Voir Contrôler l'étanchéité. Faire attention à ce que la procédure soit effectuée dans un endroit bien ventilé et se trouvant loin du feu ouvert, des étincelles et sources de
chaleur.
- Ne pas utiliser les bouteilles de gaz GPL déformées ou rouillées.

Illustration pour connecter le barbecue et du gaz tuyau

text_image
Bouteille de gaz Régulateur TuyauIllustration pour connecter la bouteille de gaz, régulateur et gaz tuyau
INFORMATIONS GENERALES
POSITIONNEMENT DU GRILL
- Utiliser le grill uniquement à l'extérieur.
- Ne pas utiliser le grill dans les véhicules de tourisme.
- Assurer une bonne ventilation et la circulation libre de l'air autor du grill pour obtenir la combustion optimale.
CONTRÔLER L'ÉTANCHÉITÉ
Attention: Ne jamais contrôler l'étanchéité à proximité du feu ouvert.
En cas d'odeur de gaz, ne pas allumer le grill. Fermer la soupape de la bouteille de gaz et éteindre le feu ouvert.
Avant la première mise en service ou au début de la nouvelle saison, contrôler l'étanchéité (ou après chaque changement de bouteille de gaz).
- Préparer la dissolution de l'eau savonneuse en mélangeant une partie du savon liquide et une partie de l'eau.
- Tourner les boutons régulateurs en position "OFF", ensuite ouvrir la soupape de la bouteille de gaz.
- Étendre l'eau savonneuse sur toutes les connexions de gaz. L'apparition des bulles signifie que les connexions ne sont pas bien serrées. Il faut les serrer ou réparer si nécessaire.
- En cas de découverte de la fuite, fermer la soupape de la bouteille de gaz, démonter le tuyau de gaz et contacter le fournisseur.
BUTANE OU PROPANE?
En cas de ce grill, il est possible d'utiliser les deux types de gaz. Il est important d'utiliser un régulateur adapté au type de gaz choisi. Il est recommandé d'utiliser les bouteilles de gaz de 10 kg.
UTILISATION DE LA BOUTEILLE DE GAZ EN TOUTE SECURITÉ
- Après chaque utilisation fermer la soupape de la bouteille de gaz.
- Si le grill est entreposé à l'intérieur, il faut démonter la bouteille de gaz et l'entreposer à l'extérieur. Il est interdit d'entreposer la bouteille de gaz à l'intérieur.
- La bouteille de gaz doit être entreposée debout.
La bouteille de gaz doit être entreposée loin des sources de chaleur.
- Si la bouteille de gaz doit être changée, il faut le faire loin du feu ouvert, des étincelles ou sources de chaleur.
ENTRETIEN
FLUX EN ARRIERE
- Fermer la soupape de la bouteille de gaz et tourner le bouton régulateur du brûleur en position "OFF". Attendre à ce que le grill ait refroidi et nettoyer les brûleurs et l'aménée de gaz.
NETTOYAGE DE GRILLES, PLATEAU DU GRILL /HOTPLATE
• Fermer la soupape de la bouteille.
- Attendre à ce que les grilles et les plateaux du grill/hotplate aient refroidi. Nettoyer ces élément à l'aide d'une éponge à nettoyer en plastique et de l'eau. Le nettoyage est plus facile si on laisse les éléments dans un récipient avec de l'eau chaude et une petite quantité de Bio-tex ou de carbonate de sodium pour toute la nuit. Sécher tous les éléments avant de les mettre en place.
NETTOYAGE DE REPARTITEUR DE FLAMME
- Le répartiteur devrait être régulièrement nettoyé à l'aide de l'eau chaude avec un bproduit nettoyant ou de carbonate de sodium. Si nécessaire, utiliser la laine d'acier pour enlever les résidus brûlés. Sécher le répartiteur avant de le mettre en place.
NETTOYAGE DE TIROIR POUR LES GRAISSES
- Refroidir le contenu du tiroir avant de le vider et nettoyer le récipient à l'aide de l'eau chaude, d'un chiffon doux et du produit lavant doux ou du carbonate de sodium. Rincer bien et sécher les éléments. Une feuille d'aluminium à l'intérieur du tiroir permet d'enlever les graisses et résidus plus facilement.
NETTOYAGE ANNUEL DE GRILL
Si les grilles et le plateau du grill /hotplate sont nettoyés sytématiquement et après chaque utilisation à l'aide d'une brosse en cuivre, le grill-barbecue est toujours prêt à l'utilisation. Une fois par an tout le grill-barbecue devrait être entièrement nettoyé.
INTERIEUR
- Tourner le bouton régulateur en position "OFF", fermer la soupape de la bouteille de gaz et démonter le tuyau/réducteur de pression du grill.
- Enlever le plateau du grill /hotplate, les grilles, le répartiteur de flamme et les brûleurs. Couvrir les trous d'aménée de gaz à l'aide de la feuille d'aluminium. Nettoyer l'intérieur et l'extérieur du grill à l'aide d'une brosse douce/en cuivre. Nettoyer le plateau du grill /hotplate, les grilles et le répartiteur à l'aide d'une éponge à nettoyer en plastique et de l'eau. Le nettoyage est plus facile si on laisse les éléments dans un récipient avec de l'eau chaude et une petite quantité de Bio-tex ou de carbonate de sodium pour toute la nuit. Il est recommandé de nettoyer le tiroir pour les graisses et l'intérieur du grill à l'aide de l'eau chaude, d'une brosse douce et du produit nettoyant doux. Rincer bien et sécher les éléments. Si nécessaire supléer le vernis manquant. L'émail peut être durci à l'aide du vernis résistant à la chaleur. Engraisser bien le plateau du grill /hotplate, des grilles et l'intérieur à l'aide d'une petite quantité d'huile.
- Enlever la feuille d'aluminium des trous et véfirier si les trous ne sont pas bouchés. Si les trous sont bouchés, il faut les percer à l'aide des trombones dépliés. Ne pas utiliser les bâtonnets en bois pour brochettes car ils peuvent casser et boucher les trous.
- Mettre les brûleurs et autres pièces en place.
- Vérifier l'allumage et l'adapter si nécessaire.
- Rebrancher le tuyau flexible et vérifier l'allumage.
- Emballer les grilles, le plateau et le répartiteur de flamme en papier de journeaux et entreposer dans un endroit sec. Après les avoir mis de retour sur le grill, allumer le grill en gardant le couvercle fermé et en allumant au maximum deux brûleurs en position moyenne pour ± 10 minutes. Grâce à cela l'huile brûlera bien et les pièces seront bien
protegés et prêtes à l'utilisation.
- En automne et hiver il est recommandé d'entreposer le grill sans housse et à l'interieur. Si cela n'est pas possible, laisser l'appareil dans le jardin, dans un lieu à l'abri et bien couvrir. En hiver pendant des conditions météorologiques favorables enlever la housse de termos en temps ce qui permettra de réduire le niveau d'humidité.
L'entretien correct et régulier du grill permettra de le garder en bonne forme et prolongera la durée de son fonctionnement.
ACIER INOXYDABLE
- Ce grill a été fait en acier inoxydable et en acier couvert partiellement d'une couche de pulvérisation et partiellement d'une couche de porcelaine et d'émail. Sur le marché il y a un grand nombre de produits destinés à nettoyer l'acier (inoxydable). Il faut toujours commencer par les méthodes de nettoyage les plus douces.
- Les fissures visibles sur l'acier inoxydable peuvent être éliminer à l'aide du produit de polissage extra doux ou du papier abrasif à grain fin. Les taches de graisse peuvent brûler sur la surface en acier. Ces taches peuvent ressembler à la rouille. Pour les enlever il faut utiliser une éponge à nettoyage avec du produit pour nettoyer l'acier inoxydable.
LES ARAIGNEES ET INSECTES PEUVENT CONSTRUIRE LES TOILES OU NIDS A L'INTERIEUR DES BRULEURS (LEURS TROUS), DES TUYAUX ET DES TUYAUX FLEXIBLES. ILS PEUVENT LIMITER LE FLUX DE GAZ ET PROVOQUER UN INCENDIE. CE PHENOMENE EST APPELE "LE FLUX EN ARRIERE" (VOIR CI-DESSUS) ET PEUT SERIEUSEMENT ABIMER LE GRILL ET PROVOQUER UN DANGEREUX INCENDIE. IL EST RECOMMANDE DE CONTROLER ET NETTOYER REGULIEREMENT LES BRULEURS (LEURS TROUS), LES TUYAUX ET LES TUYAUX FLEXIBLES.
COMMENT SE SERVIR DES BRULEURS ET CONTROLLER L'ALLUMAGE
AVANT D'ALLUMER LE GRILL, ENLEVER LE COUVERCLE
- Tourner les boutons régulateurs en position "Off" et ouvrir la soupape de la bouteille de gaz.
- Si c'est le premier montage du grill, les tuyaux de gaz sont remplis d'air. Ils devraient être remplis de gaz.
Il faut attendre quelques moments jusqu'à ce que les tuayux soient remplis de gaz. - Presser le bouton régulateur et le tourner en position "HI". En même temps appuyer le bouton d'allumage électrique. Lâcher l'appareil d'allumage quand le brûleur est déjà allumé. Si la fonction d'allumage est l'une des fonctions du bouton régulateur, allumer en tournant ce bouton.
- Si le brûleur ne s'allume pas, fermer la soupape de la bouteille de gaz et répéter deux-trois fois la procédure jusqu'au pas 3.
- Si le brûleur toujours ne s'allume pas, procéder au pas 4. FERMER LE GAZ ET ATTENDRE 5 MINUTES avant d'essayer encore une fois ou allumer la flamme à l'aide d'une allumette.
- Attention: Avant chaque contrôle tourner les boutons régulateurs en position "OFF".
- Si les brûleurs ne veulent pas s'allumer, fermer la soupape de la bouteille de gaz et vérifier si les tuyaux ne sont pas bouchés.
PREMIERE UTILISATION / UTILISATION APRES UNE PERIODE PROLONGEE DE NON-UTILISATION – DEBUT DE LA SAISON
- Lire attentivement les instructions concernant la sécurité, l'allumage et l'emploi.
- Vérifier si les trous d'écoulement de gaz, les tuyaux du brûleur ou les brûleurs ne sont pas bouchés.
- Vérifier si le tuyau du brûleur est correctement mis par le trou de fermeture.
- Vérifier si la bouteille de gaz est remplie.
- Vérifier l'étanchéité en se servant de l'eau savonneuse.
- Tourner le bouton régulateur en position "OFF" et fermer l'aménée de gaz.
- Avant d'allumer le grill, ouvrir le couvercle.
COMMENT SE SERVIR DU BRULEUR LATERAL
- Avant d'allumer le gaz, vérifier le tuyau de gaz. S'il y a des fissures, endommagements ou endroits élimés, il faut changer le tuyau avant l'utilisation. En cas d'odeur de gaz il est interdit d'utiliser le brûleur latéral.
- Placer un vaporisateur avec l'eau savonneuse à proximité de la soupape de gaz et vérifier les raccordements.
-
Avant d'allumer le grill, ouvrir le couvercle.
-
Appuyer le bouton régulateur et le tourner en position "HI"; en même temps appuyer le bouton d'allumage électrique. Si la fonction d'allumage est l'une des fonctions du bouton régulateur, allumer en tournant ce bouton.
- Si l'appareil d'allumage n'émet pas d'étincelle, utiliser une allumette pour allumer le feu.
- Utiliser les poêles ou woks ayant le diamètre minimal de 120 mm et maximal de 200 mm. Lors de l'utilisation des poêles plus grandes, la couche la plus élevée peut changer de couleur.
PREMIERE UTILISATION, BRULAGE DE GRAISSE OU D'HUILE
Avant la première utilisation, il faut brûler l'huile et la graisse utilisés pour la production des grilles/plateau/poêle du grill.
- Ouvrir le couvercle, allumer les brûleurs et laisser pendant 10-15 minutes en position "HI".
- Fermer les boutons régulateurs, redroidir et nettoyer le grill à l'aide de la dissolution de l'eau et du produit nettoyant et d'une éponge à frotter. Ensuite sécher.
GRILLAGE AVEC LE COUVERCLE FERME
IMPORTANT: Lors du grillage avec le couvercle fermé, ne jamais mettre tous les brûleurs en même temps en position "HI".
En cas de préparer la nourriture quand le couvercle est fermé, il ne faut utiliser les brûleurs que comme montrent les dessins.
- Avant d'allumer le grill, ouvrir le couvercle. Placer le répartiteur de flamme, le plateau du grill ou la poêle du grill sur les brûleurs centrals. Fermer le couvercle et tourner le bouton régulateur en position "LO".
● Garder la température ne dépassant pas 200° C.
- Si tu veux rôtir, place l'aliment au milieu du four en le mettant p.ex sur une plaque de four tourné sens dessus dessous.
- Surveiller régulièrement le cuisson.
LE GRILL-BARBECUE NE FONCTIONNE PAS
- Ne pas fumer lors du contrôle du grill!
- Tourner le bouton régulateur en position "OFF" et fermer l'aménée de gaz.
- Attendre cinq minutes et essayer encore une fois.
- Contrôler la sortie de gaz/raccordements.
- Répéter la procédure d'allumage. Si le grill ne fonctionne pas, FERMER L'AMENEE DE GAZ, TOURNER LES BOUTONS REGULATEURS EN POSITION "OFF". Attendre à ce que le grill ait refroidi et vérifier les éléments suivants:
a) Le branchement des tuyaux du brûleur au niveau des trous. QUE FAIRE: Enfiler correctement le tuyau du brûleur par le trou.
b) Le tuyau de gaz bouché. QUE FARE: Débrancher le tuyau du grill. Ouvrir l'aménée de gaz pendant 1 seconde pour déboucher le tuyau. Fermer l'aménée de gaz (fermer la soupape de la bouteille de gaz) et brancher le tuyau au grill.
c) Le trou bouché. QUE FAIRE: Sortir toutes les pièces non fixées de l'intérieur du grill. Ouvrir les brûleurs/enlever les goupilles en se servant d'un tournevis ou d'une pince universelle. Soulever chaque brûleur en découvrant les trous de gaz, déboucher l'endroit bouché à l'aide d'une aiguille fine. Mettre les brûleurs de retour sur les trous et les fixer sur la base du brûleur sur l'arc de support du grill. Insérer les pièces non fixées à l'intérieur.
d) Le branchement de l'appareil allumant du brûleur. QUE FAIRE: L'extrémité de l'électrode doit atteindre le brûleur/boîte d'interruption. Le trou entre l'électrode étincelant et l'extrémité du brûleur/ boîte d'interruption doit avoir la longueur de 3-5 mm. Si nécessaire, positionner en pliant avec précaution. S'il est nécessaire d'allumer le grill qui est encore chaud, il faut attendre au moins cinq minutes avant le réallumage. (pour que le reste du gaz s'échappe)
Si toutes les procédures de contrôle/réparation ont été effectuées mais le grill ne fonctionne pas correctement, contacter le vendeur ou l'installateur de gaz.
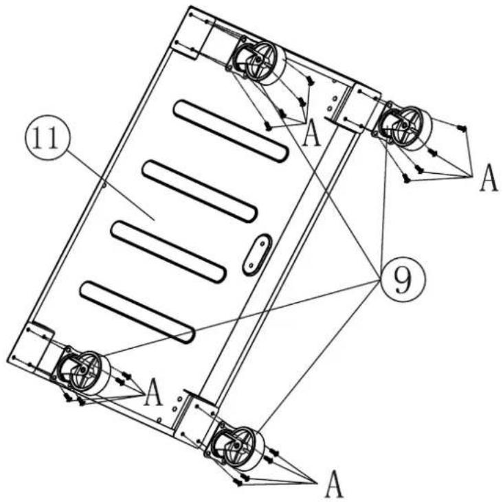
Instructions de montage pour le Patio Chef 2+1 / Patio Chef 3+1

- Image de composants individuels du Patio Chef 3+1 (est égal au Patio Chef 2+1)

S'assurer si le grill est monté correctement. Les instructions détaillées sont jointes à chaque mode d'emploi. Afin de monter l'appareil correctement, suivre les présentes instructions.
Avertissement: Nous entreprenons toutes les démarches pour que le montage soit aussi facile que possible. Cependant il est recommandé de faire attention en se servant des pièces en métal, et notamment des pièces munies en bords tran-chants qui peuvent causer des blessures. Il est recommandé d'être prudent et utiliser les gants de protection.
1、A\*16

AVERTISSEMENT: La poignée du grill en service atteint la température élevée, donc il est fortement recommandé de ne pas toucher les endroits indiqués sur le dessin ci-dessus.
L'allumage de la veilleuse
Tous les boutons régulateurs de gaz doivent être en position "OFF". Ouvrir la soupape de régulateur de pression sur la bouteille de gaz. Pour provoquer une étincelle, appuyer le sélecteur en A et le tenir en cette position pendant 3-5 secondes pour permettre le flux de gaz. Ensuite tourner le bouton à gauche jusqu'à la position "HIGH" (B). Là une étincelle apparaît dans le tuyau d'igniton du brûleur (C). On peut entendre un bruit sec et une flamme orange apparaît à distance de 6-10 cm du tuyau du côté gauche du brûleur. (D) Le bruit sec entendu, tenir le bouton régulateur pendant encore 2 secondes, ce qui permettra le passage du gaz au tuyau du brûleur (E) et assurera l'allumage correct. Quand le brûleur est allumé, les brûleurs avoisinant s'allument au moment où les boutons régulateurs correspondants sont tournés en position "HIGH". En position "HIGH" l'étincelle devrait avoir 12-20 mm de longueur et être de couleur orange. Pour choisir la puissance minimale, tourner le bouton régulateur entièrement à gauche. Si, après avoir suivi toutes les procédures décrites ci-dessus, l'allumage n'est pas correct, contacter le fournisseur.

AVERTISSEMENT! Si après avoir effectué correctement toutes les procédures le feu ne s'allume pas correctement, contacter le fournisseur.

Notice Facile