BBQ Patio Chef 4+ - Barbecue Patton - Gratis gebruiksaanwijzing en handleiding
Vind de handleiding van het apparaat gratis BBQ Patio Chef 4+ Patton in PDF-formaat.
Veelgestelde vragen - BBQ Patio Chef 4+ Patton
Gebruikersvragen over BBQ Patio Chef 4+ Patton
0 vraag over dit apparaat. Beantwoord die u kent of stel uw eigen vraag.
Stel een nieuwe vraag over dit apparaat
Download de handleiding voor uw Barbecue in PDF-formaat gratis! Vind uw handleiding BBQ Patio Chef 4+ - Patton en neem uw elektronisch apparaat weer in handen. Op deze pagina staan alle documenten die nodig zijn voor het gebruik van uw apparaat. BBQ Patio Chef 4+ van het merk Patton.
GEBRUIKSAANWIJZING BBQ Patio Chef 4+ Patton
PATTON
1. Technische data voor de Patio Chef Barbecue serie
| Naam product | Patio Chef 2+-burner | CE 0063-14 | |||
| Modelnummer | 54GCPR201 | ||||
| Identificatienr. van het product | 0063CN7292 | ||||
| Totale warmtecapaciteit: Qn | 8.4 kW (610 g/h) | ||||
| Gascategorie | I_3+(28-30/37) | I_3B/P(30) | I_3B/P(50) | I_3B/P(37) | |
| Gastype | Butaan Propaan | Butaan/Propaan | Butaan/Propaan | Butaan/Propaan | |
| Gasdruk | 28 - 30 mbar 37 | mbar | 30 mbar | 50 mbar | 37 mbar |
| Verstuivergrootte | 0.86 mm | 0.86 mm | 0.76 mm 0.82 mm | ||
| Verstuivergrootte zijbrander | 0.75 mm | 0.75 mm | 0.65 mm 0.65 mm | ||
| Land van bestemming | BE, CH, CY, CZ, ES, FR, GB, GR, IE, IT, LT, LU, LV, PT, SK, en SI. | BE, CY, DK, EE, FI, HU, LT, NL, NO, SE, SI, SK, RO, HR,TR, BG,LU en MT. | AT, CH, DE en SK | PL | |
| Naam product | Patio Chef 3+-burner | CE 0063-14 | |||
| Modelnummer | 54GCPR511 | ||||
| Identificatienr. van het product | 0063CN7292 | ||||
| Totale warmtecapaciteit: Qn | 11.4 kW (829 g/h) | ||||
| Gascategorie | I_3+(28-30/37) | I_3B/P(30) | I_3B/P(50) | I_3B/P(37) | |
| Gastype | Butaan Propaan | Butaan/Propaan | Butaan/Propaan | Butaan/Propaan | |
| Gasdruk | 28 - 30 mbar 37 | mbar | 30 mbar 50 mbar | 37 mbar | |
| Verstuivergrootte | 0.86 mm | 0.86 mm | 0.76 mm 0.82 mm | ||
| Verstuivergrootte zijbrander | 0.75 mm | 0.75 mm | 0.65 mm 0.65 mm | ||
| Land van bestemming | BE, CH, CY, CZ, ES, FR, GB, GR, IE, IT, LT, LU, LV, PT, SK, en SI. | BE, CY, DK, EE, FI, HU, LT, NL, NO, SE, SI, SK, RO, HR,TR, BG,LU en MT. | AT, CH, DE en SK | PL | |
| Uitsluitend in de open lucht of op goed geventileerde plaatsen te gebruiken. |
| Lees de instructies voor gebruik van het apparaat. |
| Bereikbare delen kunnen erg heet zijn, houd jonge kinderen uit de buurt. |
| Het apparaat niet verplaatsen tijdens gebruik. |
| Na gebruik de gastoevoer aan de gasfles afzetten. |
| Elke wijziging van het apparaat kan gevaarlijk zijn. |
| Onderdelen verzegeld door de fabrikant mogen niet worden veranderd door de gebruiker. |
| Breng geen wijzigingen aan het apparaat. |
● DE TECHNISCHE SPECIFICATIES VAN UW BARBECUE VINDT U OP HET ZILVERKLEURIGE LABEL.
- DEZE GRILL IS GESCHIKT VOOR VLOEIBAAR PROPAAN /BUTAAN. GEBRUIK GEEN LEIDINGEN EN OF AANSLUITINGEN DIE BESTEMD ZIJN VOOR AARDGAS TENZIJ DE BARBECUE DAARVOOR IS AANGEPAST.
- OM VAN DE BARBECUE GEBRUIK TE KUNNEN MAKEN MOET EEN LPG GASFLES PROPAAN OF BUTAAN MET DRUKREGELAAR IN MB CONFORM DE GELDENDE STAATSWETGEVING AANGESCHAFT WORDEN.
● LAAT DE BARBECUE NIET BEDIENEN DOOR KINDEREN.
TOEGANKELIJKE ONDERDELEN KUNNEN ERG HEET WORDEN, HOUD KINDEREN OP AFSTAND.
● VERANDERINGEN AAN DEZE BARBECUE KUNNEN GEVAARLIJK BLIJKEN TE ZIJN.
• VERANDER DE REGELAAR OF GASTOEVOER NIET.
● VERPLAATS DE BARBECUE NIET TIJDENS GEBRUIK.
- CONTROLEER DE SLANG VOOR ELK GEBRUIK OP SCHEUREN, SLIJTAGE OF ANDERE SCHADE.
• STEEK DE GRILL NIET AAN INDIEN U GAS RUIKT.
● LAAT ONDERDELEN DIE AFGESLOTEN ZIJN DOOR DE FABRIKANT INTACT.
PLAATS DE GASTANK NAAST DE BARBECUE, NIET ONDER DE BARBECUE EN OOK NIET IN DE TROLLEY.
BEWAAR GEEN LEGE OF VOLLE RESERVEGASTANKS IN, ONDER OF IN DE NABIJHEID VAN DE BARBECUE.
- BEWAAR GEEN BENZINE OF ANDERE VLUCHTIGE BRANDBARE VLOEISTOFFEN IN DE BUURT VAN DE BARBECUE.
- HOUD DE GASSLANG EN ELEKTRICITEITSKABELS UIT DE BUURT VAN HETE OPPERVLAKKEN.
VOORKOM DRAAIING VAN DE GASSLANG.
- VERVANG DE SLANG INDIEN DEZE BESCHADIGD IS OF INDIEN NATIONALE VOORSCHIFTEN DIT VEREISEN.
• STEEK DE BARBECUE NIET AAN WANNEER DE KAP GESLOTEN IS.
● VLAMMEN DIENEN BLAUW VAN KLEUR TE ZIJN EN STABIEL TE BRANDEN, ZONDER GELE UITEINDEN.
LEUN NIET OVER HET BAK- OF ROOSTEROPPERVLAK WANNEER U DE BARBECUE AANSTEEKT.
- GEBRUIK ALLEEN BARBECUEGEREEDSCHAP EN ACCESSOIRES VAN GOEDE KWALITEIT.
● DRAAG DROGE STEVIGE OVENWANTEN TIJDENS HET BARBECUEN.
- DEK DE VLAMVERDELER /HET GRILLROOSTER /DE GRILLPLATEN OF DE GRILLBODEM NIET GEHEEL AF MET ALUMINIUMFOLIE OF ANDERSINS. DIT KAN DE LUCHTSTROOM ERNSTIG VERSTOREN EN/OF OVERMATIGE HITTE IN HET BRANDERGEBIED VEROORZAKEN.
- VERWIJDER ALLE VERPAKKINGSMATERIAAL EN BEVESTIGINGSBAND VAN DE GRILL EN DE BRANDERS ALVORENS DE BARBECUE IN GEBRUIK TE NEMEN.
- VET IS BRANDBAAR. LAAT HEET VET AFKOELEN VOOR U ER IETS MEE DOET. LAAT GEEN VET OPHOPEN IN DE LEKBAK OP DE BODEM VAN DE VUURBAK. MAAK DE LEKBAK REGELMATIG SCHOON (NA IEDERE 4-5 KEER GEBRUIK).
DRAAI ALLE BEDIENINGSKNOPPEN UIT EN VERZEKER U ERVAN DAT DE GRILL GOED AFGEKOELD IS VOOR U REINIGINGSMIDDELEN UIT SPUITBUSSEN OP OF ROND DE BARBECUE GEBRUIKT. DE CHEMISCHE STOFFEN IN SPUITBUSSEN KUNNEN IN DE NABIJHEID VAN HITTE, VLAM VATTEN OF CORROSIE VEROORZAKEN.
- GEBRUIK GEEN ONDERDELEN/ACCESSOIRES VAN ANDERE FABRIKANTEN INDIEN DEZE NIET NADRUKKELIJK DOOR PATTON WORDEN AANGERADEN. UW GARANTIE VERVALT INDIEN BLIJKT DAT U DERGELIJKE ONDERDELEN OF ACCESSOIRES HEEFT GEBRUIKT.
- DRAAI DE KRAAN VAN DE GASFLES NA ELK GEBRUIK DIRECT DICHT.
VEILIGHEID
- Gebruik deze barbecue nooit zonder drukregelaar.
- Indien geen drukregelaar is meegeleverd – passend voor het soort brandstof dat u gebruikt – neem dan contact op met uw lokale gasdistributeur voor een drukregelaar.
- De drukregelingen in het onderstaande schema dienen uitsluitend als richtlijn.
- Drukregelaar en gasslang moeten geschikt zijn voor vloeibaar Liquid Petrol Gas (LPG).
- Drukregelaar en gasslang moeten de bovengenoemde druk kunnen weerstaan.
- De gasslang mag niet langer zijn dan 1,5 meter.
- De flexibele gasslang wordt aangesloten op een adapter.
- Gebruik een passende slangklem om de slang aan de barbecue adapter vast te maken en voor de aansluiting slang/regelaar.
- Draai na montage van het geheel, het gas open en controleer de slang op lekkage.
Zie Controle op gaslekken. Zorg dat deze procedure uitgevoerd wordt in een goed geventileerde omgeving en uit de buurt van open vuur, vonken of een hittebron.
- Gebruik geen gedeukte of roestige LPG-tanks.

text_image
Aansluiting slang SlangIllustratie voor het aansluiten van de barbecue en gasslang

text_image
Gasfles Regelaar SlangIllustratie voor het aansluiten van de gasfles, drukregelaar en gasslang
ALGEMENE INFORMATIE
PLAATSING VAN UW BARBECUE
- Gebruik de barbecue uitsluitend buiten.
- Gebruik de barbecue niet in recreatievoertuigen.
- Zorg voor voldoende ventilatie en een vrije luchtstroom rond de barbecue voor een optimale verbranding.
CONTROLE OP GASLEKKEN
N.B.: Controleer niet op gaslekken in de nabijheid van open vuur.
Indien u gas ruikt, steek de barbecue dan niet aan, draai de kraan van de gasfles dicht en doof alle open vuur.
Controleer altijd voor het eerste gebruik op gaslekken, en aan het begin van een nieuw seizoen (of, elke keer na vervanging van de gasfles).
- Maak een zeepoplossing van een deel vloeibare zeep en een deel water.
- Draai de bedieningsknoppen op "OFF", draai vervolgens de gasfles open.
- Breng zeepoplossing aan op alle gasaansluitingen. Indien u bellen ziet betekent dit dat de aansluiting niet goed dichtgedraaid is. Draai ze dicht of repareer indien noodzakelijk.
- Indien u een gaslek vindt dat u niet kunt dichten, draai de kraan op de gasfles dicht, demonteer de gasslang en wend u tot uw leverancier voor advies.
BUTAAN OF PROPAAN?
U kunt beide soorten gas voor deze barbecue gebruiken. Het is belangrijk dat u de juiste regelaar gebruikt voor het type gas dat u koopt. Gasflesmaten tot 10 kg. worden aanbevolen.
- Draai de kraan van de gasfles na elk gebruik direct dicht.
-
Indien u de barbecue binnenshuis opbergt, demonteer dan de gasfles en berg deze buitenshuis op.
Bewaar de gasfles niet binnenshuis. -
Berg de gasfles op in staande positie.
- Houd de gasfles uit de buurt van overmatige hitte.
- Indien de gasfles vervangen dient te worden, doe dit dan uit de buurt van open vuur, vonken of hittebronnen.
ONDERHOUD
TEGENSTROOM
- Draai de kraan van de gasfles dicht en draai de bedieningsknop van de brander naar "OFF". Wacht tot de barbecue is afgekoeld en maak dan de branders en gasaanvoer openingen schoon.
REINIGING VAN DE ROOSTERS, GRILLPLATEN/HOTPLATE
- Draai de knop van de gasfles dicht.
- Laat de roosters, grillplaten/hotplate eerst afkoelen. Maak ze met een kunststof schuursponsje en een sopje goed schoon, dat gaat het beste als u ze eerst een nachtje in een bak met warm water met wat Bio-tex of soda heeft laten weken. Droog alles goed af alvorens ze terug te plaatsen.
REINIGING VAN DE VLAMVERDELER
- Maak de vlamverdeler regelmatig schoon in warm water met afwasmiddel of soda. Gebruik indien nodig staalwol om hardnekkig aangekoekte of verbrande resten te verwijderen. Droog de vlamverdeler goed af alvorens deze terug te plaatsen.
REINIGING VAN DE LEKBAK
- Laat de inhoud van de lekbak afkoelen alvorens deze te legen en maak de lekbak met een zachte borstel en een mild reinigingsmiddel (soda) en warmwater schoon. Spoelen droog de onderdelen grondig af. Door een laagje aluminium folie in de lekbak te leggen kunt u het vet en residu het eenvoudigst verwijderen.
JAARLIJKSE SCHOONMAAK VAN DE BARBECUE
Indien u de roosters en de grillplaat/hotplate gedurende en na elk gebruik, bij voorkeur met een messing borstel, schoon houdt, dan staat uw barbecue altijd klaar voor gebruik. Onderwerp de gehele barbecue eens per jaar aan een grondige schoonmaakbeurt.
BINNENWERK
- Draai de bedieningsknop van de brander naar "OFF", draai de knop van de gasfles dicht en demonteer de slang/drukregelaar van de barbecue.
- Verwijder de grillplaat/hotplate, roosters, vlamverdelers en branders. Dek de openingen van de gasaanvoer af met aluminiumfolie. Borstel de binnen- en buitenkant van de barbecue af met een zachte/messing borstel. Maak de grillplaat/hotplate, roosters en vlamverdelers van de barbecue met een kunststof schuursponsje en een sopje goed schoon, dat gaat het beste als u ze eerst een nachtje in een bak met warm water met wat Bio-tex of soda heeft laten weken. De vetopvangbak en de binnenzijde van de barbecue maakt u het beste schoon met een zachte borstel en een mild reinigingsmiddel (soda) en warmwater. Spoel- en droog de onderdelen grondig af. Werk eventuele beschadigde lak bij. Emaille kunt u bijwerken met een hittebestendige lak. Vet de grillplaat/hotplate, roosters, rondom, goed in met wat olie.
- Verwijder het aluminiumfolie van de openingen en controleer of de openingen niet verstopt zijn. Indien de openingen verstopt zijn, prik ze dan door met een rechtgebogen paperclip. Gebruik nooit een houten satéprikker daar deze kan breken waardoor de openingen verstopt kan raken.
- Plaats de branders en andere onderdelen terug.
- Controleer de ontsteking, stel deze af, indien noodzakelijk.
- Sluit de gasslang weer aan en test de ontsteking.
- Draai het rooster, de pakplaat en de vlamverdelers in de winter in een krant en zet ze op een droge plaats weg.
Als u ze terug in de barbecue geplaatst heeft zet de barbecue dan voor gebruik, met de kap dicht, met maximaal twee branders op de middelste stand ± 10 minuten aan. Hierdoor brand de olie goed in en zijn ze goed beschermd en weer klaar voor gebruik.
- Het beste kunt u de barbecue in de herfst - en wintermaanden binnen zetten zonder hoes. Als dit niet tot de mogelijkheden behoort, zet dan de barbecue op een beschutte plaats in de tuin afgedekt met een hoes. Haal de hoes er gedurende de winter, bij open weer, enkele keren af dat reduceert het vocht.
- Goed en regelmatig onderhoud houdt uw barbecue in topconditie en verlengt de levensduur van uw barbecue.
ROESTVRIJ STAAL
- Deze barbecue is gemaakt van roestvrij staal in combinatie met staal dat deels voorzien is van een poeder coating en deels van een porseleincoating of emaillelaag. Er zijn een groot aantal reinigingsmiddelen voor (roestvrij) staal in de handel verkrijgbaar. Begin altijd met de mildste reinigingsmethode.
- Zichtbare krassen in het roestvrij staal kunt u bijwerken met een licht schurend, extra fijn polijstmiddel of schuurpapier met zeer fijne korrel. Vetspatten kunnen aankoeken op het roestvrijstalen oppervlak. Dit soort vlekken kan sterk op roest lijken. Gebruik een schuurspons met een reinigingsmiddel voor roestvrij staal om dit soort vlekken te verwijderen.
SPINNEN EN INSECTEN KUNNEN SPINNENWEBBEN OF NESTEN MAKEN IN DE (OPENINGEN VAN DE) BRANDER(S), DE BUIZEN OF SLANGEN. DEZE KUNNEN DE GASSTROMING BELEMMEREN EN BRAND VEROORZAKEN. DIT VERSCHIJNSEL STAAT BEKEND ALS "TEGENSTROOM" (ZIE BOVEN) EN KAN UW BARBECUE ERNSTIG BESCHADIGEN EN EEN ONVEILIGE VERBRANDING VEROORZAKEN. REGELMATIGE CONTROLE EN REINIGING VAN DE (OPENINGEN VAN DE) BRANDERS, DE SLANGEN EN BUIZEN WORDT AANBEVOLEN.
GEBRUIK VAN DE BRANDER EN CONTROLE VAN DE ONTSTEKING
OPEN DE KAP VOOR U DE BARBECUE AANSTEEKT.
- Draai de bedieningsknoppen naar "Off", en open de gasafsluiter op de gasfles.
- Indien u de barbecue voor het eerst monteert, zijn de gasleidingen gevuld met lucht. De leidingen dienen gevuld te worden met gas. Het kan enkele pogingen duren voor de gasleidingen met gas gevuld zijn.
- Druk de bedieningsknop in en draai deze naar de hoogste stand "HI". Druk tegelijkertijd de knop voor de elektronische ontsteking in. Laat de ontsteking los als de brander brandt. Indien de barbecue een ontsteking in de bedieningsknop heeft ontsteek dan door de bedieningsknop te draaien.
- Indien de brander niet aan gaat, draai dan de gastoevoer op de gasfles dicht en herhaal de procedure tot stap 3, twee tot drie keer.
- Indien de brander nog altijd niet aan gaat na stap 4, DRAAI DAN HET GAS DICHT en WACHT 5 MINUTEN voor u het nogmaals probeert of steek de barbecue aan met een lucifer.
- NB: Draai de bedieningsknoppen vóór elke controle naar "OFF".
- Indien de branders niet willen ontsteken, draai dan de knop van de gasfles dicht en controleer de leidingen op verstopping.
- Lees de veiligheids-, ontstekings- en bedieningsinstructies aandachtig door.
- Controleer de openingen van de gasafsluiter, de branderleidingen en de branders zelf op verstopping.
- Controleer of de branderleiding goed over de opening van de afsluiter heen is geschoven.
- Controleer of de gasfles vol is.
- Controleer op gaslekken met gebruikmaking van een zeepoplossing.
- Draai de bedieningsknoppen naar "OFF" en sluit de gastoevoer aan.
- Open de kap voor u de barbecue aansteekt.
BEDIENING VAN DE ZIJBRANDER
- Controleer de gasslang voor u het gas aansteekt. Indien er sprake is van scheuren, slijtage of schuurplekken dient de slang vervangen te worden voor u de barbecue in gebruik neemt. Gebruik de zijbrander niet indien u gas ruikt.
- Houd een spuitfles met zeephoudend water in de buurt van de gasafsluiter en controleer de aansluitingen voor gebruik.
- Open de kap voor u de barbecue aansteekt.
- Druk de bedieningsknop in en draai deze naar "HI"; druk tegelijkertijd de elektronische ontstekingsknop in. Indien de barbecue een ontsteking in de bedieningsknop heeft ontsteek dan door de bedieningsknop te draaien.
- Indien de ontsteker geen vonk produceert, gebruik dan een lucifer om de brander aan te steken.
- Gebruik wokken of pannen van minimaal 120mm en maximaal 200mm doorsnede. Bij gebruik van grotere pannen kan de toplaag verkleuren.
EERSTE GEBRUIK, VERBRANDEN VAN VET EN OLIE
Brand voor het eerste gebruik oliën en vetten die gebruikt zijn bij de fabricage van uw barbecue van de grill/plaat/pan.
- Open de kap, steek de branders aan en laat deze gedurende 10-15 minuten op hoog vuur "HI" branden.
- Draai de knoppen dicht, laat de barbecue afkoelen en maak de barbecue schoon met een sopje en schuurspons. Daarna goed droogmaken.
BELANGRIJK: Gebruik nooit alle branders tegelijk op "HI" indien u kookt met gesloten kap.
- Gebruik alleen branders zoals aangegeven in de tekening indien u met gesloten kap bereidt.
- Open altijd eerst de kap voor u de barbecue aansteekt.
- Plaats de vlamverdeler, grillplaat of pan op de centrale branders.
Sluit de kap en draai de bedieningsknoppen naar "LO". - Houdt een temperatuur van maximaal 200° C aan.
- Als u wilt bakken, plaats het gerecht dan in het midden van de oven, bijvoorbeeld door het op een omgekeerd bakblik te plaatsen.
- Controleer de voortgang van het bakproces regelmatig.
- Niet roken tijdens het controleren van uw barbecue!
- Draai de gastoevoer dicht, draai de bedieningsknoppen naar "OFF".
- Wacht vijf minuten voor u het nogmaals probeert.
- Controleer de gastoevoer/ -aansluitingen.
- Herhaal de aansteekprocedure en, indien de barbecue nog steeds niet wil werken, DRAAI DAN DE GASTOEVOER DICHT, DRAAI DE BEDIENINGSKNOPPEN NAAR "OFF".
Wacht tot de barbecue is afgekoeld en controleer het volgende:
a) Aansluiting van de leidingen van de brander op openingen.
CORRECTIE: Schuif de leiding van de brander goed over de opening.
Sluit de gastoevoer af (draai de knop op de gasfles dicht) en verbind de slang met de barbecue.
c) Verstopte opening
CORRECTIE: Haal alle losse onderdelen uit het binnenwerk van de barbecue. Schroef de branders los / verwijder de splitpen onderaan de voet van de brander met gebruikmaking van een schroevendraaier of tang. Til elke brander van de gasopening, verwijder de verstopping met een fijne naald.
Plaats de branders terug op de openingen en bevestig de brandervoet op de beugel op de bodem van de barbecue. Plaats de losse onderdelen terug.
d) Aansluiting van ontsteker op brander.
CORRECTIE: Het uiteinde van de elektrode moet wijzen naar de brander/verzameldoos. Het gat tussen de vonkelektrode en het uiteinde van de brander/verzameldoos moet ca. 3-5 mm zijn. Afstellen indien noodzakelijk door voorzichtig buigen.
Indien het nodig is te ontsteken terwijl de barbecue nog heet is, wacht dan tenminste vijf minuten alvorens de barbecue aan te steken. (Dit geeft gaslucht gelegenheid weg te trekken).
Indien alle controles/correcties zijn uitgevoerd en uw barbecue wil nog steeds niet naar behoren werken, raadpleeg dan uw verkoper of gasinstallateur.
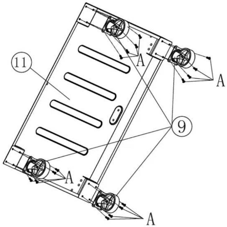
Montagehandleiding voor de Patio Chef 2+1 / Patio Chef 3+1

- Afbeelding van afzonderlijke onderdelen van de Patio Chef 3+1 (gelijk aan de Patio Chef 2+1)

Zorg voor de juiste montage van het gehele barbecue. Een gedetailleerde montagehandleiding vindt U in deze handleiding. Om het toestel juist en correct in elkaar te zetten, dient men zich aan deze handleiding te houden.
Waarschuwing: Hoewel we ons best doen om de montage zo gemakkelijk mogelijk te maken, dient men toch voorzichtig om te gaan met stalen prefabricaten, in het bijzonder met de kanten die verwondingen kunnen veroorzaken. Wees dus voorzichtig en gebruik bij voorkeur beschermingshandschoenen.
1、A\*16

WAARSCHUWING: De handgreep wordt tijdens het gebruik van de barbecue op gemarkeerde plaatsen (zie de tekening bovenaan) heet. Blijf voorzichtig en raak de gemarkeerde plaatsen niet aan.
Aansteken van de vlam
Bij alle gasregelaars in de „OFF“-positie: Draai de gaskraan voor de gasdrukregelaar op de gasfles open. Om een vonk te maken, druk de A-knop en hou hem ingedrukt gedurende 3-5 seconden om de gas te laten stromen. Draai de knop vervolgens naar links, naar de „HIGH“-positie (B). Zo kan een vonk bij de aanstekingspijp (C) ontstaan. Er ontstaat een karakteristiek geluid en er komt een oranje vonk van 6-10 cm van de pijp links van de brander (D).
Houd de knop van de brander na het geluid nog ca. 2 seconden gedrukt; dit laat de gas naar de branderpijp (E) komen zorgt voor een correcte vlam. Als er een brander brandt dan gaan de andere, opvolgende, branders ook aan wanneer de bijbekorende knoppen op "HIGH" worden gedraaid. In de „HIGH"-positie dient de vonk aan de brander ca. 12- 20 mm lang zijn, oranje van kleur. Om het vuur op minimum te zetten, draai de knop helemaal naar links.
Indien het vuur niet correct brandt ondanks het feit dat alle handelingen correct zijn uitgevoerd, neem dan contact op met uw leverancier.

WAARSCHUWING: Als de brander nog altijd niet brandt, draai de knop in de „OFF“- positie en wacht 5 minuten voordat u opnieuw begint om de juiste start condities met het gas te creëren.

SimpelGids