BBQ Patio Chef 4+ - Barbecue Patton - Manuale utente e istruzioni gratuiti
Trova gratuitamente il manuale del dispositivo BBQ Patio Chef 4+ Patton in formato PDF.
| Caratteristiche tecniche | Barbecue a gas con 4 bruciatori, superficie di cottura di 2400 cm8, potenza totale di 12 kW. |
|---|---|
| Dimensioni | Dimensioni totali: 145 x 60 x 115 cm, peso: 50 kg. |
| Materiali | Acciaio inossidabile, griglie in ghisa smaltata. |
| Utilizzo | Ideale per la cottura di carni, verdure e pesce, con accensione elettronica. |
| Manutenzione | Pulizia regolare delle griglie, svuotamento del vassoio raccogli grasso, protezione contro gli agenti atmosferici. |
| Sicurezza | Dotato di dispositivi di sicurezza per evitare perdite di gas, coperchio con blocco. |
| Accessori inclusi | Termometro integrato, plancha, utensili per barbecue. |
| Garanzia | 2 anni sulle parti, 5 anni sulla vasca. |
Domande frequenti - BBQ Patio Chef 4+ Patton
Domande degli utenti su BBQ Patio Chef 4+ Patton
0 domanda su questo apparecchio. Rispondi a quelle che conosci o fai la tua.
Fai una nuova domanda su questo apparecchio
Scarica le istruzioni per il tuo Barbecue in formato PDF gratuitamente! Trova il tuo manuale BBQ Patio Chef 4+ - Patton e riprendi in mano il tuo dispositivo elettronico. In questa pagina sono pubblicati tutti i documenti necessari per l'utilizzo del tuo dispositivo. BBQ Patio Chef 4+ del marchio Patton.
MANUALE UTENTE BBQ Patio Chef 4+ Patton
PATTON
1. Datti tecnici
| Prodotto | Patio Chef 2+-burner | CE 0063-14 | |||
| Numero del prodotto | 54GCPR201 | ||||
| Numero d indentificazione del prodotto | 0063CN7292 | ||||
| Consumazione totale di gas Qn | 8.4 kW (610 g/h) | ||||
| Categoria di gas | I_3+(28-30/37) | I_3B/P(30) | I_3B/P(50) | I_3B/P(37) | |
| Tipo di gas | Butano Propano | Butano/Propano | Butano/Propano Butano/Propano | Butano/Propano | |
| Pressione del gas | 28 - 30 mbar 37 | mbar | 30 mbar 50 mbar | 37 mbar | |
| Dimm. Uscita gas | 0.86 mm | 0.86 mm | 0.76 mm 0.82 mm | ||
| Dimm. Uscita gas brucciatore laterale | 0.75 mm | 0.75 mm | 0.65 mm 0.65 mm | ||
| Paese di destinazione | BE, CH, CY, CZ, ES, FR, GB, GR, IE, IT, LT, LU, LV, PT, SK, e SI. | BE, CY, DK, EE, FI, HU, LT, NL, NO, SE, SI, SK, RO, HR,TR, BG,LU e MT. | AT, CH, DE e SK | PL | |
| Prodotto | Patio Chef 3+-burner | CE 0063-14 | |||
| Numero del prodotto | 54GCPR511 | ||||
| Numero d indentificazione del prodotto | 0063CN7292 | ||||
| Consumazione totale di gas Qn | 11.4 kW (829 g/h) | ||||
| Categoria di gas | I_3+(28-30/37) | I_3B/P(30) | I_3B/P(50) | I_3B/P(37) | |
| Tipo di gas | Butano Propano | Butano/Propano | Butano/Propano Butano/Propano | Butano/Propano | |
| Pressione del gas | 28 - 30 mbar 37 | mbar | 30 mbar 50 mbar | 37 mbar | |
| Dimm. Uscita gas | 0.86 mm | 0.86 mm | 0.76 mm 0.82 mm | ||
| Dimm. Uscita gas brucciatore laterale | 0.75 mm | 0.75 mm | 0.65 mm 0.65 mm | ||
| Paese di destinazione | BE, CH, CY, CZ, ES, FR, GB, GR, IE, IT, LT, LU, LV, PT, SK, e SI. | BE, CY, DK, EE, FI, HU, LT, NL, NO, SE, SI, SK, RO, HR,TR, BG,LU e MT. | AT, CH, DE e SK | PL | |
| Da utilizzare solo all aria aperta. |
| Prima della messa in servizio leggere attentamente la modalita d uso. |
| Attenzione :le parti accessibili possono essere molt calde. Non ammetere i bambini vicino all apparecchio. |
| Non spostare l'apparecchio durante l'uso. |
| Spegnere l'alimentazione del gas alla bombola del gas dopo l'uso. |
| Qualsiasi modifica dell'apparecchio può essere pericoloso. |
| Parti sigillate dal costruttore o dal suo agente non deve essere modificata dall'utente. |
| Non modificare l'apparecchio. |
- LE SPECIFICHE DI QUESTO BARBECUE SI TROVANO SULL'ETICHETTA, SUL RETRO DEL PANNELLO FRONTALE.
- QUESTA E' UNA GRIGLIA CONFIGURATA PER PROPANO/BUTANO LIQUIDO. NON UTILIZZARE GAS NATURALE A MENO CHE LA GRIGLIA NON SIA STATA PREDISPOSTA PER L'UTILIZZO DI GAS NATURALE.
● NON PERMETTERE A BAMBINI DI UTIIZZARE IL BARBECUE.
- LE PARTI ACCESSIBILI POSSONO RAGGIUNGERE TEMPERATURE ELEVATE, TENERE FUORI DALLA PORTATA DEI BAMBINI.
- OGNI MODIFICA A QUESTO BARBECUE PUO' ESSERE PERICOLOSA.
- NON ALTERARE O MODIFICARE IL REGOLATORE DEL GAS E LE SUE PARTI.
• NON MUOVERE IL BARBECUE DURANTE L'USO.
- ISPEZIONARE VISIVAMENTE IL TUBO FLESSIBILE PRIMA DI OGNI USO IN CASO DI TAGLI, SCREPOLATURE, USO ECCESSIVO O ALTRI DANNI.
- NON TENTARE DI ACCENDERE LA GRIGLIA IN PRESENZA DI ODORE DI GAS.
- LE PARTI SIGILLATE DAL PRODUTTORE O DAL LORO RIVENDITORE NON DOVREBBERO ESSERE MANEGGIATE DALL'UTENTE.
- POSIZIONARE IL SERBATOIO VICINO AL BBQ, NON SOTTO IL BBQ NÉ NEL CARRELLO DEL BBQ
● NON TENERE LE BOMBOLE PER GAS DI RICAMBIO VUOTE O PIENE DENTRO, SOTTO O VICINO AL BBQ.
NON IMMAGAZZINARE O USARE BENZINA O ALTRI LIQUIDI INFIAMMABILI NELLE VICINANZE DEL BBQ.
- MANTENERE IL TUBO FLESSIBILE DEL GAS E IL CAVO ELETTRICO LONTANO DALLE SUPERFICI CALDE. EVITARE DI CONTORCERE IL TUBO FLESSIBILE DEL GAS.
- IL TUBO FLESSIBILE DEVE ESSERE SOSTITUITO SE DANNEGGIATO E QUANDO LE NORME DI LEGGE LO RICHIEDONO.
• NON ACCENDERE CON IL COPERCHIO CHIUSO.
LE FIAMME DOVREBBERO ESSERE STABILI, DI COLORE BLU E SENZA PUNTE DI COLORE GIALLO.
- NON SPORGERSI SUL FOCOLARE DURANTE L'ACCENSIONE DEL BARBECUE.
• UTILIZZARE ACCESSORI DI BUONA QUALITA'.
INDOSSARE GUANTI DA FORNO ASCIUTTI DURANTE L'UTILIZZO DEL BARBECUE.
NON COPRIRE LE PIASTRE, IL REGOLATORE DI FIAMMA, LA GRIGLIA O LA PARTE INFERIORE DELLA GRIGLIA CON CARTA DI ALLUMINIO. QUESTO PUO' SEVERAMENTE IMPEDIRE IL FLUSSO D'ARIA O INTRAPPOLARE CALORE ECCESSIVO NELL'AREA DI CONTROLLO.
- ASSICURARSI DI AVER RIMOSSO L'INVOLUCRO DI OGNI PARTE DELLA GRIGLIA, INCLUSE LE CINGHIE DEL BRUCIATORE.
- IL GRASSO È INFIAMMABILE. LASCIARE RAFFREDDARE IL GRASSO CALDO PRIMA DELLA SUA RIMOZIONE. NON LASCIARE CHE IL GRASSO SI DEPOSITI NEL VASSOIO NELLA PARTE INFERIORE DEL FIREBOX DELLA GRIGLIA. PULIRE IL VASSOIO PER IL GRASSO FREQUENTEMENTE (OGNI 4-5 UTILIZZI).
- SPEGNERE TUTTI I PULSANTI DI COMANDO ED ACCERTARSI CHE LA GRIGLIA SIA FREDDA PRIMA DI USARE QUALSIASI TIPO DI SOSTANZA PULITRICE SULLA GRIGLIA O INTORNO AD ESSA. IL PRODOTTO CHIMICO CHE PRODUCE AZIONE SPRUZZANTE POTREBBE, IN PRESENZA DI CALORE, INFIAMMARI SIO INDURRE CORROSIONE DELLE PARTI METALLICHE.
- NON UTILIZZARE MAI ACCESSORI PRODOTTI DA ALTRI FORNITORI O PARTI CHE NON SONO SPECIFICATAMENTE RACCOMANDATE DA PATTON. LA VOSTRA GARANZIA DIVENTERÀ NON VALIDA SE TALI ACCESSORI O PARTI SONO STATI USATI.
- INTERROMPERE L'APPROVVIGIONAMENTO DI GAS DALLA BOMBOLA QUANDO AVETE TERMINATO DI USARE IL BARBECUE.
INFORMAZIONI DI SICUREZZA
- Non utilizzare mai questo BBQ senza un regolatore di pressione.
- Se il regolatore non è fornito con il vostro barbecue – a seconda di quale gas decidete di usare – rivolgetevi al vostro rivenditore locale di gas per un regolatore.
- La seguente tabella e' solo una guida.
ASSEMBLAGGIO DEL TUBO FLESSIBILE E DEL REGOLATORE
- Deve essere adatto per butano o propano (GPL).
- Deve sostenere le pressioni sopraindicate.
- Non deve eccedere 1.5 m di lunghezza.
- Il tubo flessibile deve essere collegato ad un adattatore.
- Utilizzare una clip o un fermo per collegare il tubo flessibile all'adattatore del BBQ, per assicurare la connessione tra tubo e regolatore.
- Dopo che il tubo e' collegato, accendere il gas e controllare se ci sono perdite. Vedi: Controllo Perdite Di Gas. Assicurarsi di effettuare questa procedura in una zona ben arieggiata e mai in presenza di una fiamma, una scintilla o una fonte di calore.
- Non usare mai una bombola di gas ammaccata o arrugginita.

text_image
Raccordo del tubo TuboIllustrazione per collegare il tubo di barbecue e gas

text_image
Bombola di gas Regolatore TuboIllustrazione per collegare il tubo bombola del gas, regolatore e gas
INFORMAZIONI GENERALI
COLLOCAZIONE DEL VOSTRO BBQ
- Questo apparecchio deve essere utilizzato esclusivamente all'aria aperta.
- Non usare questo barbecue all'interno di veicoli o caravan.
- Non ostruire il flusso di combustione e di ventilazione intorno al BBQ.
CONTROLLO PERDITE DI GAS
NOTA: Non controllare mai per perdite in presenza di una fiamma. In presenza di odore di gas, non cercare di accendere il BBQ, richiudere il rubinetto della bombola ed estinguire eventuali fiamme.
Il controllo per fughe di gas deve essere effettuato prima del primo utilizzo ed all'inizio di ogni nuova stagione (oppure ogni volta che la bombola viene sostituita).
- Creare una soluzione di acqua saponata (50% acqua, 50% sapone liquido).
- Assicurarsi che le manopole di regolazione siano su OFF, quindi aprire il rubinetto della bombola.
- Applicare l'acqua saponata a tutti i collegamenti del gas. Il formarsi di bollicine nella soluzione indica fuga di gas e che i collegamenti non sono sigillati correttamente. Stringere o riparare se necessario.
- In caso di una fuga di gas che non puo' essere riparata, chiudere il rubinetto della bombola, disconnettere il tubo flessibile e consultare il vostro rivenditore.
BUTANO O PROPANO?
Ci sono due tipi differenti di gas che possono essere usati sul vostro BBQ. È importante che venga utilizzato il regolatore corretto per il tipo di gas acquistato. Si consiglia di utilizzare bombole fino a un massimo di 10 kg.
SICUREZZA DELLA BOMBOLA GAS
• Chiudere il rubinetto della bombola dopo ogni uso.
Se immagazzinate il barbecue all'interno, disconnettere la bombola ed immagazzinarla all'aperto. Non tenere mai la
bombola di gas all'interno.
- Mantenere la bombola in posizione eretta.
- Non sottoporre la bombola a calore eccessivo.
- Tenere la bombola lontano da fiamme, scintille e fonti di calore.
PULIZIA E MANUTENZIONE
PULITURA DELL'APPARECCHIO
- Chiudere il rubinetto della bombola e posizionare le monopole di regolazione su "OFF".Aspettare che si raffreddi e poi pulire il bruciatore e I tubi.
PULITURA DELLA GRIGLIA
- Chiudere il rubinetto della bombola. Attendere che le griglie si siano raffreddate prima di lavarle con aqua tiepida e detersivo. Utilizzare un panno, una spugna o una paglietta inumidita.
PULITURA DEL FORNELLO
- Lavare e pulire i fori periodicamente con acqua tiepida e detersivo. Utilizzare una spazzola metallica per rimuovere residui di grasso se necessario. Asciugare bene prima di re-inserire nel corpo dell'apparecchio.
PULITURA DELLA VASCHETTA PER GRASSO
- Lasciare che il grasso si raffreddi prima di svuotare e lavare con liquido detergente.
PULITURA ANNUALE DEL BBQ
La pulitura della griglia e della piastra calda dopo ogni uso le mantengono pronte per uso istantaneo. Una volta all'anno, dare all'intero BBQ una pulizia completa.
INTERNO
- Posizionare le manopole di regolazione su "OFF", chiudere il rubinetto della bombola così' interrompendo il flusso di gas.
- Rimuovere il tubo flessibile/regolatore dal BBQ.
- Rimuovere e pulire le piastre, i fornelli ed i bruciatori
- Coprire gli orifizii del rubinetto con carta di alluminio.
- Spazzolare la parte interna e la parte inferiore del corpo del BBQ con una spazzola metallica d'ottone. Lavare con sapone delicato e acqua calda. Risciacquare completamente e asciugare.
- Rimuovere la carta di alluminio e controllare che non ci siano ostruzioni. Eliminare gli orifizii bloccati con un fermaglio da carta raddrizzato. Non usare mai uno stuzzicadenti di legno. Potrebbe rompersi e bloccare l'orificio.
- Controllare l'elettrodo della scintilla, regolare se necessario.
- Sostituire i bruciatori ed altri componenti.
- Ricollegare il tubo flessibile e testare l'accensione.
- La cura adeguata e la manutenzione manterranno il vostro BBQ in ottimo stato molto piu' a lungo.
- Immagazzinare l'apparecchio in un luogo asciutto.
- Questo barbecue e' costruito in acciaio rivestito in struttura e parzialmente rivestito in ceramica. Ci sono molti prodotti disponibili per la pulizia. Utilizzare sempre un prodotto delicato.
- Per ritoccare in caso di graffi notevoli sull'acciaio, utilizzare carta smerigliata molto fine e asciutta.
- Spruzzi di grasso possono accumularsi ed incrostarsi sulle superfici di acciaio, dando l'apparenza di ruggine. Per rimuoverli, utilizzare una spugnetta abrasiva con un prodotto adatto alla pulizia dell'acciaio.
RAGNI E INSETTI OCCASIONALMENTE POSSONO FILARE RAGNATELE O COSTRUIRE NIDI NEI TUBI DEL BRUCIATORE. QUESTI POSSONO OSTRUIRE IL FLUSSO DEL GAS CHE PUÒ CAUSARE INCENDI.
CIÒ È CONOSCIUTO COME “BACKLASH” E PUÒ DANNEGGIARE IL BBQ E GENERARE UNO STATO DI FUNZIONAMENTO PERICOLOSO.
FREQUENTI CONTROLLI E PULIZIA DEI TUBI DEL BRUCIATORE SONO CONSIGLIATI.
CONTROLLO DEL BRUCIATORE E PROVA DI ACCENSIONE
APRIRE SEMPRE IL COPERCHIO PRIMA DI ACCENDERE L'APPARECCHIO.
- Con le manopole di regolazione del bruciatore (A) nella posizione di "off", aprire il rubinetto della bombola del gas.
- Dopo il montaggio, le condotture ed i bruciatori saranno pieni d'aria. Le linee devono riempirsi di gas. Parecchi tentativi possono essere necessari prima che le linee si siano riempite.
- Spingere e girare la manopola di regolazione nella posizione "HI" e simultaneamente premere il pulsante per l'accensione (B). Rilasciare il pulsante dopo che il bruciatore e'acceso.
- Se il bruciatore non si accende, spegnere l'apparecchio e ripetere il punto 3, fino a 2 o 3 volte.
- Se il bruciatore non si accende dopo il punto 4, SPEGNERE IL GAS ed ATTENDERE 5 MINUTI prima di tentare nuovamente oppure utilizzare un flammifero.
- NOTA: Controllare che le altre monopole di regolazione del bruciatore siano nella posizione "off" ad ogni tentativo.
- Se i bruciatori non si accendono, chiudere il rubinetto del gas. Controllare che non ci siano ostruzioni.
PRIMO UTILIZZO/ USO DOPO LUNGHI PERIODI – INIZIO DI STAGIONE
- Leggere con attenzione le istruzioni per l'accensione, il funzionamento e le norme di sicurezza.
- Controllare gli orifizii del rubinetto del gas, i tubi del bruciatore ed i fori del bruciatore in caso di ostruzione.
- Controllare che il tubo del bruciatore sia posizionato correttamente sopra l'orifizio della valvola.
- Controllare che la bombola sia piena.
- Controllare che non ci siano fughe di gas usando acqua saponata.
- Posizionare i comandi del bruciatore su "OFF" e completare il collegamento.
- Aprire il coperchio prima di accendere.
MODO DI UTILIZZAZIONE BRUCIATORE LATERALE
- Controllare il tubo flessibile dell'approvvigionamento di gas prima dell'accensione. In presenza di tagli o screpolature, sostituire prima dell'uso. Non utilizzare il bruciatore laterale se sentite odore dl gas.
- Tenere una bottiglia d'acqua saponata a portata di mano e controllare i collegamenti prima di ogni uso.
- Il coperchio deve essere aperto prima dell'accensione.
- Spingere e girare la manopola di regolazione di questo bruciatore sulla posizione “HI” simultaneamente spingendo il tasto elettronico dell'accensione.
Se la candela non riesce a produrre una scintilla, usare un fiammifero per accendere il bruciatore. - Utilizzare un wok o una padella fino a 200 mm di diametro e con un diametro minimo di 120 mm. Pentole piu' grandi possono provocare lo sbiadimento delle superfici.
BRUCIATURA OLII RESIDUI
Prima della cottura sul vostro BBQ per la prima volta, assicurarsi di bruciare olii residui ed eliminare sostanze estranee dal grill/piastra/padella.
- Con il coperchio completamente aperto, portare i bruciatori su "HI" per circa 10-15 minuti.
- Spegnere, lasciare che si raffreddi, quindi lavare con acqua saponata ed una spazzola. Asciugare con un panno.
CUCINARE CON IL COPERCHIO CHIUSO
IMPORTANTE: Non utilizzare mai tutti i bruciatori su "HI" quando cucinate con il coperchio chiuso.
- Utilizzare i bruciatori solo come indicato nello schema quando cucinate con il coperchio chiuso.
-
Posizionare la piastra della griglia o pentola di cottura sopra i bruciatori centrali. Chiudere il coperchio e regolare i bruciatori al MINIMO, "LO".
-
Aprire sempre il coperchio prima di accendere.
- Controllare periodicamente il progresso.
SE IL BBQ NON FUNZIONA CORRETTAMENTE
• Non fumare durante il controllo!
- Chiudere il gas alla fonte, posizionare la manopola del bruciatore su "OFF".
- Attendere cinque minuti prima di riprovare.
- Controllare i collegamenti del gas.
- Ripetere la procedura di accensione e, se il BBQ ancora non riesce a funzionare correttamente, CHIUDERE IL RUBINETTO DEL GAS, POSIZIONARE I CONTROLLI DEL BBQ SU "OFF". Aspettare che il BBQ si raffreddi e controllare quanto segue:
a) Cattivo allineamento del tubo/i del bruciatore e orifizio/i
CORREZIONE: Riposizionare il tubo del bruciatore correttamente sopra l'orifizio.
b) Ostruzione nella linea del gas.
CORREZIONE: Rimuovere il tubo flessibile dal BBQ. Aprire il rubinetto del gas per un secondo per eliminare
l'osstruzione dal tubo flessibile. Chiudere il rubinetto del gas e ricollegare il tubo flessibile all'apparecchio.
c) Ostruzione di un orifizio.
CORREZIONE: Rimuovere le parti all'interno del corpo del BBQ. Rimuovere i bruciatori tirando lo spinotto sotto al "piede" del bruciatore per mezzo di un cacciavite o di pinzette. Sollevare ogni bruciatore dall'orifizio della valvola del gas, e rimuovere l'ostruzione con un cavo sottile. Reinstallare i bruciatori sopra gli orifizii e mettere ogni "piede" nel supporto di attacco in basso al corpo del BBQ. Sostituire gli spinotti. Sostituire i componenti di cottura.
d) Cattivo allineamento della candela di accensione.
CORREZIONE: La punta dell'elettrodo dovrebbe puntare verso il collettore. La distanza fra l'elettrodo della scintilla e la punta del collettore dovrebbe essere di 3-5 millimetri. Regolare se necessario piegando con attenzione.
Se la riaccensione è necessaria mentre il BBQ è ancora caldo, aspettare per almeno cinque minuti prima di riaccendere. (questo permette al gas accumulato di venire liberato).
Se tutti i controlli/correzioni sono stati eseguiti ed il BBQ ancora non funziona correttamente, rivolgersi al vostro rivendi- tore ed al servizio assistenza.
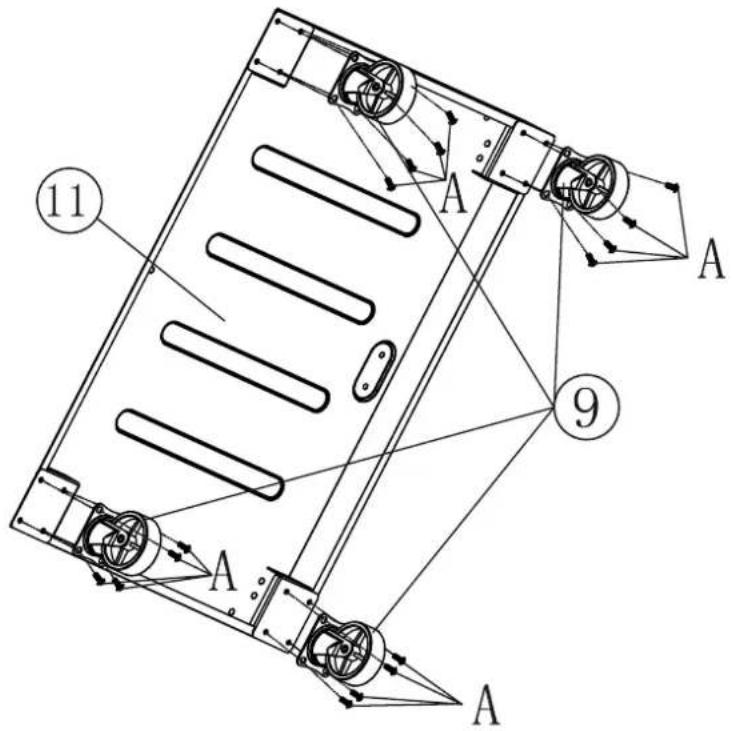
Istruzioni per l'installazione Patio Chef 2+1 / Patio Chef 3+1

- Immagine di singoli componenti del Patio Chef 3+1 (è uguale alla Patio Chef 2+1)

Assicurarsi che il Grill è montato correttamente. Le istruzioni dettagliate sono incluse in ogni manuale. Per montare il dispositivo in modo corretto, seguire queste istruzioni.
Avvertezza: Noi^propogniamo tutti i provvedimenti necessari per l'installazione più semplice possibile. Tuttavia si consiglia di non usare più le parti metalliche, compresi le parti integrate nel spigoli vivi che possono causare lesioni. Si raccomanda di fare attenzione e utilizzare guanti protettivi.
1、A\*16

La maniglia della griglia in servizio puo ragiungere una temperatura elevata, per cui si consiglia vivamente di non toccare i punti indicati nel disegno di cui sopra.
Accensione la fiamma
Tutti i pulsanti regolatori di gas devono essere in posizione "OFF". Aprendo la valvola del regolatore di pressione sulla bombola. Per causare una scintilla, premere l'interruttore A mantenerlo in questa posizione per 3-5 secondi per consentire il flusso di gas. Quindi ruotare la manopola verso sinistra fino alla posizione "HIGH" (B). Compare una scintilla nel tubo bruciatore (C). Si può sentire un rumore di scoppio una fiamma arancione appare ad una distanza di 6-10 cm dal tubo sul lato sinistro del bruciatore. (D) Il suono udito, mantenere la manopola di controllo per altri 2 secondi, consentendo il passaggio del tubo bruciatore a gas (E) garantire la corretta accensione. Quando il bruciatore è acceso, i bruciatori vicino si accendono quando i bruciatori corrispondenti pulsanti si trasformano in posizione "HIGH".
Nella posizione "HIGH" la scintilla dovrebbe essere di 12 - 20 mm di lunghezza e di colore arancio. Per scegliere la potenza minima, ruotare la manopola del termostato verso sinistra. Se, dopo aver seguito tutte le procedure sopra descritte, l'illuminazione non è corretta, si prega di contattare il fornitore.

ATENZIONE
Se dopo aver eseguito tutte le procedure correttamente il fuoco non si accende correttamente, si prega di contattare il fornitore.

ManualeFacile