BUK360 - Motoculteur MAKITA - Notice d'utilisation et mode d'emploi gratuit
Retrouvez gratuitement la notice de l'appareil BUK360 MAKITA au format PDF.
| Caractéristiques Techniques | Détails |
|---|---|
| Type d'appareil | Scie à onglet sans fil |
| Tension de la batterie | 36 V |
| Diamètre de la lame | 260 mm |
| Vitesse à vide | 3 800 tr/min |
| Capacité de coupe à 90° | Max 91 mm |
| Poids | 25,5 kg |
| Dimensions | 700 x 650 x 600 mm |
| Utilisation | Idéale pour les coupes précises dans le bois, le plastique et d'autres matériaux similaires. |
| Maintenance | Nettoyage régulier des lames et des filtres, vérification des batteries. |
| Sécurité | Utiliser des lunettes de protection et des gants. Vérifier le bon fonctionnement des dispositifs de sécurité. |
| Informations Générales | Compatible avec les batteries Makita 36V, garantie constructeur de 3 ans. |
FOIRE AUX QUESTIONS - BUK360 MAKITA
Questions des utilisateurs sur BUK360 MAKITA
0 question sur cet appareil. Repondez a celles que vous connaissez ou posez la votre.
Poser une nouvelle question sur cet appareil
Téléchargez la notice de votre Motoculteur au format PDF gratuitement ! Retrouvez votre notice BUK360 - MAKITA et reprennez votre appareil électronique en main. Sur cette page sont publiés tous les documents nécessaires à l'utilisation de votre appareil BUK360 de la marque MAKITA.
MODE D'EMPLOI BUK360 MAKITA
GB Cordless Cultivator Instruction manual
F Motobineuse Sans Fil Manuel d'instructions
D Akku Kultivator Betriebsanleitung
I Sarchiatriceswana fili Istruzioni per l'uso
NL Accugrondfrees Gebruiksaanwijzing
E Cultivador Inalámbrico Manual de instructiones
P Motocultivador à Bateria Manual de instruções
DK Batteridreven kultivator Brugsanvisning
GR Σκαπτικό μήχάνημα μΠαταρίας Μθηγίες χρήσης
TR Akuli Kultivator Kullanim kilavuzu
BUK360
UK360D

012828


1 012872



2 012870 3 012840

4 011715 5 012932



6 0129337 012936


8 012935 9 012931
10 014474

11 012839


12 012937

13 012843 14 012841

15 012830 16 012833


17 012990 18 012843


19 012831 20 013058


21 012991 22 012940




23 012941 24 012873


25 012836 26 012927
27 012928
FRANÇAIS (Instructions d'origine)
Descriptif
| 1. Poignée | 20. Fente dans le carter inférieur | 38. Ressort pour grains |
| 2. Capot de la batterie | 21. Convertisseur de batterie | 39. Serrer |
| 3. Poignée de transport avant | (BCV03) | 40. Goupille de verrouillage et goupille |
| 4. Lame de la motobineuse | 22. Voyants | de mousqueton |
| 5. Roue de transport | 23. Voyant de batterie 1 | 41. Si la lame est neue |
| 6. Poignée de transport arrière | 24. Voyant de batterie 2 | 42. Si la lame est usée |
| 7. Bouton | 25. Voyant d'ajretissement | 43. Sens de rotation de la lame |
| 8. Partie rouge | 26. Interrupteur de selection de batterie | 44. Lame orientée vers l'intérieur |
| 9. Batterie | 45. Lame orientée vers l'extérieur | |
| 10. Voyants | 27. Tige de blocage | 46. Lames intérieures gauche |
| 11. Bouton CHECK | 28. Interruuteur principal | (vue externe) |
| 12. Convertisseur de batterie (BCV01) | 29. Bouton de sécurité | 47. Lames extérieures gauche |
| 30. Levier du commutateur | (vue externe) | |
| 13. Orifice d'sinstallation | 31. Barre de recouvrement | 48. Lames intérieures droite |
| 14. Support | 32. Butée | (vue externe) |
| 15. Port de batterie 1 | 33. Culture profonde : A | 49. Lames extérieures droite |
| 16. Port de batterie 2 | 34. Culture de profondeur | (vue externe) |
| 17. Bouchon en caoutchouc | moyenne : B | 50. Extérieur |
| 18. Adaptateur de montage du produit de la BCV01 | 35. Culture en surface : C | 51. Vue arrêté |
| 36. Position de transport : D | 52. Goupille de verrouillage | |
| 19. Cordon | 37. Bouton de blocage du manche | 53. Cadre |
SPÉCIFICATIONS
| Modèle BUK360/UK360D | ||
| Dimensions 1 193 mm x 488 mm x | 998 mm | |
| Diamètre de la lame 245 mm | ||
| Largeur du travail superficiel du sol 350 mm (225 mm séparés) | ||
| Vitesse à vide 85 min | -1 | |
| Poids net 23,3 kg | ||
| Tension nominale | 36 V C.C. | |
| Batterie standard et chargeur Associez toujours les batteries et chargeurs comme indiqué dans les colonnes de droite. | BL3626 DC36RA | BL3622A DC36WA |
- Étant donné l'évolution constante de notre programme de recherche et de développement, les spécifications containues dans ce manuel sont sujéttes à des modifications sans préavis.
- Les specifications et la batterie peuvent varier d'un pays à l'autre.
- Poids, batterie incluse, selon la procEDURE EPTA 01/2003
Symboles
END019-1
Les symboles utilisés pour l'appareil sont indiqués cédssous. Assurez-vous d'avoir bien compris leur signification avant d'utiliser l'appareil.

Usez d'attention et de soins particuliers.


Reportez-vous au manuel d'instructions.

Tenez-vous éloigné de la pierce en rotation.

Retirez la tige de blocage avant d'inspector, de regler, de nettoyer, d'entrenir, de quitter ou de ranger l'appareil.

Cd Ni-MI Li-ion
Pour les pays europeens uniquement
Ne pas jeter les apparèils électriques
et les batteries dans les ordures menagères !
Conformément à la directive française 2002/96/CE relative aux déchets d'équipements électriques ou Electroniques (DEEE) et à la directive 2006/66/CE relative aux batteries, aux accumulateurs ainsi qu'aux batteries et accumulateurs usages et à leur transposition dans la législation nationale, les appareils électriques et les batteries doivent être collectés à part et être soumis à un recyclage respectieux de l'environnement.
INSTRUCTIONS DE SECURITE IMPORTANTES GE
GEB095-6
AVERTISSEMENT! Veuillez dire toutes les consignes de sécurité et les instructions. Le non-respect des mises en garde et instructions peut entraîner un choc électrique, un incendie et/ou des blessures graves.
Conservez toutes les consignes et instructions pour reférence ultérieure.
Utilisation conforme aux prescriptions
Cet apparéil est destiné exclusivement à la culture des sols. Utilisez-le uniquement à cette fin.
L'utilisation à d'autres fins peut entraîner des blessures graves et/ou endommager l' apparéil.
- N'insérez pas la tige dans l'appareil avant qu'il soit prét à être utilisé.
- Familiarisez-vous avec les commandes et l'utilisation correcte de l'appareil.
- Ne laïsez pas des enfants ou des personnes ne connaissant pas ces instructions utiliser l'outil. Les réglementations locales peuvent limiter l'âge de l'opérateur.
- Ne travaillez jamais lorsque des personnes, particulièrement des enfants ou des animaux se trouvent à proximé.
- N'utilise pas l'appareil lorsque vous étés sous l'emprise de drogues, d'alcool ou de médicaments.
- Gardez à l'esprit que l'opérateur ou l'utilisateur est responsable des accidents ou blessures arrivant à d'autres personnes ou leurs biens.
Preparation
- Pendant l'utilisation, portez toujours des chaussures résistantes et des pantalons longs. N'utilisez pas l'appareil lorsque vous âtes pieds nus ou en sandales.
- Inspectez minutieusement la zone dans laquelle l'appareil doit être utilisé et eliminez tout objet qui pourrait être projeté par la machine.
- Avant utilisation, inspectez toujours visuellement les outils pour vous assurer qu'ils ne sont pas usés ou endommages. Remplacez les éléments et boulons endommages ou usés parlots complets pour préserver le bon équilibrage.
Fonctionnement
- Travailliez uniquement à la lumière du jour ou dans une luzière artificielle de bonne qualité.
- Lors de l'utilisation en pentes :
Assurez-vous qu'aucun enfant ou adulte ne se trouve à moins de 20 metres de la zone de travail et faites attention aux animaux qui pourrait se trouver à proximite. Le cas échéant, cessez d'utiliser l'outil.
- Veillez à toujours gérer une bonne position d'équilibre,
-Travailiezperpendicularairementauxpentes, jamaisparallelement,
-
Soyez particulièrement prudent lors des changements de direction sur les terrains en pente.
-
Ne travaillez pas sur des pentes excessivement raides.
- Marchez, ne courez jamais avec l'appareil.
- Faites particulièrement attention lorsque la machine doit recycler ou être tirée vers vous.
- Demarrez le moteur avec précaution, conformément aux instructions du fabricant et en éloignant les pieds de l'outil.
- Ne placez pas vos mains ou vos pieds à proximé ou sous les pièces en rotation.
- Ne soulevez et ne transporte jamais une machine dont le moteur est en fonctionnement.
-
Éteignez l'appareil et retirez la tige de blocage dans les cas suivants :
-
À chaque fois que vous vous éloignez de l'appareil,
-Avant de supprimer un bourrage. -
Soyez particulièrement vigilant sur les sols durs ou pierreux car la machine a tendance à être beaucoup moins stable que sur les sols cultivés et à laborer plus lentement.
Maintenance et stockage
- Avant de ranger la machine dans un lieu confiné ou fermé, laissez-la refroidir suffisamment longtemps.
- Maintenez tous les écrous, boulons et vis serrés afin d'assurer des conditions d'utilisation sûres.
- Pour réduire les risques d'incendie, débarrasssez le moteur, le compartment de la batterie et la zone de stockage des végétaux et graisses excessives.
-
Éteignez l'appareil et retirez la tige de blocage dans les cas suivants :
-
Avant toute opération de vérification, de nettoyage ou de réparation de la machine,
- Àprouv avoir heures un corps étranger. Inspectez la machine pour vérifier qu'elle n'est pas endommagée et effectuez les réparations nécessaires avant de redémarrer et d'utiliser la machine,
- Si elle commence à vigorer de façon anormale. Inspectez la machine pour vérifier qu'elle n'est pas endommagée et remplacez ou réparez toute pièce endommagée. Vérifiez et serrez toutes les pièces mal serrées.
Utilisation et entretien de la batterie
- N'utilissez que le chargeur spécifique par le fabricant. Un chargeur adapté à un type de batterie spécifique peut creer un risque d'incendie s'il est utilisé avec un autre type de batterie.
- Utilisez les outils électriques uniquement avec les batteries indiquées. L'utilisation d'autres types de batterie peut creer un risque de blessures et d'incendie.
-
Lorsque le bloc-batterie n'est pas utilisé, gardez-le éloigné de tout objet métallique, comme les trombones, pièces, clefs, clous, vis ou autres petits objets métalliques, qui peuvent faire office de connexion d'une borne à l'autre. Le fait de court-circuiter les bornes de la batterie peut provoquer des brûlures ou un incendie.
-
En cas de mauvaise utilisation, du liquide peut fuir de la batterie ; évitez tout contact. En cas de contact accidentel, nettoyez la surface en question à l'eau. Si le liquide entre en contact avec les yeux, consultez un médecin. Le liquide émis par la batterie peut provoquer une irritation ou des brûlures.
Service
- Faites réparer vous outil électrique par un réparateur qualifié qui utilise des pieces de rechange identiques aux pieces d'origine. Cela permettra de garantir la sécurité de l'outil électrique.
- Respectez les instructions relatives à la lubrication et au remplacement des accessoires.
- Maintenez les poignées de l'outil séches, propres et exemples d'huile ou de graisse.
CONSERVEZ CES INSTRUCTIONS.
AVENTISSEMENT:
NE vous laissez PAS tromper (au fil d'une utilisation répetée) par un sentiment d'aisance et de familiarité avec le produit, en négligeant le respect rigoureux des consignes de sécurité qui accompagnent l'outil. Une UTILISATION INCORRECTE de l'outil ou un non-respect des consignes de sécurité indiquées dans ce manuel d'instructions peuvent cause des blessures graves.
CONSIGNES DE SECURITE IMPORTANTES ENC007-7
POUR LA BATTERIE
- Avant d'utiliser la batterie, veuillez dire toutes les instructions et tous les avertissements inscrits sur (1) le chargeur, (2) la batterie et (3) l'appareil alimenté par la batterie.
- Ne demontez pas la batterie.
- Cessez immédiatement d'utiliser la scie circulaire si le temps de fonctionnement devient excessivement court. Il y a risque de surchauffe, de brûlures, voire d'explosion.
- Si l'électrolyte pénétre dans vos yeux, rincez-les à l'eau claire et consultez immédiatement un médecin. Il y a risque de perte de la vue.
- Évitez de court-circuiter la batterie :
(1) Ne touchez les bornes avecaucun matériel conducteur.
(2) Évitez de ranger la batterie dans un contenant où se trouvent d'autres objets métalliques tels que des clous, pièces de monnaie, etc.
(3) N'exposez pas la batterie à l'eau ou à la pluie. Un court-circuit de la batterie risque de provoquer un fort courant, une surchauffe, parfois des brûlures et même une panne.
- Ne rangez pas l'outil ou la batterie dans des endroits ou la température risque d'atteindre ou de dépasser 50^ (122^) .
- Ne jetez pas la batterie au feu même si elle est sérieusement endommagée ou complètement
épuisée. La batterie peut exploser au contact du feu.
- Veillez à ne pas laisser tomber ou heurter la batterie.
- N'utilisez pas de batterie endommagée.
CONSERVEZ CES INSTRUCTIONS.
Conseils pour assurer la durée de vie optimale de la batterie
- Rechargez la batterie avant qu'elle ne soit complètement épuisée.
Arrêtez toujours l'outil et rechargez la batterie quand vous constaté que la puissance de l'outil diminue. - Ne rechargez jamais une batterie complètement chargee.
La surcharge réduit la durée de service de la batterie. - Chargez la batterie alors que la température de la pièce se trouve entre 10^ et 40^ (50°F et 104°F). Si une batterie est chaude, laissez-la refroidir avant de la charger.
- Si vous n'utilise pas l'outil pendant une période prolongée, rechargez la batterie tous les six mois.
DESCRIPTION DES PIECES (Fig. 1)
DESCRIPTION DU FONCTIONNEMENT
Installation et retrait de la batterie (Fig. 2 et 3)
ATTENTION:
- Éteignez toujours l'outil avant d'installer ou de déposer la batterie.
Tenez fermement la batterie avec les deux mains lors de l'installation ou du retrait de la batterie. Si vous ne tenez pas fermement la batterie, celle-ci risque de glisser et d'être endommagée ou d'endommager l'outil et de vous blesser. - Faites attention à ne pas vous coincer le pouce et les doigts lorsque vous fermez le capot de la batterie.
Desserrez la boucle située de chaque cote de l'outil et ouvre le capot de la batterie.
Pour-retirer la batterie,faites glisser le bouton à l'avant de la batterie et sortez la batterie.
Pour installer la batterie, alignez sa languette sur la
rainure qui se trouve a l'intérieur du carter, puis glissez la
batterie pour la mesure en place. Inserez-la bien a fond,
jusqu'acce qu'elle se verrouille en emettant un léger cigc. Si vous pouvez voir la partie rouge sur la face supérieure du bouton, la batterie n'est pas parfaitement verrouillée. Fermez le capot de la batterie et serrez la boucle.
Cet outil peut renfermer jusqu'à deux batteries. Vous pouvez installer une ou deux batteries. La batterie peut être installée d'un côte comme de l'autre de la fente.

ATTENTION :
- Ne forcez pas pour installer la batterie. Si la batterie ne glisse pas aisément, c'est qu'elle n'est pas insérée correctement.
REMARQUE:
Si vous installez deux batteries, vous pouvez désirquerelle batterie vous allez utiliser en basculant l'interrupteur du selecteur de batterie.
Système de protection de la batterie
Les batteries ion-lithium sont équipées d'un dispositif de protection. Ce système coupe automatiquement l'alimentation en electricité vers l'outil afin de prolonger sa durée de vie.
L'outil s'arrête automatiquement pendant l'utilisation lorsqu'il et/ou la batterie se trouvent dans l'une des situations suivantes :
- Surcharge :
L'outil fonctionne de manière à creer un courant anormalement élevé.
Dans ce cas, relâchez la gâchette de l'outil et arrêtez l'application qui cause la surcharge de l'outil. Ensuite, appuyez à nouveau sur la gâchette pour redémarrer l'outil.
Si l'outil ne démarre pas, la batterie est en surchauffe. Dans ce cas, laissez la batterie refroidir avant de presser à nouveau la gachette.
- Faible tension de la batterie :
L'autonomie restante est trop BASSE et l'outil ne fonctionnera pas. Dans ce cas, retirez la batterie et rechargez-la.
Voyant d'autonomie de la batterie (uniquement pour les modèles équipés d'une batterie BL3622A)
La batterie BL3622A est equipée duvoyant d'autonomie restante de la batterie. (Fig. 4)
Appuyez sur le bouton CHECK pour indiquer l'autonomie restante de la batterie. Les voyants s'allument alors pendant trois secondes environ.
| Voyants | Autonomie restante |
| Allumé Éteint Clignotant | |
| E F | Entre 70 et 100 % |
| Entre 45 et 70 % | |
| Entre 20 et 45 % | |
| Entre 0 et 20 % | |
| Rechargez la batterie. | |
| Il est possible que la batterie ait mal fonctionné. |
011713
- Lorsque seul levoyant le plus bas (pres de la dette « E ») clignote, ou lorsque aucun des voyageants ne clignote, la batterie est vide donc l'util ne fonctionne
pas. Dans ce cas, rechargez la batterie ou remplacez la batterie vide par une batterie entierement chargée.
- Si au moins deux voyants ne s'allument pas même une fois le chargement terminé, cela signifie que la batterie arrive en fin de vie.
- Lorsque les deux voyants supérieurs et inférieurs s'allument à tour de role, cela signifie que la batterie a peut-être mal fonctionné. Contactez votre centre de service/agree Makita le plus proche.
REMARQUE:
- L'autonomie restante indiquée peut être inférieure au niveau réel pendant ou immédiatement après l'utilisation de l'outil.
- Selon les conditions d'utilisation et la température ambiente, les indications peuvent différer légèrement de l'autonomie réelle restante.
Convertisseurs de batterie (accessoire fourni en option)
A VERTISSEMENT :
- Avant d'insteller ou de déposer les convertisseurs de batterie BCV01/BCV03, retirez la tige de blocage.
BCV01 (accessoire fourni en option)
AVERTISSEMENT:
- Lors de l'utilisation de la BCV01, veillez à utiliser le support (accessoire fourni en option) pour retenir son cordon. Si vous n'utilise pas le support, le cordon ne sera pas tendu. Il risque alors d'être emmélé au niveau de la lame, endommageant l'outil et provoquant de graves blessures corporelles.
- Lorsque vous utilisez la BCV01, ne la fixez jamais à votre corps. La fixation de la BCV01 à votre corps pourrait entrainer des blessures graves. (Fig. 5)
Accrochez le convertisseur de batterie BCV01 dans la partie installation du manche.
Support (accessoire fourni en option)
Lors de l'utilisation de la BCV01, veillez à utiliser le support (accessoire fourni en option) pour retenir son cordon. (Fig. 6)
Installez le support (accessoire fourni en option) dans l'orifice situé sur le côté gauche de la poignée du manche (vue depuis la position de l'opérateur). Enforcez ensuite le cordon dans le support de sorte qu'il ne soit pas trop lâche. Assurez-vous que le cordon est correctement fixé grâce à son support. (Fig. 7)
Ouvrez le capot de la batterie, puis faites-le couilser entiement et inserez l'adaptateur de montage du produit de la BCV01 dans le port de batterie 1 jusqu'à émission d'un déclic. (Fig. 8)
Soulevez légèrement le bouchon en caoutchoucitué dans la fente du carter inférieur et retirez-le, comme illustré sur la figure.
REMARQUE:
- Ne tirez pas avec force sur le bouchon en caoutchouc car vous risqueriez d'endommager la partie qui le retient. (Fig. 9)
Pliez le cordon du convertisseur de batterie BCV01 sur I'element de fixation du produit. Faites ensuite passer le
cordon de la BCV01 dans la fente du carter inférieur et fermez le capot de la batterie.
Pour-retirer la BCV01, suivez la procEDURE d'installation en sens inverse.
BCV03 (accessoire fourni en option)
(Fig. 10)
Ouvrez le capot de la batterie et insérez la BCV03 dans le port de batterie jusqu'à émission d'un déclic. Fermez le capot de la batterie.
Pour-retirer la BCV03,appuyez sur le crochet de la BCV03 et sortez-la avec les deux mains.
Voyant
A VERTISSEMENT :
- N'utilise pas l'interrupteur de seLECTION de batterie pendant le fonctionnement.
- Une fois l'interrupteur de selection de batterie basculé, l'interrupteur principal s'eteint. Pour démarrer l'outil, l'opérateur doit appuyer sur l'interrupteur principal. (Fig. 11 et 12)
Pour changer de batterie, vous pouvez basculer l'interrupteur de selection de batterie si l'outil est équipé de deux batteries. (Les voyants indiquent l'état n° 1 ou n° 6.)
Si l'outil est équipé d'une seule batterie, bascuez le bouton de batterie pour désir le côté où se trouve la batterie.
- Si l'outil est équipé d'une seule batterie et si vous basculez sur le port de batterie sur lequel aucune batterie n'est installée, les voyants indiquent l'état n^2 ou n^5 .
Levoyant d'advertissement s'allume en cas de probleme et l'outil s'eteint automatiquement environ 10 secondes après l'allumage duvoyant d'advertissement. Signification des différentes couleurs duvoyant d'advertissement :
-
Rouge: levoyant rouge peut s'allumer pour deux raisons.
-
Le moteur est en surchauffe. (Levoyant indique l'etat n^ 3.)
Éteignez l'interrupteur principal et redémarrez l'outil après avoir laissé le moteur refroidir.
- La batterie est presque épuisée. (Levoyant indique l'etat n^2 ou n^5 .)
Éteignez l'interrupteur principal et rechargez la batterie.
- Rouge clignotant: la lame est coincée car elle a été trop enforcée ou elle est bloquée par des herbes ou des pierres. (Levoyant indique l'objet n^4 .)
Éteignez l'outil en appuyant sur l'interrupteur principal, soulevez la lame en tenant la poignée et vérifie qu'aucun obstacle ne bloque la lame.
ATTENTION:
- Éteignez toujours l'outil et retirez la batterie avant de retarder l'obstacle.
- Ne faites pas tourner la lame de maniere forcee et netapez pas dessus avec un marteau, au risque d'endommager l'outil.
En cas d'obstacle coincide sur la lame, retirez-le avec précaution.
Allumez l'interrupteur principal et vérifie que levoyant rouge est eteint.
Fonctionnement de l'interrupteur
AVENTISSEMENT:
- Avant d'insérer la batterie dans l'outil, vérifie toujours que le levier du commutateur fonctionne correctement et revient en position d'origine lorsqu'il est relachué. Si vous faites fonctionner un outil dont l'interrupteur est défectueux, vous risque d'en perdre le contrôle et de vous blesser grièvement.
REMARQUE:
- Le moteur ne démarre pas s'il est surcharge. Dans ce cas,CHOISSEZ une position de culture plus en surface.
- L'outil ne démarre pas si vous n'appuyez pas sur le bouton de sécurité, même si le levier du commutateur est tiré.
Pour éviter que les enfants démarrent accidentellement l'outil, celui-ci est équipé d'une tige de blocage. La tige de blocage se trouve sous le capot de la batterie. Insérez la tige de blocage avant d'allumer l'outil. L'outil ne démarre pas lorsque la tige de blocage est tirée. (Fig. 13 et 14)
Pourmettre l'outil sous tension,appuyez sur l'interrupteur principal.L'un des voyants s'allume lorsquesyou mettez l'outil sous tension.Pourmettre l'outil hors tension, appuyez a nouveau sur I'interrupteur principal.
Pour éviter que l'outil démarre accidentellement, il est muni d'un bouton de sécurité. Pour commencer à faire tourner les lames, enforcez le bouton de sécurité puis tirez sur le levier du commutateur. Pour arrêté l'outil, relâchéz le levier du commutateur.
Barre de recouvrement (Fig. 15)
La barre de recouvrement ajuste la profondeur des cultures. Elle évite également le déplacement incontrollable et soudain de l'outil.
Vouspouvez modifier la profondeur des cultures en changeant la position de la barre de recouvrement.
(Fig. 16)
ATTENTION:
Assurez-vous toujours que la roue de transport est en position de transport avant de régler la barre de recouvrement.
1. Retirez la vis d'obturation retenant la barre de recouvrement.
2. Reglez la position de la barre de recouvrement, puis maintenez cette position à l'aide de la vis d'obturation.
Guide de positionnement
Culture profonde : A
Culture de profondeur moyenne: B
Culture en surface : C
- Position de transport : D
REMARQUE:
- Si le terrain est dur et si l'outil avance trop rapidement, réglez la barre de recouvrement en position de culture profonde : A. Si le terrain est souple et si la lame s'enforce, réglez la barre de recouvrement en position de culture en surface : C.
- Lorsque vous transportez l'outil, placez la barre de recouvrement en position de transport : D.
ASSEMBLAGE

AVERTISSEMENT :
Assurez-vous toujours que l'outil est hors tension et la batterie retiree avant d'effectuer toute intervention sur l'outil. Si vous ne mettez pas l'outil hors tension et ne retirez pas la batterie, vous risquez de vous blesser grievement en cas de demarrage accidentel.
- Ne démarrez jamais l'outil avant qu'il soit complètement assemblé. Si vous le faites fonctionner alors qu'il n'est pas parfaitement assemblé, vous risquez de vous blesser grièvement en cas de démarrage accidentel.
Installation de la barre de recouvrement et de la butée (Fig. 17)
Pour installer la barre de recouvrement avec la butée, reportez-vous à la section intitulée « Barre de recouvrement » dans DESCRIPTION DU FONCTIONNEMENT.
Réglage de la tige de blocage (Fig. 18)
Pour régler la tige de blocage, reportez-vous à la section intitulée « Fonctionnement de l'interrupteur » dans DESCRIPTION DU FONCTIONNEMENT.
Montage et réglage de l'angle du manche

ATTENTION :
- Procedez toujours au réglage sur une surface plane pour éviter les accidents.
- Assurez-vous toujours que la roue de transport est en position de transport avant de régler l'angle du manche.
Tenez toujours le manche pendant le réglage afin qu'il ne tombe pas et ne blessse personne.
Lorsque you reglez l'angle du manche, faites attention à ne pas vous coincer le pouce ou les doigts entre le manche et le cadre. (Fig. 19, 20 et 21)
Pour monter le manche sur l'appareil, placez le ressort pour grains sur le bouton de blocage du manche et vissez-le fermement dans le perçage du manche à travers l'un des orifices de l'arbre de retenue du manche. À ce stade, placez le ressort pour grains sur le bouton de blocage du manche, de sorte que la surface bombée du ressort pour grains soit orientée vers le bouton de blocage du manche. Assurez-vous que le manche est bien fixé après l'avoir monté.
Vous pouvez désir parmi trois angles de réglage du manche. Tenez le manche d'une main, puis tournez et retirez le bouton de blocage du manche. Choisissez l'angle favorable depuis l'un des trois orifices, puis returnez le bouton de blocage du manche et serrez-le fermement.

ATTENTION :
Assurez-vous toujours que le bouton de blocage du manche est serré à fond afin que le manche ne tombe pas et ne vous blesses pas.
FONCTIONNEMENT
Mise en route

AVERTISSEMENT :
- Veillez à tener fermement le manche avant de démarrer l'outil. Lorsque le terrain est dur, l'outil avance brusquement car la lame ne creuse pas suffisamment profondement le sol et peut provoquer des blessures.
Appuyez sur le manche et placez la barre de recouvrement dans le sol à cultiver. Actionnez le manche vers le haut et vers le bas et réglez la profondeur de la barre de recouvrement en fonction de la constance du terrain. Vous pouvez creuser plus profundément en appuyant davantage sur le manche et en enforcant davantage la barre de recouvrement. L'outil se déplace plus rapidement et plus facilement lorsque vous souveze le manche et sortez la barre de recouvrement du sol. L'outil s'arrête lorsque vous relâchez le levier du commutateur.
Modification de la largeur du travail superficiel du sol

AVERTISSEMENT :
Assurez-vous toujours que l'outil est hors tension et la batterie retiree avant d'effectuer toute intervention sur l'outil. Si vous ne mettez pas l'outil hors tension et ne retirez pas la batterie, vous risque de vous blesser grievement en cas de demarrage accidentel.
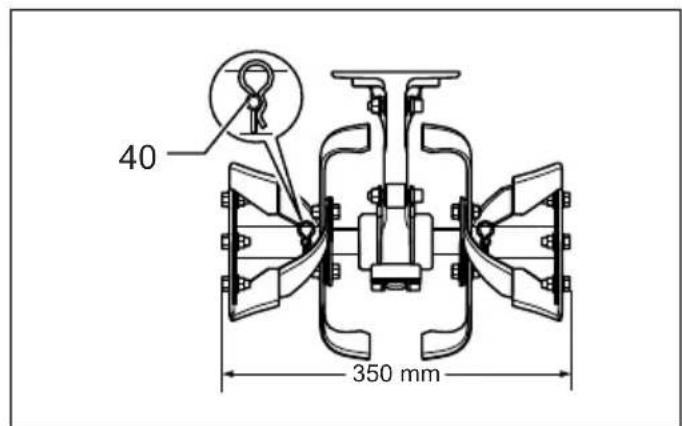
- N'oubliez pas de verrouiller la lame extérieure à l'aide de la goupille de verrouillage et de la goupille de mousqueton lorsque vous l'attachez. (Fig. 22 et 23) La lame peut être séparée selon la largeur de la culture. Pour cultiver de petites zones, vous pouvez retarder les lames laterales extérieures. Pour retarder la lame laterale extérieure droite, tirez sur la goupille de verrouillage et sur la goupille de mousqueton sur le cote droit qui verrouille la lame extérieure, puis retirez lentement la lame extérieure. Installez en position d'origine la goupille de verrouillage et la goupille de mousqueton située sur la lame interieure. Procedez de la même manière pour la lame laterale extérieure gauche. Pour fixer les lames extérieures, suivez la procedure d'installation en sens inverse.
Transport de l'outil

AVERTISSEMENT :
Assurez-vous toujours que l'outil est hors tension et la batterie retiree avant d'effectuer toute intervention sur l'outil. Si vous ne mettez pas l'outil hors tension et ne retirez pas la batterie, vous risquez de vous blesser grievement en cas de demarrage accidentel.
- Pour éviter que l'outil soit instable et déséquilré, assurez-vous que la barre de recouvrement reste sur le sol lorsque vous modifiez la position de la roue de transport.
- Lorsque vous tirez la roue de transport vers le bas, assurez-vous que l'outil reste en équilibre afin qu'il ne tombe pas et ne blesse personne.
- Faites attention à ne pas vous coincer le pouce et les doigts ou à vous cogner dans la roue de transport à
ressort lorsquevous changez la position de la roude de transport. (Fig. 24)
La roue de transport est utilisé lorsque vous transportez l'outil. Vous pouvez modifier aisément la position de la roue à la main.
Tirez la roue de transport vers le bas, placez la barre de recouvrement en position de transport.
Abaissez la poignée et souveze la lame, puis transportez l'outil.
REMARQUE:
YououpouceplaralbarrederecouvrementaI'enverss i yourencontrezdesdifficultéslorsdutransportdeI'outil.
Rangement de l'outil
AVENTISSEMENT:
Assurez-vous toujours que l'outil est hors tension et la batterie retiree avant d'effectuer toute intervention sur l'outil. Si vous ne mettez pas l'outil hors tension et ne retirez pas la batterie, vous risquez de vous blesser grievement en cas de demarrage accidentel.
Vou puez replier le manche pour facilititer le transport et le stockage de l'outil.
ATTENTION:
- Travailliez toujours sur un sol plat pour éviter les accidents.
- Assurez-vous toujours que la roue de transport est en position de transport avant de plier le manche.
Tenez toujours le manche lorsque vous desserrez le bouton de blocage du manche afin que ce dernier ne tombe pas et ne blesse personne. - Lorsque vous pliez le manche, faites attention à ne pas vous coincer le pouce et les doigts entre le manche et le cadre. (Fig. 25)
Tenez le manche d'une main, puis tournez et retirez le bouton de blocage du manche. Pliez ensuite lentement le manche.
NOTE:
Assurez-vous toujours qu'aucun cable n'est compré entre le manche et l'outil, afin de ne pas endommager l'outil.
- ÀpRES avoir plie le manche, vissez temporairement le bouton de blocage du manche dans le trou d'origine pour ne pas le perdre.
Si vous placez l'outil sur un vehicule, repliez le manche et tenez la poignée de transport avant et la poignée de transport arrêté.
ENTRETIEN
AVERTISSEMENT:
Assurez-vous toujours que l'outil est hors tension et que la tige de blocage et la batterie sont retirees de l'appareil avant de le ranger ou d'y effectuer tout travail d'inspection ou d'entretien. Si vous ne mettez pas l'outil hors tension et ne retirez pas la tige de blocage et la batterie, vous risquez de vous blesser grièvement en cas de démarrage accidentel.
NOTE:
N'utilisez jamais d'essence, de benzine, de diluant, d'alcool ou de produit similaire. Ces produits risquent de
provoquer des décolorations, des déformations ou des fissures.
Vérification et remplacement de la lame (Fig. 26)
Remplacez les lames lorsqu'elles sont usées dans la mesure illustrée sur la figure.
REMARQUE:
- Remplacez les lames lorsqu'elles sont usées de moitié environ. Il est recommendé de replacer la lame le plus tout possible par une lame Makita d'origine pour préserver les performances de l'outil. (Fig. 27)
Il existe deux types de lames. Installez la lame dans le bon sens, comme illustré sur la figure.
REMARQUE :
- Installez la lame de maniere symétrique sur les côtes droit et gauche.
- Installé la goupille de verrouillage et la goupille de mousqueton dans le bon sens, comme illustré sur la figure, afin qu'elles ne tombent pas.
Entretien
- RETIREZ LA TIGE DE BLOCAGE. Rangez-la en lieu s ur, hors de portee des enfants.
- Retirez la boue, les déchets de paille, les mauvaises herbes et résidus similaires de la lame et de l'appareil. Nettoyez votre apparéil à l'eau courante. N'élaboussez pas et ne faites pas couler d'eau sur la zone des composants électriques (interrupteur principal, interrupteur de verrouillage, levier du commutateur, moteur, voyant). ÀpRES avoir procédé au nettoyage, essuyez l'appareil avec un chiffon sec.
REMARQUE :
- Lors du nettoyage de l'appareil à l'eau, ne repliez pas la poignée et ne la maintenez pas en contact avec le sol. Le fait de nettoyer l'appareil alors que la poignée est replieée ou maintainue en contact avec le sol peut entraîner la cassure de l'interrupteur.
- En cas d'utilisation d'une laveuse à pression pour nettoyer l'appareil, utilisez un injecteur régiable de type pulverisateur permettant une dispersion de faisible puissance et éloignez l'appareil à plus de 2 m de l'appareil. Le non-respect de cet instruction risque d'entrainer le décollement des étiquettes d'avertissement/de mise en garde, d'endommager les composants électriques susmentionnés et d'inonder le boitier d'engrenage, endommageant les composants mécaniques, tels que les engrenages, les roulements et composants similaires.
Pour un fonctionnement correct, respectez les avertissements, mises en garde et instructions indiqués sur les étiquettes et dans le manuel d'instructions de la laveuse à pression. Le non-respect de cette instruction peut entraîner des blessures corporelles et des pannes et endommager ou casser l'appareil.
- Si les ports de la batterie ou la zone située autour des portos doit être éclaboussée ou recouverte d'eau pendant le nettoyage, essuyez-la immédiatement avec un chiffon.
-
Vérifiez que tous les écrous, boulons, boutons, vis, pièces de fixation, etc., sont bien serrés.
-
Vérifiez que les pieces en mouvement ne sont pas endommagées, cassées ou usées. Faites réparer toutes les pieces endommagées ou manquantes.
Pour garantir la SECURITE et la FIABILITÉ du produit, les réparations ainsi que tout autre travail d'entretien ou de
réglage doit être effectuels dans un centre d'entretien Makita agrée, exclusivement avec des pieces de rechange Makita.
RECHERCHE DE PANNES
| Problème Cause possibile Solution | |||
| Levoyant de la batterie et levoyant d'advertissement ne s'allument pas, même en appuyant sur l'interrupteur principal. | La batterie n'est pas en place. Mettez la batterie en place. | ||
| La tige de blocage n'est pas insérée. Insérer la tige de blocage. | |||
| Dysfonctionnement de l'interrupteur principal. | Contactez votre centre de service Makita le plus proche. | ||
| Si l'un ou les deux voyants de la batterie s'allument, levoyant d'advertissement s'allume également en cas de pression sur l'interrupteur principal. | La batterie est presque épuisée. La tige de blocage est tirée. Charger la batterie. | ||
| La batterie n'est pas insérée correctement. | Retirer la batterie et l'insérer à nouveau avec précaution. | ||
| Dysfonctionnement duvoyant de batterie ou duvoyant d'advertissement. | Contacter le centre de service Makita le plus proche. | ||
| La lame de la motobineuse ne tourne pas, même en tirant sur le levier du commutateur. | L'interrupteur principal n'est pas enforcé. | Appuyer sur l'interrupteur principal. | |
| Le bouton de sécurité n'a pas été enforcé. | Maintenir le bouton de sécurité enforcé au moment de tirer sur le levier du commutateur. | ||
| La tige de blocage n'est pas insérée. Insérer la tige de blocage. | |||
| Dysfonctionnement des interrupteurs. Contacter le centre de service Makita le plus proche. | |||
| Levoyant d'advertissement et levoyant de batterie s'allument pendant le fonctionnement. | La batterie est presque épuisée. Recharger la batterie. | ||
| L'outil s'accêté brusquement. De plus, levoyant d'advertissement s'allume ou clignote. | levoyant s'allume | La lame creuse trop profondément et le moteur est surcharge. | Réduire la profondeur de la culture. |
| levoyant clignote | Un obstacle est coincé sur la lame. Éteindre l'outil en appuyant sur l'interrupteur principal. Retirer ensuite l'obstacle avec précaution. | ||
| La lame ne s'accêté pas. Le levier du | commutateur est brisé. Éteindre l'interrupteur principal. Retirer la batterie. Contacter immédiatement le centre de service Makita le plus proche. | ||
012848
ACCESSOIRES FOURNIS EN OPTION
ATTENTION:
- Ces accessoires ou pieces complémentaires sont recommandés pour être utilisés avec l'outil Makita spécifique dans ce mode d'emploi. L'utilisation de tout autre accessoire ou piece complémentaire peut composer un risque de blessure. N'utilisez les accessoires ou pieces qu'aux fins auxquelles ils ont eté concus.
Pour obtenir plus de détails sur ces accessoires, contactez notre Centre de service local Makita.
- Batterie et chargeur Makita authentiques
Support
REMARQUE:
- Certains éléments de la liste peuvent être inclus en tant qu'accessoires standard dans le coffret de l'outil envoyé. Ils peuvent varier suivant les pays.
Bruit
ENG905-1
Le niveau de bruit pondéré A typique a ete mesuré selon la forme 2000/14/CE:
Niveau de pression sonore (L_pA):70 dB (A) ou moins Incertitude (K):2,5 dB (A)
Le niveau de bruit peut dépasser 80 dB (A) lors de
I'utilisation.
Portez des protections auditives.
Vibrations
ENG900-1
La valeur totale de vibration (somme du vecteur triaxial) a ete déterminée selon la norme EN709:
Émission des vibrations (a_h):2,5m / s^2 ou moins Incertitude (K):1,5 m/s2
ENG901-1
-
La valeur de l'émission des vibrations déclarée a été mesuree conformément à la méthode de test standard et peut être utilisée afin de comparer des outils entre eux.
-
La valeur de l'émission des vibrations déclarée peut également être utilisée lors d'une évaluation préliminaire de l'exposition.
AVENTISSEMENT:
- Selon la manière dont l'outil est utilisé, il est possible que l'émission des vibrations pendant l'utilisation réelle de l'outil électrique diffère de la valeur de l'émission déclarée.
Veillez à identifier les mesures de sécurité destinées à protéger l'opérateur et établies en fonction de l'estimation de l'exposition dans les conditions réelles d'utilisation (en prénant en compte toutes les étapes du cycle de fonctionnement, telles que les périodes de mise hors tension de l'outil, les périodes de fonctionnement au ralenti et les périodes de mise en route).
Pour les pays d'Europe uniquement ENH217-1
Déclaration de conformité CE
Nous, Makita Corporation, en tant que fabricant responsable, déclarons que la ou les machines
Makita suivantes :
Nom de la machine :
Motobineuse Sans Fil
N° de modulo/Type: BUK360, UK360D
Specifications : voir le tableau
« SPÉCIFICATIONS »
dont fabriquées en série et
dont conformes aux directives européennes
suivantes :
2000/14/CE, 2006/42/CE
et sont produites conformément aux normes ou
documents de normalisation suivants :
EN60745, EN709
La documentation technique est disponible auprès de
notre représentant en Europe :
Makita International Europe Ltd.
La procédure d'évaluation de la conformité requise par la directive 2000/14/CE est conforme à l'annexe VI.
Organisme notification
TÜV Rheinland LGA Products GmbH
Am Grauen Stein 29
51105 Köln Allemagne
Numero d'identification 0197
Niveau de puissance sonore mesurée:79 dB (A)
Niveau de puissance sonore garantie :81 dB (A)
-
- 2011

Tomoyasu Kato
Director
Makita Corporation
Open de accukap en klik de BCV03 in de accusleuf. Sluit de accukap.
son de produition série y
Motocultivador à Bateria
N°/Tonto de modelo: BUK360, UK360D
Notice Facile