LITHOS CONCRETE - Hotte aspirante FABER - Notice d'utilisation et mode d'emploi gratuit
Retrouvez gratuitement la notice de l'appareil LITHOS CONCRETE FABER au format PDF.
| Intitulé | Description |
|---|---|
| Type de produit | Hotte de cuisine |
| Caractéristiques techniques principales | Design moderne en béton, extraction d'air efficace, faible niveau sonore |
| Alimentation électrique | 230 V, 50 Hz |
| Dimensions approximatives | Largeur : 90 cm, Profondeur : 50 cm, Hauteur : 15 cm |
| Poids | 30 kg |
| Compatibilités | Compatible avec les cuisines modernes et traditionnelles |
| Type de batterie | Non applicable |
| Tension | 230 V |
| Puissance | 300 W |
| Fonctions principales | Extraction des odeurs, éclairage LED, filtres à graisse |
| Entretien et nettoyage | Filtres lavables en machine, surface en béton facile à essuyer |
| Pièces détachées et réparabilité | Disponibilité de pièces de rechange sur demande |
| Sécurité | Protection contre les surcharges électriques, conforme aux normes CE |
| Informations générales utiles | Garantie de 2 ans, installation recommandée par un professionnel |
FOIRE AUX QUESTIONS - LITHOS CONCRETE FABER
Téléchargez la notice de votre Hotte aspirante au format PDF gratuitement ! Retrouvez votre notice LITHOS CONCRETE - FABER et reprennez votre appareil électronique en main. Sur cette page sont publiés tous les documents nécessaires à l'utilisation de votre appareil LITHOS CONCRETE de la marque FABER.
MODE D'EMPLOI LITHOS CONCRETE FABER
Manuel d'Instructions
Bedienungsanleitung
Pour votre sécurité et pour garantir le fonctionnement correct de l'appareil, veuilles dire attentivement ce manuel avant d'instructor et demettre en fonction l'appareil. Toutjours conserver ces instructions avec l'appareil, meme en cas de cession ou de transfert à une autre personne. Il est important que les utilisateurs connaissent toutes les caractéristiquesde fonctionnement et de sécurité de l'appareil.

La connexion des cables doit être effectuee par un technicien competent.
- Enaucun cas le fabricant ne peut etre tenu pour responsable d'eventuels dommages dus a une installation ou a une utilisation impropre.
- La distance de sécurité minimum entre le plan de cuisson et la hotte aspirante est de 650~mm (certaines modèles peuvent être installés à une hauteur inférieure ; voir le paragraphe concernant les dimensions de travail et l'installation).
- Si les instructions d'installation du plan de cuisson à gaz spécifique une distance supérieure à celle indiquée ci-dessus, veuillez impératifement en tener compte.
Assurez-vous que la tension du secteur correspond à cette indiquée sur la plaque des caractéristiques apposée à l'intérieur de la hotte. - Les dispositifs de sectionnement doivent être montés dans l'installation fixe conformément aux normes sur les systèmes de câblage.
- Pour les apparèils de Classe I, s'assurer que l'installation électrique de votre interieur dispose d'une mise à la terre ajustate.
- Reliez l'aspirateur du conduit de cheminée avec un tube ayant un diamètre minimum de 120~mm . Le parcours des fumées doit être le plus court possible.
- Respecter toutes les normes concernant l'évacuation de l'air.
-
Ne reliez pas la hotte aspirante aux conduits de cheminée qui acheminent les fumées de combustion (par ex. de chaudières, de cheminées, etc.).
-
Si vous utilisez l'aspirateur en même temps que des apparciels non électriques (par ex. fonctionnant au gaz), veillez à ce que la pièce soit ajustatement ventilée, afin d'empêcher le retour du flux des gaz d'évacuation. Si vous utilisez la hotte de cuisine en même temps que des apparciels non alimentés à l'électricité, la pression négative dans la pièce ne doit pas dépasser 0,04 mbar, afin d'éviter que les fumées soient réaspirées dans la pièce où se trouve la hotte.
- Ne pas évacuer l'air à travers une conduite utilisée pour l'évacuation des fumées des apparèils de combustion alimentés au gaz ou avec d'autres combustibles.
- Si le cordon d'alimentation est endommagé, faites-le remplaçer par le fabricant ou par un technicien d'un service après-vente/agréé.
- Branchez la fiche à une prise conforme aux normes en vigueur et dans une position accessible.
- En ce qui concerne les dimensions techniques et de sécurité à adopter pour l'évacuation des fumées, veuillesz vous conformer scrupuleusement aux règlements établis par les autorités locales.
AVERTISSEMENT: Avant d'installer la hotte, retirer les films de protection.
- Utilisez exclusivement des vis et des petites fournitures du type adapté pour la hotte.
AVERTISSEMENT toute installation de vis et de dispositifs de fixation non conformes à ces instructions peut entraîner des risques de décharges électriques.
- Ne pas observer directement avec des instruments optiques (jumelles, lentilles grossissantes...).
- Ne flambez pas des mets sous la hotte : sous risque de développer un incendie.
- Cet apparéil peut être utilisé par des enfants de plus de 8 ans et par des personnes dont les capacité physiques, sensorielles ou mentales sont diminuées ou ayant une expérience et des connaissances insuffisantes, pourvu que ce soit sous la surveillance attentive d'une personne responsable et après avoir reçu des instructions sur la manière d'utiliser cet apparéil en toute sécurité et sur les dangers que cela comporte. Assurez-vous que les enfants ne jouent pas avec cet apparéil. Le nettoyage et l'entretien de la part de l'utiliseur ne doivent pas été effectuels par des enfants, à moins qu'ils ne soient surveillés.
- Surveillez les enfants. S'assurer qu'ils ne jouent pas avec l'appareil.
- Cet apparéil n'est pas destiné à être utilisé par des personnes (enfants compris) dont les capacité physiques, sensorielles ou mentales sont diminuées ou ayant une expérience et des connaissances insuffisantes, à moins que celles-ci ne soient attentivement surveillées et instruites.
Les parties accessibles peuvent devenir très chaudes durant l'utilisation des apparêls de cuisson.
- Nettoyer et/ou remplacer les filtres après le début indiqué (danger d'incendie). Voir le paragraphe Nettoyage et Entretien.
-
Veiliez à ce que la pièce bénéficie d'une ventilation adequate lorsque la hotte fonctionne en même temps que des apparêls utilisant du gaz ou d'autres combustibles (non applicable aux apparêls qui évacuent l'air uniquement dans la pièce).
-
Le symbole marqué sur le produit ou sur son emballage indique que ce produit ne peut pas'être éliminé comme déchet menager normal. Lorsque ce produit doit être éliminé, veuillez le remmettre à un centre de collecte prévu pour le recyclage du matériel électrique et electronique. En vous assurant que cet apparil est éliminé correctement, vous participez à prévenir des conséquences potentiellement négatives pour l'environnement et pour la santé, qui risqueraient de se désenter en cas d'élimination inappropriée. Pour toute information supplémentaire sur le recyclage de ce produit, contactez votre municipalité, votre déchetterie locale ou le magasin où vous avez achété ce produit.
Encombrement



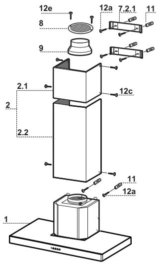
Composants
| Réf. | Q.té | Composants de Produit |
| 1 | 1 | Corps Hotte équipé de:Commandes, Lumière, Groupe Ventilateur,Filtres |
| 2 | 1 | Cheminée Télescopique formée de : |
| 2.1 | 1 | Cheminée Supérieure |
| 2.2 | 1 | Cheminée Inférieure |
| 8 | 1 | Grille en Direction Sortie Air |
| 9 | 1 | Flasque de Réduction ø 150-120 mm |
| Réf. | Q.té | Composants pour l'installation |
| 7.2.1 | 2 | Brides Fixation Cheminée Supérieure |
| 11 | 6 | Chevilles |
| 12a | 6 | Vis 4,2 x 44,4 |
| 12c | 6 | Vis 2,9 x 6,5 |
| 12e | 2 | Vis 2,9 x 9,5 |
Q. te Documentation
1 Manuel d'instructions

Perçage Paroi et Fixation Brides

Tracer sur la paroi:
- une ligne verticale allant jusqu'au plafond ou à la limite supérieure, au centre de la zone prévue pour le montage de la hotte;
- une ligne horizontale à 650~mm min. au-dessus du plan de cuisson.
- Poser comme indiqué une bride 7.2.1 sur la paroi à 1 - 2mm du plafond ou de la limite supérieure, en alignant son centre (découpes) sur la ligne verticale de repère.
- Marquer les centres des troughs rainurés de la bride.
- Poser comme indiqué la bride 7.2.1 à X mm sous la première bride (X = hauteur cheminée supérieure fournie), en alignant son centre (découpes) sur la ligne verticale de repère.
- Marquer les centres des troughs rainurés de la bride.
- Marquer comme indiqué, un point de référence à 116mm de la ligne verticale de repère, et 320mm au-dessus de la ligne horizontale de repère.
- Répéter cette opération sur le côte opposé.
- Percer de 8 mm tous les points marqués.
- Insérer les chevilles 11 dans les trous.
- Fixer les brides en utilisant les vis 12a (4,2 x 44,4) fournies.
-
Visser les 2 vis 12a (4,2 x 44,4) fournies dans les trouss de fixation du corps hotter, en laissant un espace de 5 - 6mm entre le mur et la tete de la vis.
-
Avant d'accrocher le corps hotter, serrer les deux vis Vr situées sur les points d'accrochage du corps hotter.
- Accrocher le corps hotte aux vis 12a prévues à cet effet.
- Serrer définitivement les vis 12a de support.
- Agir sur les vis Vr pour niveler le corps hotter.

Branchements
SORTIE AIR VERSION ASPIRANTE
Pour l'installation en version aspirante, relier la hotte au tube de sortie au moyen d'un tube rigide ou flexible de 150 ou 120mm dont lechioix est laissé à l'installateur.
- Pour la liaison avec le tube 120mm , insérer la buse de réduction 9 sur la sortie du corps de la hotte.
- Fixer le tube avec des colliers serre-tube appropriés. Le matériel nécessaire n'est pas fourni.
- Retirer les filtrés anti-odeur à charbon actif évventuels.

SORTIE AIR VERSION FILTRANTE
- Percer un trou de 125 mm . sur l'éventuelle Tablette qui se找出 au-dessus de la Hotte.
- Insérer le flasque de réduction 9 sur la sortie du corps de la hotter.
- Connecter la Flamque au trou de sortie sur la Tablette qui se trouve au-dessus de la Hotte, au moyen d'un tuyau rigide ou flexible de 120 mm .
- Fixer le tube par des colliers appropriés. Le matériel nécessaire n'est pas fourni.
- Fixer la Grille orientée 8 sur la sortie de l'air recyclé à l'aide de 2 Vis 12e (2,9 x 9,5) fournies avec l'appareil.
- S'assurer de la présence des filtres anti-odeur au charbon actif.

BRANCHEMENT ELECTRIQUE
- Brancher la hotte sur le secteur en interpolant un interrupteur bipolaire avec ouverture des contacts d'au moins 3mm .
- Enlever les filtres àGRAISSSE (voir § "Entretien") et s'assurer que le connecteur du cable d'alimentation soit bien branché dans la prise du diffuseur.

Montage Cheminée
Cheminée supérieure
- Elargir légèrement les deux bords latériaux, et les accrocher derrières les brides 7.2.1; reférer jusqu'à la butée.
- Fixer latéralement aux brides à l'aide des 4 vis 12c fournies.
Cheminée inférieure
- Elargir légèrement les deux bords latériaux de la Cheminée et les accrocher entre la Cheminée supérieure et la paroi; refermer jusqu'à la butée.
- Fixer létalement la partie inférieure au corps hotte, à l'aide des deux 2 vis 12c fournies.


Tableau des commandes
| TOUCHE | VOYANT | FONCTIONS | |
| T1 | Vitesse | Allumé | Démarre le moteur en première vitesse. |
| Coupe le moteur. | |||
| T2 | Vitesse | Allumé | Démarre le moteur en deuxieme vitesse. |
| T3 | Vitesse | Fixe | Appuyée brièvement, démarre le moteur en troisieme vitesse. |
| L | Lumière | Branche et débranche l'éclairage. | |
Attention: La touche T1 coupe le moteur en passant toujours par la première vitesse.


Tableau des commandes
| TOUCHE | VOYANT | FONCTIONS | |
| T1 | Vitesse | Allumé | Démarre le moteur en première vitesse. |
| Coupe le moteur. | |||
| T2 | Vitesse | Allumé | Démarre le moteur en deuxieme vitesse. |
| T3 | Vitesse | Fixe | Appuyée brièvement, démarre le moteur en troisieme vitesse. |
| Clignotant | Appuyée pendant 2 secondes. | ||
| Démarre la quatrième vitesse avec une temporisation de 6 minutes, après lesquelles le moteur returné à la vitesse précédemment pro-grammée. Fonction indiquée pour faire face aux pointes d'émission de fumées de cuisson. | |||
L Lumière Branche et débranche l'éclairage.
Attention: La touche T1 coupe le moteur en passant toujours par la première vitesse.
Filtres anti-graisse
NETTOYAGE FILTRES ANTI-GRAISSE METALLIQUES AUTOPORTEURS
- Lavables au lave-vaisse, ils doivent être lavés environ tous les 2 mois d'emploi ou plus fraisment en cas d'emploi particulièrement intense.
- Retirer les filtres l'un après l'autre, en les poussant vers la partie arrrière du groupe et en tirant simultanément vers le bas.
- Laver les filtres en évitant de les plier et les laisser sécher avant de les remonter.
- Remonter les filtres en veillant à ce que la poignée reste vers la partie visible externe

Filtre anti-odeur (Version filtrante)
REEMPLACEMENT Filtre AU CHARBON ACTIF
- Ni lavable, ni régénéerable, le remplacer au moins tous les 4 mois d'emploi ou plus frequently en cas d'emploi particulièrement intense.
- Retirer les filtres anti-graisse métalliques.
- Retirer le filtrte anti-odeur au charbon actif colmaté, en agissant sur les crochets prévus à cet effet.
- Monter le nouveau filtrre anti-odeur au charbon actif.
- Remonter les filtres anti-graisse métalliques.

Eclairage
- Pour le remplacement, contacter le Service après-venture (« Pour l'achat, s'adresser au service après-venture »).
i
Notice Facile