LITHOS CONCRETE - Köögituuluti FABER - Tasuta kasutusjuhend
Leidke seadme juhend tasuta LITHOS CONCRETE FABER PDF-formaadis.
Laadige alla juhend oma Köögituuluti PDF-formaadis tasuta! Leidke oma juhend LITHOS CONCRETE - FABER ja võtke oma elektrooniline seade uuesti kätte. Sellel lehel on avaldatud kõik teie seadme kasutamiseks vajalikud dokumendid. LITHOS CONCRETE kaubamärgi FABER.
KASUTUSJUHEND LITHOS CONCRETE FABER
Teie ohutuse ja seadme Óige töö tagamiseks lugege käesolev käsiraamat enne paigaldamist ja kasutamist hoolikalt LABi. Hoidke need juhised alati seadme juures, isegi kui te seda liigunate võiSELL edasi muüte. Kasutajad peavad täielikult tundma seadme kasutamist ja salle ohutusfunktsioone.

Juhtme ühendamise peab teostama spetsialiseerunud tehnik.
- Tootja ei vastuta mingite kahjustuste eest, mille põhjuseks on ebaõige paigaldamine.
- Minimaalne ohutu vahemaa plidi pinna ja pliidikummi vahel on 650 mm (möned mudelid on paigaldatavad madalamale, palun vaadake toömoötmete ja paigaldamise lõike).
- Kui gaasiplidi paigaldusjuhised märaravad suurema vahemaa, tuleb sellest kinni pidada.
Veenduge, et vooluvorgu pinge vastaks plidikummi sisse kinnitatud andmeplaadil todule. - Fikseeritud juhtmestik peab sisaldama lahti ühendamise meetmeid vastavalt elektritöde eeskirjadele.
- I klassi seadmete puhul veenduge, et majapidamistoide garanteriks adekvaatse maanduse.
- Ühendage pliidikumm tombelööriga vahemalt 120 mm lübimöduga toru abi. Tee lõörini peab olema voimalikult lühike.
- Täidetud peavad olema öhu valjutamisega seotud maärused.
-
Arge ühendage plidikummi põlemisaurusid (boilerid, kaminad jne) kandvate tõmbelõöridega.
-
Kui plidikummi kasutatakse koos mitte-elektriliste seadmetega (nt gaasipliid), tuleb heitgaaside tagasivoolamise vältimiseks tagada ruumis piisav öhuvahetus. Plidikummi kasutamisel koos seadmetega, mille energiaallikaks ei ole elekter, ei tohi ruumi negatiivne rohk ületada 0,04 mbar, et vältna aurude tagasi tombamist ruumi plidikummi poolt.
- Ohku ei tohi valjutada lõör, mida kasutatakse gaasi või teisi kütuseid põletavate seadmete suitsu valjalaskena.
- Kui toitekaabel on kahjustatud, tuleb see asendada tootjalt voi selle hooldusesindajalt saadaval oleva kaabliga.
- Ühendage pistik kehtivatele määrustele vastavasse ligipäasetavas kohas asuvasse pistikupessa.
Seoses suitsväljutamiseks kasutusele vöetavate tehniliste ja ohutusmeetmetega on tähtis tapselt järgida kohalike ametkondande valiastatud maärusi.
HOIATUS: Eemaldage enne plidikummi paigaldamist kaitsekiled.
- Kasutage pliidikummi toetamiseks ainult kruvisid ja väikesi osi.
HOIATUS: Kruvide või kinnitusseadme mitte vastavlt nendele juhistele paigaldamine võib põhjustada elektriohtusid.
- Arge vaadake optiliste seadmete (binoklid, suurendusklaasid...) abil otse valgusesse.
- Arge pliidikummi all flambeerige - tuleoht.
- 8-aastased ja vanemad lapsed ning isikud, kellel on piiratud füusilised, sensoorsed või vaimsed võimed või kellel puuduvad kogemused ja teadmised seadme kasutamise kohta, võivad seda seadet kasutada, kui neid jälgitakse või juhendatakse seadme ohutul kasutamisel ning nad moistavad Sellega seotud ohtusid. Lapsed ei tohi seadmega mängida. Puhastamist ja kasutajapoolset hooldust ei tohi teostada järevalveta lapsed.
Jalgige lapsi ja veenduge, et nad ei mangiks seadmega.
Seade ei ole ette nähtud kasutamiseks isikute poolt (sh lapsed), kellel on vahrenenud füusilised vōi sensoorsed vōimed vōi kellel puuduvad kogemused ja teadmised masina kasutamiseks, v.a. juhul, kui nende üle teostatakse järevalvet vōi neid juhendatakse.
Ligipäasetavad osad vöivad koos toiduvalmistusseadmetega kasutamisel kuumaks minna.
- Määratud perioodi mödumisel puhistage või vahetage filtrid (tuleoht). Vt lõiku Hooldus ja puhistamine.
- Pliidikummi kasutamisel samaegselt gaasi või teisi kutuseid põletavate seadmetega peab olema tagatud ruumi piisav ventilatsioon (ei rakendu seadmetele, mis vãljutavad ùhu ainult tagasi ruumi).
sumbol toote voi selle pakendi peal tahendab seda, et antud toodet ei saa kasi tleda olmeprugina. Selle asemel tuleb see anda üle elektrilise ja elektroonilise varustuse jaatmete umbertootlemisega tegelevale asutusele. Toote ige korvaldamise tagamisega aitate te ara hoida voimalikke negatiivseid tagajargi keskkonnale ja inimestervisele, mis vob vastasel juhul tekkida selle toote vale kasi tlemise kaiigus. Tapsemat tevet selle toote umbertootlemise kohta saate te omalinnakantseleist, olmejaatmete korvaldamise teenistusest voi poest, kust te selle toote ostsite.

Izmēri


Sastavdalas
Teie ohutuse ja seadme Óige töö tagamiseks lugege käesolev käsiraamat enne paigaldamist ja kasutamist hoolikalt LABi. Hoidke need juhised alati seadme juures, isegi kui te seda liigunate võiSELL edasi muüte. Kasutajad peavad täielikult tundma seadme kasutamist ja salle ohutusfunktsioone.

Juhtme ühendamise peab teostama spetsialiseerunud tehnik.
- Tootja ei vastuta mingite kahjustuste eest, mille põhjuseks on ebaõige paigaldamine.
- Minimaalne ohutu vahemaa plidi pinna ja pliidikummi vahel on 650 mm (möned mudelid on paigaldatavad madalamale, palun vaadake toömoötmete ja paigaldamise lõike).
- Kui gaasiplidi paigaldusjuhised märaravad suurema vahemaa, tuleb sellest kinni pidada.
- Veenduge, et vooluvörgu pinge vastaks pliidikummi sisse kinnitatud andmeplaadil toodule.
- Fikseeritud juhtmestik peab sisaldama lahti ühendamise meetmeid vastavalt elektritöde eeskirjadele.
- I klassi seadmete puhul veenduge, et majapidamistoide garanteriks adekvaatse maanduse.
- Ühendage pliidikumm tombelööriga vahemalt 120 mm lübimöduga toru abi. Tee lõörini peab olema voimalikult lühike.
- Täidetud peavad olema öhu valjutamisega seotud maärused.
-
Arge ühendage plidikummi põlemisaurusid (boilerid, kaminad jne) kandvate tõmbelõöridega.
-
Kui pliidikummi kasutatakse koos mitte-elektriliste seadmetega (nt gaasiplidid), tulebheitgaaside tagasivoolamise vältimiseks tagada ruumis piisav öhuvahetus. Pliidikummi kasutamisel koos seadmetega, mille energiaallikaks ei ole elekter, ei tohi ruumi negatiivne rohk ületada 0,04 mbar, et vältna aurude tagasi tombamist ruumi pliidikummi poolt.
- Ohku ei tohi valjutada lõör, mida kasutatakse gaasi või teisi kütuseid põletavate seadmete suitsu vãjalaskena.
- Kui toitekaabel on kahjustatud, tuleb see asendada tootjalt voi selle hooldusesindajalt saadaval oleva kaabliga.
- Ühendage pistik kehtivatele märarustele vastavasse ligipäätasetavas kohas asuvasse pistikupessa.
Seoses suitsu väljutamiseks kasutusele vōetavate tehniliste ja ohutusmeetmetega on tähtis t⁺pset järgida kohlike ametkondande väljastatud määrusi.
HOIATUS: Eemaldage enne plidikummi paigaldamist kaitsekiled.
- Kasutage pliidikummi toetamiseks ainult kruvisid ja väikesi osi.
HOIATUS: Kruvide või kinnitusseadme mitte vastavlt nendele juhistele paigaldamine võib põhjustada elektriohtusid.
- Arge vaadake optiliste seadmete (binoklid, suurendusklaasid...) abil otse valgusesse.
- Arge pliidikummi all flambeerige - tuleoht.
- 8-aastased ja vanemad lapsed ning isikud, kellel on piiratud füusilised, sensoorsed või vaimsed võimed või kellel puuduvad kogemused ja teadmised seadme kasutamise kohta, võivad seda seadet kasutada, kui neid jälgitakse või juhendatakse seadme ohutul kasutamisel ning nad moistavad Sellega seotud ohtusid. Lapsed ei tohi seadmega mängida. Puhastamist ja kasutajapoolset hooldust ei tohi teostada järevalveta lapsed.
Jalgige lapsi ja veenduge, et nad ei mangiks seadmega.
Seade ei ole ette nähtud kasutamiseks isikute poolt (sh lapsed), kellel on vahrenenud füusilised voi sensoorsed voimed voi kellel puuduvad kogemused ja teadmised masina kasutamiseks, v.a. juhul, kui nende üle teostatakse jarevalvet voi neid juhendatakse.
Ligipäasetavad osad vöivad koos toiduvalmistusseadmetega kasutamisel kuumaks minna.
- Määratud perioodi möödumisel puhastage või vahetage filtrid (tuleoht). Vt lõiku Hooldus ja puhastamine.
- Pliidikummi kasutamisel samaaegselt gaasi voi teisi kutuseid põletavate seadmetega peab olema tagatud ruumi piisav ventilatsioon (ei rakendu seadmetele, mis väljutavad òhu ainult tagasi ruumi).
symbol toote voi selle pakendi peal tahendab seda, et antud toodet ei saa kasicleda olmeprugina. Selle asemel tuleb see anda üle elektrilise ja elektronilise varustuse jaatmete umbertootlemisega tegelevale asutusele. Toote ige korvaldamise tagamisega aitate te ara hoida voimalikke negatiivseid tagajargi keskkonnale ja inimesti tervisele, mis voib vastasel juhul tekkida selle toote vale kasiclemise kaiigus. Tapsemat tevet selle toote umbertootlemise kohta saate te om alinnakantseleist, olmejaatmete korvaldamise teenistusest voi poest, kust te selle toote ostsite.
Möödud



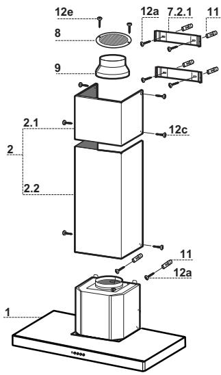
Komponendid
| Viide | Kogus | Toote komponendid |
| 1 | 1 | Pliidikummi korpus koos järgmisega: juhikud, valgusti, puhur, filtrid |
| 2 | 1 | Teleskoopkorsten, mille osadeks on: |
| 2.1 | 1 | Ülemine osa |
| 2.2 | 1 | Alumine osa |
| 8 | 1 | Öhu väljalaskevöre |
| 9 | 1 | Siirdmikäärik ø 150-120 mm |
| Viide | Kogus | Paigalduskomponendid |
| 7.2.1 | 2 | Korstna ülemise osa kinnitusklambrid |
| 11 | 6 | Tüüblid |
| 12a | 6 | Kruvid 4,2 x 44,4 |
| 12c | 6 | Kruvid 2,9 x 6,5 |
| 12e | 2 | Kruvid 2,9 x 9,5 |
Kogus Dokumentatsion
1 Kasutusjuhend

Seina puurimine ja klambri kinnitamine

Seina margistamine:
- Tömmake tugiseinale plidikummi paigaldusala keskele vertikaalne joon laeni voi nii kõrgele kui praktiline.
- Tömmake 650 mm körgusele pliidist horisontaalne joon. Asetage klamber 7.2.1 näidatud viisilseinale 1 - 2mm kaugusele laest vōi ülemisest piirist, joondades keskkoha (salk) vertikaalse viitejoonega.
- Märgistage sein klambri akude keskkohtades.
- Asetage klamber 7.2.1 nāidatud viisil seinale X mm esimesest klambrist allapoole (X = kaasas oleva korstna ülemise osa körgus), joondades keskkoha (salk) vertikaalse joonega.
- Märgistage sein klambri aukude keskkohtades.
- Märgistage näidatud viitepunkt 116 mm vertikaalsest viitejoonest ja 320 mm körgusel horisontaalsest viitejoonest.
- Korrake seda teisel küljel.
- Puurige 8mm augud koikidesse margistatud keskpunktidesse.
- Asetage aukudesse tüüblid 11.
- Kinnitage klambrid kaasas olevate 12a (4,2 x 44,4) kruvidega.
-
Sisestage kaks kaasas olevat kruvi 12a (4,2 x 44,4) pliidikummi korpuse paigaldusavadesse, jattes seina ja kruvi pea vahele 5 - 6mm vahemaa.
-
Enne pliidikummi korpuse kinnitamist pinguldage kaks kruvi Vr , mis asuvad pliidikummi korpuse kinnituspunktides.
Riputage pliidikummi korpus kruvidele 12a. - Pinguldage tugikruvid 12a täielikult.
- Reguleerige kruvid Vr plidikummi korpuse loodi seadmisesk.

Uhendused
TORUSTIKUGA VERSIONONI OHUIMUSUSTEEM
Torustikuga versiooni paigaldamisel ühendage pliidikumm korstnaga painduva voi jiaiga 150 voi 120mm toru abil, selle valik jaab paigaldajale.
- 120 mm ōhuimuühenduse paigaldamiseks sisestage plidikummi korpuse väljundile siirdmikäärik 9.
- Kinnitage toru kohale piisava hulga toruklambrite abil (ei ole kaasas).
- Eemaldage voimalikud söeffiltrid.

RETSIRKULATSIOONIGA VERSIONONI OHUVALJUND
- Lõigake 125 mmava kõigisse pliidikummi kohl asuda voivatesse riulitesse.
- Asetage siirdmikäärik 9 plidiikummi korpuse väljundile.
- Uhendage aärik pliidikummi kohl oleval riiulil väljundiga 120 mm vooliku vöi toru abiL.
- Kinnitage toru kohale piisava hulga toruklambrite abil (ei ole kaasas).
- Kinnitage ðhuväljundi vore 8 retsirkulatsiooniōhu väljundile 2 lisatud kruviga 12e (2,9 x 9,5).
- Kindlustage, et aktivsoeffiltr oleks paigaldatud.

ELEKTRIUHENDUS
- Ühendage pliidikumm vorgutoitega vahemalt 3 mm kontaktivahega kahepooluselise lulitiga.
- Eemaldage rasvafiltrid (vt lōiku Hooldus) veendudes, et toitekaabli ühendus on ventilatori küljele asetatud pessa ōigesti sisestatud.

Korstna koostamine
Ulemine tombekorsten
- Laiendage ülemise korstna kahte külge kergelt ja haakige need klambrite 7.2.1 taha veendudes, et need istuvad*hasti.
- Kinnitage kuljed klambritega 4 kaasas oleva kruviga 12c (2,9 x 9,5).
Alumine tombekorsten
- Laiendage korstna kahte külge kergelt ja haakige need ülemise korstna ja seina vahele veendudes, et need istuvad*hasti.
- Kinnitage alumine osa kulgsuunas pliidikummi korpusega 2 kaasas oleva kruviga 12c (2,9 x 9,5).


Juhtpaneel
NUPP VALGUSDIOOD FUNKTSIOONID
| T1 | Kiirus | Sees | Lülitab mootori sisse esimesel kiirusel. |
| Lülitab mootori ∀lja. | |||
| T2 | Kiirus | Sees | Lülitab mootori sisse teisel kiirusel. |
| T3 | Kiirus | Fikseeritud | Lühikesel vajutusel lülitab mootori sisse kolmandal kiirusel. |
| L | Valgustus | Valgustussüsteemi sisse- ja ∀jalulitamine. |
Hoiatus: Nupp T1 lulitab moitori pärast esmalt esimesele kiirusele lulitamist välja.


Juhtpaneel
| NUPP | VALGUSDIOOD | FUNKTSIOONID | |
| T1 | Kiirus | Sees | Lülitab mootori sisse esimesel kiirusel. |
| Lülitab mootori välja. | |||
| T2 | Kiirus | Sees | Lülitab mootori sisse teisel kiirusel. |
| T3 | Kiirus | Fikseeritud | Lühikesel vajutusel lülitab mootori sisse kolmandal kiirusel. |
| Vilgub | Hoides 2 sekundit. Aktiveerb neljanda kiiruse 6 minutile seatud taimeriga, mille järel pöördub süsteem tagasi eelnevalt seatud kiirusele. Sobib maksimaalsete löhnatasemete käsitsemiseks. | ||
| L | Valgustus | Valgustussüsteemi sisse- ja väljalulitamine. | |
Hoiatus: Nupp T1 lulitab moitori pärast esmalt esimesele kiirusele lulitamist välja.
Rasvafiltrid
METALLIST ISESEISVATE RASVAFILTRITE PUHASTAMINE
- Filtrid tuleb puhastada iga 2 kasutuskuu järel, eriti suurel kasutuskoormusel sagedamini, ning pesta nõudepesumasinas.
- Eemaldage filtrid ükshaaval, surudes neid grupi tagaosa suunas ning samal ajal allapoole tommates.
- Peske filtrid, välttides samal ajal nende painutamist. Laske neil enne uuesti paigaldamist kuivada.
- Filtrite uesti paigaldamisel veenduge, et käepide oleks väljast nahtaval.

Aktivsoeffilter (retsirkulatsooniga version)
AKTIIVSOEEIFILTRVAHETAMINE
- Filter ei ole pestav ega regenererateitav ning tuleb vahetada ligikaudu iga 4 kasutuskuu järel voi eriti suurel kasutuskoormusel sagedamini.
- Eemaldage metallist rasvafiltrid
- Eemaldage kullastunud aktiivsoeffilter, vabastades kinnituskonksud
Paigaldage uus filter, kinnitades selle konksudega khale
Paigaldage metallist rasvafiltrid tagasi.

Valgustusseade
- Vahetamiseks võtke ühendust tehnilise toega ("Ostmiseks võtke ühendust tehnilise toega").

LihtneJuhend