LITHOS CONCRETE - Virtuves nosūcējs FABER - Bezmaksas lietošanas instrukcija
Atrodiet ierīces rokasgrāmatu bez maksas LITHOS CONCRETE FABER PDF formātā.
Lejupielādējiet instrukcijas savam Virtuves nosūcējs PDF formātā bez maksas! Atrodiet savu rokasgrāmatu LITHOS CONCRETE - FABER un atgūstiet kontroli pār savu elektronisko ierīci. Šajā lapā ir publicēti visi dokumenti, kas nepieciešami jūsu ierīces lietošanai. LITHOS CONCRETE zīmola FABER.
LIETOŠANAS INSTRUKCIJA LITHOS CONCRETE FABER
Instrukcijas Grāmata
Naudiojimosi instrukcija
Kasutusjuhend
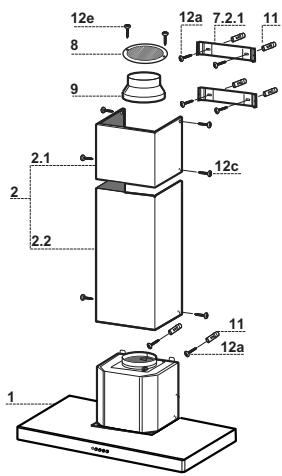
| Ats. | Daudz. | Izstrādājuma sastāvdajas |
| 1 | 1 | Tvaiku nosūcēja korpuss, komplektā ar: vadības elementiem, apgaismojumu, ventilatoru, filtriem |
| 2 | 1 | Izbīdāmais dūmenis, kas sastāv no: |
| 2.1 | 1 | Augšējā dala |
| 2.2 | 1 | Apakšējā dala |
| 8 | 1 | Gaisa izplūdes režóis |
| 9 | 1 | Sašaurināšanas uzmava ø 150-120 mm |
| Ats. | Daudz. | Uzstādīsanas sastāvdaljas |
| 7.2.1 | 2 | Augšejās dūmvada/DDas fiksācijas kronšteini |
| 11 | 6 | Sienas dībelj |
| 12a | 6 | Skrūves 4,2 x 44,4 |
| 12c | 6 | Skrūves 2,9 x 6,5 |
| 12e | 2 | Skrūves 2,9 x 9,5 |
Daudz. Dokumentácia
1 Lietosanas pamaciba

Sienu urbsana un skavu stiprinăsana

Atzimes uz sienes:
- Novelciet vertikalu linju uz balsta sienas lidz griestiem, vai, ja tas ir practiskak, tās vietas centrā, pie kuras atsucëjs tiks uzstādīts.
- Novelciet horizontalu liniju 650 mm virs plits virsmas. Pielieciet skavu 7.2.1 pie sienas kā parādīts apmēram 1-2 mm no gristiem vai augšeja ierobežojuma, salāgojot centru (ierobi) ar vertikālo atsauces liniju.
- Atzimējiet uz sienas skavas atveru centrus.
- Pielieciet skavu 7.2.1 pie sienas kā paradīts par X mm zemāk par pirmo skavu (X = augšejas dūmvada dalas augstums), apvienojot centru (ierobi) ar vertikālo liniju.
- Atzimējiet uz sienas skavas atveru centrus.
- Atzimējiet atsaues punktu kā parādīts, 116 mm no vertikālās atsaues linijas un 320 mm virs horizontalās atsaues linijas.
- Atkartojiet šo darbību otrā puse.
- Izurbiet 8mm atveres atzimetaos centropunktots.
- Levietojiet tapas 11 atveres.
- Fiksejiet skavas, izmantojot komplektā ietvertas 12a skruves (4,2 x 44,4).
-
Ievietojiet divas komplektā ietvertas skruves 12a (4,2 x 44,4) tvaika nosūcēja fiksacijas atverēs, atstājot atstarpi 5-6 mm starp senu un skruves galvinu.
-
Pirms pievienojat atsuceja korpusu, pievelciet divas skruves Vr, kas atrodas korpusa montazas punktos.
Uzakejietkorpusuuzskruvem12a.
Lidz galam pievelciet atbalsta skruves 12a. - Noregulējiet skrūves Vr līdz atsūcēja korpusa limenim.

Savienojums
CAURULVADU VERSIJAS IZPLUDES SISTEMA
Uzstadot caurulvada versiju, pievienojiet nosuceju dumvadam, izmantojot elastigu vai cietu cauruli 150 vai 120~mm , izveli atstajiet uzstaditaja zina.
Lai uzstaditi 120mm gaisa izpludes savienojumu, ievietojiet samazinataja uzmavu 9 tvaika nosuceja korpusa izvade.
- Fiksejiet cauruli ar atbilstošam caurules skavam (nav ietverti).
- Iznemt iespējamos aktivētās ogles filtrus.

RECIRKULACIJAS VERSIJAS IZPLUDE
- Izgrieziet 125 atveri visos plauktos, zem kuriem tiks uzstadits atsucējs.
- Ievietojiet samazinatāja atloci 9 atsūcēja korpusa izvade.
- Savienojiet atloci ar izplūdi plauktā virs atsūcēja ar elastīgu vai cietu φ120 mm cauruli.
- Fiksejiet cauruli ar atbilstošam caurules skavam (nav ietvertas komplektā)
- Piestipriniet izplūdes režgi 8 pie recirkulacijas gaisa izplūdes, izmantojot 2 komplektā ietvertās skruves 12e (2,9 x 9,5).
- Pärliecinieties, ka aktivas oges filtri ir uzstāditi.

ELEKTRISKAIS SAVIENOJUMS
- Pievienojiet elektrotíklam ar divu polu sleža palidzību, kam saskares atstarpe ir vismaz 3 mm.
- Iznemiet tauku filtrus (skatiet sadalu „Apkope”), pärliecinoties, ka padeves kabelis ir pareizi ievietots kontaktligzdā, kas atrodas ventilatora sāns.

Dumvada montaža
Augšejais izpludes dumvads
- Nedaudz paplašiniet augšējā dūmvada abas puses un aizakējiet tās aiz skavām 7.2.1, parliecinoties, ka tās labi piegulst.
- Nostipriniet sānus pie skavām ar 4 komplektā ietilpstošajām skruvēm 12c (2,9 x 9,5).
Apakšejais izplūdes dūmvads
- Nedaudz paplăsiniet augsejā dumvada abas puses un aizakejiet tās starp augsejo dumvadu un sienu, parliecinoties, ka tās labi piegulst.
- Fiksejiet apaksejo dalu skersam nosuceja korpusam, izmantojot 2 komplekta ietilpstosas skruves 12c (2,9 x 9,5).


Vadibas panelis
| TAUSTINS | DIODE | FUNKCIJAS |
| T1 Åtrums | Iesl. | Ieslēdz motoru ar pirmo ātrumu. |
| Izslēdz motoru. | ||
| T2 Åtrums | Iesl. | Ieslēdz motoru ar除外 ātrumu. |
| T3 Åtrums | Fiksēts | Viegli piespiežot, ieslēdz motoru ar trešo ātrumu. |
| L Apgaismojums | Ieslēdz un izslēdz apgaismojuma sistemu. | |
Bridinajums: Ar tausti n T izsledz motoru, izlaiizot pimo a trumu.


Vadibas panelis
| TAUSTIŠ | DIODE | FUNKCIJAS |
| T1 Ātrums | Iesl. | Ieslēdz motoru ar pirmo Ātrumu. |
| Izslēdz motoru. | ||
| T2 Ātrums | Iesl. | Ieslēdz motoru ar otro Ātrumu. |
| T3 Ātrums | Fiksëts | Viegli piespiežot, ieslēdz motoru ar trešo Ātrumu. |
| Mirgo | Piespiests uz 2 sekundëm. | |
| Aktivizë ceturto Ātrumu ar laika slēdzi iestatītu uz 6 minūtëm, pëc tam ieslēdzas ieprieš iestatītais Ātrums. Piemērots darbībām, kad gatavošanas laikā izdalās daudz tvaiku. | ||
| L | Apgaismojums | Ieslēdz un izeslēdz apgaismojuma sistëmu. |
Bridinajums: Ar taustu T1 izsledz motoru, vispirms iesledzot pirmo atrumu.
Tauku filtri
METÁLA PASBALSTOSO TAUKU FILTRU TIRISANA
- Filtri jātīra ik pēc 2 darbības mēnešiem vai biežak, ja ierice tiek intensivi lietota, filtrus var mazgāt trauku mazgājamajā maśina.
- Iznemiet filtrus pa vienam, spiežot tos virzienā uz grupas aizmuguri un vienlaicīgi velkot uz leju.
- Izmazgajet filtrus, uzmanieties, lai nesalocitu. Pirms uzstadisanas rupigi izzavejiet.
- Uzstadot filtrus atpakal, parliecinieties, ka rokturis ir redzams no arpuses.

Aktivētās ogles filtrs (Recirculācijas versija)
AKTIVETAS OGLS FILTRA MAINA
- Filtrs nav mazgajams un nav atjaunojams, to jāmaina apmēram pēc 4 mēnsu darbības vai biežak, ja ierice tiek izmantota intensīvi.
- Nonemiet metala tauku filtrus.
- Iznemiet piesarnotos aktivetas oges filtrus, atlaizot fiksacijas akus.
- Uzstadiet jauno filtru, iekabinot to savā vieta.
- Nonemiet metala tauku filtrus.

Apgaismojuma vieniba
- Par nomainu vérsties tehniskajā atbalsta ("Lai iegūtu tehniskā atbalsta kontaktinformaciju").

VieglaRokasgrāmata