DHK1100 - Hotte DE DIETRICH - Notice d'utilisation et mode d'emploi gratuit
Retrouvez gratuitement la notice de l'appareil DHK1100 DE DIETRICH au format PDF.
| Type d'appareil | Hotte aspirante |
| Fonction principale | Extraction des fumées et odeurs de cuisson |
| Type de moteur | Électrique à induction |
| Puissance moteur | Non précisé |
| Nombre de vitesses | 3 vitesses |
| Niveau sonore | Non précisé |
| Type de filtration | Filtre à graisse métallique |
| Filtre à charbon actif | Optionnel |
| Mode d'évacuation | Évacuation extérieure ou recyclage |
| Dimensions (L x P x H) | Non précisé |
| Matériau | Acier inoxydable |
| Commande | Manuelle ou électronique |
| Éclairage | LED intégré |
| Consommation électrique | Non précisé |
| Installation | Murale ou sous meuble |
| Poids | Non précisé |
FOIRE AUX QUESTIONS - DHK1100 DE DIETRICH
Questions des utilisateurs sur DHK1100 DE DIETRICH
0 question sur cet appareil. Repondez a celles que vous connaissez ou posez la votre.
Poser une nouvelle question sur cet appareil
Téléchargez la notice de votre Hotte au format PDF gratuitement ! Retrouvez votre notice DHK1100 - DE DIETRICH et reprennez votre appareil électronique en main. Sur cette page sont publiés tous les documents nécessaires à l'utilisation de votre appareil DHK1100 de la marque DE DIETRICH.
MODE D'EMPLOI DHK1100 DE DIETRICH
- Consignes de sécurité 11
- Respect de l'environnement 12 Description de votre appareil 12
Montage 13 Raccordement électrique 15
4 / SERVICE APRÈS-VENTE 17
Dans le souci d'une amélioration constante de nos produits, nous nous réservons le droit d'apporter à leurs caractéristiques techniques, fonctionnelles ou esthétiques toutes modifications liées à leur évolution.
Important :
Avant de mettre votre appareil en marche, veuillez lire attentivement ce guide d'installation et d'utilisation afin de vous familiariser plus rapidement avec son fonctionnement.
Important
Conservez cette notice d'utilisation avec votre appareil. Si l'appareil devait être vendu ou cédé à une autre personne, assurez-vous que la notice d'utilisation l'accompagne. Merci de prendre connaissance de ces conseils avant d'installer et d'utiliser votre appareil. Ils ont été rédigés pour votre sécurité et celle d'autrui.
Consignes de sécurité
Cet appareil a été conç articuliers dans leur lieu d'habitation.
- Cet appareil n'est pas prév ersonnes (y compris les enfants) dont les capacités physiques, sensorielles ou mentales sont réduites, ou des personnes dénuées d'expérience ou de connaissance, sauf si elles ont pu bénéficier, par l'intermédiaire d'une personne responsable de leur sécurité, d'une surveillance ou d'instructions préalables concernant l'utilisation de l'appareil. Il convient de surveiller les enfants pour s'assurer qu'ils ne jouent pas avec l'appareil.
- À la réception de l'appareil, déballez-le ou faites-le déballer immédiatement. Vérifiez son aspect général. Faites les éventuelles réserves par écrit sur le bon de livraison dont vous gardez un exemplaire.
Votre appareil est destiné à un usage domestique normal. Ne l'utilisez pas à des fins commerciales ou industrielles ou pour d'autres buts que celui pour lequel il a été conçu.
- Ne modifiez pas et n'essayez eil. Cela représenterait un danger pour vous.
- ées par un spécialiste agréé.
- Débranchetzoudjours la hotte avant de procéder à son nettoyage ou à son entretien.
- Aérez convenablement la pièce en cas de fonctionnement simultané de la hotte et d'autres appare
- s à gaz sans récipients de cuisson, au-dessous de la hotte (les flammes aspirées risqueraient d'endommager l'appareil).
- Les fritures effectuées sous l'appareil doivent faire l ées à très haute température peuvent prendre feu.
- Respectez la fréquence de nettoyage et de remplacement des filtres. L'accumulation de dépôts de graisse risque d'occasionner un incendie.
- Le fonctionnement au-dessus d'un foyer à combustible (bois, charbon...) n'est pas autorisé.
- N'utilisez jamais d'appareils à vapeur ou à haute pression pour nettoyer votre appareil (exigences relatives à la sécurité électrique).
- Dans le souci d'une amélioration constante de nos produits, nous nous réservons le droit d'apporter à leurs caractéristiques techniques, fonctionnelles ou esthétiques toutes modifications liées à l'évolution technique. Afin de retrouver aisément à tout moment les références de votre appareil, nous vous conseillons de les noter en page "Service Après-Vente et Relations Consommateurs". (Cette page vous explique également où les trouver sur votre appareil).
- L'alimentation pour le moteur extérieur se fait par la hotte installée dans la cuisine.
Attention : Les parties accessibles de cet appareil peuvent devenir chaudes lorsqu'il est utilisé avec des appareils de cuisson.
Respect de l'environnement
- Les matériaux d'emballage de cet appare municipaux prévus à cet effet.
- Notre appare eils usagés ne doivent pas être mélangés avec d'autres déchets. Le recyclage des appareils qu'organise votre fabricant sera ainsi réalisé dans les conditions, conformément à la directive européenne 2002/96/CE sur les déchets d'équipements électriques et électroniques. Adressez-vous à votre mairie ou à votre revendeur pour connaître les points de collecte des appareils usagés les plus proches de votre domicile.
- Nous vous remercions pour votre collaboration à la protection de l'environnement.
Attention dans le cas
Dans le cas d'une cuisine chauffée avec un appareil raccordé à une cheminée (ex : poêle), il faut installer la hotte en version recyclage. Ne pas utiliser la hotte sans les filtres cassettes.
Une ventilation convenable de la pièce doit être prévue lorsqu'une hotte de cuisine est utilisée simultanément avec des appareils utilisant du gaz ou un autre combustible.
Description de votre appareil

Ce moteur est conçu pour fonctionner avec les hottes de la marque Brandt et Sauter.
Montage
L'appareil est spécialement étudié pour aspirer les vapeurs et les odeurs de la cuisine le plus efficacement possible et en silence. Il doit être installé à l'intérieur du bâtiment et peut être raccordé à une hotte se trouvant dans la cuisine.

Montez le clapet anti-retour (livré dans la pochette) sur la sortie du moteur (A). Ce clapet anti-retour permet d'obstruer l'entrée d'air venant de l'extérieur.
Enlevez l'adaptateur (B) (sous le moteur) et retournez-le pour le mettre dans son emplacement définitif (C).


Réalisez l'alimentation électrique et percez le trou pour l'évacuation de l'air selon votre configuration (fig.2 ou fig.3).
Installation de votre appareil

Posez le gabarit de perçage sur le sol, percez 4 trous et placez-y les 4 chevilles fournies en équipement.
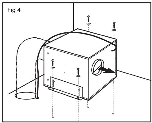
Prendre les 2 étriers métalliques fournis en équipement et les fixer à l'appareil (Fig. 4 ou Fig. 5).
Introduire les 4 plots en caoutchouc (fournis en équipement) dans les trous des étriers (Fig. 6).
Fixez un tuyau coudé au flasque de l'appareil, raccordez-le à votre hotte et effectuez le branchement électrique.
Fixez un tuyau couplé au moteur et raccordez-le à l'extérieur.


- L'appareil doit être débranché pendant l'installation ou dans l'éventualité d'une intervention.
- Vérifiez que la tension du réseau correspond à la tension mentionnée sur la plaque signalétique située à l'intérieur de la hotte.
- Si l'installation électrique de votre habitation nécessite une modification pour le branchement de votre appareil, faites appel à un électricien qualifié.
Conseils utiles :
- Utilisez un tuyau d'évacuation de l'air qui a la longueur minimale indispensable.
- Limitez le nombre de courbes ou d'angles (angle maximal de courbure à respecter).
- Utilisez un matériel approuvé aux termes de la loi.
- Évitez les changements de section (diamètre constant conseillé : 150 mm).
- Faites attention aux instructions pour l'emploi et l'installation de la hotte aspirante.
- En cas de non-respect des instructions susmentionnées, le fournisseur ne répondra pas des problèmes de portée ou de pollution sonore et il n'accordera aucune garantie.
Raccordement électrique
Ce moteur est livré avec un câble de liaison à connecter directement sur la hotte (fig. 1).
Vérifiez que :
- la puissance de l'installation est suffisante,
- les lignes d'alimentation sont en bon état
- Le diamètre des fils est conforme aux règles d'installation.

Si l'installation électrique de votre habitation nécessite une modification pour le branchement de votre appareil, faites appel à un électricien qualifié.
Attention l'installation
L'installation doit être conforme aux règlements en vigueur pour la ventilation des locaux. En France, ces règlements sont indiqués dans le DTU 61.1 du CSTB. En particulier, l'air évacué ne doit pas être envoyé dans un conduit utilisé pour évacuer les fumées d'appareils utilisant du gaz ou autre combustible. L'utilisation de conduits désaffectés ne peut se faire qu'après accord d'un spécialiste compétent.
Anomalies de fonctionnement
| SYMPTOMES | SOLUTIONS |
| Le moteur ne fonctionne pas... | Vérifiez que: • il n'y a pas de coupure de courant. • une vitesse a été effectivement sélectionnée. |
| Le moteur a un rendement insuffisant... | Vérifiez que: • la vitesse moteur sélectionnée est suffisante pour la quantité de fumée et de vapeur dégagée. • la cuisine est suffisamment aérée pour permettre une prise d'air. • le filtré à charbon de la hotte n'est pas usage (hotte en version recyclage) |
| Le moteur s'est arrêtée au cours du fonctionnement | Vérifiez que: • il n'y a pas de coupure de courant. • le dispositif à coupure omnipolaire ne s'est pas enclenché. |

Avant toute intervention, la hotte doit être mise hors tension, soit en retirant la prise, soit en actionnant le disjoncteur.
Pour préserver votre appareil, nous vous recommandons d'utiliser les produits d'entretien Clearit.

L'expertise des professionnels
Au service des particuliers
Clearit vous propose des produits professionnels et des solutions adaptées pour l'entretien quotidien de vos appareils électroménagers et de vos cuisines.
Vous les trouverez en vente chez votre revendeur habituel, ainsi que toute une ligne de produits accessoires et consommables.
Interventions
Les éventuelles interventions sur votre appareil doivent être effectuées par un professionnel qualifié de la marque. Lors de votre appel, mentionnez la référence complète de votre appareil (modèle, type, numéro de série). Ces renseignements figurent sur la plaque signalétique.

| SHK900P | 220-240V - 50Hz 370 W | |
| service: SHK900P1 | type : | |
| Z719XX111 | Mamuf. No 419 | |
| Nr. 10-21-00001 |
Pièces d'origine
Lors d'une intervention d'entretien, demandez l'utilisation exclusive de pièces détachées certifiées d'origine.
chées certifiées d'origine.

- Pour en savoir plus sur tous les produits de la marque :
informations, conseils, les points de vente, les spécialistes après-vente.
- Pour communiquer :
Nous sommes à l'écoute de toutes vos remarques, suggestions et propositions, auxquelles nous vous répondrons personnellement.
Vous pouvez nous écrire :
Service consommateurs
SAUTER
BP 9526
ou nous téléphoner au :
0892 02 88 05*
0,34 € TTC / min à partir d'un poste fixe
⇒ Tarif en vigueur à la date d'impression du document.
- Service fourni par Brandt Customer Services, société par actions simplifiée au capital de 2 500 000 euros, 5/7 avenue des Béthunes, 95310 Saint-Ouen-l'Aumône - RCS Pontoise 440 303 303
Notice Facile