DHK1100 - Basket DE DIETRICH - Free user manual and instructions
Find the device manual for free DHK1100 DE DIETRICH in PDF.
Questions des utilisateurs sur DHK1100 DE DIETRICH
0 question sur cet appareil. Repondez a celles que vous connaissez ou posez la votre.
Poser une nouvelle question sur cet appareil
Download the instructions for your Basket in PDF format for free! Find your manual DHK1100 - DE DIETRICH and take your electronic device back in hand. On this page are published all the documents necessary for the use of your device. DHK1100 by DE DIETRICH.
USER MANUAL DHK1100 DE DIETRICH
Attention: Si I'installa
- RELATIONS CONSOMMATEURS
2 / INSTALLATION AF APPARATET
- Montering 05
- Elektrisk forbindelse 07
3/DRIFTSFEJL 08
4/KUNDESERVICE 09
2 / INSTALLATION AF APPARATET
- MONTERING
DA 2 / INSTALLATION AF APPARATET

2 / INSTALLATION AF APPARATET
DA
- Safety instructions 27
Caring for the Environment 28 - Description of your appliance 28
2 /INSTALLING YOUR APPLIANCE
- Connection 29
- Electrical connection 31
3/TROUBLESHOOTING 32
4/ AFTER-SALES SERVICE 33
As part of our commitment to the constant improvement of our products, we reserve the right to alter their technical, functional and/or aesthetic characteristics as part of their continuous development.
Warning:
Before installing and using your appliance, please read this Installation and Usage Guide carefully, which will allow you to quickly familiarize yourself with its operation.
Warning
Keep this user guide with your appliance. If the appliance is ever sold or transferred to another person, ensure that the new owner receives this user guide. Please familiarise yourself with these instructions before installing and using your oven. They were produced for your safety and the safety of others.
- SAFETY WARNINGS
-
This oven was designed for use by private persons in their homes.
-
This appliance is not intended to be used by persons (including children) with physical, sensory or mental disabilities, or those lacking experience or awareness, unless supervised by someone responsible for their safety or they have received suitable instructions on how to use the appliance from said person. Children should be watched to ensure that they do not play with the appliance.
-
When you receive the appliance, unpack it or have it unpacked immediately. Check its overall condition. Make a note of any concerns or reservations on the delivery slip and make sure that you keep a copy.
-
Your appliance is intended for standard household use. Do not use it for commercial or industrial purposes or for any purpose other than that for which it was designed.
-
Do not modify or attempt to modify any of the characteristics of this appliance. This would be dangerous for your safety.
-
Repairs must only be performed by an approved specialist.
-
Always unplug the hood before cleaning it or performing other maintenance work.
-
Provide adequate ventilation for the room in the case of simultaneous use of the hood and other appliances powered by an energy source other than electricity. This will prevent the hood from aspirating the combustion gases.
-
You should never "flambé" dishes under the hood or operate gas rings under the hood without placing cookware on them (the flames sucked up into the hood can damage the appliance).
-
When frying food under the appliance, you
must carefully monitor the preparation at all times. Oils and grease brought to very high temperatures can catch fire.
- Respect the recommended frequency of cleaning and filter replacements. The accumulation of grease deposits may cause a fire.
- The hood should never be used over a combustible fuel burning stove (wood, coal, etc.).
- Never use steam or high-pressure devices to clean your appliance (requirement imposed by electrical safety concerns).
- As part of our commitment to constantly improving our products, we reserve the right to make changes to them based on technological advances to their technical, functional and/or aesthetic properties.
- In order to easily locate the reference information for your appliance, we recommend that you note these data on the "After-Sales Service Department and Customer Relations" page. (This page also explains to you where to find this information on your appliance.)
- The power supply for the external motor is provided by the hood installed in the kitchen.
Warning
The accessible parts of this appliance can become hot when used with cooking appliances.
EN 1/INFORMATION FOR THE USER
CARING FOR THE ENVIRONMENT
- This appliance comes in recyclable packaging. Please recycle the packaging and help protect the environment by placing it in the recycling bins provided by your local council.

-
Your appliance also contains many recyclable materials. It therefore carries this logo to indicate that used appliances should not be disposed of with other waste. The manufacturer will arrange for the appliance to be recycled properly, in accordance with European directive 2002/96/EC on Waste Electrical and Electronic Equipment. Contact your local council or your retailer to find out details of your closest used appliance collection point.
-
Thank you for helping to protect the environment.
Warning
In the case of a kitchen heated by a device connected to a chimney (a stove, for example) the "recycling" version of the hood should be installed. Do not use the hood without filter cartridges.
Suitable ventilation should be provided in the room when the hood is used at the same time as appliances operated by gas or another combustible fuel.
DESCRIPTION OF YOUR APPLIANCE

This motor is designed to operate with Brandt or Sauter cooker hoods.
ASSEMBLING
The appliance is specially designed to extract steam and smells from the kitchen as silently and efficiently as possible. In must be installed inside the building and can be connected to a cooker hood inside the kitchen.

Mount the non-return valve (delivered in the pocket) to the outlet from the motor (A) This non-return valve blocks the entry of air from the outside.
Remove the adaptor (B)(under the motor) and turn it round to put it in its final location (C).


Connect the appliance to the power supply and drill the hole to remove the air depending on your configuration (fig.2 or fig.3).
EN 2 / INSTALLING YOUR APPLIANCE

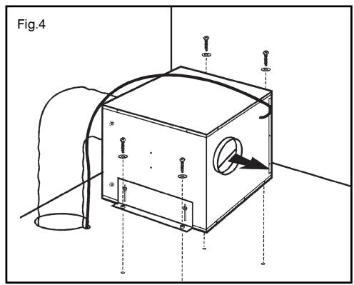
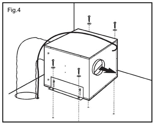
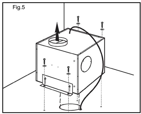
Place the drilling template on the floor, drill 4 holes and insert the 4 plugs supplied.
Take the 2 metal brackets supplied and fix them to the appliance (Fig.4 or Fig.5).
Insert the 4 rubber mountings (supplied) into the holes in the brackets (Fig.6).
Fit a flexible hose to the flange of the appliance, connect it to your hood and carry out the electrical connections.
Fix a flexible hose to the motor and connect to the outside.


2 / INSTALLING YOUR APPLIANCE
EN
- The appliance must be unplugged during installation or when any repair or maintenance work is being carried out.
- Ensure that the network voltage corresponds to the voltage noted on the identification plate located inside the hood.
- If the electrical installation at your residence requires any changes in order to hook up your Appliance, call upon a professional electrician.
Tips:
- The length of the air extraction pipe should be as short as possible.
- Limit the number of curves or angles (maximum angle of curvature 90^ ).
- Use an approved material with the meaning of the law.
- Avoid changes of cross-section (recommended constant diameter 150~mm ).
- Pay attention to the instructions for use and installation of the extraction hood.
- If the abovementioned instructions are not complied with, the supplier will not accept liability for any noise pollution problems and the warranty will be invalid.
ELECTRIC CONNECTION
This motor is delivered with a cable to be connected directly to the hood (fig 1).
Ensure that:
- the electrical installation has sufficient power,
- the electrical wires are in good condition
- the diameter of the conductors complies with the requirements of the installation.


Warning
If the electrical installation in your residence requires any changes in order to hook up your appliance, call upon a professional electrician.

Warning
The hood must be installed in compliance with all applicable regulations concerning the ventilation of premises. In France these regulations are described in DTU 61.1 from the CSTB. In particular, the evacuated air should never be conveyed to a duct used to evacuate smoke from appliances that use gas or other combustible fuels. Unused ducts may only be used after approval from a competent specialist.
EN 3/TROUBLESHOOTING
| SYMPTOMS | SOLUTIONS |
| The motor does not operate... | Ensure that: · The power is not cut off. · A speed has been selected. |
| The motor is not operating effectively... | Ensure that: · The selected motor speed is sufficient for the quantity of smoke and vapours to be cleared. · The kitchen is sufficiently ventilated to allow for fresh air intake. · The carbon filter is not worn (hood operating in recycling mode). |
| The motor has stopped working | Ensure that: · The power is not cut off. · The single-pole cut-off device has not been activated. |

Warning
Before carrying out any work, the power supply to the hood must be turned off, either by unplugging it or by using the circuit breaker switch.
We recommend the use of Clearit cleaning products to maintain your appliance.

Professional expertise working for you at home
Clearit offers professional products and solutions designed for the daily care of your household appliances and kitchens.
They are sold by your usual retailer, along with a complete range of accessories and consumables.
REPAIRS
Any repairs that are made to your appliance must be handled by a qualified professional authorised to work on the brand. When you call, state your appliance's complete reference information (model, type, serial number). This information appears on the manufacturer's nameplate.

| SHK900P | 220-240V - 50Hz 370 W | |
| service: SHK900P1 | type : | |
| Z719XX111 | Mamuf. No 419 | |
| Nr. 10-21-00001 |
ORIGINAL PARTS
During maintenance work, request the exclusive use of certified genuine replacement parts.

ES INDICE
4/SERVICIO POSTVENTA 41
BESCHRIJVING VAN HET APPARAAT

CZ5700403_00 - 06/10
EasyManual