DHK1100 - Cappa da cucina DE DIETRICH - Manuale utente e istruzioni gratuiti
Trova gratuitamente il manuale del dispositivo DHK1100 DE DIETRICH in formato PDF.
Questions des utilisateurs sur DHK1100 DE DIETRICH
0 question sur cet appareil. Repondez a celles que vous connaissez ou posez la votre.
Poser une nouvelle question sur cet appareil
Scarica le istruzioni per il tuo Cappa da cucina in formato PDF gratuitamente! Trova il tuo manuale DHK1100 - DE DIETRICH e riprendi in mano il tuo dispositivo elettronico. In questa pagina sono pubblicati tutti i documenti necessari per l'utilizzo del tuo dispositivo. DHK1100 del marchio DE DIETRICH.
MANUALE UTENTE DHK1100 DE DIETRICH
1/ALL'ATTENZIONE DELL'UTENTE
Istruzioni di sicurezza 43
- Tutela dell'ambiente 44
- Descrizione dell'apparecchio 44
2 / INSTALLAZIONE DELL'APPARECCHIO
Montaggio 55
Collegamento elettrico 47
3/ANOMALIE DI FUNZIONAMENTO 48
4/SERVIZIO POST VENDITA 49
Con il costante scrupolo di migliorare i nostri prodotti, ci riserviamo il diritto di apportare modifiche alle loro caratteristiche tecniche, funzionali o estetiche, paralleamente all'evoluzione tecnica.
Important:
Prima di arrivare l'apparecchio, leggere attendamente questa guida d'installazione e di utilizzo al fine di abituarsi rapidamente al suo funzionamento.
Important
Conservare queste istruzioni d'uso con l'apparecchio. Se l'apparecchio dovesse essere venduto o Ceduto ad altre persone, assicurarsi che sia accompaniesato dalle sue istruzioni. La invitiamo a leggere attendamente questi consigli prima di installare e utilizzare l'apparecchio. Sono stati elaborati per la Susa sicurezza e per quella delle persone che Le stanno vicino.
- ISTRUZIONI DI SICUREZZA
- Questo appearecchio è stato ideato per un uso domestico e privato.
- Questo apparecchio non deve essere utilizzato da persone (compresi i bambini) le cui capacità fisiche, sensoriali o mentali sono limitate o da persona perché esperenza o che non conoscono l'apparecchio, a meno che non siano sotto la sorveglianza di una persona responsable o che abbiano ricevuto le opportune istruzioni sull'utilizzo dell'apparecchio. Si consiglia di sorvegliare i bambini per accertarsi che non giochino con l'apparecchio.
- Alla ricezione dell'apparecchio, estrarlo alla confezione immediatamente. Verificarne le condizioni generali. Mettere per iscritto le eventuali rimostranze sul modulo di consegna di cui dovrà essere conservata una copia.
- Questo appearecchio è destinato escludamente ad un uso privato e non professionale. Non utilizzato l'apparecchio a fini commerciali o industriali o per qualunque altro fine per il quale non è stato ideato.
- Non modificare e non cercare di modificare le caratteristiche tecniche di quello apparecchio. Potrebbe essere pericoloso.
-Le riparazioni devono essere effettuate esclusivamente da un technician autorizzato. - Scollegare sempre la cappa prima di procedere alla pulizia o alla manutenzione.
- Provedere ad arieggiare correttamente la stanza in caso di uso simultaneo della cappa e di altri appearecchi alimentati da una fonte di energia che non sua quale elettrica. Ciò eviterà che la cappa aspiri i gas di combustione.
- É vietato cuocere pietanze fiammeggiate oppure far funzionare i fornelli a gasenza recipienti, molto la cappa (le fiamme aspirate rischierebbbero di deteriorare l'apparecchio).
-Le fritture realizzate除去l'apparecchio
devono essere sorvegliate costamente. Gli oli e i grassi ad altissime temperature posso-no prendere fuoco.
-Rispettare la frequenza di pulizia e di sostituzione dei filtri consigliata. L'accumulo di depositi di grasso cui provocare un incendio.
-Non è permesso l'uso della cappa sopra un fuoco prodotto da legno o carbone.
- Non è permesso utilizzato appearecchi a vapore o ad alta pressione per la pulizia della cappa (norme relative alla sicurezza elettrica).
- Con lo scrupolo di migliorare continuamente i nostri prodotti, ci riserviamo il diritto di apportare qualsiasi modifiche alle loro specifiche tecniche e operative o al design, al passo con le ultime technologie.
- Per ritrovare disponente in futuro i codici prodotto dell'apparecchio, si consiglia di annotarli nella pagina "Servizio post vendita e relazioni con i consumatori". (Questa pagina spiegaanche dove trovare i codici sull'apparecchio).
- L'alimentazione per il motore esterno avvieneattraverso la cappa installata nella cucina.
A Attenzione
Le parti accessibili di questo apparecchio posso sono diventare calde quando è utilizzato con apparecchi di cottura.
IT | 1 / ALL'ATTENZIONE DELL'UTENTE
TUTELA DELL'AMBIENTE
-
I materiali d'imballaggio di quello appearecchio sono riciclabili. Per participare al riciclaggio e contribuire alla tutela dell'ambiente, si consiglia di gettare l'imballaggio negli apposti contentitori messi a disposizione dal comune.
-
L'apparecchio contiene molti materiali riciclabili. Essi sono marcati con quello logo per indicare che gli apparecchi usurati non devono essere smaltiti con i rifiuti urbani. Così facendo, il riciclaggio degli apparecchi organizzato dal costruttore avverrà nelle migliorioni condizioni, conformmente alla direttiva europea 2002/96/CE relativà alla dispersione di apparecchiature elettriche ed elettroniche. Rivolgersi al comune o al rivenditore per conoscere i punti di raccolta per apparecchi usurati più vicini al proprio domicilio.
-
La ringraziamo per la Sua collaborazione alla tutela dell'ambiente.
Attenzione
Nel caso di una cucina riscaldata con un appearecchio collegato ad un camino (es.: stufa), bisogna installare la cappa in versione ricircolo. Non utilizzato la cappa perché i filtri a cassetta.
Una ventilazione corretta della stanza va prevista quando una cappa da cucina è utilizzata simultaneamente ad apparente che utilizzato gas o un'alto combustibile.
DESCRIZIONE DELL'APPARECCHIO

Questo motore è stato ideato per funzionare con le cappe del marchio Brandt e Sauter.
- MONTAGGIO
L'apparecchio è stato appositamente studiato per aspirare i vapori e gli odori della cucina nel modo più efficace e silenzioso possibile. Deve essere installato all'interno dell'edificio e può essere collegato ad una cappa che si trovava nella cucina.

Montare la valvola unidirezionale (fornita nella busta) sull'uscita del motore (A). Questa valvola unidirezionale permette di ostruire l'entrata d'aria proveniente dall'esterno.
Togliere l'adattatore (B) (sotto il motore) e girarlo per metterlo nella sua ubicazione definitiva (C).


Realizzare l'alimentazione elettrica e praticare il foro per l'evacuatione dell'aria secondo la configurazione di cui si dispone (Fig. 2 o Fig. 3).
IT 2 / INSTALLAZIONE DELL'APPARECCHIO

Poggiare la sagoma per praticare i fori sul pavimento, praticare 4 fori e insertirvi i 4 stop in dotazione.
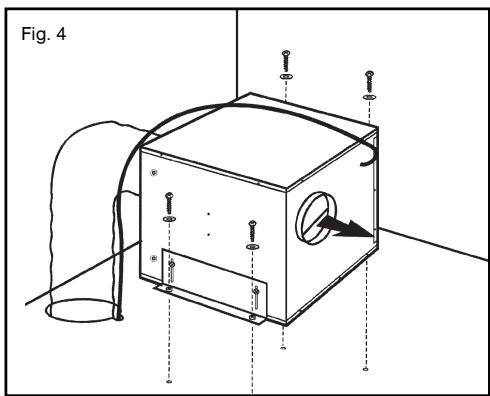
Prendere le 2 staffe metalliche in dotazione e fissarle all'apparecchio (Fig. 4 o Fig. 5).
Introduire i 4 inserti in gomma (in dotazione) nei fori delle staffe (Fig. 6).
Fissare un tubo flessibile alla flangia dell'apparecchio, collegarlo alla cappa ed effettuare l'allacciamento elettrico.
Fissare un tubo flessibile al motore e collegarlo all'esterno.


2 / INSTALLAZIONE DELL'APPARECCHIO
IT
- L'apparecchio deve essere scollegato durante l'installazione o in caso di intervento.
- Verificare che la tensione della rete elettrica corrisponda alla tensione riportata sulla targhetto all'interno della cappa.
- Se l'impianto elettrico della Susa abitazione richiede una modifica per il collegamento dell'apparecchio, si rivolga ad un elettricista qualificato.
Consigli utili:
- Utilizzare un tubo di evacuatione dell'aria che abbia la lunghezza minima indispensable.
- Limitare il numero di curve o di angoli (angolo massimo di curvatura 90^ ).
- Utilizzato un'apparecchiatura conforme alla legge.
- Evitare i cambiamenti di diametro (diametro costante consigliato 150mm ).
- Rispettare le istruzioni per l'uso e l'inistallazione della cappa aspirante.
- In caso di mancato rispetto delle istruzioni summenzionate, il fornitore non rispondere dei problemi di portata o di inquinamento sonoro e non presterà alcuna garanzia.
Questo motore è dotato di un cavò di collegamento da collegare direttamente alla cappa (Fig. 1).
Verificare che:
- la potenza dell'impianto sua sufficiente,
- le linee dell'impianto elettrico siano in buone condizioni,
- il diametro dei fili sua conforme alle normative dell'impiano.

Attenzione Se I'impianto
Se l'impiano elettrico dell'abitazione richiede una modifica per il collegamento dell'apparecchio, rivolgersi ad un elettricista qualificato.
Attenzione L'installazione
L'installatione deve essere conforme alla normativa in vigore per la ventilazione dei locali. In Francia, tali normative sono indicate nel DTU 61.1 del CSTB. In particolare, l'aria evacuata non deve essere inviata in un condotto utilizzato per evacuire i fumi di apparentechi che utilizzano gas o altri combustibile. L'utilizzo di condotti adibiti ad altri uso cui avvenire soltanto dopo parere positivo di un tecnico competente.
| PROBLEMI | SOLUZIONI |
| Il motore non funziona... | Verificare che: · non vi sia interruzione di corrente. · sia stata scelta una velocità. |
| Il motore ha un rendimento scarso... | Verificare che: · la velocità motore selezionata sia sufficiente per la quantità di fumo e di vapore erogata. · la cucina sia sufficientamente arieggiata per consentire una mandata d'aria. · ilhetto a carbone della cappa non sia usurato (cappa con modalità ricircolo). |
| Il motore si è spento nel corso del normale funzionale | Verificare che: · non vi sia interruzione di corrente. · il dispositivo d'interruzione onnipolare non sia scattato. |

Attenzione
Prima di effettuare qualiasi intervento, specnere la cappa disinserendo la spina oppure azionando l'interruttore principale.
Per conservare l'apparecchio a lungo, si consiglia di utilizzato i prodotti Clearit per la sua manutenzione.

L'esperienza dei professionisti
al servizio dei privati
Clearit propone prodotti professionali e soluzioni adatte alla manutenzione quotidiana degli elettrodomestici e delle cucine.
Sono in vendita presso il vostro rivenditore di fiducia insieme alla linea di prodotti accessori e consumabili.
- INTERVENTI
Gli eventuali interventi sull'apparecchio devono essere effettuati da personale qualificato e autorizzato alla ditta depositaria del marchio. Al momento della chiamata,indicare le referenze complete dell'apparecchio (modello, tipo, numero di series). Queste informazioni sono riportate sulla targhetta segnaletica.

| SHK900P | 220-240V - 50Hz 370 W | |
| service: SHK900P1 | type : | |
| Z719XX111 | Mamuf. No 419 | |
| Nr. 10-21-00001 |
PEZZI ORIGINALI
In sede d'intervento di manutenzione, richiedere l'utilizzo esclusivo di pezzi di ricambio
originali certificati.

ManualeFacile