DHK1100 - Capucha DE DIETRICH - Manual de uso y guía de instrucciones gratis
Encuentra gratis el manual del aparato DHK1100 DE DIETRICH en formato PDF.
| Tipo de dispositivo | Campana extractora |
| Función principal | Extracción de humos y olores de cocina |
| Tipo de motor | Eléctrico de inducción |
| Potencia del motor | No especificado |
| Número de velocidades | 3 velocidades |
| Nivel de ruido | No especificado |
| Tipo de filtro | Filtro metálico para grasa |
| Filtro de carbón activo | Opcional |
| Modo de evacuación | Evacuación exterior o recirculación |
| Dimensiones (An x Pr x Al) | No especificado |
| Material | Acero inoxidable |
| Control | Manual o electrónico |
| Iluminación | LED integrado |
| Consumo eléctrico | No especificado |
| Instalación | Montaje en pared o bajo mueble |
| Peso | No especificado |
Preguntas frecuentes - DHK1100 DE DIETRICH
Questions des utilisateurs sur DHK1100 DE DIETRICH
0 question sur cet appareil. Repondez a celles que vous connaissez ou posez la votre.
Poser une nouvelle question sur cet appareil
Descarga las instrucciones para tu Capucha en formato PDF gratis! Encuentra tus instrucciones DHK1100 - DE DIETRICH y toma tu dispositivo electrónico nuevamente en la mano. En esta página están publicados todos los documentos necesarios para el uso de su dispositivo. DHK1100 de la marca DE DIETRICH.
MANUAL DE USUARIO DHK1100 DE DIETRICH
FR 02
DA 10
DE 18
EN 26
ES 34
IT 42
NL 50
SV 58
FR GUIDE D'INSTALLATION & D'UTILISATION
DA INSTALLATIONS-OG BRUGERVEJLEDNING
DE EINBAU- UND GEBRAUCHSANLEITUNG
EN GUIDE TO INSTALLATION & USE
ES GUIA DE INSTALLACION Y UTILIZACION
IT MANUALE PER L'INSTALLAZIONE E L'UTILIZZO
NL INSTALLATIE- EN GEBRUIKSGIDS
SV INSTALLATIONS- OCH ANVÄNDARHANDBOK
Moteur pour Hotte
Motor til emhætte
1 / A LA ATENCIón DEL USUARIO
- Consignas de seguridad 35
- Respeto del medio ambiente 36
- Descripción del aparato 36
2 / INSTALLACION DE SU APARATO
Montaje 37
- Conexión electrónica 39
Con la inquietud de mejor constantemente nuestros productos, nos reservamos el correcho de aportar a sus caracteristicas sociales,ionales o estéticas todas las改动aciones relacionadas con su evolución.
Important:
Antes de poner en marcha el aparato, lea atentamente esta guía de instalación y realización para familiarizarse más rápidamente con su funcionaimiento.
Important
Conserve este manual con el aparato. Si debe vendr o ceder el aparato a othera persona, asegurese de que elmanual deutilizacion va con el. Porfavor,lea theseconsejosantes de instalar yutilizar el aparato. Han sido redactados pensando en su seguidad y la de los demas.
- CONSIGNAS DE SEGURIDAD
-
Este aparato ha sido disnado para ser realizado por particulares en sus domicilioos.
-
Este aparato no está previsto para ser realizado por personas (incluidos los niños) cuyas capacidades físicas, sensoriales o mentales Sean reducidas, o por personas privadas de experiencia o conocimiento, salvo si han podido beneficiarse, a工程技术 de una persona responsable de su seguridad, de una vigilancia o de instrucciones previas concernientes a la utilizacion del aparato. Es acontejalve vigilar a los niños para asegurar de que no juguen con el aparato.
-Cuando reciba el aparato, desembalelo o hagalo desembalar inmediamente. Compruebe su aspecto general. Si tiene reservas que signalar, hagalo por写道 en el albaran de entrega y quedese con un ejemplar.
-Su aparato está destinado a un uso domés-tico normal. No lo utilise con fines commercia-les o industriales o conthers fines que no sean aquellos para los que ha sido Diseñado.
- No modifie o intente modifier las caractéristicas del aparato. Podría suponer un peligro par usted.
-Las reparaciones deben ser realizadas exclusivamente por un especialista autorizada.
- Desconecte siempre la campana extractora antes de limpiarla o realizar el mantenimiento.
-Ventile adecuadamente la habitacion si la campana funciona alismo tiempo queothers aparatos alimentados con una fuente de energia que no sea la electricidad. Ello es para que la campana no aspire los gases de combustion.
- No se pueda flambear alimentos o tener encendidos los fuegos de gas sin ningún recipiente bajo la campana (las llamas aspiradas
podrian deteriorar el aparato).
- Cuando estéfriendodebajo del aparato,deferabigilarloconstantly.Losaceites y grasas calentadas hasta una alta tempera-tura能把 coger fuego.
- Respete la fecuencia de limpieza y cambio de los filtros. La acumulación de depósitos de grasa pourrait provocar un incendio.
- No puede functionar encima de un fuego a base de combustible (madera, carbón).
- No utilise aparatos de vape o a alta presión para limiar el aparato (exigencias relativas a la seguridad electrica).
- Con el deseo de una mejora constante de nuestros productos, nos reservamos el derecho deañadir a sus caracteristicas tíncicas, facuales o estéticas las modificaciones necessarias de sus caracteristicas en relacion a los ultimos avances tíncicos.
- Para que en el futuro encontrar fácilmente las referencias de la placía, le acontejamos que las anote en la网页 "Servicio Técnico y Atencion al Cliente" (Esta頁面 también le explicádonde encontrarlas en el aparato).
-La alimentacion del motor exterior se realiza por la campana instalada en la cucina.
A Atencion
Las partes accesibles de este aparato queden calendar al ser utilizado con apas de cocccion.
ES 1 / A LA ATENCIón DEL USUARIO
- RESPETO DEL MEDIO AMBIENTE
- Los materiales del embalaje de este aparato son reciclables. Participe en su reciclaje y ayude a proteger el medio ambiente llévandalos a los contenedores municipales previstos paraarlo.

-
Su aparato contiene también numerosos materiales reciclables. Por然是 ha sido marcado con este logotipo que indica que los aparatos viejos no se deben mezclar con los demás residuos. De este modo, el reciclaje de los aparatos que organize el fabricante se efectuara en optimas conditiones, de acuerdo con la Directiva Europea 2002/96/CE sobre los residuos de equipos electricos y electrónicos. Pregunte en su ayuntimiento o al vendedor para poder los+puntos de recogida de aparatos viejos más cercanos a su domicilio.
-
Le agradecemos su的合作ación con la protección del medio ambiente.
Atencion Cuando se
: Cuando se trate de una cucina calentada con un aparato connectado a una chimenea (ej.: estufa), hay que instalar la campana en modo reciclaje. No utilise la campana sin los filtres modulares.
Hay que prever una ventilación adecuada cuando se usa una campana extractor de cocina al mesmo tiempo que otros aparatos que funciona con gas u otro combustible.
DESCRIPCION DE SU APARATO

Este motor está diseñado para functionar con las campanas demarca Brandt y Sauter.
- MONTAJE
El aparato está especialmente Diseñado para aspirar los vapeores y oleres de la comida lo más eficazmente possible y en silencio. Se debe instalar bajo del edificio y se pueda conectar a una campana que se encontrar en la comida.

Monte la valvula de retencion (includa en la Bolsa) en la salute del motor (A).Esta valvula de retencion permite obstrir la entrada de aire procedente del exterior.
Retire el adaptor (B) (bajo el motor) y girelo para colocarlo en su emplazimiento definitivo (C).


Realice la alimentación electrica y haga un orificio para la evacuación del aire según su configuración (fig.2 o fig.3).
ES 2 / INSTALLACION DE SU APARATO

Coloque la plantilla de taladrado sobre el sueño, haga 4 orificios y coloque los 4 tacos que se incluyen en el equipuesto.
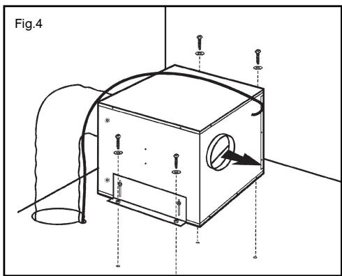
Coja los 2 soportes metálicos que se incluyen con el equipimiento y sujetelos al aparato (Fig.4 o fig.5).
Introduzca los 4 tacos de goma (incluidos con el equipuesto) en los orificios de los soportes (Fig.6).
Sujete un tubo flexible a la placal del aparato, conectelo a su campana y realize la connexion electrica.
Sujete un tubo flexible al motor y conectelo en el exterior.


2 / INSTALLACION DE SU APARATO
ES
- El aparato debe estar desconectado al instalarlo o al realizarrialquier intervencion en el.
- Compruebe que la tension de la red corresponde a la tension indicada en la plac de caractéristicas que se enquiryra en el interior de la campana.
- Si la instalacion electrica de su campana obliga a efectuar una modificacion para poder conec-. tar el aparato, llame a un electricistariallicado.
Consejos de uso:
-Elija un tubo de evacuation del aire que tengla la longitud minima imprescindible.
- Limite el numero de curvas o de ángulos (ángulo máximo de curvatura 90^ ).
- Utilice un material acorde con las normas legales.
- Evite losCambios de seccion (diametro constante aconsejado de 150mm
- Siga las instrucciones de uso e instalacion de la campana extractora.
- Si no se respetaran las instrucciones arriba indicadas, el proveedor no responderá a los problemas de alcance o de contaminación sonora quecoulda haber ni asumirásingular garantía.
- CONEXION ELECTRICA
Este motor se suministra con un cable para conectarlo directamente a la campana (fig.1).
Compruebe que:
- la potencia de la instalacion es suficiente,
- las lineas de alimentacion está en buena estado
- el diametro de los cables es conforme con las normas de instalacion.

Atencion Si la instala
Si la instalación electrica de su campana obliga a efectuar una modificacion para poder conectar el aparato, llama a un electricistaequalificado.
Atencion La instalaci
La instalacion debe ser conforma a las normativas vigentes para la ventilacion de los locales. En Francia, dichas normativasienen indicadas en el DTU 61.1 del CSTB. En particular, el aire evacuado noderabad se enviado a un conductoremploi para evacuar humos de aparatos queutilicen gas u other combustible. Los conductos en desuso soloueneden usefulados con el acuerdo de un especialista competente.
| SINTOMAS | SOLUTIONES |
| El motor no funciona... | Compruebe que: • no hay un corte de corriente. • se ha selección una velocidad. |
| El rendimiento del motor es insufiente... | Compruebe que: • la velocidad del motor que ha selecciónado es suficiente para la calidad de homo y el vapor de agua producido. • la cucina está suficientamente ventilada para que pueda entrada aire. • el filtro de carbono de la campana no está gastado (campana en version reciclaje) |
| El motor se ha parado@msteadas estarafuncionado | Compruebe que: • no hay un corte de corriente. • no se ha activado el dispositivo de corte omnipolar. |
Atencion Ante de re
7: Antes de realizarrialquier intervencion,debera dejar la campana sin tension,bien desenchufandola o bien actionando el disyuntor.
Para Maintener en buena estado su aparato, le1 recomendamos que'utilice los productos de limpieza Clearit.

La percia de los profesionales al service de los particulares
Clearit le propone productos profesionales y SOLUTIONES adecuadas para el mantenimiento cotidiano de sus aparatos electrodomesticos y su cucina.
LosURTARo en laventa en su distribuidor habitual, unto con toda una linea de produc-los accesos y consumibles.
- INTERVENTIONES
Las eventuales intervenciones sobre su aparato deben ser efectuadas por un profesionalrialificado depositario de lamarca. Cuando realice su llamada, Mentione la referencia completa del aparato (modelo, tipo y numero de series). Estas informaciones figuran en la placar decharacteristicas (fig.1).

| SHK900P | 220-240V - 50Hz 370 W | |
| service: SHK900P1 | type : | |
| Z719XX111 | Mamuf. No 419 | |
| Nr. 10-21-00001 |
PIEZAS ORIGINALES
Al realizar una intervencion de mantenimiento, Solicite el uso exclusivo de piezas de recambio certificadas originales. PIECE

ManualFácil