BHG 500W - Verwarming AEG - Gratis gebruiksaanwijzing en handleiding
Vind de handleiding van het apparaat gratis BHG 500W AEG in PDF-formaat.
Gebruikersvragen over BHG 500W AEG
0 vraag over dit apparaat. Beantwoord die u kent of stel uw eigen vraag.
Stel een nieuwe vraag over dit apparaat
Download de handleiding voor uw Verwarming in PDF-formaat gratis! Vind uw handleiding BHG 500W - AEG en neem uw elektronisch apparaat weer in handen. Op deze pagina staan alle documenten die nodig zijn voor het gebruik van uw apparaat. BHG 500W van het merk AEG.
GEBRUIKSAANWIJZING BHG 500W AEG
Bediening en installatie 22
- Algemene aanwijzingen....23
- Veiligheid....23
- Toestelbeschrijving....24
- Bediening 24
- Reiniging, verzorging en onderhoud 25
- Problemen verhelpen....25
INSTALLATIE
- Veiligheid....25
- Toestelbeschrijving....25
- Montage 25
- Elektrische aansluiting....26
- Storingen verhelpen....26
- Overdracht van het toestel....26
- Technische gegevens 27
GARANTIE
MILIEU EN RECYCLING
BIJZONDERE INFO
- Houd kinderen jonger dan 3 jaar uit de buurt van het toestel als er niet voortdurend toezicht is.
- Het toestel kan door kinderen van 3 tot 7 jaar worden in- en uitgeschakeld als er toe-zicht op hen gehouden wordt, of wanneer ze met betrekking tot het veilige gebruik van het toestel geïnstrueerd zijn en de gevaren die daaruit ontstaan, begrepen hebben. Voorwaarde hiervoor is dat het toestel zoals beschreven is gemonteerd.
3- tot 7-jarige kinderen mogen niet de stekker in het stopcontact steken en mogen het toestel niet regelen. -
Het toestel kan door kinderen vanaf 8 jaar, alsmede door personen met verminderde fysieke, sensorische of geestelijke vermogens of met een gebrek aan ervaring en kennis gebruikt worden, wanneer er toezicht op hen gehouden wordt, of wanneer ze met betrekking tot het veilige gebruik van het toestel geïnstrueerd zijn en de gevaren die daaruit ontstaan, begrepen hebben.
-
Kinderen mogen niet met het toestel spelen. Kinderen mogen zonder toezicht geen reiniging of gebruikersonderhoud uitvoeren.
- Delen van het toestel kunnen zeer heet worden en brandwonden veroorzaken.
Als er kinderen en hulpbehoevenden aanwezig zijn, is extra voorzichtigheid geboden. - Plaats het toestel niet direct onder een stopcontact.
• Bij een vaste aansluiting moet het toestel met een afstand van ten minste 3 mm op alle polen van het stroomnetwerk kunnen worden losgekoppeld. - De elektriciteitskabel mag bij beschadiging of vervanging alleen worden vervangen door het originele onderdeel en door een installateur die daartoe door de fabrikant gemachtigd is.
- Monteer het toestel zoals beschreven in het hoofdstuk "Installatie/montage".
BEDIENING
1. Algemene aanwijzingen
Het hoofdstuk "Bediening" is bedoeld voor de gebruiker van het toestel en voor de installateur.
Het hoofdstuk "Installatie" is bestemd voor de installateur.

Info
Lees deze handleiding voor gebruik zorgvuldig door en bewaar deze op een veilige plaats.
Overhandig de handleiding in voorkomende gevallen aan een volgende gebruiker.
1.1 Veiligheidsaanwijzingen
1.1.1 Structuur veiligheidsaanwijzingen

TREFWOORD Soort gevaar
Hier staan mogelijke gevolgen, wanneer de veiligheidsaanwijzing wordt genegeerd.
» Hier staan maatregelen om het gevaar af te wen- den.
1.1.2 Symbolen, soort gevaar
| Symbool Soort | gevaar |
| Letsel | |
| Elektrische schok | |
| Verbranding(Verbranding, verschroeiing) |
1.1.3 Trefwoorden
| TREFWOORD Betekenis | |
| GEVAAR Aanwijzingen die leiden tot zwaar letsel of overlijden, wanneer deze niet in acht worden genomen. | |
| WAARSCHU-WING | Aanwijzingen die kunnen leiden tot zwaar letsel of overlijden, wanneer deze niet in acht worden genomen. |
| VOORZICHTIG | Aanwijzingen die kunnen leiden tot middelmatig zwaar of licht letsel, wanneer deze niet in acht worden genomen. |
1.2 Andere aandachtspunten in deze documentatie

Info
Algemene aanwijzingen worden aangeduid met het symbool dat hiernaast staat.
» Lees de aanwijzingsteksten grondig door.
| Symbool Betekenis | |
| Materiële schade(toestel-, gevolg-, milieuschade) | |
| Het toestel afdanken | |
» Dit symbool geeft aan dat u iets moet doen. De vereiste handelingen worden stapsgewijs beschreven.
1.3 Maateenheden

Info
Tenzij anders wordt vermeld, worden alle maten in millimeter aangegeven.
2. Veiligheid
2.1 Voorgeschreven gebruik
Het toestel is een elektrisch convectieverwarmingstoestel voor wandmontage.
Het toestel is geschikt als overgangsverwarming of aanvullende verwarming in de badkamer en voor het drogen van badjassen en badhanddoeken.
Het toestel is bestemd voor gebruik in een huishoudelijke omgeving. Het kan veilig bediend worden door personen die daarover niet geïnstrueerd zijn. Het toestel kan eveneens buiten een huishouden gebruikt worden, bv. in het kleinbedrijf, voor zover het op dezelfde wijze gebruikt wordt.
Elk ander gebruik geldt niet als gebruik conform de voorschriften. Tot gebruik conform de voorschriften behoort ook het in acht nemen van deze handleiding evenals de handleidingen voor de gebruikte accessoires.
2.2 Algemene veiligheidsaanwijzingen

WAARSCHUWING letsel
° Houd kinderen jonger dan 3 jaar uit de buurt van het toestel als er niet voortdurend toezicht is.
- Het toestel kan door kinderen van 3 tot 7 jaar worden in- en uitgeschakeld als er toezicht op hen gehouden wordt, of wanneer ze met betrekking tot het veilige gebruik van het toestel geïnstrueerd zijn en de gevaren die daaruit ontstaan, begrepen hebben. Voorwaarde hiervoor is dat het toestel zoals beschreven is gemonteerd. 3- tot 7-jarige kinderen mogen niet de stekker in het stopcontact steken en mogen het toestel niet regelen.
- Het toestel kan door kinderen vanaf 8 jaar, alsmede door personen met verminderde fysieke, sensorische of geestelijke vermogens of met een gebrek aan ervaring en kennis gebruikt worden, wanneer er toezicht op hen gehouden wordt, of wanneer ze met betrekking tot het veilige gebruik van het toestel geïnstrueerd zijn en de gevaren die daaruit ontstaan, begrepen hebben.
- Kinderen mogen niet met het toestel spelen. Kinderen mogen zonder toezicht geen reiniging of gebruikersonderhoud uitvoeren.

Delen van het toestel kunnen zeer heet worden en brandwonden veroorzaken. Als er kinderen en hulp-behoevenden aanwezig zijn, is extra voorzichtigheid geboden.

Info
Gebruik het toestel uitsluitend als het volledig ge-installeerd is en als alle veiligheidsvoorzieningen aangebracht zijn.
3. Toestelbeschrijving
Het toestel is als aanvullende verwarming vooral geschikt in de badkamer en voor het drogen van badjassen en badhanddoeken. U kunt uw badhanddoeken op verschillende niveaus uitspreiden.
Het toestel verwarmt de ruimte via natuurlijke convectie en stralingswarmte. De ingebouwde kamerthermostaat houdt de kamertemperatuur constant op de ingestelde waarde. Voorwaarde hiervoor is dat het verwarmingsvermogen van het toestel voldoet aan de warmtebehoefte van de ruimte. Dat geldt alleen, wanneer er geen badhanddoeken of badjassen op het toestel hangen.
Met de boostfunctie kan het toestel 2 uur lang met vol vermogen worden ingeschakeld zonder temperatuurregeling. U kunt het starttijdstip programmeren waarop het toestel dagelijks automatisch inschakelt.
Het toestel is bedrijfsklaar, nadat het aan de wand is bevestigd en de stekker in het stopcontact is gestoken.
4. Bediening
4.1 Beschrijving van het bedieningspaneel
U bedient het toestel via het bedieningspaneel.

text_image
1 2 3 4 5 26_07_80_00501 Bedrijfslampje
2 Verwarmingslampje
3 Thermostaatknop
4 Stand "24h auto"
5 Bedrijfskeuzeknop
4.2 Toestel inschakelen
» Zet de bedrijfskeuzeknop in de stand "ON".
» Stel met de thermostaatknop de gewenste kamertemperatuur in. U kunt een temperatuur instellen tussen 10 °C en 30 °C.
Het verwarmingslampje gaat branden, zodra het toestel de ruimte verwarmt. Het verwarmingslampje dooft, zodra de met de thermostaatknop ingestelde temperatuur is bereikt.

Info
Wanneer er verschillende toestellen in een kamer beschikbaar zijn, is het mogelijk op elk toestel een afzonderlijke temperatuur in te stellen.

Info
Het toestel moet bij open vensters worden uitgeschakeld om een te hoog stroomverbruik te voorkomen.
4.3 2h boostfunctie
Activeren
» Schakel het toestel in.
» Druk ongeveer één seconde op de bedrijfskeuzeknop.
De bedrijfslampje en het verwarmingslampje gaan branden. Het toestel verwarmt gedurende 2 uur op vol vermogen.
Na 2 uur gaat het toestel terug naar de normale werking met de thermostaatknop. De bedrijfslampje en het verwarmingslampje doven.
Uitschakelen
» Druk ongeveer één seconde op de bedrijfskeuzeknop.
De bedrijfslampje en het verwarmingslampje doven. Het toestel keert terug naar normaal bedrijf met thermostaat-knop.
4.4 De functie 24h auto
De functie 24h auto voert de 2h boostfunctie automatisch steeds na 24 uur uit.
Activeren
Zet de bedrijfskeuzeknop helemaal naar rechts in de stand "24h auto".
De bedrijfslampje en het verwarmingslampje gaan branden. Het toestel verwarmt gedurende 2 uur op vol vermogen.
Na 2 uur gaat het toestel terug naar de normale werking met de thermostaatknop. De bedrijfslampje en het verwarmingslampje doven.
De 2h boostfunctie wordt de daarop volgende dag 45 minuten voor het moment waarop u het toestel in de stand "24h auto" hebt gesteld, ingeschakeld.
Voorbeeld:
U wenst dat de badkamer om 7:00 uur 's morgens opgewarmd is op het gewenste temperatuurniveau.
» Zet op de eerste ochtend om 7:00 uur 's morgens de bedrijfskeuzeknop op "24h auto".
Het toestel verwarmt de badkamer meteen met de 2h boostfunctie. De volgende dag wordt de 2h boostfunctie automatisch om 6:15 uur ingeschakeld, zodat de badkamer om 7:00 uur aangenaam warm is.
Onderbreken
U kunt de 2h boostfunctie op elk gewenst moment onderbreken zonder het starttijdstip te wijzigen.
» Druk ongeveer één seconde op de bedrijfskeuzeknop.
De bedrijfslampje en het verwarmingslampje doven. Het toestel keert terug naar normaal bedrijf met thermostaat-knop.
Een dag later zal de boostfunctie weer op het ingestelde tijdstip starten.
Uitschakelen
» Zet de bedrijfskeuzeknop naar links in de stand "ON".
De bedrijfslampje en het verwarmingslampje doven. Het toestel keert terug naar normaal bedrijf met thermostaat-knop.
4.5 Kinderbeveiliging
Met deze functie wordt voorkomen dat de instelling voor temperatuur per ongeluk wordt gewijzigd.
Als de kinderbeveiliging is ingeschakeld, functioneren de bedrijfskeuzeknop en de thermostaatknop niet meer. Als u dan toch aan de bedrijfskeuzeknop of de thermostaat-knop draait, knippert het bedrijfslampje.
Activeren
» Druk langer dan drie seconden op bedrijfskeuzeknop.
Het bedrijfslampje licht vijf keer kort achter elkaar op ten teken dat de kinderbeveiliging is ingeschakeld.
U kunt de 2h boostfunctie zoals gewoonlijk gebruiken wanneer de kinderbeveiliging geactiveerd is.
Uitschakelen
» Druk langer dan drie seconden op bedrijfskeuzeknop.
Het bedrijfslampje licht vijf keer kort achter elkaar op ten teken dat de kinderbeveiliging is uitgeschakeld.
4.6 Buitendienststelling
» Schakel het toestel uit door de bedrijfskeuzeknop naar de stand "OFF" te draaien.
Het bedrijfslampje dooft.
» Trek de stekker uit het stopcontact.
5. Reiniging, verzorging en onderhoud
Reinig de oppervlakken met een zachte doek met de klassieke onderhoudsproducten, wanneer het toestel is afgekoeld.

Info
Vermijd schurende en bijtende onderhoudsproducten.
6. Problemen verhelpen
6.1 Storingstabel
| Storing Oorzaak Oplossing | ||
| De verwarmde lucht heeft een on-aangename geur. | Bij het eerste gebruik kan dit door stof wor-den veroorzaakt. | Na een paar minuten ver-dwijnt de geur. |
| Het toestel ver-warmt niet. | De zekering is geac-tiveerd. | Schakel de zekering op-nieuw in. |
| Het toestel ver-warmt continu. | Het toestel is bloot-gesteld aan een con- tinue tochtstroom. | Verhelp het probleem van de tocht. |
| De instelling voor de temperatuur is ge-wijzigd. | Stel met de thermostaat-knop de gewenste tempe-ratuur in. | |
| Er is een storing in het elektriciteitsnet. | Koppel het toestel 10 minuten los van het elek-triciteitsnet en sluit het dan weer aan. Laat uw elektri-sche installatie controleren door de energiemaat-schappij, als het probleem regelmatig optreedt. | |
| De functie 24h auto wordt niet uit-gevoerd. | Er is een stroomsto-ring geweest. | Stel de functie 24h auto opnieuw in. |
| De instelling van de bedrijfskeuzeknop is gewijzigd. | Stel de functie 24h auto opnieuw in. | |
| De instelling voor zomer-/wintertijd is gewijzigd. | Stel de functie 24h auto opnieuw in. | |
| De bovenste en onderste elementen zijn minder warm dan de rest van het toestel. | De bovenste elementen zijn niet volledig gevuld. | Bij verhitting zet het ther-modynamische medium uit. Het duurt iets langer voordat deze elementen warm worden. |
| Er komen vlekken op de muur rond-om het toestel. | De vlekken worden veroorzaakt door verontreiniging van de lucht in de ruimte (kaarsen, sigaretten-rook, slechte ventilatie, enz.). | Vermijd verontreiniging van de lucht in het vertrek. |
Waarschuw de installateur als u de oorzaak zelf niet kunt verhelpen. Hij kan u sneller en beter helpen als u hem het nummer op het typeplaatje doorgeeft (000000-0000-000000).
Het typeplaatje bevindt zich rechts onder op het toestel.
INSTALLATIE
7. Veiligheid
Installatie, ingebruikname, evenals onderhoud en reparatie van het toestel mogen alleen door een gekwalificeerde installateur uitgevoerd worden.
7.1 Algemene veiligheidsaanwijzingen
Wij waarborgen de goede werking en de bedrijfszekerheid uitsluitend bij gebruik van originele onderdelen en vervangingsonderdelen voor het toestel.
72 Voorschriften, normen en bepalingen

Info
Neem alle nationale en regionale voorschriften en bepalingen in acht.
8. Toestelbeschrijving
8.1 Inhoud van het pakket
- Bevestiging op de muur met bevestigingsmateriaal
- 2 badjashouders
Het toestel wordt stekkerklaar geleverd.
9. Montage
9.1 Montageplaats

Materièle schade
Houd rekening met de minimumafstanden in het hoofdstuk "Technische gegevens".

Materièle schade
Bevestig het toestel op een verticale wand die bestand is tegen een temperatuur van minstens 80 °C.

Materièle schade
Installeer het toestel niet direct onder een stopcontact.
9.2 Wandmontage

Info
Houd rekening met de afmetingen en de minimum-afstanden in het hoofdstuk "Technische gegevens".
» Boor de gaten en plaats pluggen.

1 Schroef van de houder
2 Wandhuls
3 Borgschroef
4 Houder
5 Afdekkap

Zorg voor een juiste uitlijning van de wandhulzen.
» Schroef de wandhulzen op de wand.
» Monteer de houders op de geleider. Zet de houders nog niet vast.

»Monteer de muurbevestiging. Hou daarbij rekening met de positie van de sleuven. De sleuf moet telkens omhoog of omlaag wijzen.

» Plaats het toestel op de muurbevestiging.
» Draai de schroeven vast om het toestel te fixeren.
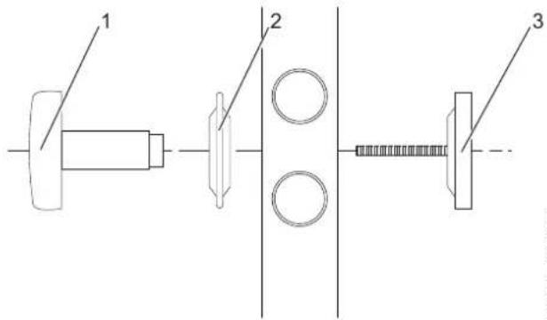
9.3 Montage badjashouders

1 Badjasknop
2 Onderlegschijf
3 Schroef voor de badjasknop
» Monteer de badjashouder, zoals is afgebeeld.
10. Elektrische aansluiting

WAARSCHUWING elektrische schok Installeer een inbouwcontactdoos in vochtige ruim- tes, zoals badkamers en keukens, minstens 25 cm boven de vloer.

WAARSCHUWING elektrische schok Gebruik het toestel niet met een verlengkabel of een meervoudig stopcontact.

Materiële schade Het toestel moet op alle polen met een afstand van minstens 3 mm van de aansluiting van het net kunnen worden losgekoppeld. Daarvoor kunnen magneetschakelaars, verbreekschakelaars, zekeringen e.d. gebruikt worden. Installatie met een directe vaste aansluiting op het elektriciteitsnet is niet toe-gestaan.

Materiële schade Neem de gegevens op het typeplaatje in acht. De aangegeven spanning moet overeenkomen met de netspanning.

Info Voer alle werkzaamheden voor elektriciteitsaansluitingen en montage uit conform de nationale en regionale voorschriften.

Info Let erop dat op een afstand van minstens 10 cm naast het toestel een geaard stopcontact of een toestelaansluitdoos voor vaste aansluiting is geïnstalleerd.
11. Storingen verhelpen
De netkabel mag alleen worden vervangen door originele vervangingsonderdelen door een vakman.
12. Overdracht van het toestel
» Leg aan de gebruiker uit hoe het toestel werkt.
» Schenk daarbij vooral aandacht aan de veiligheidsaanwijzingen.
» Geef de bedienings- en installatiehandleiding aan de gebruiker.
13.2 Minimumafstanden

text_image
≥150 ≥150 ≥200D0000026163
13.3 Gegevenstabel
| BHG 500 W | BHG 750 W | BHG 750 C | BHG 1000 W | ||
| 236572 | 231950 | 231951 | 233861 | ||
| Elektrische gegevens | |||||
| Netaansluiting | 1/N ~ 230/240 V | 1/N ~ 230/240 V | 1/N ~ 230/240 V | 1/N ~ 230/240 V | |
| Aansluitvermogen | kW | 0,5 | 0,75 | 0,75 | 1,0 |
| Afmetingen | |||||
| Hoogte | mm | 998 | 1453 | 1658 | 1781 |
| Breedte | mm | 480 | 480 | 600 | 550 |
| Diepte | mm | 100 | 115 | 110 | 115 |
| Gewichten | |||||
| Gewicht | kg | 12 | 16 | 24 | 30 |
| Uitvoeringen | |||||
| Vorstbeschermstand | °C | 6 | 6 | 6 | 6 |
| Beschermingsgraad (IP) | IP24 | IP24 | IP24 | IP24 | |
| Beschermingsklasse | II | II | II | II | |
| Kleur | verkeers-wit, RAL 9016 | verkeers-wit, RAL 9016 | Chroom | verkeers-wit, RAL 9016 | |
| Waarden | |||||
| Instelbereik | °C | 6-30 | 6-30 | 6-30 | 6-30 |
Garantie
Voor toestellen die buiten Duitsland zijn gekocht, gelden de garantievoorwaarden van onze Duitse ondernemingen niet. Bovendien kan in landen waar één van onze dochtermaatschappijen verantwoordelijk is voor de verkoop van onze producten, alleen garantie worden verleend door deze dochtermaatschappij. Een dergelijk garantie wordt alleen verstrekt, wanneer de dochtermaatschappij eigen garantievoorwaarden heeft gepubliceerd. In andere situaties wordt er geen garantie verleend.
Voor toestellen die in landen worden gekocht waar wij geen dochtermaatschappijen hebben die onze producten verkopen, verlenen wij geen garantie. Een eventueel door de importeur verzekerde garantie blijft onverminderd van kracht.
Milieu en recycling
Wij verzoeken u ons te helpen ons milieu te beschermen. Doe de materialen na het gebruik weg overeenkomstig de nationale voorschriften.
ZVLÁŠTNÍ POKYNY
OBSLUHA
1702 Groot-Bijgaarden
Tel. 02 42322-22
Fax 02 42322-12
Czech Republic
STIEBEL ELTRON spol. s r.o.
K Hájům 946
SimpelGids