BHG 500W - Heizung AEG - Kostenlose Bedienungsanleitung
Finden Sie kostenlos die Bedienungsanleitung des Geräts BHG 500W AEG als PDF.
Benutzerfragen zu BHG 500W AEG
0 Frage zu diesem Gerät. Beantworten Sie die, die Sie kennen, oder stellen Sie Ihre eigene.
Eine neue Frage zu diesem Gerät stellen
Laden Sie die Anleitung für Ihr Heizung kostenlos im PDF-Format! Finden Sie Ihr Handbuch BHG 500W - AEG und nehmen Sie Ihr elektronisches Gerät wieder in die Hand. Auf dieser Seite sind alle Dokumente veröffentlicht, die für die Verwendung Ihres Geräts notwendig sind. BHG 500W von der Marke AEG.
BEDIENUNGSANLEITUNG BHG 500W AEG
Bedienung und Installation 2
Bathroom Radiator
- Allgemeine Hinweise....2
- Sicherheit .... 3
- Gerätebeschreibung .... 3
- Bedienung 4
- Reinigung, Pflege und Wartung......5
- Problembehebung 5
INSTALLATION
- Sicherheit ....5
- Gerätebeschreibung 5
- Montage 5
- Elektrischer Anschluss 6
- Störungsbehebung....6
- Übergabe des Gerätes 6
- Technische Daten....7
KUNDENDIENST UND GARANTIE
UMWELT UND RECYCLING
BESONDERE HINWEISE
- Halten Sie Kinder unter 3 Jahren von dem Gerät fern, wenn keine ständige Beaufsichtigung gewährleistet ist.
Das Gerät kann von 3- bis 7-jährigen Kindern ein- und ausgeschaltet werden, wenn sie beaufsichtigt werden oder bezüglich des sicheren Gebrauchs des Gerätes unterwiesen wurden und die daraus resultierenden Gefahren verstanden haben. Voraussetzung hierfür ist, dass das Gerät wie beschrieben montiert wurde.
3- bis 7-jährige Kinder dürfen nicht den Stecker in die Steckdose stecken und das Gerät nicht regulieren.
Das Gerät kann von Kindern ab 8 Jahren sowie von Personen mit verringerten physischen, sensorischen oder mentalen Fähigkeiten oder Mangel an Erfahrung und Wissen benutzt werden, wenn sie beaufsichtigt werden oder bezüglich des sicheren Gebrauchs des Gerätes unterwiesen wurden und die daraus resultierenden Gefahren verstanden haben.
- Kinder dürfen nicht mit dem Gerät spielen. Reinigung und Benutzer-Wartung dürfen nicht von Kindern ohne Beaufsichtigung durchgeführt werden.
- Teile des Gerätes können sehr heiß werden und Verbrennungen verursachen.
Wenn Kinder und schutzbedürftige Personen anwesend sind, ist besondere Vorsicht geboten.
- Bringen Sie das Gerät nicht unmittelbar unter einer Wandsteckdose an.
- Bei Festanschluss muss das Gerät über eine Trennstrecke von mindestens 3 mm all-polig vom Netz getrennt werden können.
Das Netzanschlusskabel darf bei Beschädigung oder Austausch nur durch einen vom Hersteller berechtigten Fachhandwerker mit dem originalen Ersatzteil ersetzt werden. - Befestigen Sie das Gerät wie in Kapitel „Installation / Montage“ beschrieben.
BEDIENUNG
1. Allgemeine Hinweise
Das Kapitel „Bedienung“ richtet sich an den Gerätebenutzer und den Fachhandwerker.
Das Kapitel „Installation“ richtet sich an den Fachhandwerker.

Hinweis
Lesen Sie diese Anleitung vor dem Gebrauch sorgfältig durch und bewahren Sie sie auf.
Geben Sie die Anleitung gegebenenfalls an einen nachfolgenden Benutzer weiter.
1.1 Sicherheitshinweise
1.1.1 Aufbau von Sicherheitshinweisen

SIGNALWORT Art der Gefahr
Hier stehen mögliche Folgen bei Nichtbeachtung des Sicherheitshinweises.
» Hier stehen Maßnahmen zur Abwehr der Gefahr.
1.1.2 Symbole, Art der Gefahr
| Symbol | Art der Gefahr |
| Verletzung | |
| Stromschlag | |
| Verbrennung(Verbrennung, Verbrühung) |
1.1.3 Signalworte
SIGNALWORT Bedeutung
| GEFAHR | Hinweise, deren Nichtbeachtung schwere Verletzungen oder Tod zur Folge haben. |
| WARNUNG | Hinweise, deren Nichtbeachtung schwere Verletzungen oder Tod zur Folge haben kann. |
| VORSICHT Hinweise, deren Nichtbeachtung zu mittelschweren oder leichten Verletzungen führen kann. | |
1.2 Andere Markierungen in dieser Dokumentation
Hinweis
Allgemeine Hinweise werden mit dem nebenstehenden Symbol gekennzeichnet.
» Lesen Sie die Hinweistexte sorgfältig durch.
Symbol Bedeutung
| Sachschaden(Geräte-, Folge-, Umweltschaden) | |
| Geräteentsorgung |
» Dieses Symbol zeigt Ihnen, dass Sie etwas tun müssen. Die erforderlichen Handlungen werden Schritt für Schritt beschrieben.
1.3 Maßeinheiten
Hinweis
Wenn nicht anders angegeben, sind alle Maße in Millimeter.
2. Sicherheit
2.1 Bestimmungsgemäße Verwendung
Das Gerät ist ein elektrisches Direktheizgerät zur Wandmontage.
Das Gerät eignet sich als Übergangs- und Ergänzungsheizung vor allem für das Badezimmer und zum Trocknen von Bademänteln und Handtüchern.
Das Gerät ist für den Einsatz im häuslichen Umfeld vorgesehen. Es kann von nicht eingewiesenen Personen sicher bedient werden. In nicht häuslicher Umgebung, z. B. im Kleingewerbe, kann das Gerät ebenfalls verwendet werden, sofern die Benutzung in gleicher Weise erfolgt.
Eine andere oder darüber hinausgehende Benutzung gilt als nicht bestimmungsgemäß. Zum bestimmungsgemäßen Gebrauch gehört auch das Beachten dieser Anleitung sowie der Anleitungen für eingesetztes Zubehör.
2.2 Allgemeine Sicherheitshinweise

WARNUNG Verletzung
Halten Sie Kinder unter 3 Jahren von dem Gerät fern, wenn keine ständige Beaufsichtigung gewährleistet ist.
Das Gerät kann von 3- bis 7-jährigen Kindern ein- und ausgeschaltet werden, wenn sie beaufsichtigt werden oder bezüglich des sicheren Gebrauchs des Gerätes unterwiesen wurden und die daraus resultierenden Gefahren verstanden haben. Voraussetzung hierfür ist, dass das Gerät wie beschrieben montiert wurde.
3- bis 7-jährige Kinder dürfen nicht den Stecker in die Steckdose stecken und das Gerät nicht regulieren.
Das Gerät kann von Kindern ab 8 Jahren sowie von Personen mit verringerten physischen, sensorischen oder mentalen Fähigkeiten oder Mangel an Erfahrung und Wissen benutzt werden, wenn sie beaufsichtigt werden oder bezüglich des sicheren Gebrauchs des Gerätes unterwiesen wurden und die daraus resultierenden Gefahren verstanden haben.
- Kinder dürfen nicht mit dem Gerät spielen. Reinigung und Benutzer-Wartung dürfen nicht von Kindern ohne Beaufsichtigung durchgeführt werden.

VORSICHT Verbrennung
Teile des Gerätes können sehr heiß werden und Verbrennungen verursachen. Wenn Kinder und schutzbedürftige Personen anwesend sind, ist besondere Vorsicht geboten.

Hinweis
Betreiben Sie das Gerät nur komplett installiert und mit allen Sicherheitseinrichtungen.
3. Gerätebeschreibung
Das Gerät eignet sich als Ergänzungsheizung vor allem für das Badezimmer sowie zum Trocknen und Wärmen von Bademänteln und Handtüchern. Sie können Ihre Handtücher auf mehreren Ebenen auflegen.
Das Gerät erwärmt den Raum durch natürliche Konvektion und Strahlungswärme. Der eingebaute Raumtemperaturregler hält die Raumtemperatur konstant auf dem eingestellten Wert. Voraussetzung hierfür ist, dass die Heizleistung des Gerätes dem Wärmebedarf des Raumes entspricht. Dies gilt nur, wenn keine Handtücher oder Bademäntel auf dem Gerät hängen.
Die Boost-Funktion erlaubt einen zeitbegrenzten Betrieb von 2 Stunden mit voller Heizleistung ohne Temperaturregelung. Sie können den Startzeitpunkt, zu dem sich das Gerät täglich automatisch einschaltet, programmieren.
Das Gerät ist betriebsbereit, nachdem Sie es an der Wand befestigt und mit dem Netzstecker elektrisch angeschlossen haben.
4. Bedienung
4.1 Beschreibung des Bedienfeldes
Sie bedienen das Gerät über das Bedienfeld.

text_image
1 2 3 4 526_07_80_0050
1 Betriebsanzeige
2 Heizanzeige
3 Temperatureinstellknopf
4 Einstellbereich „24h auto“
5 Betriebswahlknopf
4.2 Gerät einschalten
» Stellen Sie den Betriebswahlknopf auf „ON“.
» Stellen Sie mit dem Temperatureinstellknopf die gewünschte Raumtemperatur ein. Sie können zwischen 10 °C und 30 °C wählen.
Die Heizanzeige leuchtet, sobald das Gerät heizt. Die Heizanzeige erlischt, wenn die am Temperatureinstellknopf eingestellte Temperatur erreicht ist.

Hinweis
Wenn mehrere Geräte in einem Raum vorhanden sind, können Sie an jedem Gerät eine unterschiedliche Temperatur einstellen.

Hinweis
Um bei geöffneten Fenstern einen zu hohen Stromverbrauch zu vermeiden, schalten Sie das Gerät während des Lüftens aus.
4.3 2h Boost-Funktion
Aktivieren
» Schalten Sie das Gerät ein.
» Drücken Sie den Betriebswahlknopf ca. eine Sekunde.
Die Betriebsanzeige und die Heizanzeige leuchten. Das Gerät heizt für 2 Stunden mit voller Leistung.
Nach Ablauf der 2 Stunden wechselt das Gerät in den normalen Betrieb mit Temperatureinstellknopf zurück. Die Heizanzeige und die Betriebsanzeige erlöschen.
Deaktivieren
» Drücken Sie den Betriebswahlknopf ca. eine Sekunde.
Die Heizanzeige und die Betriebsanzeige erlöschen. Das Gerät wechselt in den normalen Betrieb mit Temperatureinstellknopf zurück.
4.4 24h Automatik-Funktion
Die 24h Automatik-Funktion wiederholt die 2h Boost-Funktion automatisch alle 24 Stunden.
Aktivieren
Stellen Sie den Betriebswahlknopf ganz nach rechts auf „24h auto“.
Die Betriebsanzeige und die Heizanzeige leuchten. Das Gerät heizt für 2 Stunden mit voller Leistung.
Nach Ablauf der 2 Stunden wechselt das Gerät in den normalen Betrieb mit Temperatureinstellknopf zurück. Die Heizanzeige und die Betriebsanzeige erlöschen.
Die 2h Boost-Funktion schaltet sich am darauffolgenden Tag 45 Minuten vor dem Zeitpunkt ein, an dem Sie das Gerät auf „24h auto“ gestellt haben.
Beispiel:
Sie möchten, dass das Bad um 7:00 Uhr morgens auf das gewünschte Temperaturniveau aufgeheizt ist.
» Stellen Sie am ersten Tag um 7:00 Uhr morgens den Betriebswahlknopf auf „24h auto“.
Das Gerät heizt sofort in der 2h Boost-Funktion. Am nächsten Tag schaltet sich die 2h Boost-Funktion automatisch um 6:15 Uhr morgens ein, um das Bad bis 7:00 Uhr aufzuheizen.
Unterbrechen
Sie können die 2h Boost-Funktion jederzeit unterbrechen, ohne dass sich der Startzeitpunkt verändert.
» Drücken Sie den Betriebswahlknopf ca. eine Sekunde.
Die Heizanzeige und die Betriebsanzeige erlöschen. Das Gerät wechselt in den normalen Betrieb mit Temperatureinstellknopf zurück.
Am nächsten Tag startet die 2h Boost-Funktion wieder zum normalen Startzeitpunkt.
Deaktivieren
» Stellen Sie den Betriebswahlknopf nach links auf „ON“.
Die Heizanzeige und die Betriebsanzeige erlöschen. Das Gerät wechselt in den normalen Betrieb mit Temperatureinstellknopf zurück.
4.5 Kindersicherung
Diese Funktion verhindert, dass unbeabsichtigt die Temperatureinstellung verändert wird.
Wenn die Kindersicherung aktiviert ist, sind Temperatureinstell- und Betriebswahlknopf ohne Funktion. Wenn Sie den Betriebswahlknopf/ Temperatureinstellknopf verstellen, blinkt die Betriebsanzeige.
Aktivieren
» Drücken Sie den Betriebswahlknopf länger als drei Sekunden.
Die Betriebsanzeige leuchtet fünf mal kurz hintereinander auf und zeigt somit, dass die Kindersicherung aktiv ist.
Sie können die 2h Boost-Funktion auch bei aktivierter Kindersicherung wie gewohnt nutzen.
Deaktivieren
» Drücken Sie den Betriebswahlknopf länger als drei Sekunden.
Die Betriebsanzeige leuchtet fünf mal kurz hintereinander auf und zeigt somit, dass die Kindersicherung deaktiviert ist.
4.6 Außerbetriebnahme
» Schalten Sie das Gerät aus, indem Sie den Betriebswahlknopf in die Stellung „OFF“ drehen.
Die Betriebsanzeige erlischt.
» Ziehen Sie den Netzstecker aus der Wandsteckdose.
5. Reinigung, Pflege und Wartung
Reinigen Sie die Oberflächen im kalten Zustand mit einem weichen Tuch mit gebräuchlichen Pflegemitteln.

Hinweis
Vermeiden Sie scheuernde und ätzende Pflegemittel.
6. Problemehebung
6.1 Störungstabelle
| Störung Ursache Behebung | ||
| Die erhitzte Luft riecht unangenehm. | Staub kann dies bei der Erstinbetriebnahme versursachen. | Der Geruch verflüchtigt sich nach wenigen Minuten. |
| Das Gerät heizt nicht. | Die Sicherung hat ausgelöst. | Schalten Sie die Sicherung wieder ein. |
| Das Gerät heizt ständig. | Das Gerät ist ständigem Luftzug ausgesetzt. | Stellen Sie den Luftzug ab. |
| Die Temperatureinstellung wurde geändert. | Stellen Sie am Temperatureinstellknopf die gewünschte Raumtemperatur ein. | |
| Eine Störung im Stromnetz liegt vor. | Trennen Sie das Gerät 10 Minuten lang vom Stromnetz und schalten Sie es wieder ein. Wiederholt sich das Problem regelmäßig, lassen Sie die Stromversorgung von Ihrem Energieversorgungsunternehmen prüfen. | |
| Die 24h Automatik-Funktion wird nicht ausgeführt. | Es gab einen Stromausfall. | Stellen Sie die 24h Automatik-Funktion neu ein. |
| Die Einstellung des Betriebswahlknopfs wurde verändert. | Stellen Sie die 24h Automatik-Funktion neu ein. | |
| Die Sommer-/Winterzeit wurde umgestellt. | Stellen Sie die 24h Automatik-Funktion neu ein. | |
| Die letzten Elemente oben und unten sind nicht so warm wie der Rest des Gerätes. | Oben sind die Elemente nicht vollständig gefüllt. | Bei Wärme dehnt sich das thermodynamische Medium aus. Es dauert etwas länger, bis diese Elemente warm werden. |
| Schmutzspuren entstehen auf der Wand rund um das Gerät. | Die Schmutzspuren entstehen durch Verschmutzungen der Raumluft (Kerzen, Zigarettenrauch, schlechte Belüftung, usw.). | Vermeiden Sie Verschmutzungen der Raumluft. |
Können Sie die Ursache nicht beheben, rufen Sie den Fachhandwerker. Zur besseren und schnelleren Hilfe teilen Sie ihm die Nummer vom Typenschild mit (000000-0000-000000).
Das Typenschild befindet sich unten rechts am Gerät.
INSTALLATION
7. Sicherheit
Die Installation, Inbetriebnahme sowie Wartung und Reparatur des Gerätes darf nur von einem Fachhandwerker durchgeführt werden.
7.1 Allgemeine Sicherheitshinweise
Wir gewährleisten eine einwandfreie Funktion und Betriebssicherheit nur, wenn das für das Gerät bestimmte Original-Zubehör und die originalen Ersatzteile verwendet werden.
7.2 Vorschriften, Normen und Bestimmungen

Hinweis
Beachten Sie alle nationalen und regionalen Vorschriften und Bestimmungen.
8. Gerätebeschreibung
8.1 Lieferumfang
- Wandbefestigung mit Befestigungsmaterial
• 2 Bademantelhalter
Das Gerät wird steckerfertig geliefert.
9. Montage
9.1 Montageort

Sachschaden
Beachten Sie die Mindestabstände im Kapitel „Technische Daten“.

Sachschaden
Bringen Sie das Gerät an einer senkrechten, bis mindestens 80 °C temperaturbeständigen Wand an.

Sachschaden
Montieren Sie das Gerät nicht unmittelbar unter einer Wandsteckdose.
9.2 Wandbefestigung

Hinweis
Beachten Sie die Maße und Mindestabstände im Kapitel „Technische Daten“.
» Bohren Sie die Bohrlöcher und versehen Sie sie mit Dübeln.

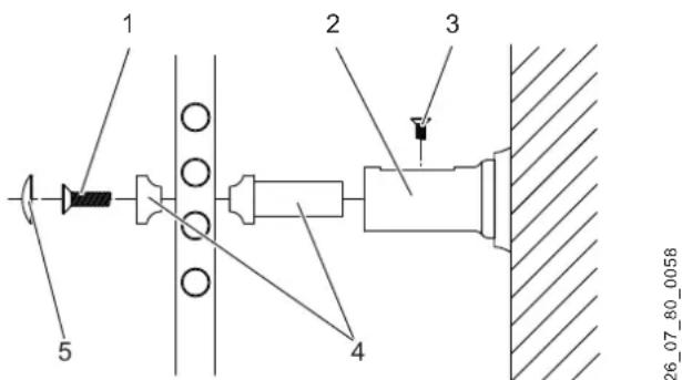
text_image
1 2 3 4 5 26_07_80_00581 Schraube der Halterung
2 Wandhülse
3 Konterschraube
4 Halterung
5 Abdeckkappe

Beachten Sie die korrekte Ausrichtung der Wandhülsen.
» Schrauben Sie die Wandhülsen an.
» Befestigen Sie die Halterungen auf der Leiter. Ziehen Sie die Halterungen noch nicht fest.

» Montieren Sie die Wandhalterung. Achten Sie dabei auf die Position der Schlitze. Der Schlitz muss jeweils nach unten oder nach oben zeigen.

» Stecken Sie Gerät und Wandhalterung zusammen.
» Ziehen Sie die Schrauben an, um das Gerät zu fixieren.
9.3 Montage der Bademantelhalter

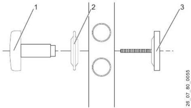
text_image
1 2 3 26_07_80_00551 Bademantelknopf
2 Unterlegscheibe
3 Bademantelknopfplatine
» Montieren Sie die Bademantelhalter wie abgebildet.
10. Elektrischer Anschluss

WARNUNG Stromschlag
Installieren Sie die Unterputzdose in feuchten Räumen wie Duschräumen und Küchen mindestens 25 cm vom Boden entfernt.

WARNUNG Stromschlag
Betreiben Sie das Gerät nicht mit einem Verlängerungskabel oder an einer Mehrfachsteckdose.

Sachschaden
Das Gerät muss über eine Trennstrecke von mindestens 3 mm allpolig vom Netzanschluss getrennt werden können. Hierzu können Schütze, LS-Schalter, Sicherungen und so weiter eingesetzt werden. Die Installation mit einer festverlegten elektrischen Leitung ist nicht zulässig.

Sachschaden
Beachten Sie das Typenschild. Die angegebene Spannung muss mit der Netzspannung übereinstimmen.

Hinweis
Führen Sie alle elektrischen Anschluss- und Installationsarbeiten nach den nationalen und regionalen Vorschriften aus.

Hinweis
Achten Sie darauf, dass im Abstand von mindestens 10 cm seitlich vom Gerät eine Schutzkontaktsteck-dose oder Geräte-Anschlussdose für den Festanschluss installiert ist.
11. Störungsbehebung
Die Netzanschlussleitung darf bei einem Austausch nur von einem Fachhandwerker mit Original Ersatzteilen ersetzt werden.
12. Übergabe des Gerätes
» Erklären Sie dem Benutzer die Funktionen des Gerätes.
» Machen Sie ihn besonders auf die Sicherheitshinweise aufmerksam.
» Händigen Sie dem Benutzer die Bedienungs- und Installationsanleitung aus.
13. Technische Daten
13.1 Maße

text_image
a20 i13 a10 a30 i13D0000026162
13.2 Mindestabstände

text_image
≥150 ≥150 ≥200D0000026163
| BHG500 W | BHG750 W | BHG750 C | BHG1000W | |||
| a10 Gerät | Höhe | mm | 998 | 1453 | 1658 | 1781 |
| a20 Gerät | Breite | mm | 480 | 480 | 600 | 550 |
| a30 Gerät | Tiefe | mm | 100 | 115 | 110 | 115 |
| i13 Wand-aufhängung | Lochabstand vertical | mm | 779 | 1230 | 1435 | 1599 |
| Lochabstand horizontal | mm | 350 | 350 | 450 | 400 |
13.3 Datentabelle
| BHG 500 W BHG 750 W BHG 750 C BHG 1000 W | |||||
| 236572 | 231950 | 231951 | 233861 | ||
| Elektrische Daten | |||||
| Netzanschluss 1/N ~ 230/240 V 1/N ~ 230/240 V 1/N ~ 230/240 V | |||||
| Anschlussleistung | kW | 0,5 | 0,75 | 0,75 | 1,0 |
| Dimensionen | |||||
| Höhe | mm | 998 | 1453 | 1658 | 1781 |
| Breite | mm | 480 | 480 | 600 | 550 |
| Tiefe | mm | 100 | 115 | 110 | 115 |
| Gewichte | |||||
| Gewicht | kg | 12 | 16 | 24 | 30 |
| Ausführungen | |||||
| Frostschutzstellung | °C | 6 | 6 | 6 | 6 |
| Schutzart (IP) | IP24 | IP24 | IP24 | IP24 | |
| Schutzklasse | II | II | II | II | |
| Farbe | verkehrsweiß, RAL 9016 | verkehrsweiß, RAL 9016 | Chrom | verkehrsweiß, RAL 9016 | |
| Werte | |||||
| Einstellbereich | °C | 6-30 | 6-30 | 6-30 | 6-30 |
Erreichbarkeit
Sollte einmal eine Störung an einem unserer Produkte auftreten, stehen wir Ihnen natürlich mit Rat und Tat zur Seite.
EHT Haustechnik GmbH
Kundendienst
Fürstenberger Straße 77
37603 Holzminden
Tel. 05531 702-111
Fax 05531 702-95890
info@eht-haustechnik.de
Weitere Anschriften sind auf der letzten Seite aufgeführt.
Unseren Kundendienst erreichen Sie telefonisch rund um die Uhr, auch an Samstagen und Sonntagen sowie an Feiertagen. Kundendiensteinsätze erfolgen während unserer Geschäftszeiten (von 7.15 bis 18.00 Uhr, freitags bis 17.00 Uhr). Als Sonderservice bieten wir Kundendiensteinsätze bis 21.30 Uhr. Für diesen Sonderservice sowie Kundendiensteinsätze an Wochenenden und Feiertagen werden höhere Preise berechnet.
Garantiebedingungen
Diese Garantiebedingungen regeln zusätzliche Garantieleistungen von uns gegenüber dem Endkunden. Sie treten neben die gesetzlichen Gewährleistungsansprüche des Kunden. Die gesetzlichen Gewährleistungsansprüche gegenüber den sonstigen Vertragspartnern sind nicht berührt.
Diese Garantiebedingungen gelten nur für solche Geräte, die vom Endkunden in der Bundesrepublik Deutschland als Neugeräte erworben werden. Ein Garantievertrag kommt nicht zustande, soweit der Endkunde ein gebrauchtes Gerät oder ein neues Gerät seinerseits von einem anderen Endkunden erwirbt.
Inhalt und Umfang der Garantie
Die Garantieleistung wird erbracht, wenn an unseren Geräten ein Herstellungs- und/oder Materialfehler innerhalb der Garantiedauer auftritt. Die Garantie umfasst jedoch keine Leistungen für solche Geräte, an denen Fehler, Schäden oder Mängel aufgrund von Verkalkung, chemischer oder elektrochemischer Einwirkung, fehlerhafter Aufstellung bzw. Installation sowie unsachgemäßer Einregulierung, Bedienung oder unsachgemäßer Inanspruchnahme bzw. Verwendung auftreten. Ebenso ausgeschlossen sind Leistungen aufgrund mangelhafter oder unterlassener Wartung, Witterungseinflüssen oder sonstigen Naturerscheinungen.
Die Garantie erlischt, wenn am Gerät Reparaturen, Eingriffe oder Abänderungen durch nicht von uns autorisierte Personen vorgenommen wurden.
Die Garantieleistung umfasst die sorgfältige Prüfung des Gerätes, wobei zunächst ermittelt wird, ob ein Garantieanspruch besteht. Im Garantiefall entscheiden allein wir, auf welche Art der Fehler behoben wird. Es steht uns frei, eine Reparatur des Gerätes ausführen zu lassen oder selbst auszuführen. Etwaige ausgewechselte Teile werden unser Eigentum.
Für die Dauer und Reichweite der Garantie übernehmen wir sämtliche Material- und Montagekosten.
Soweit der Kunde wegen des Garantiefalles aufgrund gesetzlicher Gewährleistungsansprüche gegen andere Vertragspartner Leistungen erhalten hat, entfällt eine Leistungspflicht von uns.
Soweit eine Garantieleistung erbracht wird, übernehmen wir keine Haftung für die Beschädigung eines Gerätes durch Diebstahl, Feuer, Aufruhr oder ähnliche Ursachen.
Über die vorstehend zugesagten Garantieleistungen hinausgehend kann der Endkunde nach dieser Garantie keine Ansprüche wegen mittelbarer Schäden oder Folgeschäden, die durch das Gerät verursacht werden, insbesondere auf Ersatz außerhalb des Gerätes entstandener Schäden, geltend machen. Gesetzliche Ansprüche des Kunden uns gegenüber oder gegenüber Dritten bleiben unberührt.
Garantiedauer
Für im privaten Haushalt eingesetzte Geräte beträgt die Garantiedauer 24 Monate; im Übrigen (zum Beispiel bei einem Einsatz der Geräte in Gewerbe-, Handwerks- oder Industriebetrieben) beträgt die Garantiedauer 12 Monate.
Die Garantiedauer beginnt für jedes Gerät mit der Übergabe des Gerätes an den Kunden, der das Gerät zum ersten Mal einsetzt.
Garantieleistungen führen nicht zu einer Verlängerung der Garantiedauer. Durch die erbrachte Garantieleistung wird keine neue Garantiedauer in Gang gesetzt. Dies gilt für alle erbrachten Garantieleistungen, insbesondere für etwaig eingebaute Ersatzteile oder für die Ersatzlieferung eines neuen Gerätes.
Inanspruchnahme der Garantie
Garantieansprüche sind vor Ablauf der Garantiedauer, innerhalb von zwei Wochen, nachdem der Mangel erkannt wurde, bei uns anzumelden. Dabei müssen Angaben zum Fehler, zum Gerät und zum Zeitpunkt der Feststellung gemacht werden. Als Garantienachweis ist die Rechnung oder ein sonstiger datierter Kaufnachweis beizufügen. Fehlen die vorgenannten Angaben oder Unterlagen, besteht kein Garantieanspruch.
Garantie für in Deutschland erworbene, jedoch außerhalb Deutschlands eingesetzte Geräte
Wir sind nicht verpflichtet, Garantieleistungen außerhalb der Bundesrepublik Deutschland zu erbringen. Bei Störungen eines im Ausland eingesetzten Gerätes ist dieses gegebenenfalls auf Gefahr und Kosten des Kunden an den Kundendienst in Deutschland zu senden. Die Rücksendung erfolgt ebenfalls auf Gefahr und Kosten des Kunden. Etwaige gesetzliche Ansprüche des Kunden uns gegenüber oder gegenüber Dritten bleiben auch in diesem Fall unberührt.
Außerhalb Deutschlands erworbene Geräte
Für außerhalb Deutschlands erworbene Geräte gilt diese Garantie nicht. Es gelten die jeweiligen gesetzlichen Vorschriften und gegebenenfalls die Lieferbedingungen der Ländergesellschaft bzw. des Importeurs.
Entsorgung von Transport- und Verkaufsverpackungsmaterial
Damit Ihr Gerät unbeschädigt bei Ihnen ankommt, haben wir es sorgfältig verpackt. Bitte helfen Sie, die Umwelt zu schützen, und entsorgen Sie das Verpackungsmaterial des Gerätes sachgerecht. Wir beteiligen uns gemeinsam mit dem Großhandel und dem Fachhandwerk / Fachhandel in Deutschland an einem wirksamen Rücknahme- und Entsorgungskonzept für die umweltschonende Aufarbeitung der Verpackungen.
Überlassen Sie die Transportverpackung dem Fachhandwerker beziehungsweise dem Fachhandel.
Entsorgen Sie Verkaufsverpackungen über eines der Dualen Systeme in Deutschland.
Entsorgung von Altgeräten in Deutschland

Geräteentsorgung
Die mit diesem Symbol gekennzeichneten Geräte dürfen nicht mit dem Hausmüll entsorgt werden.
Als Hersteller sorgen wir im Rahmen der Produktverantwortung für eine umweltgerechte Behandlung und Verwertung der Altgeräte. Weitere Informationen zur Sammlung und Entsorgung erhalten Sie über Ihre Kommune oder Ihren Fachhandwerker / Fachhändler.
Bereits bei der Entwicklung neuer Geräte achten wir auf eine hohe Recyclingfähigkeit der Materialien.
Über das Rücknahmesystem werden hohe Recyclingquoten der Materialien erreicht, um Deponien und die Umwelt zu entlasten. Damit leisten wir gemeinsam einen wichtigen Beitrag zum Umweltschutz.
Entsorgung außerhalb Deutschlands
Entsorgen Sie dieses Gerät fach- und sachgerecht nach den örtlich geltenden Vorschriften und Gesetzen.
SPECIAL INFORMATION
OPERATION
VOORZICHTIG verbranding
13. Technische gegevens
13.1 Afmetingen

text_image
a20 i13 a10 a30 i13D0000026162
| BHG | 500 W | BHG750 W | BHG750 C | BHG1000 W | |||
| a10 | Toestel | Hoogte | mm | 998 | 1453 | 1658 | 1781 |
| a20 | Toestel | Breedte | mm | 480 | 480 | 600 | 550 |
| a30 | Toestel | Diepte | mm | 100 | 115 | 110 | 115 |
| i13 | Wand-ophanging | Afstandgatenverticaal | mm | 779 | 1230 | 1435 | 1599 |
| Afstandgaten horizontaal | mm | 350 | 350 | 450 | 400 | ||
11. Usuwanie usterek
Adressen und Kontakte
Vertriebszentrale
EHT Haustechnik GmbH
Markenvertrieb AEG
Gutenstetter Straße 10
90449 Nürnberg
info@eht-haustechnik.de
www.aeg-haustechnik.de
Tel. 0911 9656 -250
Fax 0911 9656-444
Kundendienstzentrale
Holzminden
Fürstenberger Str. 77
37603 Holzminden
Briefanschrift
37601 Holzminden
Der Kundendienst und Ersatzteilverkauf
ist in der Zeit von
Montag bis Donnerstag
von 7.15 bis 18.00 Uhr und
Freitag von 7.15 bis 17.00 Uhr,
auch unter den nachfolgenden Telefon- bzw.
Telefaxnummern erreichbar:
Kundendienst
Tel. 0911 9656-56015
Fax 0911 9656-56890
kundendienst@eht-haustechnik.de
Ersatzteilverkauf
Tel. 0911 9656-56030
Fax 0911 9656-56800
ersatzteile@eht-haustechnik.de
info@eht-haustechnik.de
www.aeg-haustechnik.de
© EHT Haustechnik

text_image
4017212991565International
Australia
STIEBEL ELTRON Australia Pty. Ltd.
6 Prohasky Street
Port Melbourne VIC 3207
Tel. 03 9645-1833
Fax 03 9645-4366
Austria
STIEBEL ELTRON Ges.m.b.H.
Gewerbegebiet Neubau-Nord
Margaritenstraße 4 A
4063 Hörsching
Tel. 07221 74600-0
Fax 07221 74600-42
Belgium
STIEBEL ELTRON bvba/sprl
't Hofveld 6 - D1
EinfachAnleitung