DLCV965X2 - Fornuis DELONGHI - Gratis gebruiksaanwijzing en handleiding
Vind de handleiding van het apparaat gratis DLCV965X2 DELONGHI in PDF-formaat.
Download de handleiding voor uw Fornuis in PDF-formaat gratis! Vind uw handleiding DLCV965X2 - DELONGHI en neem uw elektronisch apparaat weer in handen. Op deze pagina staan alle documenten die nodig zijn voor het gebruik van uw apparaat. DLCV965X2 van het merk DELONGHI.
GEBRUIKSAANWIJZING DLCV965X2 DELONGHI
De beschrijvingen en aanduidingen vermeld in de gebruiks-en installmentevoorschriften zijn enkel van informatieve aard.
De constructeur behoudt zich hetrecht voor om zonder verwittiging en op gelijk welk ogenblick wijzigingen aan zijn Produkten aan te brengen.
OPGEPAST: Gieve voor gebruik of installmente van uw toestel, hier onder het series nummer van uw toestel te noteren. Dit nummer zal u gezvraagd worden bij een aanvraag herstelling.
Mevrouw, Juffrouw, Mijnheer,
U heeft onlangs een van onderne fornuizen aangekocht en wij danken u voor uw vertrouwen. Uw fornuis werd met de grootste zorg ontworpen, vervaardigd en getest met het oog op uw volkommen tevredenheid.
Opdat u het optimaal zou+kunnen gebruiken en de gewenste resultaten zou bereiken, bevelen wij aan deze GEBRUIKSHANDLEIDING aandachtig te lezen.
De instructies en wenken in deze handleding zullen een doeltreffende hulp zich om alle kwaliteiten van uw nieuwe toestel te ontdekken.
Dit fornuis mag enkel worden gebruikt voor het doel waartoe het werk ontworpen, met name de bereiding van eetwaren.
Alle ander gebruik dient als onjuist en gevaarlijk te worden beschouwd.
Wij wijzen elke aansprakelijkkhid van de hand in geval van schade wegens onjuist, verkeerd of irrationnel gebruik van het toestel.
VERKLARING VAN OVEREENSTEMMING CE
- Dit fornuis is ontworpen om uitsluitend Dienst te doen als kooktoestel. leder ander gebruik (bijv. als kachel) is oneigenlijk en dientengevolge gevaarlijk.
-
Dit fornuis is ontworpen, gebouwd en op de markt gebracht in overeenstemming met:
-
De veiligeidsvoorschriften van "Gas" Verordening (EU) 2016/426;
- De veiligheidsvoorschriften van "Laagspanning" Richtlijn 2014/35/EU;
- Devoorschriften van "EMC" Richtlijn 2014/30/EU;
- Devoorschriften vanRichtlijn93/68/EEG;
- Devoorschriften van Richtlijn 2011/65/EU.
BELANGRIJKE VEILIGHEIDSINSTRUCTIES EN AANBEVELINGEN
BELANGRIJK: Dit toestel is enkel ontworpen en geprodueerd voor het koken van huishoudelijk voedsel en is Niet geschikt voor等一批 nicht-huishoudelijktoepassing. Om die reden mag het Niet gebruikt worden in een commerciele omgeving.
De garantie van het toestel verwalt wanneer het toestel worden gebruikt in een Niet-huishoudelijkke omgeving, d.w.z. in een semi-commercialie, commerciele of gemeinschappelijkke omgeving.
Lees aandachtig de instructies vooraleer u het toestel installeert en gezruikt.
- Dit apparaat is ontworpen en geproduerd in overeenstemming met de geldende normen voor huishoudelijkke keukenapparatuur, inclusief de standaarden voor oppervlaktetemperatuur. Menschen met een gevoelige huid konnen een hove temperatuur waarnenen, ondanks dat de maximale temperatuur binnen de norm valt.
De veiligheid van het apparaat is afhankelijk van het correct gebruik hiervan. Wij raden waarom aan om extra goed op te lettenijdens het gebruik van het apparaat, vooral in het bijzijn van kinderen.
- Haal het toestel uit de verpakking. Controller of het beschadigd is en of de ovendeur goed sluit.
Gebruik het toestel bij twijfel Niet en neem contact op met de producent of met een vakkundig opgeleid technicus. - Houd onderdelen van de verpakking (bijv. plastic zakken, polystyreneenschuim, nagels, bandjes, enz.) buiten het bereik van kinderen, aangezien deze ernstige verwondingen können veroorzaken.
- Op de stalen en aluminium onderdelen van sommige toestellen is een beschermende laag aangebracht. Verwijder deze laag vooraleer u het toestel gebruikt.
-
BELANGRIJK: Hetisaangeraden geschikte beschemingskleding en -handschoenen te gebruiken voor het hanteren of reinigen van dit toestel.
-
Probeer nicht om de technische eigenschappen van dit toestel te wijzigen, aangezien dat gevaar bij het gebruik kan veroorzaken. De producent is Niet aansprakelijk voor ongemak door niethaleving van deze instructie.
- OPGELET: Dit toestel mag enkel geplaatst worden in een continuverluchtete kamer volgens de desbeteffende bepalingen.
- Gebruik het toestel Niet met een externe timer of een afzonderlijk afstandsbedieningssystem.
- Koppel het toestel los van de elektriciteit vooraleer u het reinigt of onderhoudt.
WAARSCHUWING: Vermijd elektrische schokken door het toestel uit te schakelen vooraleer u de ovenlamp verwangt. - Gebruik geen stoomreiniger. Het vocht kan in het toestel terechtkomen en dat onveilig make.
- Raak het toestel Niet aan met natte of bedamente handen (of voeten).
- Gebruik het toestel Niet blootsvoets.
- Wonneer u hettoesteln nicht meer gebrukt(of hetwenstteervangen door een ander model), is het aangeraden om het – voor u het weg doet – op een geschikte manier buiten werkig te stellen, in overeenstemming met de gezondheids- en milieuubepalingen, en er vooral voor te zorgen dat alle möglichk gevaarlijke onderdelen onschadelijk worden gemaatk, vooral met het oog op kinderen die met oncegebruekte toestellen zouden hunnen spelen.
- De verschillende componenten van het toestel�nijn recyclebaar. Verwijder deze als afval conform de geldende bepalingen in uw land. Verwijder de elektriciteitskabel wonneer het toestel worden afgedankt.
Zorg ervoor dat de knoppen na gebruik in de UIT-positie staan. - Houd kinderen onder de 8aar uit de buurt van het toestel, tenzij ze continu onder toezicht staan.
-
Dit toestel mag gebruikt worden door kinderen vanaf 8年龄段 en door Personen met beperkte lichamelijke, sensorische of geestelijkke vaardigheden of met een beperkte ervaring en kennis, indien zich onder toezicht staan, na gpaste instructies over het veilige gebruik van dit toestel en indien zich de mogelijkke risico's begrijpen. Laat kinderen Niet met het toestel spelen. Kinderen mogen het toestel Niet reinigen en onderhouden zonder toezicht.
-
De produit is Niet aansprakelijk voor letsels van Personen of schade aan eigendom door incorrect of ongepast gebruik van het toestel.
WAARSCHUWING: Tijdens het gebruik worden het toestel en de bereikbare onderdelen heet; ook na gebruik blijven deze nog enigearend het. -
Wees voorzichtig en raak geen verwarmingselementen aan (zowel aan de kookplaat als in de oven).
- De deur is heet, gebruik de handgreep.
- Houdjonge kinderenuit de buurt om brandwonden te vermijden.
Zorg ervoor dat de elektriciteitskabels van andere toestellen in de buurt van het fornuis nicht in contact kuren met de kookplaten en Niet tussen de ovendeur geklemd{kuren raken.
WAARSCHUWING: Onbeheard koken op een kookplaat met vet of olie kan gevaarlijk zijn en brand veroorzaken. Probeer NOOIT brand te doven met water, maar schakel het toestel uit en dek het vuur af, bijv. met een deksel of een vuurdeken.
WAARSCHUWING: Brandgevaar: bewaar geen voorwerpen op het kookoppervlak.
- WAARSCHUWING: Wanner het product correct geplaatst is, voldoet het aan alle veiligheidseisen voor deze productcategorie. Weesijken extra voorzichtig bij dechter- of onderkant van het toestel, aangezien deze zones Niet ontworpen en bedoeld zijn om aan te raken en scherpe of ruwe kanten hunnen hebben, die letsels hunnen veroorzaken.
- EERSTE GEBRUIK VAN DE OVEN - volg deze instructies:
- Richt de binnenkant van de oven in zoals beschreiben in het hoofdstuk 'REINIGING EN ONDERHOUD'.
- Zet de lege oven op de maximumstand om vet van de verwarmingselementen te verwijderen.
-
Koppel het toestel los van de elektriciteit, LAST DE OVEN afkoelen en reinig de binnenkant met een doek, water en een neutral reinigingsmiddel; droog daarna goed af.
-
OPGELET: Gebruik geen ruwe schuurmiddelen of scherpe metalen schrapers om het glas van de ovendeur te reinigen, aangezien deze krassen op het oppervlak hunnen veroorzaken waardoor het glas kan barsten.
- Breng geen aluminiumfolie aan op de wanden van de oven. Plaats bakplaten of de druiplaat Niet op de bodem van de oven.
Bedek de kookplaat Niet met aluminiumfolie. - BRANDGEVAAR! Bewaar geen ontvlambaar materiaal in de oven of in de opslagruimte.
- Gebruik algijd ovenwanten om schotels en bakplaten uit de hete oven te halen.
- Hang geen handdoeken, theedoeken of andere voorwerpen aan het toestel of aan de handgreep – dat kan brandgevaar opleveren.
- Reinig de oven regelmatig en zorg ervoor dat er zich geen vet of olie verzamelt op de bodem van de oven of van de druiplaat. Verwijder gemorste resten meteen.
- Sta Niet op het fornuis of op de geopende ovendeur.
Ga even acheteruit wanner u de ovendeur opent, zodat stoom en hete lucht kunnen ontsnappen vooraleer u het voedsel eruit haalt. - VEILIG OMGAAN MET VOEDSEL: Laat het voedsel voor en na het koken zo kort möglich in de oven. Op die manier vermijdt u verontreiniging door organismen, die voedselvergiftingingen können veroorzaken. Let hier vooral voor op bij warm wee.
WAARSCHUWING: Til het fornuis NIET op met de handgreep.
WAARSCHUWING: Houd alsijd toezicht op het kookproces. Ook tijdens korte bereidingen dient continue toezicht te worden gehonden. - Het apparaat mag nicht darüber een front worden geinstalleerd om oververhitting te voorkomen.
- De ovenaccessoires (zoals bijvoorbeeld ovenrekken) dienen correct te worden geinstalleerd zoals aangegeven op pagina 48.
-
Indien het aansluitsnoor beschadigd is, mag dit uitsluitend worden verrangen door een geauthoriseerde monteur om risico's te voorkomen. pericoli.
-
Als het apparaat Niet is uitgerust met een aansluitsnoor en een stekker, of op andere wijze kan worden uitgeschakeld via een contactschakelaar met een contactafstand in alle aansluitingen die garant staat voor een volledige onderbreking volgens de voorwaarden van overspanningscategorie III,要去 in de vaste bedrading een möglichkheid worden voorzien om het apparaat UIT te schakelen overeenkomstig de regels die gelden voor elektrische bedrading.
- Waarschuwing: Het apparaat en de toegankelijkke onderdelen ervan worden heetijdens gebruik. U dient erop te letten contact met de verwarmingselementen te vermijden. Houd kinderenjonger dan 8aar uit de buurt of onder permanent toezicht
- Waarschuwing: Gebruik alleen kookplaatbeschemmers die door de fabrikant van het kooktoestel�n ontworpen of die door de fabrikant van hettoestel�n aangegeveninde gebruiksaanwijzing, of kookplaatbeschemmers die in het apparaat�n verwerkt. Het gebruik van ongeschikte kookplaatbeschemmers kan ongelukken verroorzaken.
ENERGIE-ETIKETTERING/ECOLOGISCH ONTWERP
Gedelegeerde verordening (EU) Nr. 65/2014 van de commissie (houdende aanvulling van Richtlijn 2010/30/EU van het Europees Parlement en de Raad).
Verordering (EU) Nr. 66/2014 van de commissie (tot uitvoering van Richtlijn 2009/125/EG van het Europees Parlement en de Raad).
Verwijzing waar de meet- en berekeningsmethoden die gebruikt zijn om de overeenstemming met bovenstaande eisen vast te stellen:
Norm EN 60350-1 (Elektrische ovens).
Norm EN30-2-1 (kookplaten: gasbranders).
GEBRUK VAN HET APPARAAT, ENERGIEBESPARING TIPS
OVEN
- Controller dan de deur van de oven steeds goed sluit en dat de pakking van de deur schoon is en goed werk. Open de deur van de oven tijdens gebruik alleen wanner dat striktoodzakelijkis.Zo voorkomt u warmteverlies (voor sommige functies kan het nodig zichn de oven te gebruiken met de deur half gesloten, raadpleeg de gebruiksinstrumentes van de oven).
Zet de oven 5-10 Minutes voor het einde van de theoretische bereidingsstijd uit, om de opgeslagen ditte te recupereren. - We raden aan dat u geschikte overschotels gebruikt en de oventemperatuur indien nodig aanpastijdens de bereiding.
KOOKPLATEN
GASBRANDERS
- Het is belangrijk dat de diameter van de kookpan aangepast is aan het vermogen van de brander teneinde het hoog rendement van de branders zo goed möglich te gebruiken en het onnodig gasverbruik te vermiiden. Eenkleine kookpan op een große branderplaatsen teneinde het gerecht vlugger aan de kook te brengen, dient tot niets want de warmteabsorptie blijft steedsdezelfde gegenover het volume en de oppervlakte van de braadpan.
Zorg dat u geen brander aan LAST staan zonder dat er iota's op staat (zonder kookpot).
BELANGRIJKE INFORMATIE VOOR DE CORRECTE VERWERKING VAN HET PRODUCT IN OVEREENSTEMMING MET DE EUROPESE RICHTLIJN 2012/19/EC.
Aan het einde van zichn nuttig leven mag het product Niet samen met het gewone huishoudelijkke afval worden verwerkt. Het moet maar een speciaal centrum voor geschieren afvalinzameling van de gemeente worden gebracht, of maar een verkooppunt
dat deze service verschaft. Het apart verwerken van een huishoudelijk apparaat voorkomt möglichke negatieve gevolgen voor het milieu en de gezondheid die door een ongeschikte verwerking ontstaan en zorgt ervoor dat de materialen waaruit het apparaat bestaat teruggewonnen+kennen worden om een aanmerkelijke besparing van energia en grondstoffen te verkrijgen. Om op de verplichting tot geschieren verwerking van elektrische huishoudelijk apparatuur te wijzen, is op het product het symbol van een doorgekruiste vuilnisbak aangebracht.

Aanwijzingen voor de installateur
BELANGRIJK
- Het apparaat is alleen ontworpen en goedgekeurd voor huishoudelijk gebruik en mag Niet worden geinstalleerd in een commerciele, semi-commercialie of gemeinschappelijk ruimte.
Uw product worden nicht gedekt door de garantie indien het is geinstalleerd in een van de bovenstaande ruimtes, wat invloed kan hebben op eventuele aansprakelijkkeidsverzekeringen ten aanzien van derden of het publiek die u zou hebben. - De installmentie mag uitsluitend worden uitgevoerd door een gekwalificeerd elektricien, in overeenstemming met de lokaal geldende voorschriften en de aanwijzingen van de fabrikant.
Als hieraan nicht worden voldaan, vervalt de garantie. - Verkeerde installmentie, waarvoord de fabrikant geen enkele verantwoordelijkheid aanvaardt, kan leiden tot verwondingen of schade.
- Dit apparaat mag alleen door geauthoriseerd personeel worden gerepareerd.
Alle ingrepen要去en uitgevoerd worden wanner het toestel uitgeschakeld is. - Belangrijk: Voor het hanteren/gebruik van dit apparaat worden het gebruik van beschermende kleding/handschoenen aanbevolen.
- De wanden van het meubel mogen Niet boven het werkblad uitsteken en要去en bestand zich tegen een temperatuur van 70^ boven de omgevingstemperatuur.
- Het affdichtingsmaterial die het laminaat met de meubelen linkt,要去 temperaturen van min. 150^ hunnen doorstaan om breking te vermijden.
- Installee het komfoor Niet in de buurt van brandbaar materiaal (bijv. gordijnen).
- Sommige apparaten worden geleverd met de stalen en aluminium delen ervan bedekt door beschemfolie.
U moet de beschermfolie verwijderen voordat u het fornuis in gebruik neemt.
LET OP
Bij een correcte installmentie, voldoet uw product aan alle veriligeidsmaatregelen die voor dit type van productcategorie voorgeschreven zijn. Niettemin moet u speciale aandacht besteden aan dechter- of onderzijde van het apparaat aangezien deze zones Niet ontworpen+zijn met de bedoeling ze aan te raken. Bovendien bevatten ze scherpe of ruwe randen waar u zich zoulijke aan verwonden.
De condities van montage, voor wat betreft de bescherming gegen de verhitting van de aan het gasfornuis grenzende oppervlakken,要去en conform zich de figuren 1.1 of 1.2.
Indien het fornuis worden geinstalleerd naast een meubel dat hoger is dan het fornuis, moet er minstens 200~mm ruimte:tussen de zijkant van het fornuis en het meubel bewaard worden.
De wanden en keulenmeubelen rond het apparaat moeten gemaakt zichn van nichtbrandbaar materiaaal. Het afldichtingsmaterial die het laminaat met de meubelen linkt,要去


temperature van min. 150^ kunnen doorstaan om breking te vermijden.
Ermighten gondijnen direct
achter het apparaat of binneneen afstand van 500 mm van dezijkanten worden opgehangen.
Indien het gasfornuis op een sukkel geplaatst is, moet men de nodige maatregelen treffen om te voorkomen dat het toestel van de sukkel glijdt.
Het apparaat moet in
hittebestendige eenheden
worden ingebouwd.
De wanden van de eenheden mogen Niet hoger zich dan het werkblad en moeten bestand+zijn tegen temperaturen van 70^ boven de kamertemporatuur. Installee het komfoor Niet in de buurt van brandbaar materiaal (bijv.gordijnen).
Klasse 1 (Afb. 1.1a)
Gasaansluiting gerealiseerd met behulp van een caoutchouc slang die zichtaar要去en en die moet nagekeken kunnen worden of middels een stijve of flexible metalen buis.
Er要去 een ruimte van ten minste 2cm worden vrijgelaten:tussen de kookplaat en eventuele meubelen ernaast, die nicht hoger mooten zich dan de hoogte van de kookplaat.
Gasaansluiting gerealiseerd met behulp van een stijve of flexibele metalen buis.
DE VERSTELBARE VOETEN MONTEREN
De verstelbare voeten要去en aan de onderkant van het fornuis worden gemonteerd voordat het fornuis in gebruik worden genomen (afb. 1.3).
Plaats het fornuis met deijkenkant op een stuk piepschuim verpakking zodate onderkant blootgelegd worden voor het monteren van de poten. Monteer de 4 poten door ze stevig vast te draaien in het steunvlak, zoals getoond in afbeelding 1.3,1.4.
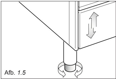
HET FORNUIS WATERPAS ZETTEN
Het fornuis kan waterpas geplaats worden door de uiteinden van+zijn voeten IN of UIT te draaien (Afb. 1.5)

ACHTERSCHERM
(NIET OP ALLE MODELLLEN AANWEZIG)
Verwijder de twee afstandsringen "A" en de schroef "B" van de achterkant van de kookplaat.
- Togliere la vite "B".
- Assembleer het achterschemm zoals aangegeven in Afbeelding 1.6 en bevestig het door de schroef "B" en de afstandsringen "A" vast te draaien.



Afb. 1.6


Afb. 1.7

BEWEGINGSSYSTEEM VAN HET FORNUIS
WAARSCHUWING
Hetrechtop zetten van het fornuis moet.altijd door twee personen worden gedaan,om te voorkomen dat de verstelbare voeten schade oplopentijdensdeze manoeuvre (Afb.1.7).
WAARSCHUWING
Pas op: til het fornuis bij hetrechtop zetten nicht op aan de deurhendel (Afb. 1.8).
WAARSCHUWING
SLEEP het fornuis NIET over de vloer wonneer u het maar de plaats van installmente vervoert (Afb. 1.9).
Til het fornuis zo ver op dat+zijn voeten de vloer Niet raken (Afb. 1.7).
BEVESTIGINGSSTEUN
Waarschuwing: Om te vermijden dat het apparaat toevallig Kantelt, moet het ondersteund worden door een steun aan dechterzijde van het apparaat teplaatsen en het veilig aan de muur te bevestigen.
Om de bevestigingssteun teplaatsen:
- Bepaal deplaats van het fornuis. Duid op de muur de plaats aan waar de twee schroeven van de bevestigingssteun要去en komt. Volg de instructies in Afbeelding 1.10.
- Boor twee gaten met een diameter van 8mm in de wand en steek er de bijgeleverde plastieken pluggen in.
Belangrijk! Controller of er geen leidingen of elektriciteitsdraden beschadigd können worden door de gaten te boren.
- Plaats de bevestigingssteun losjes met de twee bijgeleverde schroeven.
- Zet het fornuis gegen de muur en pas de hoogte van de bevestigingssteun aan, zodate in de gleuven aan dechterzijde van het fornuis past (zie Afb. 1.10).
- Draai de schroeven van de bevestigingssteun vast.
- Duw het fornuis gegen de muur zodat de bevestigingssteun zich volledig in de gleuven aan dechterzijde van het fornuis bevindt.
Opgelet!
Let goed op wanner u het fornuis op+zijn plaats schuift om te voorkomen dat de voedingskabel in de steunbeugel worden vastgeklemd.
Let extra goed op de gasslang.

Afb. 1.10
EISEN VOOR DE VENTILATIE
De installmenteur dient deplaatselijk geldende regelgeving m.b.t. de ventilatie van het vertrek en de afvoer van verbrandingsproducten in acht te nemen.
Tijdens een intensief en langdurig gebruik kan extra ventilatie nodig zijn, bijvoorbeeld door een raam te openen of door de afzuinstallatie - indien aanwezig - op een hogere vermogensstand te regelen. De installmenteur dient deplaatselijk geldende regelgeving m.b.t. de ventilatie van het vertrek en de afvoer van verbrandingsproducten in acht te nemen.
Tijdens een intensief en langdurig gebruik kan extra ventilatie nodig zijn, bijvoorbeeld door een raam te openen of door de afzuiginstallatie - indien aanwezig - op een hogere vermogensstand te regelen.
INSTALLLATIERUIMTE
De ruimte waarin het gastroestel worden geplaatst,要去 over een natuurlijke luchtstroom beschikken zodate het gas kan branden (in overeenstemming met de geldigeplaatselijkere regelgeving).
De luchtstroom要去 akkomstig zijn van een of meer openingen in de buitenmuren met een vrij ruimte van ten minste 100~cm^2 (of verwijzenaar de geldige lokale regelgeving).
De openings要去en dicht bij de bodem zich, bij voorkeur aan de Kant gegenover de uitlaat voor verbrandingsproducten, en要去en zo gemaatukt zich dat ze noch van binnen, noch van buiten konnen geblokkeerd worden.
Wanner het Niet möglichk is om zulke opingen te make, mag de nodige lucht ook afkomstig zich uit een aanpalende ruimte die voldoende verlucht is, indien dat geen slaapkamer of gezarenzone is (in overeenstemming met de geldigeplaatselijkere regelgeving).
In dat geval moet de keukendeur zorgen voor een luchtstroom.
Als er een kast of afzuigkap boven het komfoor hangt, dan moet de afstandussen het komfoor en de kast of afzuigkap minstens 650~mm bedragen (see Afb. 1.11).
AFVOER VAN DE VERBRANDINGSGASSEN
Er要去 een afzuiigkap in directe verbinding met de buitenlucht voorzien worden zodate verbrandingsproducten van het gastroestel afgevoerd+kennen worden (Afb. 1.11).
Indien dat nicht möglichk is, kan gebrui k gmaakt worden van een elektrische ventilator, die aan de buitenmuur of een raam bevestigd is. Deze moet een vermogen hebben zodat per eer 3-5 keer zoveel lucht als het totale volume van de keuken verplaatst worden (Afb. 1.12).
De ventilator kan alleen geplaatst worden indien de ruimte voldoende luchtopeningen heeft waardoor de lucht kan binnenkomen, zoals beschreiben in het hoofdstuk 'Keuze van geschikte plaats'.


Vóor de installmentie要去 men verifierten of hetplaatselijk distributienet (type van gas en druk) en de karakteristieken van het toestel compatibel zich.
De karakteristieken staan aangeduid op deplaat of op het etiket.
De wanden van de naast het fornuis opgestelde de meubels要去en uit hittebestendig materiaal vervaardigd zichin.

GASAANSLUITING
De installmente mag uitsluitend worden uitgevoerd door een gekwalificeerd elektricien, in overeenstemming met de lokaal geldende voorschriften.
Het fornuis is bij levering的那一oor gebruik met het type gas dat op het etiket op het toestel is vermeld.
Verzeker u ervan dat de ruimte waarin het fornuis geinstalleerd worden goedGeVentileerd is, in overeenstemming met de geldende voorschriften. Ook de aansluiting op de gasaanvoerbuis of gasfles要去 aan de geldende voorschriften voldoen.
- Het toestel worden links-of rechtsachteraan aan de gastoevoer aangesloten (tekening 2.1) op een zodanige manier dat de buis nooitchyter het toestel loopt.
- Het Niet gebruike uiteinde voor de aansluiting (links of rechts)要去 met de dop en de afdichting afgesloten worden.
- De installmentie mag uitsluitend worden uitgevoerd door een gekwalificeerd elektricien, in overeenstemming met de lokaal geldende voorschriften.
- De installmentie mag uitsluitend worden uitgevoerd door een gekwalificeerd elektricien in overeenstemming met lokaal geldende voorschriften (norm NBN D 51-003).
- De wanden naast het fornuis要去en uit hittebestendig materiaal vervaardigd zich, of met zulk materiaal bekleed zich.
- Ventilatie - gasverbranding is möglichk door zuurstof in de lucht. Het is dus nodsig om deze lucht te vernieuwen en om de brandbare delen te vernieuwen. Het volume van de vernieuwde lucht moet ten minste 2m^3/u per kW.
Het gas dat kan worden gebruikt, kan in 2 families worden verdelijk afhankelijk van hun eigenschappen:
Vloeibaar gas: butaangas (G30) en propaangas (G31)
Aardgas (G20/G25)
Het fornuis is bij levering klaar voor het gebruik met het type gas dat op het etiket van het toestel vermeld staat.
Het kan soms nodig+zijn om van een type gas op een ander over te schakelen.
U moet als volgt tewerkgaan, ongeacht voor welk type gas het toestel afgesteld is:
gasaansluiting;
- verranging van de inspuiers van het werkblad;
regeling van dekleinstand van de branders van het werkblad.
Controleer of het toestel afgesteld is op het type gas dat toegevoerd worden (zie etiket).
De gasinstallatie moet voldoen aan de lokaal geldende voorschriften.
De aansluiting (Afb. 2.2) bestaat UIT:
1 buisfitting "A" (cilindrisch buitendraad ISO 228-1)
1 pakkingring "D"
1 kegelvormig verloopstuk "B" (cilindrisch met binnendraad ISO 228-1, kegelvormig met buitendraad ISO 7-1)
1 verloopstuk voor butaan- en propaangas "C".

Afb. 2.2
Het toestel moet worden aangesloten met R_HT material op AGB/BGV erkende gaskranen behalte fornuizen met een mono-fase aansluiting.
In het algemeen gebeurt de aansluiting van het product op de gaskraan met behulp van:
- ofwel koperbuizen met aangepaste dikte;
- ofwel stalen buizen;
- ofwel een metalen R_HT slang AGB ergend en zodanig geinstalleerd dat hij Niet samengedrukt is,而不是 bewegen en geen Kleinere kromming hebft dan voorgeschreiben door de fabrikant.
Ultzondering voor toestellen met mono-fase.
- Deze toestellen können aangesloten worden met behulp van een slang in elastomeer aan de vaste Mechanische verbinding; gebruik alleen "AGB/BGV" erkende slangen.
-
Twee types van elastomeerslangen: tot 1 april 2005 waren er 2 types van flexibele buizen in elastomeer verkrijgbaar:
-
het oude type (asymmetrisch) bevat een vast verdelsestuk aan het toestel en een buisfitting met vlak verbindingstuk aan de gaskraan;
- het neue type (symmetrisch) bevat aan elke kant een buisfitting met vlak verbindingstuk; uiteindelijk za alleen het symmetrische model beschikkaar zich.
Indien het toestel十几年 geplaatst wordt of verrangen wordt, moet men alttijd het symmetrische type gebruiken.
Aansluiting
Oude toestellen zijn uitergerust met een kegelvormige aansluiting ISO 7-1 - de slang worden als volgt aangebracht:
- breng een afldichtingsproduct aan op het net van het toestel: teflon of afldichtingsmix evenals kunstvezelstof;
- breng het tussenstuk (cylindrisch binnendraad ISO 7-1 cylindrisch buitendraad ISO 228-1) met tweesleutels op het toestel aan;
- controller of het afdichtingstuk goed ingebracht is in het verloopstuk van de elastmeerslang (nieuw model);
- breng de elastomeerslang aan beiden kanten met de hand aan;
- geef nog een halve draai met de sleutel;
- open de gaskraan en controllerer met behulp van zeepproducten dat er geen gaslekken (zeepbellen) zijn aan de aansluiting.
De neue toestellen zich uitgerust met een aansluiting ISO 228-1; voor de aansluiting volg fase 3, 4, 5, en 6 zoals hierboven beschreiben.
Voorzorgsmaatregelen:
de flexibele buis moet zo worden aangebracht dat ze Niet gewrongen, samengedrukt zit en nicht kan bewegen;
- de flexibele buis要去 worden aangebrachte dat ze niets aanraakt;
- de kromming要去 tenminste 10 koer de buitendiameter়;
- ze mag nicht in contactkommen met warme wanden;
- breng ze aan op een gemakkelijk te bereikenplaats zodate u ze over heel de lengte kan controleren;
- ze mag Niet aan de zon of ultraviolet stralen blootgesteld worden of in een verwarmdeplaats staan.
Regelmatige controle en verranging
Minstens eenmaal per Jaar moet de slang gecontroleerd worden op elke zichtbare verslechtering; de slang要去 uiterlijk op de aangegeven datum verrangen worden.
BELANGRIJK:
Gebruik voor het aanschroeven van de onderdelen twee sleutels (zie Afb. 2.3).
Controleer na voltooing van de aansluiting met behulp van een zeepoplossing en nooit met een vlam of de verbindingen gasdicht zich.


Afb. 2.4
Nieuwe elastomeerslang AGB/BGV - twee aansluitingsmogelijkheden

Afb. 2.5

BE
Cat: II 2E+3+
| BRANDERS | NOMINAL DEBIET [kW] | VERMINDER DEBIET [kW] | G30/G31 28-30/37 mbar | G20/G25 20/25 mbar |
| Ø spuitstuk [1/100 mm] | Ø spuitstuk [1/100 mm] | |||
| Hulpbrander (A) | 1,00 | 0,40 | 50 | 72 (X) |
| Halfsnelle (SR) | 1,75 | 0,45 | 65 | 97 (Z) |
| Snelle brander (R) | 3,00 | 0,75 | 85 | 128 (H3) |
| Dubbele kroon compact (DCC) | 4,00 | 1,50 | 100 | 150 (H3) |
| Benodigde luchttoevoer voor de verbranding van gas (2 m3/h x kW) | |
| BRANDERS | Benodigde luchttoevoer [m3/h] |
| Hulpbrander (A) | 2,00 |
| Halfsnelle (SR) | 3,50 |
| Snelle brander (R) | 6,00 |
| Dubbele kroon compact (DCC) | 8,00 |
GASKRANEN
- Alleen gespecialiseerde vakmensen mogen de periodieke smering van de gaskranenuitvoeren.
BELANGRIJK
Voor alle operaties m.b.t. de installmentie, het onderhoud en de omschakeling van het toestel, moet men de originele stukken van de constructeur gebruiken.
De constructeur kan nicht aansprakelijk gesteld worden indien denen verplichting nicht in achecht worden genomen.
VERVANGING SPROEIERS VAN DE BRANDERS
Elk fornuis worden geleverd met een série sproeiers voor de verzillende gassoorten.
Als er geen spuitstukken zijn meegeleverd, dan zich deze te verkrijgen bij de Servicecentra.
De neue sproeiers要去ken gekozen worden op grond van de "Tabel van de inspuiters".
De diameter van de sproeiers, uitgedrukt in honderste millimeters, is aangegeven op de buitenkant.
VERVANGING VAN DE INSPUITERS VAN HET WERKBLAD
Ga als volgt te werk om de sproeiers te verrangen:
- Verwijder de panroosters en de kapjes van de branders.
- Vervang m.b.v. een pijpsleutel desproeiers "J" (Afb. 2.4, 2.5) door neue die geschikt voor het type gas dat gezruikt worden.
De branders zich zodenig ontworpen dat er geen afstelling van de primaire lucht nodig is.
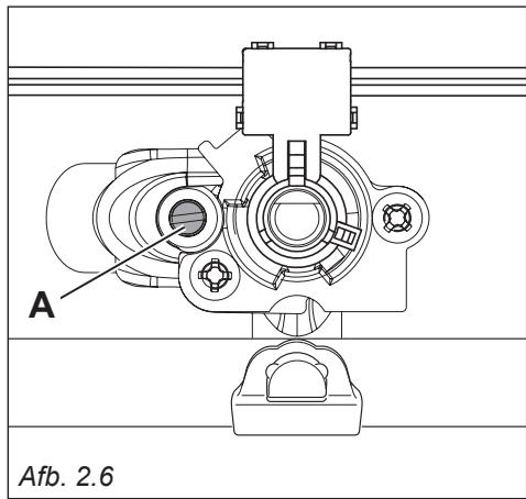
REGELING VAN DE KLEINSTAND VAN DE BRANDERS VAN HET WERKBLAD
Een correcte vlam bij kleinstand要去 ongeveer 4 mm়.
Een bruusk overgaan van volstand waar Kleinstand mag nooit het doven van de vlam tot gevolg hebben.
De vlam worden als volgt geregeld:
De brander aansteken.
- De kraan op kleinstandplaatsen.
- De knop wegemen.
- Met behulp van eenkleine schroevendraier de vijs (A) in de kraanstift draaien tot een correcte regeling uitgevoerd (Afb. 2.6).
Vorr G30/G31 (butaangas/propaangas) gas dient de vijs volledig ingeschroefd te worden.
Snelkookplaat, Halfsnelle en Snelle branders

Afb. 2.4


BELANGRIJK: De installmentie mag uitsluitend worden uitgevoerd door een gekwalificeerd elektricien, in overeenstemming met de lokaal geldende voorschriften en de aanwijzingen van de fabrikant. Een foute installmentie kan schade aan Personen, dieren en zaken ten gevolge hebben waar voor de fabrikant zich Niet aansprakelijk stelt.
Trek altijd de stekker uit alvorens werkken uit te voeren aan het elektrische gedeelte van het toestel.
De a Harding van het toestel is verplicht.
De fabrikant wijst alle verantwoir- delijkheid af wanner schade veroorzaakt worden door het Niet in acht nemen van deze voorwaarde.
AANSLUITING OP HET ELEKTRICITEITSNET
- De aansluiting op het elektriciteitsnet要去uitgevoerd worden door eenvakman en voldoen aan de geldende veiligheidsvoorschriften;
- Het apparaat要去 aangesloten worden op het elektriciteitsnet, nadat men eerst haeft vastgesteld dat de netspanning overeenstemt met de voedingssspanning die op het typeplaatje is vermeld en dat de elektrische voorziening de aansluitwaarde van het toestel kan dragen;
In het geval dat het toestel zonder stekker is geleverd, moet er worden gezorgd voor een stekker die geschikt is voor het vermogen dat het toestel opneemt; - Het is möglichk om het apparaat direct op het elektriciteitsnet aan te sluiten door middel van een lijnschakelaar met een minimumafstand van 3mm tussen de contacten;
- De voedingskabel mag Niet in aanraking komen met*hete oppervlakken en moet zo geplaatst worden dat de temperatuur nergens boven de 50^ komt;
- Het toestel要去zo worden geinstalleerd dat het stopcontact of de lijnschakelaar altijd bereikbaarহn.
N.B. Gebruik geen adapters, verloopstekkers en meervoudige stekkerdozen omdat deze oververhitting en verbrandingen können verroorzaken.
Als de elektrische voorziening in uw woning aangepast moet worden om het toestel te installereren of als de stekker Niet in het stopcontact past, LAST de nodige werkzaamheden dan verrachten door een bevoegd vakman.
Deze要去 bovendien controlleren of de doorsnede van de bekabeling van het stopcontact groot genoeg is voor het vermogen dat het toestel opneemt.
AANSLUITING VAN DE ELEKTRISCHE VOEDINGSKABEL
BELANGRIJK: De aansluiting op het elektriciteitsnet要去uitgevoerd worden door een bevoegd.
LET OP: Indien de voedingskabel beschadigd is, mag deze uitsluitend verrangen worden door een vertegenwoordigde operatoren van de Servicedienst om eventuele risico's te vermijden.
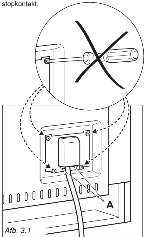
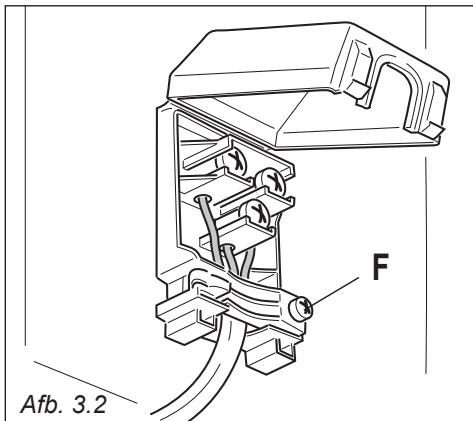
Het aansluitsnoer worden als volgt op het fornuis aangesloten:
- Open het deksel van de aansluitblok door een schroevendraaier in de twee haken te steken "A" (afb. 3.1).
Maak schroef "F" los en open de kabel klem in zijn geheel. - Steek de voedingskabel met aangepast lidje in het bedieningspaneel.
- Sluit de fase-, nul- en aardedraden aan op het aansluitblok volgens het schema in Afb 3.3.
Trek aan de voedingskabel en blokker het met de klemschroef. - Sluit het deksel van de aansluitblok (controller of de twee haken "A" correct vastgekliktijken).
Belangrijk: De aardingsgeleider要去 onceveer 3 cm longer maar dan de andere kabels.
BELANGRIJK: Om de voedingskabel aan te sluiten, kan u de schroeven van het toegangsplaatje anschter het klemmenbord NIET LOSDRAAIEN.
DOORMETER VAN DE VOEDINGSDRAAD
"TIPO H05RR-F"
220-240 V ac
$$ 3 \times 1, 5 \mathrm {m m} ^ {2} (^ {*}) $$
(*) Aansluiting door middel van een stekker in een stopkontakt.



220-240 V ac
Afb. 3.3
Advies voor de gebruikers

Afb. 1.1
Algemene karakteristieken:
- Hulpbrander (A) 1,00 kW
2.Halfsnellebrande (SR) 1,75kW - Sellebrander (R) 3,00 kW
- Dubbele kroon compact (DCC) 4,00 kW
OPMERKING
- Elektrische ontsteking is ingebouwd in de bedieningsknoppen van de gasbranders.
Veiligheidsventielen: is worden de gastoevoer gestopt als de vlam per ongeluk dooft.
WAARSCHUWING:
Als de vlammen van de brander per ongeluk uit gaan,要去 u de bedieningsknop dichtdraaien en tenminste een minuut wachten voordat u opnieuw probeert het apparaat aan te steken.
WAARSCHUWING:
Het gebruik van een kookapparaat op gas veroorzaakt warmte en vochtigkeit in de ruimte waar het is geinstalleerd.
Zorg voor een goede ventilatie van de ruimte door de naturulijke ventilatieopeningen opente honden of door een afzigkap met afvoerbuis te installereren.
WAARSCHUWING:
Bij intensief en langdurig gebruik van het apparaat kan een extra ventilatie nodig zich, bijvoorbeeld door een raam te openen, of een doelmatigere ventilatie, door het mechanische afzuigvermögen te verhogen, als dat er is.

BESCHRIJVING VAN DE BEDIENINGSKNOPPEN
- Bedieningsknop kookplaat rechts voor
- Bedieningsknop brander rechts darüber
- Bedieningsknop kookplaat midden
- Bedieningsknop brander links hinter
- Bedieningsknop brander links voor
- Thermostaatknop
- Keuzeknop voor de bediening van de oven
- Elektronische klok/programmaklok
- Temperaturcontrolelampje van de multifunctionele oven
OPMERKING:
De knop en de symbolen können variëren.
Ventilatiemotor voor koeling
Dit toestel beschibt over een veilige koeling dankzij de ventilatiemotor, waardoor een optimale efficicntie van het contropaneel worden bereikt, de oppervlaktetemperatuur lager blijft en de interne componenten worden afgekoeld.
De ventilatiemotor voor koeling worden automatisch ingeschakeld wanner de oven of de grillbrander worden aangezet.
Deze kan (enkele Minutes) blijven werken, ook nadat de oven of grillbrander werdenuitgeschakeld.
Deze periode hangt af van de baktemperatuur en -duur.
GEBRUIK VAN DE BRANDERS
De gastoevoer maar de brander worden bediend door een knop (Afb. 3.1) die inwerkt op de kraan met veiligheidsafsluiting.
Door het merkteken op de knop rechtover de verschillende symbolen op het bedieningsbord teplaatsenbekommt men:
- merkpunt

gesloten kraan (uitgedoofde brander)
- merkpunt

vol debiet (brander op maximum)
- merkpunt

vertraagd debiet (brander op minimum)
Gebruik de hoogste stand om vloeistof snel aan de kook te brengen en de laagste stand voor het voorzichtig opwarmen van voedsel en om vloeistof aan de kook te houden.
√ Om de gastoevoer te verminderen draait u de knop verder gegen de klok in, desgewenst tot het aanslagpunt, waar de aanwijzer van de knop op het symboolkleine vlam wijst.
Kook alsijd met de bedieningsknop op een stand tussen maximaal en minimaal. Nooit tussen maximaal en uitstand. Om te sluiten, de knop rechts draaien tot de inschakeling van de veiligheid.

Afb. 3.1
OPMERKING:
De knop en de symbolen können variëren.

Voorzichtig!
Bedek de kookplaat Niet met aluminiumfolie.
Controleer na het koken alkijd of u de bedieningsknop maar de gesloten stand heeft teruggedraaid.
Wanner u het fornuis nicht gebruikt is het verstandig om de kraan op de gastoevoer zich te draaien.
Let op: Het oppervlak van het fornuis wordtijdens het koken zeer heet.
Houd kinderen uit de buurt van het fornuis.
ONSTEKING VAN DE BRANDERS
- Om een brander te ontsteken要去 de bijbehorende bedieningsknop indrukken en waar de hoogste stand (grote vlam ) draaien; houd de bedieningsknop ingedrukt totdat de brander aan is. (Als de stroom is uitgeallen kunt u de brander ontsteken door er een vlam bij te honden).
- Wacht ongeveer tien seconden na de ontsteking van de brander, alvorens de knop waar los te lately (deijd om het veiligheidsventiel te bewapenen).
- Regel de gaskraan op de gewenste stand.
Mocht de vlam van de brander om welke reden ook doven, dan zal de veiligheidsklep de gastoevoer automatisch Afbreken.
Om de werkung veer te hervatten moet u de knop in de stand *draaien en de brander opniew ontsteken volgens bovenstaande instructies.
Indien bijzondere lokale omstandigheden van het gedistribueerde gas de ontsteking van de brander moeizaam makeen wanner de bedieningsknop in de hoogste stand staat, adviseren wij de procedure nogmaalsuit te voeren, maar nu met de knop in de minimumstand.


Afb. 3.3
KEUZE VAN BRANDERS
De positie van de branders staat aangeduid op het bedieningsbord. Het symbol met verschillende kleur of grafisme duidt de brander aan die bediend worden door de kraan die zich er net onder bevindt.
De brander dient gekozen te worden in funktie van de diameter en de inhoud van de gebruiekte kookpan.
Ter inlichting: de branders en kookpannen moeten volgens de hiernavolgende aanduidingen gelebruikt te worden:
| BRANDERS | DIAMETER | KOOKPANNEN | |
| Hulpbrander | 12 | - | 14 cm |
| Half-snelle | 16 | - | 24 cm |
| Snelle | 24 | - | 26 cm |
| Dubbele kroon compact | 26 | - | 28 cm |
| Wok | max. 36 cm | ||
Gebruik geen pannen met een holle of bolle bodem
Het is belangrijk dat de diameter van de kookpan aangepast is aan het vermogen van de brander teneinde het hoog rendement van de branders zo goed möglich te gebruiken en het onnodig gasverbruik te vermijden. Eenkleine kookpan op een grote branderplaatsen teneinde het gerecht vlugger aan de kook te brengen, dient tot niets want de warmteabsorptie blijf steedsdezelfte gegenover het volume en de oppervlakte van de braadpan.
LET OP: Zorg ervoor dat de paffen in het midden van de brander staan voor maximale stabiliteit en meer efficientre.
Zet het speciale wokrooster op het rooster van de brander met Dubbele kroon compact.
LET OP:
- Het gebruik van een wok zonder het speciale onderstel kan de werkking van de brander waar storen.
Zet geen pan met een platte bodem op het speciale onderstel.
BELANGRIJK
De speciale wokrooster kan alleen op de brander met Dubbele kroon compactgeplaatst worden.


ALGEMENE KENMERKEN
Zoals zijn naam het zegt,Gaat het hier om een oven die specifieke Funktionele kenmerken bezit Het is inderdaad maybeijk 8 verschillende funkties te gebruiken om aan elke kookvereiste te voldoen.
Deze 8 funkties, met thermostatische controle, worden verwezenlijk door 4 verwarmingselementen:
- Onderweerstand
Bovenweerstand
Grillweerstand
Ringvormige wonderstand
OPMERING:
Voor het eerste gebruik is het raadzaam om de lege oven 30 minutes op stand te laten werken en verrolgens nogmaals 30 minutes op de maximumtemperatuur (thermostaatknop op 250^ ) in de standen en, om alle sporen van vet van de verwarmingselementen te verwijderen. Maak de oven en zijn accessoires schoon met warm water en vloeibaar afwasmiddel.
WERKINGSPRINCICE
Het opwarmen en koken met de MULTIFUNKTIE oven gebeurt als volgt:
a. door natuurlijke convectie
De warmte worden produceerd door de boven- en onderweerstand.
b. door gedwongen convectie
Een turbine zuigt de lucht in de moffel van de oven aan, stuwt deze door de witgloeiende schroefgangen van een elektrische waarstand en stuwt deze wee in de moffel. De warme lucht - alvorens wee aangezogen te worden omdezelfde cyc/us te hernemen - omhult de gerechten in de oven waardoor deze vlug en volledig gaargekoott worden.
Bovendien kan men verschillende gerechten tegelijkertijd koken.
c. door semi-gedwongen convectie
De door de boven- en onderweerstand geprodueceerde warmte worden door de turbine in de oven verdeld.
d. door straling
De warmte wordt door de infraroodstralen van de grillweerstanduitgestraald.
e. door straling en ventilatie
De door de infra-loodgrillweerstanduitgestraalde warmte worden door deturbine in de oven verdeld.
f.ventilatie
Het voedsel worden zonder verwarming door de ventilator ontdooid.
OPGELET: Modellen met glazen deksel: Het deksel van het fornuis要去 open blijvenijdens de werkking van de oven.
OPGELET: Tijdens de werking van de oven is de overeur warm.
Houdt dejonge kinderen op afstand.
WAARSCHUWING: De deur is heet. Gebruik het handvat.
WAARSCHUWING: Gedurende het gebruik worden het apparaat warm. Opletten om nicht de warme elementen binnen de oven te treffen.
Breng geen aluminiumfolie aan op de wanden van de oven. Plaats bakplaten of de druiplaat Niet op de bodem van de oven.

Afb. 4.1
Afb. 4.2
OPMERKING: De knop en de symbolen können variëren.
THERMOSTAAT (Afb. 4.2)
De verwarmingselementen van de oven worden ingeschakeld door de knop op de gewenste funktie teplaatsen en door dethermostaatknop op de gewenste temperatuur in te stellen.
De contrôle van de werkung (ON-OFF) van de verwarmingselementen worden uitgevoerd door dethermostat; zich werking wordt aangegeven door het lampje op het knuppenbord.
BAK STANDENSCHAKELAAR (Afb. 4.1)
Draai de knop met de klok mee om eén van de bakstanden in te stellen.

VERLICHTING
Bij het instellen van de knop in deze positie,licht het ovenlampje op.
De oven blijft verlicht als de schakelaar op één van de funkties is ingesteld.

TRADITIONEEL KOKEN-CONVECTIE
Werking van de onder- en bovenweerstand.
De warmte worden door natuurlijke convectie verspreid en de temperatuur要去 geregeld worden van 50^ tot 250^ met dethermostaatknop.
De oven dient voorverwarmd te worden alvorens de gerechten in de oven teplaatsen.
Aangeraden Gebruik:
Vb: gebraad, varkensribben, schuimgebak (meringue).

ONDERSTE VERWARMINGSELEMENT
In deze stand worden enkel het onderste verwarmingselement ingeschakeld.
De warmte verspreidt zich door natuurlijke convectie.
De temperatuur dient geregeld te worden van 50^ tot 250^ met dethermostaatknop.
Aangeraden Gebruik:
Geschikt voor het verhitten van gerechten waarvan de bodem op een hove temperatuur要去en worden verhit.

WARMTE VAN BOVENAF
Uitsluitend het bovenste verwarmingselement worden ingeschakeld.
De warmte worden verspreid door de natuurlijke convectie en de temperatuur kan met de thermostatatknop worden afgesteld:tussen 50^ en 250^
Aangeraden gebruik:
Snel en gelijkmatig latent rijzen van alle soorten deegwaren en vers gekneed deeg of voor het afronden van bereidingen waarvoor meer warmte aan de bovenkant nodig is.

GRILLEN
Het infrarood-verwarmingselement is ingeschakeld.
De warmte verspreidt zich via straling. Gebruik het apparaat met gesloten ovendeur en met dethermostaatknop+tussen 50 en 225^
In de -stand zal de rotisseriemotor worden ingeschakeld.
Voor correct gebruik, lees "GEBRUIK VAN DE GRILL" en "GEBRUK VAN HET BRAADSPIT".
Attentie: Het worden aangeraden om nicht langer dan 30 minutes après elkaar te grillen.
Attentie: Tijdens het gebruik worden de ovendeur zeer heet. Houd kinderen weg van de oven.
Aangeraden gebruik:
De grill is te gebruiken voor gerechten die dieren te worden gebraden, opgewarmd, gegratineerd, geroosterd, etc.

KOKEN MET GEVENTILEERDE GRILL
Werking van de infra-loodgrillweerstand en de turbine.
De warmte worden hoofdzakelijk verspreid door straling en de ventilator verdweit de warmte over de ganse oven.
De temperatuur moet d.m.v. dethermostatknop worden geregeld op een stand:tussen 50^ en 225^ (voor maximaal 30 minuten).
Attentie: Voor gebruik moet de deut-van de oven gesloten zijn.
De oven要去oorverwarmd worden gedurende 5 minuten. Voor een correct gebruik verwijzen wij hier hoofdstuk "ROOSTEREN EN GRATINEREN".
Attentie: Het wordt aangeraden om nicht langer dan 30 minuten acheer elkaar te grillen.
Attentie: Tijdens het gebruik worden de ovendeur zeer heet. Houd kinderen weg van de oven.
Aangeraden Gebruik:
Voor het roosteren van gerechten waarvan de buitenkant gebruind moet worden om het vleessap binnenin te behouden. Vb: kalfsbiefstuk,entre-cote,hamburger,enz.

KOKEN MET CONVECTIE EN VENTILATIE
De bovenste en onderste verwarmingselementen en de ventilator worden ingeschakeld. De warmte afkomstig van boven en de onder wordt door convectie met ventilatie verspreid. De temperatuur kan met dethermostaatknop worden afgesteld tussen 50^ en de maximale stand.
Aangeraden gebruik:
Gerechten met groot volume en een große hoeveelheid die van binnen en buitendezelfde vereidingsgraad vereisen, zoals: rollades, kalkoen, bouteen, taarten, enz.

Werking van de ringvormige waarstand en van de turbine.
De warmte worden door gedwonden convectie verspreid en de temperatuur dient geregeld te worden van 50^ tot 250 ^ C d.m.v. de thermostaatknop. De oven要去 nicht voorverwarmd worden.
Aangeraden Gebruik:
Voor gerechten die een goedgebakken korstje要去en haben en binnen zacht of roze dieren teijken.
Vb: lasagne, lamsvlees, rosbif, gehele vissen, enz.

ONTDOOEN VAN INGEVROREN VOEDINGSMIDDELEN-ECO FUNC TIE
ONTDOOEN VAN INGEVROREN VOEDINGSMIDDELEN:
Enkel werkinq van de ovenventilator.
Te gebruiken met de thermostaatknop op stand "●" waar elke andere stand geen enkeleuitwerking hebft.
Het ontvriezen gebeurt door de ventilatie, zonder verwarming.
ECO-FUNCTIE (ENERGIEBESPARING):
De onderste en bovenste verwarmingselementen en de ventilator zijn ingeschakeld. De warmte die door de boven- en onderweerstand worden geproduerd worden door gedwongen convectie verspreid.
Deze functie vermindert het energieverbruik van het apparaat en is.daarom bijzonder geschikt voor het zacht garen vankleine hoeveelheden voedsel op een enkele bakplaat.
Het is Niet nodig om de oven voor te verwarmen en de ovendeur dientijdens gebruik gesloten te blijven. De bereidingstijden zijn möglichk longer dan bij standarddfuncties.
Gebruik deze functie Niet om de oven voor te verwarmen.
Aangeraden Gebruik:
Voedsel dat zicht koken vereist. Om voedsel warm te houden na het koken. Om al gekookt voedsel langzaam te verwarmen.
KOOKWENKEN
STERILISEREN
Het steriliseren van levensmiddelen in bokalen geleurt als volgt (volle bokalen, hermetisch gesloten):
a. de schakelaar op stand 0 plaatsen;
b. dethermostaatknop op stand 185^ plaatsen en de oven voorverwarmen;
c. de druiplaat met warm water vullen;
d. de bokalen op de druiplaat zetten en erop letten dat ze elkaar nicht raken; de deksels bevochtigen met water; de ovendeur sluiten en de thermostaatknop op stand 135^ plaatsen.
Wonneer het steriliseren begint, t.w.
wonneer er luchtbellen in de bokalen gezormd wor den, de oven uitschakelen en latent afkoelen.
SIMULTAAN KOPEN
De standen en de MULTIFUNKTIE oven latent toe verschillende heterogene bereidingen simultaan te koken. Aldus kan men tezelfdertijd verschillende gerechten koken zoals vb. vis, taart en vlees zonder dat de aroma's en smaken zich vermengen. Dit is möglichk odomat de dampen en vetten geoxydeerd worden door de elektrische waarstand en zich dus nicht{kennen afzetten op de gerechten.
De enige te nemen voorzorgen zijn:
- de kooktemperaturen要去en zo dicht möglich bij elkaar liggen met een verschil van maximum 20^ tot 25^ tussen de extreem vereiste temperaturen voor de verschillende gerechten;
- de gerechten zullen op verschillende tijdstempen in de oven geplaast worden, rekening houdend met de verschillende kookduur.
Het resultaat van deze kookwijze is een evidente energia en tijdbesparing.
VERBETEREN
De schakelaar op stand plaatsen en de thermostaatknop op stand 150^ Brood wordt weeer knappend vers als men het ongeveer 10 minuten in de ovenplaatst nadat het lichtjes bevochtigd werk.
BRADEN
Om op de klassieke manier te braden (gaar gebakken) volstaat het volgende punten in acht te nemen:
de oventemperatuurinstellen tussen 180^ en 200^ C.
dehoeveelheid en de kwaliteit van het vlees.
KOPEN MET DE GRILL
De oven要去oorverwarmd worden gedurende 5 minuten.
Voor gebruik moet de deur van de oven gesloten zich.
Het gerecht op het ovenroosterplaatsen dat zo hoog möglichk in de oven worden geschoven.
Breng de overschaal onder de grill aan, om het vet en de sappen op te vangen.
Attentie: Voor gebruik moet de deur van de oven gesloten zich.
ROOSTEREN EN GRATINEREN
Met de schakelaar op stand [x] kan het roosteren zonder braadspit gbeuren, waar delucht volledig rond de gerechten verspreid worden.
De thermostaatknop op stand 225^ plaatsen en na voorverwarming van de oven de gerechten op het roosterplaatsen, de ovendeur sluiten en de oven latent verder verwarmen tot het roosteren voleindig is.
Voor het eind van de kooktijd enkele boterkrulletjes toevoegen om het mooie gravneffekt tebekomen.
Attentie: Voor gebruik moet de deur van de oven gesloten zijn.
De grill nicht länger dan 30 min. gebruiken.
Attentie:ijdens het gebruik worden de ovendeur zeer heet.
Houd kinderen weg van de oven.
Let op
Het apparaat kan zeer heet worden, vooral rondon de kookzones. Houd kinderen weg van de oven.
KOPEN MET DE OVEN
De oven voorverwarmen op de gewenste temperatuur.
Wanneer de oven de gewenste temperatuur bereikt heeft, het gerecht in de ovenplaatsen en de kooktijd nakijken. De oven 5 min. voor het eind van de kooktijd uitschakelen om de in de oven opgestapelde warmte te benutten.
KOKEN MET DE OVEN
De oven voorverwarmen op de gewenste temperatuur.
Wanneer de oven de gewenste temperatuur bereikt heeft, het gerecht in de ovenplaatsen en de kooktijd nakijken.
| GERECHTEN | TEMPERATUUR |
| Lasagna in de oven | 220°C |
| Pasta in de oven | 220°C |
| Pizza | 225°C |
| Creoolse rijst | 225°C |
| Uien in de oven | 200°C |
| Crêpes met spinazie | 225°C |
| Aardappelen met melk | 200°C |
| Gevulde tomaten | 225°C |
| Kaassouflé | 200°C |
| Kalfsgebraad | 200°C |
| Gegrilde kalfskoteletten | 225°C |
| Kippenwit met tomaat | 200°C |
| Gegrildekip - gebradenkip | 200°C |
| Kalfsgehakt | 225°C |
| Roastbeef | 220°C |
| Tongfilets | 200°C |
| Wijting met kruiden | 200°C |
| Beignets | 180°C |
| Pruimentaart | 200°C |
| Taartjes met confiture | 225°C |
| Biscuit | 225°C |
| Gesuikerd gerezen deeg | 225°C |
| Tompoes | 200°C |
| Taart Marguerite | 220°C |
BRAADSPIT
Dit dient om de gerechten aan het spit le braden door middel van het gebruik van de grillbrander.
Dit onderdeel bestaat UIT:
1 elektrische motor.
- een roestvrij stalen spit voorzien van een uitschuifbare hittebestendige.
1 steun voor het spit dat men op de midden richel van de ovenplaatst.
De motor wordt ingeschakeld met de hendel (Afb. 4.1).
Opm.: het braadspit kan tot 6 kg vlees draaien.


GEBRUK VAN HET BRAADSPIT
Heel belangrijk: het braadspit moet algijd gebruik worden met gesloten ovendeur.
De braadslee "L" op de onderste richel van de oven plaatsen en de steun "T" op de middenrichel (Afb. 4.3).
- Het spit in het braadstuk rijgen en het met de vorken vastleggen (Afb. 4.5).
Verwijder het handvat "H" door maar links te draaien (Afb. 4.5).
- Breng de stang "S" in de opening "G" van de motor door op de steun van de stang te duwen (Afb. 4.4).
De draairichting van de hendel is van links\ haar rechts, of omgekeerd.
Belangrijk! Pas op, de vorken zijn scherp!
Attentie: Tijdens het gebruik worden de ovendeur zich heet. Houd kinderen weg van de oven.
De grill nicht länger dan 30 min. gebruiken.

De elektronische programmering is een mechanisme met de volgende functies:
24-uurs klok met lichtgevend display
Kookwekker (in te stellen tot aan 23 uur en 59 minutes)
Programma voor automatisch bakken in de oven.
Programma voor half-automatisch bakken in de oven.
Beschrijving van de drukknoppen:

Kookwekker

Baktijd

Einde baktijd

Handmatige bediening en ongedaan maken van de ingeschakelde programma's.

Vooruit zetten van de cijfers van alle functies

Achteruit zetten van de cijfers van alle functies en instellen van het geluidssignaal.
Beschrijving van de oplichtende tekens:
AUTO - knipperend - Programming op automatische bediening maar nog nicht geprogrammeerd (men kan de oven nicht aanzetten).
AUTO - Brandt, maar knippert nicht Programmering op automatische of halfautomatische bediening met ingeschakeld programma.

Programming op handmatige bediening of automatisch bakken in werkung.

Kookwekker in werking

en AUTO - knipperend en met geluidssignaal - Verkeerde programmering (de baktijdinstellung is langer dan de instelling van einde baktijd).
Opmerking: Het programmeren (met een hand) gebeurt door het indrukken van de knop die overeenkomt met de gewenste functie. Nadat men deze waar heeft losgelaten dient men binnen 5 seconden de tijd in te stellen met de toetsen of edere keer dat de stroom uitvalt worden de programmering op nul gezet.













Afb. 5.1













Afb. 5.2
DIGITAALKLOK (Afb. 5.2)
Deprogrammeer-eenheidisvoorzien van een elektronische klok metlichtgevende cijfers die de uren en de minuten aangeven. Bijdeeerste aansluiting van de oven op het elektriciteitsnet of naeen stroomstoring zicher drie knipperende nullen zichtbaar op het display van de programmeer-eenheid. Om de tijd in te stellen dient U het knopje enervolgens het knopje 空 of ingedrukt houden totdat de klok op de juiste tijd staat (Afb.5.2).
Er bestaat ook een ander systeme: druk de knopje 山 , egelijk in en druk tegelijkkertijd op de knopjes of
Opmerking: Bij het instellen van deijd worden eventuele in werkig zijnde of ingestelde programma's op nul gezet.
HANDMATIGEBEDIENINGVANDE OVEN ZONDER PROGRAMMERING
Om de oven handmatig te bedieren, zonder gebruik van de programmering, moet het knipperende opschrift AUTO worden uit gezet door op de knop te drukken (het opschrift AUTO za uitgaan, terwijl het symbol gaat branden).
Let op: Als het opschrift AUTO nicht knippert (hetgeen betekent dat er al een bakprogramma is ingesteld) zorgt het indrukken van de knop voor het wissen van het programma en voor het omschakenaar de handmatige bediening.
Indien de oven aanstaat dient men hem handmatig uit te zetten.

ELEKTRONISCHE KOOKWEKKER
De kookwekkerfunctie bestaat slechtsuit een geluidssignaal dat ingesteld kan worden voor een tijsbestek van maximaal 23 uur en 59 minutes.
Om deijd in te stellen moet U op het knopje drukken en verrolgens op het knopje of totdat het display de gewensteijd aangeeft (Afb. 5.4).
Als de kookwekker is ingesteld verschijnt deijd van de klok waar op het display en gaat het symbol branden.
Het terugtellen begint onmiddelijk.
Dit is op elk gewenst moment te zien op het display wanner U het knopje indrukt.
Als de ingesteldeijd verstreken is gaat het symbolism uit en hoog U een repeterend geluidssignaal dat uitgezet kan worden door op een willekeurige knop te drukken.
INSTELLING VAN DE TOON VAN HET GELUIDSSIGNAAL
Door op de knop te drukken hoogt U na elkaar drie verschillende klanken.
Het als staat gehoorde geluidssignaal blijft ingesteld.

AUTOMATISCH BAKKEN (Afb. 5.5 - 5.6)
Voor het automatisch bakken in de oven要去 U:
- De baktijd instellen
- Einde baktijd instellen
- Temperatur en functie van de oven instellen.
Hiervoor gaat U als volgt te werk:
- Stel de baktijd in door op de knop te drukken en verwolgens op de knop (vooruit) of (achteruit, als men over de gewenstearend heen is gegaan).
Het opschrift AUTO en het symbolie gaan branden.
- Druk op de knop ; de baktijd, reeds opgeteld bij het tijdstip van de klok verschijnt op het display.
Stel het tijdstip van einde baktijd in door op de knop ; te drukken; indien men over het gewenste tijdstip heb een gaat kan men achechteruit gaan door op de knop te drukken.
Na deze instelling zal het symbol doven. Indien na deze instelling het opschrift AUTO op het display knippert en men een geluidssignaal hoort, betekent dat dat er een fouit is gemaakt bij het programmeren, dat wil zaggen, dat de baktijd over de tijd van de klok heb en is ingesteld. in dit geval dient men het tijdstip einde baktijd of de baktijd te wijzigen op de hierboven aangegeven wijze.

- Stel de temperatuur en de bakfunctie in met behulp van de schakelaar en dethermostat van de oven (zie de betreffende hoofdstukken).
De oven is nu geprogrammeerd en alle za automatisch functioneren: de oven zal op het juiste moment worden ingeschakeld enervoigens, na het verstreijken van de baktijd op het geprogrammeerde tijdstip waar uit te gaan.
Tijdens het bakken blijft het symbol branden en door op de knop te drukken kan men op het display aflezen hoe lang het nog duurt tot het einde van de baktijd.
Het bakprogramma kan op ieder gewenst ogenblick worden uitgeschakeld door op de knop te drukken.
Na het verstreijken van de ingestelde baktijd wordt de oven automatisch uitgeschakeld.
Het symbol gaatuit, het opschrift AUTO knippert en men hoort een geluidssignaal dat kan worden afgeze t door op een willekeurige knop te drukken. Zet de schakelaar en dethermostat van de oven op de nulstand, en zetervolgens de programmeer-eenheid op de "handmatige" bediening door op de knop te drukken.
Let op: Als de stroom uittval springt de klok op nul en worden alle ingestelde programma's gewist. De stroomuitval wordt gesignaleerd door het de knipperende cijfers op het display.

HALFAUTOMATISCH BAKKEN
Met deze instelling gaat de oven automatisch uit na de gewenste baktijd. Er zijn twee manieren om half-automatisch te bakken:
1e MANIER: Programming van de baktijd (Afb. 5.7)
Stel de baktijd in door op de knop te drukken en verrolgens op de knop A (vooruit) of de knop (achteruit, wonneer men over de gewenste tijd hebem is gegaan).
Het opschrift AUTO en het symbolen gaan branden.
2e MANIER: Programming van einde baktijd (Afb. 5.8)
Stel het tijdstip van einde baktijd in door op de knop te drukken en nervolgens op de knop (vooruit) of de knop (achteruit, wonneer men over de gewensteijd heb is gegaan).
Het opschrift AUTO en het symbol gaan branden.
Wanneer men één van deze programmeringen heeft uitgevoerd dient men de temperatuur en de bakfunctie van de oven in te stellen met behulp van de schakelaar en dethermostat (zie de betreffende hoofdstukken).
De oven zal onmiddelijk worden
ingschakeld en na het verstreijken van de ingesteldeijd of bij het bereiken van het als einde baktijd ingestelde tijdstip zal hij automatisch weer worden uitgeschakeld.
Tijdens het bakken blijft het symbool branden en door op de knop drukken kan men van het display aflezen hoe lang het nog duurt voordat de baktijd afgelopen is.
Het bakprogramma kan op ieder gewenst moment ongedaan worden gemaakt door op de knop te drukken.
Als de baktijd verstreken is worden de oven uitgeschakeld en dooft het symbol het opschrift AUTO knippert en men hoort een geluidssignaal dat uitgezet kan worden door op een willekeurige knop te drukken.
Zet de schakelaar en de thermostat op de nulstand en zet de programmering op de handmatige bediening door op de knop te drukken.













Afb. 5.7













Afb. 5.8
BELANGRIJK - OVEN WERKT NIET
Als de oven Niet werkt, is het möglichk dat deze per ongeluk op "AUTOMATIC" staat, of dat het apparaatijdelijk geen stroom heeft gehad. Indien de timer "AUTO" aangeeft, of dearend aan het knipperen is, kan de Oven möglichk Niet worden aangezet of reageert deze vertraagd.

Voordat u vraagt om assistentie van een monteur verzoeken wij u om de instellenen van de timer, te vinden in deze gebruiksaanwijzing, grondig door te lezen. Zorg dat de timer op "MANUAL" staat. Deze stand is te herkennen aan het -symbool dat in de timer verschijnt, te zien in de afbeelding hieronder.

NB. Het resetten van de timer valt nicht onder de garantie; een servicebeurt van onsze monteur zal kosten met zich mee brengen.
Als de scharnieren loskomen,plaats ze dan terug in hun behuizingen en let erop dat:
scharnier "D" in de rechterbehuzing en scharnier "S" in de linkerbehuzing komt (afb. 6.1).
REGELING VAN DE BALANS VAN HET DEKSEL
Sluit het deksel en controllerer of het juist in balans is.
Het moet in balans blijven wanner het 45^ openstaat.
Regel zo nodsig de ijking van descharnierveren door middel van deschroeven "R" (afb. 6.1).

Niet)dicht deksel wonneer branderbrandt.
WAARSCHUWING
Niet dicht deksel wonneer de branders nog warm+zijn of verwijl de oven werkt.
Plaats geen warme kookpanen of zwaar keukengerei op het deksel.
Droog het deksel voordat u het opent als er vloeistof op is gemorst.

ALGEMENE RAADGEVINGEN
- Sluit het komfoor af van het elektriciteitsnet en wacht totdat het is afgekoeld voordat u begint met het schoonmaken.
- Wanner het toestel Niet Gebruikt worden is het raadzaam de gastoevoerkraante sluiten.
Wend u tot de Servicedienst als de gaskranen nicht goed werken. - Het is raadzaam om het apparaat te reinigen wanner het afgekoeld is, vooral bij het reinigen van de geëmailleerde onderdelen.
- Laat geen alkalische of zure stoffen (zoals citroensap of azijn).
- Gebruik geen schoonmaakprodukten op basis van chlorine of azijn.
Belangrijk: Voor het hanteren/ gebruik van dit apparaat worden het gebruik van beschermende kleding/ handschoenen aanbevolen.
BELANGRIJK: Gebruik geen schurende producten (bijv. bepaalde soorten sponzen) en/of agressieve producten (bijv. caustische soda, producten die bijtende stoffen bevatten), die onherstelbare oppervlaktebeschadiging können veroorzaken.
Let op
Bij een correcte installmentie, voldoet uw product aan alle veiligheidsmaatregelen die voor dit type van productcategorie voorgeschreven zijn. Niettemin要去 u speciale aandacht besteden aan de
achter- of onderzijde van het apparaat aangezien deze zones Niet ontworpen zichen met de bedoeling ze aan te raken. Bovendien bevatten ze scherpe of ruwe randen waar u zich zou+kennen aan verwonden.
De geëmailleerde delen mogen enkel schoongemaakt worden met een spons en zeep of andere nietschurende middelen. Bij voorkeur met een zachtde doek. Alkalische of zure vlekken (citroensap, azijn, enz...)要去en onmiddelijk verwijderd worden. Ook het gebruik van chloor- of zuurhoudende producten dient vermedente worden.
DE MODELLEN VAN HET ROESTVRIJE STAAL - DE OPPERVLAKTEN VAN HET ROESTVRIJE STAAL
Reinig deze onderdelen en oppervlakken met een hiervoorn geschikt reinigingsmiddel. Droog ze daarna zeer zorgvuldig af.
Belangrijk Deze onderdelen dieren algijd zerer zorgvuldig gereinigdt te worden om beschadigingen te voorkomen. U wordt geadviseerd een zachte doek en een neutraal reinigingsmiddel te gebruiken. Let op Gebruik nooit schurende of bijtende reinigingsmiddelen aangezien deze het beschermende oppervlak onherstelbaar beschadigen.
Opmerking: Continu gebruik kan een verandering in het glazuur rond de branders veroorzaken, in de gebieden die blootgesteld worden aan de hitte.
Belangrijk: De fabrikant wijst alle aansprakelijkheid af voor möglichke schade veroorzaakt door het schoonmaken van het apparaat met ongeschikte producten.
Let op: Het apparaat kan zeer heet worden, vooral rondon de kookzones. Daarom is het belangrijk dat kinderen Niet alleen in de keuken worden gelaten wanner het apparaat in werkung is.
Geen machine met stoomstralen gebruiken want het vocht zou in het apparaat können binnendringen en het gebruik ervan gevaarlijk make.
Gebruik geen agressieve reinigingsmiddelen of scherpe metalen schrapers om het glas van de ovendeur of het glazen deksel te reinigen (enkel bij modellen met glazen deksel). Hierdoor konnen krassen op het glas ontstaan, waardoor het glas kan versplinteren.
GASKRANEN
Zorg dat reinigingsproducten Niet in aanraking komen met de ventielen. Het smeren van de kranen mag enkel UITgevoerd worden door een vakman.
Reinig de oven alkijd na gebruik en na afkoeling. Reinig de binnenkant van de oven met een mild schoonmaakmiddel en warm water. Geschekte chemische reinigingsmiddelen können gebruikt worden na het lezen van de instructies van de fabrikant en het testen op een Klein oppervlak. Gebruik geen schurende schoonmaakmiddelen of sponsjes/doeken voor de binnenkant.
OPGELET: de vervaardiger of dit product accepteert geen verantwoordelijkheid voor schade toegebracht door chemische of harde schoonmaakmiddelen.
Laat de oven eerst afkoelen en raak geen warme elementen aan in de oven.
BRANDERS EN ROOSTERS
Deze onderdelen reinigt u het best met een spons en zeepwater of andere geschikte nietschurende producten. Droog af met een zachte doek.
Waarschuwing! Niet vaatwasmachinebestendig.
Na het schoonmaken moet u de branders goed afdrogen en zorgvuldig op hunplaats terugzetten.
Het is zeer belangrijk dat u controleert of u de vlamverdeler goed teruggezet haeft, odomat een verkeerd geplaatste vlamverdeler zware storing kan veroorzaken.
Zorg ervoor dat de elektrode "S" (Afb. 6.2 - 6.4) steeds goed schoon is zodate de vonden probleemloos weg+kunnen springen.
Zorg ervoor dat de sonde "T" (Afb. 6.2 - 6.4) in de buurt van elke brander goed schoon blijft, zDat de veiligheidskleppen probleemloos konnen werken.
Zowel de sonde als de ontsteker要去en heel voorzichtig schoon worden gemaatk. De elektrische ontsteking kan defect raken als deze worden gebruikt wanner de branders zijn verwijderd.
NB: Langdurig gebruik kan een verandering in het glazuur rond de branders en roosters verroorzaken bij de gebieden die aan de hitte+zijn blootgesteld. Dit is normal en hindert de werkking van de onderdelen Niet.
CORRECTE PLAATSING VAN DE HULPBRANDER EN HALFSNELLE BRANDERS
Het is zeer belangrijk dat u de vlamverdeler "F" en de kap "C" van de branders goed op hunplaats teruggezet (Afb. 6.2 - 6.3). Zorg ervoor dat ze waterpas liggen en nicht ronddraaien. De brander kan nicht goed werken als deze onderdelen verkeerd geplaatst+zijn.
CORRECTE PLAATSING VAN DE BRANDER DUBELE KROON COMPACT
De brander要去 geplaatst worden zoals in Afb. 6.4 is aangegeven.
De ribben van de brander要去en in de uitsparingen steken zoals is aangeduid met de pijlen (Afb. 65).
Als de brander goed geplaatst is kan hij nicht draaien (Afb. 6.4).
Zet de kap "A" en de ring "B" op hun plaats (Afb. 6.5 - 6.6).





MONTAGE VAN DE ROOSTERS IN DE OVEN
- Modellen met gebosseleerde ruimte Het rooster要去 worden aangebracht zoals aangegeven in Afb 6.7.
Het rooster van de oven is voorzien van een blokkeersystem om te voorkomen dat het per ongelukuit de oven valt.
Om het eruit te halen, trekt u in tegenovergestelde richting. Zorg ervoor dat het rooster correct worden aangebrachte (Afb. 6.7).
- Modellen met roosters aan de zijkant
Monteer de zijrekken en bevestigdezemet 2 schroeven aan de ovenwanden (Afb.6.8a).
Modellen met katalytische panelen
Zorg dat de panelen "A" op de juiste manier worden geplaatst (met de pijl omhoog Afb. 6.8a).
Schuif de druipbak en het rooster in het frame zoals afgebeeld in aff. 6.8b. De plaat要去 zo geplaatst worden dat de veiligheidsgroef, waardoor de plaat er Niet uitglijdt, maar de binnenkant van de oven gericht is; de geleiderail bevindt zich aan dechterkant.
- Het demonteren geschiedt in omgekeerde volgorde.
ADVIES VOOR GEBRUIK EN ONDERHOUD VAN KATALYTISCHE WANDEN (Alleen bij bepaalde modellen)
De katalytische wanden zijn voorzien van special microporeus email dat olieen vetspetters absorbweit en vernietigtijdens normala bakken bij temperaturen boven 200^ . Als na het bereiden van zeer vet voedsel de wanden vies blijven,That de oven dan gedurende ongeveer 30 minuten "ongebruikt"werken op de hoogste temperatuur. Deze wanden zijn zelfreinigend,chter wordt geadviseerd om ze regelmatig uit de oven te verwijderen (in ieder geval de zijwanden),te wassen met lauwwarm zoepwater en verrolgens af te vegen met een zachte doek.
Reinig of was ze Niet met schuurmiddelen of zure of basische reinigingsmiddelen.
De zichwanden zijn omkeerbaar en wanner het katalytische microporeuse email verslechtert können ze�de andere kant gedraaid worden.



DRAGERS TELESCOPISCHE VERSCHUIFBARE LEGGERS (Alleen bij bepaalde modellen)
De dragers van ons telescopisch systemem met verschuifbare leggers makeh het veiliger en eenvoudiger om de roosters in en uit de oven te halen.
De drager blokkeert indien denen nicht verder kan worden uitgetrokken.
Belangrijk! Volg bij hetplaatsen van de dragers de volgende stappen:
- de rails aan de bovenste draad van een rooster worden bevestigd. Ze passen immers Niet op de onderste draad.
- de rails waar buiten glijden in de richting van de ovendeur.
- beiden waren van elk pau rails worden gemonteerd.
- beiden worden op hetzelfde niveau worden gemonteerd.
U bevestigt de telescopische rails de zijroosters als volgt:
- Schroef het zijrooster gegen de ovenwand (en de katalytische platen, indien geleverd - Afb. 6.8a).
- Bevestig de telescopische rail op de bovenste draad van een rooster en druk aan (Afb. 6.9). U hoog een klikgeluid wonneer de veiligheidsvergrendelingen.

Stappen om de linker- en rechtschufrail los te koppelen van de bevestigingsdraden:
- Verwijder de zijroosters door de bevestigingschroeven los te draaien (Afb. 6.10).
Leg de telescopische rail en de zijroosters neer met de telescopische rail onderaan. - Zoek de veiligheidssloten. Dit zijn de uitsteeksels die zich om de draad hebben gevoegt (pijl 1 in aflb. 6.11).
- Trek de veiligheidsvergrendelingen weg van de draad om deze los te make (pijl 2 in afb. 6.11).
Het schoonmaken van de schuifraildragers:
Veeg de rails schoon met alleen een vochtige doek en een zacht afwasmiddel.
- Was de dragers nicht in de vaatwasser, dompel ze Niet onder in zeepwater en gebruik geen ovenreiniger.


VERVANGEN VAN HET OVENLAMPJE
LET OP: Wees zeker dat het apparaat uitgeschakeld is alvorens de ovenlamp te verrangen om elektrische schokken te vermijden.
- laut indien nodig de oven en verwarmingselementen afkoelen.
Trek de stekker uit het stopcontact. - Verwijder het verlichtingskapje "A" (Afb. 6.12).
- Vervang de halogeenlamp "C" door een lamp die bestand is gegen hoge temperaturen (300^) en die over de volgende specificaties beschikt: 220-240 V, 50-60Hz, en over hetzelfde vermogen als de verrangen lamp (controller het vermogen in watt dat op de lamp is aangebracht).
BELANGRIJK: verrang de lamp nooit met uw blote handen; vuil van uw handen kan de levensduur van de lamp verkorten. Gebruik.altijd een schone doeok of draag handschoenen.
Herplaats het verlichtingskapje "A".
OPMERKING: De verwangting van de lamp valt buiten de garantie.
Het doel van de lampen in dit apparaat is het verlichting van de ovenruimte, waardoor de gebruiker het voedsel better in de gaten kan hondenijdens de bereiding. Deze lampen zijn nicht geschikt voor ander gebruik (bv. verlichting van ruimtes).
Dit product bevat meer dan een een lichtbron van energie-efficientieklasse G.


Afb. 6.12
REINIGEN VAN HET VETFILTER (Alleen bij bepaalde modellen)
Er zit een special scherm aan de achterkant van de oven om vetdeeltjes op te vangen, vooral tijdens het braden van vlees (Afb. 6.13).
- Het vetfilter要去 aan de achterkant van de ovenruimte worden vastgehaakt, zoals aangegeven in afbeelding 6.13.
Maak het vetfilter na iedere kookbeurt schoon!
Neem het vetfilter uit de oven en was het met warm water en afwasmiddel.
- Droog het vetfilter goed af voordat u het in de oven terugmonteert.
LET OP: Bij het bakken van taart e.d. moet dit filter worden verwijderd.

Afb. 6.13
SCHOTELWARMHOUIDRUIMTE
De schotelwarmhoudruimte is toegankelijk door het opklapbare paneel te openen (Afb. 6.14).
Zet geen ontvlambare materialen in de accessoirevak, want die zouden vlam können vattenijdens de werkung van het apparatus.





VERWIJDEREN VAN DE OVENDEUR
U verwijdert de ovendeur zonder moeite als volgte:
- Open de deur volledig (Afb. 6.15).
- Open volledig hefboom "A" aan de linkse en rechtse scharnieren. (Afb. 6.16).
Houd de deur vast zoals aangeduid in Afb. 6.18.
Sluit de deur zachtjes (Afb. 6.17) totdat de hefbomen "A" van de linkse enrechtse scharnieren vasthangen aan deel "B" van de deur (Afb. 6.16).
Trek de scharnierhaakjes weg van hunplaats volgens pijl "C" (Afb. 6.19).
Laat de deur op een zache ondergrond rusten.
BELANGRIJK
Hou steeds een veilige afstand van de scharnieren van de ovendeur, vooral uw handen.
zitten, dan zoudendeze kunnenloskomen en zoudedeur plots enonverwacht kunnensluiten met het risicoop blessures.


HERMONTEREN VAN DE OVENDEUR
- Houd de deur stevig vast (Afb. 6.20).
- Steek de scharnierhaakjes in de gleuven. Let erop dat de gleuven overeenkomen zoals aangeduid in Afb. 6.21.
- Open de ovendeur volledig.
- Sluit de hefbomen "A" van de linkse en rechtse scharnieren, zoals aangeduid in Afb. 6.22.
- Sluit de ovendeur en controllerer of alles juist op+zijn plaats zit.



SimpelGids