CR 913 M XS DCT TFT - Oven FRANKE - Gratis gebruiksaanwijzing en handleiding
Vind de handleiding van het apparaat gratis CR 913 M XS DCT TFT FRANKE in PDF-formaat.
Gebruikersvragen over CR 913 M XS DCT TFT FRANKE
0 vraag over dit apparaat. Beantwoord die u kent of stel uw eigen vraag.
Stel een nieuwe vraag over dit apparaat
Download de handleiding voor uw Oven in PDF-formaat gratis! Vind uw handleiding CR 913 M XS DCT TFT - FRANKE en neem uw elektronisch apparaat weer in handen. Op deze pagina staan alle documenten die nodig zijn voor het gebruik van uw apparaat. CR 913 M XS DCT TFT van het merk FRANKE.
GEBRUIKSAANWIJZING CR 913 M XS DCT TFT FRANKE
NL Gebruikershandleiding
Inleiding 121
Overdeze handleiding 122
Gebruik 122
Veiligheidsgegevens 122
Correcte installment en plaatsing 123
Gebruik 123
Onderhoud en reiniging 124
Reparatie 124
Buiten bedrijf stellen 124
Gegevens voor energiebesparing 124
Overzicht 125
Oven 125
Bedieningspaneel 126
Menupictogrammen op display 126
Eerstekeireinschakelen 129
Display instellen 129
130
Koken in handmatige modus 130
Koken in automatische modus 130
Koken in modus eco-bereiding 131
Eindtijd van bereiding instellen 132
Timer instellen 132
Gebruik van temperatuursonde 133
Aansluiting 133
Handmatige kookprogramma's 134
Kooktabel 136
Geteste bereidingen 138
Complete menuprogramma's 139
139
141
143
145
147
148
Menu Wellness 148
Reiniging en onderhoud 149
Algemene aanbevelingen 149
Gebruik de zelfreinigingsfunctie 149
Oven reinigen 150
Ovendeur reinigen 150
Ovendeur verwijderen 150
Ovendeur bevestigen 150
Glaspanelen van ovendeur reinigen 150
Zijframes en telescopische geleiders reinigen 152
Ovenlamp verwangen 152
Onderhoud en reparatie 153
Verwijdering 153
Klantenservice 153
Technische gegevens 154
INLEIDING
Beste klant,
Bedankt voor het kiezen van een Franke-product.
Voordat u deze oven gebruikt要去 zorgvuldig de instructies en het advies in deze handleiding lezen. Hierdoor gebruikt u de oven op de juiste manier en zorgt u voor een langdurige probleemloze werkinq. Bewaar deze gebruikershandleiding voor latere naslag.
Frames by Franke is een uiterst geavanceerde oven die thuis en professioneel koken kan revolutioneren. De al beproefde Dynamic Cooking Technology (DCT) is geuggraded met een touchscreen HD-display, waardoor u elk kookproces met een simpele handling kurz programmeren, plannen en bedieren.
Met Frames by Franke heeft u alle keuze:
U=knt besluiten om "old style" te koken, waar bij u worden geholpen door de ultieme technologische upgrades van de oven.
Of u kunt genieten van voorgeprogrammeerde recepten en complete menu's die uw dagelijkse kookproces makkelijker, sneller en gezonder make.
U kunt kiezenuit de volgende opties:
HANDMATIG - Koken in handmatige modus en het systeme, de temperatuur enijd maar voorkeur instellen. AUTO - Koken in automatische modus en genieten van een grootAAPal recepten en complete menu's. ECO COOKING - Koken in automatische of ecologische modus en genieten van een grootAAPal gezonde recepten en complete menu's.
Een technologische en esthetische upgrade die ontwerp en prestaties perfect combineert. Frames by Franke biedt een stuk elegantie die overal past en dankzij de kwaliteitsmaterialien en aandacht voor details in elk Franke-productuitmuntende betrouwbaarheid garandeert.
OVER DEZE HANDLEIDING
Deze gebruikershandleiding is van toepassing op diverse modellen van het apparaat. Het is waarom möglich dat enkele van de beschreiben kenmerken en functies Niet op uw specifieke model van toepassing�n.
Lees de gebruikershandleiding zorgvuldig vóró gebruik.
Bewaar deze gebruikershandleiding.
- Gebruik het in deze gebruikershandleiding beschreiben apparaat uitsluitend volgens het bedoelde gebruik.
Symbool Betekenis

Waarschuwingssymbol. Waarschuwing gegen risico's op letsel.

Veiligheidsacties en waarschuwingen om letsel of schade te voorkomen.

Actiestap. Een actie die要去 worden ondernomen.

Resultaat. Resultaat van één of meer actiestappen.

Voorwaarde waaraan moet worden voldaan voordat de volgende actieuitgevoerd kan worden.
GEBRUK
De oven is exclusief ontworpen voor nichtprofessioneel, huishoudelijk gebruik.
De oven levert professionele prestaties in de eigen keuken. Het is een zeer veelzijdig apparaat waarmee veilig en eenvoudig diverse kookmethoden können worden toegepast.
VEILIGHEIDSGEGEVENS
Lees de gebruikershandleiding en veiligheidsgegevens zorgvuldig voor gebruik van de oven.
Bewaar de handleiding voor latere naslag.
De fabrikant kan nicht aansprakelijk worden gesteld voor möglichke schade als gevolg van een onjuiste installmentie en onjuist, onzorgvuldig of onredelijk gebruik van het apparaat.
De elektrische verilgheit van de oven is uitsluitend gegarandeerd als die volgens de geldende richtlijnen is aangesloten op een aardingsystem.
Om een veilige en efficiente werkung van dit elektrische apparaat te garanderen:
Neem uitsluitend contact op met erkende servicecentra.
Wijzig geen functies van het apparaat.

Kinderen van 8aar of ouder en personen met te, zintuiglijke of verstandelijk beperkingen of heperkte ervaring of kennis mogen het apparaat tebruiken of reinigen, uit gezonderd indien zicht hebben van of worden geinstrueerd teen persoon die verantwoordelijk is voor hun teid.
Kinderen onder 8aar mogen het apparaat Niet gebruiken of reinigen, zelfs Niet onder toezicht.
Dit apparatus is geen spelgoed.
Houd kinderen weg van het apparaat en het verpakkingsmateriaal.
Laat geen kinderen bij het apparaat zonder toezicht.
Laat kinderen nicht met het apparaat spelen.
Laat kinderen het apparaat of functies tijdens en onmiddelijk na gebruik Niet aanraken.
Correcte installment en plaatsing
Indien de oven permanent worden aangesloten op het elektriciteitsnet:
Zorg ervoor dat het apparaat uitsluitend worden geinstalleerd door de klantenservice, een elektricien of getraind personeel met de juiste kennis/opleiding.
Zorg ervoor dat het apparaat op zo'n manier is geinstalleerd dat het kan worden ontkoppeld van het elektriciteitsnet, met een afstand die voldoet aan volledige ontkoppeling bij overspanning in categorie III.
Zorg ervoor dat het apparaatrechtstreeks op het stopcontact is aangesloten.
- Zorg ervoor dat er geen adapters, meervoudige stopcontacten en verlangkabels worden gebrukt om het apparaat aan te sluiten.
Zorg ervoor dat het apparaat Niet worden blootgesteld aan weersinvloeden (regen, zon).
Gebruik
Gebruik het apparaat uitsluitend om eten te bereiden en koken.
Gebruik ovenwanten bij hetplaatsen van kookgerei in de oven of wanner u dat eruit haalt.
Lees de handleidingen van de kookapparaten die worden gebruikt met de oven bij gebruik van het apparatusat.
Plaats geen stroomkabels van andere elektrische apparaten op het delen van de oven.
Gebruik de oven nicht om voorwerpen in op te slaan.
Gebruik geen brandbare vloeistoffen nabij de oven.
Gebruik uitsluitend de temperatuursonde die voor deze oven worden aanbevolen.
Risico op oververhitting en gebreken van de oven door geblokkeerde ventilatie!
Bedek de binnenwanden van de oven nooit met aluminiumfolie, vooral nicht onder in de oven.
Zorg ervoor dat de doorluchting van de ventilator of de openingsen boven de ovendeur nicht+zijn geblokkeerd.
Schade aan het@email van de oven door onjuist gebruik van pannen of schalen!
Plaatsijdens het koken nooit pannen of schalenrechtstreeks onder in de oven.
Plaats pannen en schalen uitsluitend op derekken of lekbakken op een van de vijf beschikbare niveaus in de oven.
Risico op brandwonden!
Het oven en zijn toegankelijkke (onder)delen worden tijdens gebruik zeer heet.
Raak de opwarmelementen in de oven nicht aan.
Risico op brandwonden!
Het uiteinde van het handvat op de deur kan heter zichen door de stroming van harelucht.
Houd bij het openen en sluiten van de deur.altijd het handvat in het midden vast.
Zorg ervoor dat de bedieningsknoppen.altijd in deuit-stand staan als de oven nicht worden gebruikt.
Risico op elektrische schokken door beschadigd apparaat!
Schakel nicht een beschadigd apparatus in.
Schakel de zekeringuit in de zekeringkast.
Neem contact op met de klantenservice.
Risico op elektrische schok!
Raak het apparaat Niet aan met vochtige lichaamsdelen.
Gebruik het apparaat Niet blootsvoets.
Trek nicht aan het apparaat of de stroomkabel om de oven uit het stopcontact te halen.
Onderhoud en reiniging
Vóor onderhoud of reiniging:
Ontkoppel het apparaat van de stroomtoevoer door bijvoorbeeld de zekering in de zekeringkastuit te schakelen.
De oven bevat een special emaille dat makkelijk te reinigen is. Franke raadt darüber aan om het regelmatig te reinigen om te voorkomen dat er vuil of etensresten weiterblijven.
Gebruik geen grove schurende materialen of scherpe metaalschrapers om de glazen onderdelen van de ovendeur te reinigen, aangezien ze krassen op het oppervlakveroorzaken en het glas konnen breken.
Gebruik geen stoomreinigers ofrechtstreekse waterstralen.

Risico op elektrische schok door gende vloeistof!
Het apparaat bevat elektronische componenten.
Zorg ervoor dat er geen vloeistoffen in het apparatus dringen.
Gebruik geen stoom onder druk om het apparaat te reinigen.
Gebruik geen natte doek om onderdelen te reinigen.
Reparatie
Zorg ervoor dat uitsluitend gekwalificeerd personeel het apparaat installeert of repareert.
Neem in de volgende gevallen contact op met een door de fabrikant erkend servicecentrum of gekwalificeerd personeel:
- Bij twijfel over de intactheid van het product onmiddelijk na het uitpakken
- Tijdens installment (volgens de fabrieksinstrumentes)
- Twijfels over de juiste werkig van het apparatusaat
- Storing of slechte werking
- Vervangen van het stopcontact indien Niet compatibel met de stekker van het apparatusat
- Schade aan de stroomkabel ofoodzaak tot het verzvangen van de stekker of het stopcontact
Buiten bedrijf stellen
Bel het servicecentrum of gekwalificeerd personeel indien de oven Niet longer worden gebruikt en worden ontkoppeld van het elektriciteitsnet.
GEGEVENS VOOR ENERGIEBESPARING
De modi SLOW COOKING en HETE LUCHT
verbruiken );ninder energie dan de andere beschikbare kookfuncties.
Open de ovendeur zo weinig möglichk.
Verwarm de oven zo snel möglichk voor.
Verwarm de oven uitsluitend voor als dit noodzakelijk is voor een goed resultaat.
Als een recept met gratin langer dan 30 minutes wordt opgewarmd met restwarmte, moet u 5-10 minutes voor het einde het apparaat uitschakelen.

Oven

1 Bedieningspaneel
2 Handvat Voordeur
3 Glas Voordeur
4 Verlichting
5 Sleuven voorrekken en lekbakken
6 Koelventilator (achterkant)
Ventilator
Om de temperatuur bij de deur, het bedieningspaneel en de zijkanten te verlagen, is uw Franke-ovenuitgerust met een ventilator die automatisch worden geactiveerd als de oven heet worden. Als de ventilator aanstaat worden lucht:tussen het voorpaneel en de ovendeur uit de oven afgevoerd. De snugheid van de lucht die worden afgevoerd is geoptimaliseerd om ervoor te zorgen dat het Niet stoort en geluid tot een minimum beperkt.
De ventilator blijft na het koken aanstaan totdat de oven voldoende is afgekoeld. Zo worden keukenunits beschermd.

Sleuven voorrekken en lekbakken
Worden gezruikt voor het juist positioneren van de rekken en lekbakken in 5 vooraf ingestelde posities (afhankelijk van model; 1 tot 5 vanaf andereen). De kooktabel (pagina 136) vermeldt de Beste positie voor elk kookproces.

Accessoires


Beschrijving
Lekbak
Kan gebruikt worden voor het opvangen van sappen of voor het koken van voedselrechtstreeks op de lekbak.
Lekbakken要去 als ze Niet gebrukt wordenuit de oven worden verwijderd. De lekbakken zigngemakt van geëmailleerd staal geschikt voor „AA“-voedselklasse.
Rek
Wordt gebruikt voor het ondersteunen van pannen, gebakvormen en alle andere bakken dan de verstrekte lekbakken of voor het bereiden van vlees en vis, vooral met de grill- en turbogrillfuncties, roosteren van brood etc. Voedsel要去 nicht in direct contact komen met het rek.

Bedieningspaneel
1 Toets
2 Display
3 Menupictogrammen
| Toets | Toetsnaam | Functie |
| I | Aan/Ui t | Start/stop de oven: ► Kort indrukken. Oven uitschakelen: ► Druk enige seconden op. |
| B | Veiligheid/ vergrendeling | Start een veiligheidsprocedure om toevallige onderbrekingen van uw kookprogramma te voorkomen. Kinderslot activeren: ► Kort indrukken. Procedure / kinderslot ontgrendelen: ► Indrukken en 2 seconden vasthouden. |
| ∅ | Terug | Terug maar vorige menu. |
| ▷ | Bevestigen/aan | Uw aktiviteiten en het programma bevestigen: ► Kort indrukken. Programma onderbreken: ► Druk en kies:tussen en. |
Menupictogrammen op display

Hoofddisplay

1 Actueletijd
2 Menupictogram
3 Menuaam
| Menupictogram | Menunaam | Functie |
| HANDMATIG | Koken in handmatige modus | |
| A | AUTO | Koken in automatische modus |
| ECO-BEREIDING | Dit menu bevat de volgende programma's: Recepten Eco en Compleet menu Eco Koken met minder energieverbruik door het plaatselijke elektricite-itsnet op de meest ecologische manier te gebruiken. De recepten in dit menu+zijn hetzelfde als in de AUTO-modus, maar met een lager energieverbruik voor het kookproces. - In het programme RECEPTEN kurz u uitsluitend op eén niveau koken. - In het programme COMPLEET MENU kurz u op vier niveaus koken. | |
| WELLNESS | In dit menu worden het volgende programme aangeboden: Wellness Vlees-, vis- en groentehoofdgerecht bereiden op een naturulijke manier en met een laag vetgehalte. Dit programme vereist longer koken met een lage temperatuur binnen in het voedsel (rond 100°C) zonder toevoeging van olie of andere vetten. Hierdoor worden de oorspron-kelijke voedingswaardes van het voedsel (mineralen, vitamins etc.) en naturulijke smaak behouden. - In het programme WELLNESS kurz u uitsluitend op eén niveau koken. | |
| INSTELLINGEN | In dit menu kurz u het display instellen, bv.ijd, taal, helderheid en contrast. | |
| RECEPTEN | In dit menu kurz u uit diverse categorieën receptenkiezen, bv. pasta, groente, vlees, vis, gebak, brood of pizza. | |
| COMPLEET MENU | In dit menu kurz u kiezen uit diverse programma's voor complete menu's, bv. vleesmenu, vismenu, 4 pizza's, brood op 4 bakplaten. |

DISPLAY Handmatige modus
1 Menunaam
2 Menubalk
3 Actueletijd
4 Secties met programma-instellingen (grijs: actieve instelling)
5 Sectienaam

RECEPTEN, COMPLEET MENU, WELLNESS-display
1 Menunaam
2 Actuele tijd
3 Recept of compleet menu met voorbeeldafbeelding en -naam De modus ECO-BEREIDING is hetzelfde, maar de menuaam vermeldt ECO aan het einde.
Display submenu
Ditsubmenu verschijnt bij het aanraken van elk display in de bovenste menubalk.

1 Actuelearend. Het thermometer-pictogramverschijntalsde oven aanstaat,opwarmtofisgeprogrammeerd.
2 Functiepictogrammen
3 Display van kookprogrammaparameters
Pictogram Pictogramnaam Functie
| Verlichting UIT | Schakel de interne verlichting aan/uit | |
| Terug | Verlaat hetsubmenu en ga terug maar het vorige menu | |
| Klok resetten | Reset de kookitijd en -duur van het kookproces | |
| Eindtijd instellen | Stel de eindhoven van het kookproces in | |
| Timer | Stel een alarmtijd in |
Als u de kooktijd heeft geprogrammeerd met eenuitgestelde start, vermeldt het display de totalekooktijd en de eindtijd van het kookproces.
Eerste keer de oven gebruiken:
open de Voordeur en zorg ervoor dat de oven leeg is. Verwijder alle accessoires.
Zorg ervoor dat er een goede doorluchting is, bijvoorbeeld door een open deur of raam.
Druk op ① om de oven te starten. Hierna verschijnt het hoofddisplay.
Druk op
- Selecteer in de sectie SYSTEEM het programme MULTI-COOKING.
▶ Selecteer in de TEMPERATUUR-sectie de maximumtemperatuur (270 °C).
▶ Selecteer in de sectie DUUR 00^u 40m.
Start de oven terwijl hij leeg is op maximumtemperatuur met de deur volledig open.
De geur die hierbij vrijkomt is het gevolg van de verdamping van stoffen die worden gebruikt om de oven te beschermen in deperiode:tussen fabricage en de feitelijke installmentie.
Na 40 minutes stopt de oven automatisch en is die gebruiksklaar.
DISPLAY INSTellen
Dit hoofdstuk vermeldt hoe u uw displayfuncties volgens uw voorkeuren要去 instellen.
Instellen starten
Druk op
- Het menu INSTELLINGEN met diverse opties verschijnt.
Tijd instellen
Druk op Tijd EN DATUM.
Stel via de lijst de uren, minuten en seconden in.
Taal instellen
Druk op TAAL.
Kies in de lijst uw voorkeurstaal.
Schermhelderheid instellen
▶ Druk op HELDERHEID DISPLAY.
Stel de helderheid van het bedieningspaneel in door een van de segmenten op de balk te kiezen.
Volume van alarmsignal instellen
Druk op GELUID.
Stel het volume in door een van de segmenten op de balk te kiezen.
Klokweergave instellen
▶ Druk op KLOKWEERGAVE.
Kies uw favorite display: analoge of digitale klok.
Display uitschakelen
Het display kan automatisch worden uitgeschakeld als de oven worden uitgedaan. Als deze optie worden geactiveerd is de klok Niet zichtaar.
▶ Druk op DISPLAY UIT.
Instellen beeindigen
Druk om het instellen te bevestigen op
- Het hoofdmenu verschijnt. Uw instelleningen worden opgeslagen.
WERKING
- Raadpleeg de kooktabel om op de Beste manier gebruik te makev van uw Franke-oven.
Koken in handmatige modus
In handmatige modus kookt u door het volgens uw voorkeuren instellen van het programma, de temperatuur en duur.
▶ Druk op
- Het menu HANDMATIG verschijnt met diverse secties:
| Sectie | Beschrijving |
| SYSTEEM | Selecteer uit diverseprogramma's (zie hoofdstukHandmatige kookprogramma's) |
| TEMPERATUUR | Selecteer de vereiste temperatuur van min. 50 °C tot max. 270 °C (in programma SLOW COOKING: 230 °C) |
| DUUR | Selecteer de uren en Minutes |
In elke sectie: Selecteer het programma, temperatuur en duur.
- Plaats het bereide voedsel in de oven en sluit de deur.
Druk op om te bevestigen.
- Het kookprogramma begint.
Hetprogrammaannuleren:
Druk op en op
In automatische modus staan veel recepten en complete menu's.
Druk op
Het menu AUTO met submenu's verschijnt:
- RECEPTEN
In dit menu=kunt uuit diverse categorieen recepten kiezen, bv. pasta, groente, vlees, vis, gebak, brood of pizza.
- COMPLETE MENU'S
In dit menu=kunt u kiezenuit diverse programma's voor complete menu's, bv. vleesmenu, vismenu, 4 pizza's, brood op 4 bakplaten.
Voorbeeldprogramma receipt
Druk op
Druk op PASTA en daarna op CANNELLONI.
- De samenvatting van het recept verschijnt:
| Sectie | Beschrijving |
| HOEVEELHEID | Selecteer het gewicht van het voedsel in het verticale menu |
| INFO | Automatische instellenen van temperatuur, programma en display van de optimale positie voor de bakplaat |
| TIJD | Automatische instellenen van kookduur |
Druk op HOEVEELHEID en selecteer het gewicht van het voedsel.
- Plaats het bereide voedsel in de oven en sluit de deur.
Druk op om te bevestigen.
- Het kookprogramma begint.
Hetprogrammaannuleren:
Druk op en op
De volledige recepten (ingredienten en voorbereiding) staan op unsere website:
- http://recipes.franke.com
Voorbeeldprogramma completet menu
Druk op
Druk op VLEES.
- De samenvatting van het complete menu versuschijnt:
| Sectie | Beschrijving |
| PROGRAMMA | Automatische installingen van kookprogramma |
| TEMPERATUUR | Automatische installingen van temperatuur |
| BAKPLAAT INFO | Automatische display van de optimale positie voor de bakplaat |
| TIJD | Automatische installingen van kookduur |
- Plaats het bereide voedsel in de oven en sluit de deur.
Druk op om te bevestigen. - Het kookprogramma begint.
Druk op om het programma te annuleren en bevestig door te drukken op.
De volledige recepten (ingredienten en voorbereiding) staan op unsere website:
- http://recipes.franke.com
Koken in modus eco-bereiding
In de modus eco-bereiding(Int) u op ecovriendelijk wijze koken. U(Int) diverse recepten en complete menu's gebruiken die goed zich voor uw gezondheid en welzijn.
In dit menu zijn de recepten hetzelfde als in de AUTO-modus, maar met een lager energieverbruik voor het kookproces.
Druk op
Het menu ECO-BEREIDING met submenu's verschijnt:
- RECEPTEN
In dit menu=kunt uuit diverse categorieen recepten kiezen, bv. pasta, groente, vlees, vis, gebak, brood of pizza.
WELLNESS
In dit menu=kunt uuit diverse categorieen recepten kiezen, bv. lamsvlees, varkensvlees, gevogelte, vis, kalfsvlees en groenten.
- COMPLETE MENU'S
In dit menu=kunt u kiezenuit diverseprogramma's voorcomplete menu's,bv. vleesmenu,vismenu,4 pizza's,brood op 4 bakplaten.
Voorbeeldprogramma receipt
Druk op
Druk op PASTA en daarna op CANSELLONI.
- De samenvatting van het recept verschijnt:
| Sectie | Beschrijving |
| HOEVEELHEID | Selecteer het gewicht van het voedsel in het verticale menu |
| INFO | Automatische instellenen van temperatuur, programma en display van de optimale positie voor de bakplaat |
| TIJD | Automatische instellenen van kookduur |
Druk op HOEVEELHEID en selecteer het gewicht van het voedsel.
- Plaats het bereide voedsel in de oven en sluit de deur.
Druk op om te bevestigen.
- Het kookprogramma begint.
Hetprogrammaannuleren:
Druk op en op
De volledige recepten (ingredienten en Voorbereiding) staan op unsere website:
- http://recipes.franke.com
Voorbeeldprogramma wellness
Met dit programma=kunt u vlees-, vis- en groente-hoofdgerecht op een naturuurlijke manier bereiden en met een laag vetgehalte. Het vereist langer koken met een lage temperatuur binnen in het voedsel (rond 100^ ) zonder toevoeging van olie of andere vetten. Hierdoor worden de oorspronkelijke voedingswaardes van het voedsel (mineralen, vitaminen etc.) en naturuurlijke smaak behouden.
Druk op
Druk op GROENTEN.
- De samenvatting van het complete menu verzschijnt:
| Sectie | Beschrijving |
| PROGRAMMA | Automatische installingen van kookprogramma |
| TEMPERATUUR | Automatische installingen van temperatuur |
| BAKPLAAT INFO | Automatische display van de optimale positie voor de bakplaat |
| TIJD | Automatische installingen van kookduur |
-
Plaats het bereide voedsel in de oven en sluit de deur.
Druk op om te bevestigen. -
Het kookprogramma begint.
Druk op en op om het programme te annuleren.
De volledige recepten (ingredienten en voorbereiding) staan op unsere website:
- http://recipes.franke.com
Voorbeeldprogramma completet menu
Druk op
Druk op VLEES.
- De samenvatting van het complete menu versuschijnt:
| Sectie | Beschrijving |
| PROGRAMMA | Automatische installingen van kookprogramma |
| TEMPERATUUR | Automatische installingen van temperatuur |
| BAKPLAAT INFO | Automatische display van de optimale positie voor de bakplaat |
| TIJD | Automatische installingen van kookduur |
-
Plaats het bereide voedsel in de oven en sluit de deur.
Druk op om te bevestigen. -
Het kookprogramma begint.
Druk op en op om het programme te annuleren.
De volledige recepten (ingredienten en Voorbereiding) staan op unsere website: - http://recipes.franke.com
Eindhoven van bereiding instellen
In handmatige kookmodus
Druk op
- Het menu HANDMATIG verschijnt met diverse secties.
Druk boven aan het display waar dearend staat vermeld (bv. 18:11).
- Het display submenu versuschijnt.

Druk op
Stel in het verticale menu de uren, Minutes en seconden in.
Bevestigen met
De oven staat nu in standby-modus.
De oven berekent de begintijd op basis van de kookitijd of het kookprogramma en de ingestelde eindtijd. Het kookproces begint op de berekende begintijd.
Timer instellen
De timer kan worden gebruikt bij alle kookmodi en werkt onafhankelijk van een functie.
Druk boven aan het display waar dearend staat vermeld (bv. 18:11).
- Het display submenu versuschijnt.

Druk op
Stel in het verticale menu de uren, minuten en seconden in.
Druk wederom boven aan het display waar dearend staat vermeld (bv. 18:11).
Druk op om te bevestigen.
- De timer loopt op de hintergrond.
Er klinkt een geluid als hij afloopt.
Met de temperatuursonde die bij uw Franke-oven wordt geleverd, bent u er bij het vlees bakken zeker van dat het kookproces op het juiste moment worden onderbroken, i.e. als de opgemeten kerntemperatuur van het vlees overeenkomt met de ideale temperatuur. Hierdoor is het Niet longeroodzakelijk om de kooktijden in te stellen en het vlees continu te controlleren.
De temperatuursonde kan nicht worden geactiveerd via kookmodi (GRILL, CIRCULATIEGRILL) of vooraf ingestelde kookrecepten.
Aansluiting
Het worden aangeraden om de temperatuursonde aant te sluiten voor het kookproces en met de oven nog koud om brandwonden te voorkomen.
Zorg ervoor dat de sonde goed is aangesloten op de connector om een stabiele en correcte temperatuurmeting te garanderen.
Het aansluitpunt van de sonde staat afgebeeld.

- Steek de punt na het aansluiten in het vlees enzet de oven aan.
Om de temperatuur goed te kuren lezen,要去 de punt van de sonde zich zo dicht möglichk bij het midden van het vlees bevinden.
▶ Selecteer de kookmodus en -temperatuur.
- Het pictogram licht op, wat een correcte aansluiting van de sonde betekent.
- Als het einde van het kookproces via EINDE onmiddelijk worden weergegeven, betekent het dat de sonde Niet volledig is ingestoken. Steek de sonde correct in.
! Waarschuwing!
Gebruik uitsluitend de temperatuursonde die voor deze oven worden aanbevolen.
De geselechte oventemperatuur moet geschikt zich voor het vereiste gelijkmatige koken (een te hoge temperatuur kan de buitenkant van het vlees verbranden). Het koken worden als onderbroken als de temperatuursonde een temperatuur van 65^ binnen in het vlees meet, onafhankelijk van de gekozen oventemperatuur. Op deze vooraf ingestelde temperatuur wordt het vlees medium gebakken. Als een ander kookproces (rare of well-done) is vereist, kan deze vooraf ingestelde waarde als volgt worden aangepast:
Druk op de knop < , selecteer en bevestig met
- Gebruik binnen 15 seconden de knappen + en - om te verhogen of te verlagen. Er kan een keuze gemaakt worden:tussen 35^ en 95^
HANDMATIGE KOOKPROGRAMMA'S
| Programma | Beschrijving |
| HETE LUCHT Deze energiebesparende kookfunctie (1500 Watt) is geschikt voor vele hoofdgerecht. De kooktijden+zijn langer maar de warmteverdeling is optimaal, waardoor met minder energieverbruik uitstekende resultaten worden behaald. | |
| BOVEN- EN ONDERWARMTE Deze tradionele functie is ideaal voor alle hoofdgerecht, voor het bakken van brood en taarten en koken van gebraad en lamsvlees. | |
| WARME LUCHT Dit is een tradionele functie die wordt gebruikt voor vlaaien, hartige taarten, desserts en braden bij het koken op twee niveaus. | |
| PIZZA De verwarmingselementen worden gecombineerd om onder in de oven zeer geconcentreerde warmte te creëren. Deze functie is ideaal voor het bakken van pizza op=eén niveau waarbij warmte van onderen is vereist. Het kookproces is snel en perfecte resultaten+zijn gegarandeerd (gebruik SNEL VERWARMEN bij voorverwarmen en schakel dan Pizza-modus in). | |
| SNEL VERWARMEN Dezezerkrachtige functie schakelt de DCT-booster in. Binnen korte tijd worden hoch temperaturen bereikt. Deze functie is geschikt voor het tradioneel braden van groet stukken vlees (bv. lamsbout, gebraden speenvarken, varkens-/kalfspoot, ovengebakken ham). | |
| MULTI-COOKING Deze functie gebruikt alle verwarmingselementen van de oven (DCT en tradioneel). In tegenstelling tot COMPLEET MENU warmth deze functie vooral onder in de oven op, wat ideal is voor koken op 4 niveaus (brood, 4 pizza's, hartige taarten). | |
| COMPLEET MENU De combinatie van DCT-technologie en tradionele verwarmingselementen zorgt voor een geleidelijk warmteverdeling, vooral op het bovenste niveau, wat ideaal is voor het koken van grote hoeveelheden voedsel op 2-3 niveaus. | |
| ALLROUNDER Dit is de ideale functie voor beginnende koks. De combinatie van DCT-technologie en tradionele verwarmingselementen zorgt voor een gelijke warmteverdeling, waardoor diverse soorten voedselijken worden opgewarmd met een beperkte gelijke vermogensopname. | |
| SLOW COOKING De ingestelde temperatuur is 120°C met de interne koelventilator ingeschakeld om te koken op een lager vermogen (1000 Watt). De kooktijden+zijn langer waardoor er op een fijnne en geleidelijk manier worden gekocht (bv. kooktype „wellness“). Deze functie is geschikt voor het voorverwarmen van de oven, voordat het bereide voedsel erin worden gezet. | |
| LAGE TEMPERATUUR De functie Lage temperatuur is ideaal om voedsel langerearend op lage temperatuur te koken. Hierdoor worden de fijnheid en organoleptische eigenschappen behouden. U kunt vlees, vis en groente koken, waar bij de originele smaak en voedingswaarden blijven behouden. | |
| ECO BRADEN Deze functie verminder het energieverbruik van de oven tijdens het koken. Dit kan nicht bij alle hoofdgerecht worden ingesteld. | |
| BBQ De traditionele grill en bovenste verwarmingselementen worden ondersteund door DCT. Warmte wordenuitsluitend boven in de oven gegeneerd, waar bij het voedsel gelijkmatig worden opgewärmd. Deze functie is geschikt voor malse ofkleine stukjes vlees en hamburgers. | |
| GRILL Deze functie gezruiktuitsluitend de bovenste grill en is ideaal voor het roosteren van brood, vlees of vis. | |
| CIRCULATIEGRILL De warmte worden gegenereerd door de grill en verspreid door dechterste ventilator. Ideaal voor het koken van groete stukken vlees en gezogelte. | |
| ONTDOOieten De ingestelde temperatuur is 25°C met de interne koelventilator ingeschakeld. Deze functie is geschikt voor het langzaam ontdooien van voedsel of om de oven na het koken af te koelen. | |
| DEEG RIJZEN De ingestelde temperatuur is 30°C met de interne koelventilator uitgeschakeld. Dit is ideaal om deeg te latent rijzen. | |
| BORDEN VERWARMEN De ingestelde temperatuur isCUSSEN 55°Cen 80°C. Deze functie is geschikt voor het opwarmen van gekookt maar koud voedsel ofom borden of voedsel warm te houden. | |
| ZELFREINIGING Deze functie isuitsluitend beschikbaar bij ovens met pyrolytische reinigging,zoals een FS913P. De oven warmt op tot 450° Celsius en worden automatisch gereinigd. |
KOOKLABEL
De instructies in de kooktabel bestaan uit kookprocessen die zich uitgevoerd door professionele chefs. Ze dieren uitsluitend als richtig en+kunnen naar persoonlijke smoak worden aangepast.
| Gekozenz functie | Soort voedsel of recept | Gewicht (kg) | Positie (niveau) | Voor-verwarmings-tijd (min.) | Temperatuur (°C) | Duur (minutes) |
| SLOW COOKING | Sint-Jakobsschelpen | 0,5 | 3 of 4 | 8 | 170 | 17-20 |
| Groentetaart | 1 | 3 of 4 | 8 | 175 | 17-20 | |
| Gebakken pastahoofge-recht | 1,8 | 2 of 3 | 9,5 | 195 | 38-40 | |
| Cannelloni | 1,3 | 2 of 3 | 10 | 195 | 40-45 | |
| Rosbief | 1,3 | 2 of 3 | 10 | 195 | 70-74 | |
| Vis in papillot | 0,4 | 4 of 5 | 8 | 200 | 48-55 | |
| Koekjes | 0,8 | 2 of 3 | 8 | 165 | 40-45 | |
| Appeltaart | 1,6 | 2 of 3 | 10 | 180 | 65-70 | |
| VENTILATOR | Pizzastukken | 1,3 | 4 of 3 | 7 | 200 | 40-45 |
| Gebakken groenten | 1 | 2 of 3 | 8 | 190 | 20-25 | |
| Gevulde pannenkoeken | 1,3 | 3 of 4 | 8 | 200 | 30-35 | |
| Hamburgers | 180 g | 3 of 4 | 8 | 180 | 10-12 | |
| Gebraden varkensvlees | 1,3 | 2 of 3 | 12 | 200 | 85-95 | |
| Baars | 0,8 | 3 of 4 | 8 | 200 | 38-48 | |
| Vis in zoutkorst | 0,8 | 2 of 3 | 6 | 190 | 40-43 | |
| Taarten | 1,3 | 3 of 4 | 8,5 | 180 | 60-65 | |
| PIZZA | Brood | 1 | 2 of 3 | 8 | 180 | 25-30 |
| Pizza met dunne korst | 0,2 | 2 of 3 | 8 | 190 | 8-15 | |
| Focaccia-pizza | 1,3 | 2 of 3 | 10 | 185 | 20-23 | |
| Focaccia | 1,3 | 2 of 3 | 8 | 185 | 18-23 | |
| Geroosterd knoflookbrood | 0,4 | 4 of 5 | 10 | 190 | 9-13 | |
| ALLROUNDER | Cannelloni | 1,3 | 2 of 3 | 10 | 195 | 35-45 |
| Parmigiana-hoofderecht (gebakken) | 1,3 | 3 of 4 | 8,5 | 190 | 30-37 | |
| Vlees-en groentetaart | 1,8 | 2 of 3 | 10 | 180 | 50-65 | |
| Gegratineerde groenten | 1,2 | 2, 3 of 4 | 7,5 | 195 | 20-23 | |
| Gebakken aardappelen | 1,5 | 2 of 3 | 8 | 190 | 40-46 | |
| Dorade | 0,8 | 2 of 3 | 10 | 180 | 30-37 | |
| Konijn (stukjes) | 1,1 | 2 of 3 | 8 | 175 | 65-80 | |
| Broodcake | 0,9 | 2 of 3 | 10 | 175 | 50-65 | |
| Gekozenz functie | Soort voedsel of recept | Gewicht (kg) | Positie (niveau) | Voorverwarmings-tijd (min.) | Temperatuur (°C) | Duur (minutes) |
| COMPLEET MENU | Kaastaart | 0,8 | 2 of 3 | 6,5 | 180 | 23-28 |
| Groentetaart | 1,5 | 2 of 3 | 8 | 190 | 35-40 | |
| Gebakken tomaten | 9 st. | 2 of 3 | 7,5 | 200 | 20-22 | |
| Gebraden kalfsvlees | 1,3 | 1, 2 of 3 | 8,5 | 190 | 105-115 | |
| Jonge haan | 0,4 | 2 of 3 | 7,5 | 200 | 28-35 | |
| Kabeljauw | 1,5 | 2 of 3 | 7,5 | 190 | 28-38 | |
| Zeeduivel | 0,7 | 2 of 3 | 8 | 190 | 23-28 | |
| Soesjes | 0,9 | 2 of 3 | 6 | 200 | 13-18 | |
| MULTI-COOKING | Groot rustiek brood | 1,5 | 3 of 4 | 8 | 210 | 38-48 |
| Groentetaartje | 0,8 | 2, 3 of 4 | 7,5 | 180 | 15-22 | |
| Pastahoofdgerecht | 1,3 | 2 of 3 | 9,5 | 190 | 32-40 | |
| Pilafrijst | 1 | 2 of 3 | 10 | 190 | 15-22 | |
| Zwaardvis | 0,8 | 2 of 3 | 8 | 200 | 30-35 | |
| Kipstukken | 1 | 2 of 3 | 7,5 | 175 | 40-45 | |
| Croissants | 12 st. | 3 of 4 | 6 | 180 | 15-20 | |
| Bladerdeeg | 0,8 | 2, 3 of 4 | 6,5 | 165 | 18-22 | |
| SNEL VERWAR-MEN | Gegratineerde courgette | 1,4 | 1, 2 of 3 | 6 | 190 | 15-19 |
| Gegratineerde tortellini | 1 | 2 of 3 | 5,5 | 175 | 17-23 | |
| Aardappelbollen | 1,5 | 1 of 2 | 5 | 180 | 15-25 | |
| Kebab | 1 | 1, 2 of 3 | 8,5 | 190 | 22-28 | |
| Kippenvleugels | 1 | 2 of 3 | 7,5 | 175 | 18-23 | |
| Worsten | 15 st. | 2 of 3 | 5,5 | 180 | 13-15 | |
| Chocoladedessert | 9 st. | 2 of 3 | 3 | 210 | 7-9 | |
| Muffins | 9 st. | 1 of 2 | 4,5 | 190 | 15-22 | |
| BBQ | Omelet | 1,8 | 2 of 3 | 4 | 190 | 22-45 |
| Vistaart | 1,8 | 2, 3 of 4 | 5,5 | 185 | 30-32 | |
| Geitenspiesjes | 1 | 2 of 3 | 6 | 200 | 8-15 | |
| Varkensribben | 1,8 | 1 of 2 | 8 | 195 | 32-42 | |
| Hamburgers | 180 g | 1, 2 of 3 | 3 | 195 | 6-8 | |
| Forel | 0,8 | 1, 2 of 3 | 6,5 | 200 | 37-42 | |
| Zoet gevulde pannenkoeken | 12 st. | 1 of 2 | 5,5 | 190 | 7-15 | |
| Kleine croissants | 12 st. | 1 of 2 | 4 | 185 | 15-17 |
GETESTE BEREIDINGEN
- In overeenstemming met de norm EN / IEC 60350.
Deze tabellen zijn samengesteld voor de controle-instanties om het beoordelen en testen van diverse apparaten möglich te make.
Kooktabel lezen
De tabel geeft aan welke functie het Beste kan worden gezruikt om voedsel tegelijkertijd op een of meerdere niveaus op te warmen.
De kooktijden verwijzenaar hetplaatsen van het voedsel in de oven zonder voorverwarmen (indien vereist).
Temperatures en kooktijden zijn geschatte waarden en afhankelijk van de kwaliteit van het voedsel en het gebruekte kookgerei.
Gebruik in eerste instantie de aanbevolen waarden en als het eindresultaat Niet is zoals verwacht, kutu de duur verlungen of verkorten. We raden aan om de bijgeleverde accessoires te gebruiken, zoalscakevormen en een donkere metalen ovenbak. Volg de voorkeurstabel waarin de geleverde items worden vermeld die op diverse niveaus+kennen worden geplaatst.
De vermelde niveaus verwijzenaar de niveaus zonder schuifgeleiders (graag verwijderen).
Tegelijkertijd diverse menu's opwarmen
De aanbevolen ventilatiefuncties zorgen ervoor dat u op meerdere niveaus tegelijkkertijd=kunt koken. Bij het koken op een niveau=kunt u ook de staatische functie gebruiken.
| Recept | Functie | Voorverwarmen | Niveau (van laag�) | Temperatuur (°C) | Tijd (minutes) | Accessoires / Opmerkingen |
| Zandgebak | BOVEN- EN ON- DERWARMTE | ✓ | 4 | 160 | 22-26 | Niveau 4: platte lekbak |
| ALLROUNDER | ✓ | 3-5 | 150 | 35-40 | Niveau 5: vlakke lekbak Niveau 3: diepe lekbak | |
| Kleine taar- ten | BOVEN- EN ON- DERWARMTE | ✓ | 3 | 170 | 33-38 | Niveau 3: diepe lekbak |
| ALLROUNDER | ✓ | 3 | 150 | 24-28 | Niveau 4: diepe lekbak Niveau 3: diepe bak | |
| ALLROUNDER | ✓ | 3-4 | 150 | 24-28 | Niveau 4: platte lekbak Niveau 3: diepe lekbak | |
| Biscuit zon- der toege- voegd vet | BOVEN- EN ON- DERWARMTE | ✓ | 2 | 170 | 43-48 | Niveau 2: bakblick oprek |
| ALLROUNDER | ✓ | 2 | 170 | 28-32 | Niveau 2: bakblick oprek | |
| Appeltaart | BOVEN- EN ON- DERWARMTE | ✓ | 1 | 190 | 60-70 | Niveau 1: bakblick oprek |
| MULTI-COOKING | ✓ | 1 | 180 | 50-55 | Niveau 1: bakblick oprek | |
| Twee ap- peltaarten | MULTI-COOKING | ✓ | 1 | 180 | 50-55 | Niveau 1: 2 bakblikken oprek |
| Hartige taarten | BOVEN- EN ON- DERWARMTE | ✓ | 2 | 165 | 25-30 | Niveau 2: bakblick oprek |
| ALLROUNDER | ✓ | 2 | 165 | 28-35 | Niveau 2: bakblick oprek | |
| Recept | Functie | Voorverwarmen | Niveau (van laag waar hoog) | Temperatuur (°C) | Tijd (minutes) | Accessoires / Opmerkingen |
| Grillen | Bij het koken van voedselrechtstreeks op hetrek moet u de lekbak op de trede daaron- derplaatsen.Hierdoor worden etensresten opgevangen en de oven schoon gehonden. | |||||
| Geroosterde sandwich | GRILL | ✓(5 min.) | 5 | 80 | 2-3 | Niveau 5:rekHoud de deur tijdens de gehele kooktijd geslo- ten. |
| Burgers | BBQ | nee | 4 | 200 | 20 | Niveau 4:rekNiveau 3: lekbakNa 10 min. omdraaien |
COMPLETE MENUPROGRAMMA'S

1 Sleuven
2 Inschuifhoogte
3 Ovenruimte
Voorbeeld:
S Voorgerecht
1 1e hoofdgerecht
2 2e hoofdgerecht
D Dessert
Kijk voor meer geveens over gewichten en inschuifhoogten op unsere website: http://recipes.franke.com
Complet vleesmenu
Vleesmenu 1
| Voedsel | Recepten | Inschuifhoogte | Progressieve extractietijd | Gewicht (receipt) | FRANKE-accessoire voor gelebruik |
| Voorgerecht | HARTIGE GRUYÈRESOE-ZEN | 6 | 28 min. | 20 st. 300 g | Platte lekbak |
| 1e hoofdgerecht | RUNDVLEESCANNELLONI | 4 | 41 min. | 1100 g | Bakblik op grill |
| Dessert | CHOCOLADE-CHILITAART | 1 | 51 min. | 800 g | Bakblik op diepe lekbak |
| 2e hoofdgerecht | GEVULDE PARELHOEN | 2 | 98 min. | 1450 g | bakblik op grill |
Vleesmenu 2
| Voedsel | Recepten | Inschuifhoogte | Progressieve extractietijd | Gewicht (receipt) | FRANKE-accessoire voor gebruik |
| Voorgerecht | GEVULDE COUR-GETTES | 6 | 18 min. | 16 st. 700 g | Platte lekbak |
| Dessert | APPELTAART | 1 | 34 min. | 800 g | Bakblik op diepe lekbak |
| 1e hoofdgerecht | LASAGNE MET PESTO | 4 | 44 min. | 1600 g | Bakblik op grill |
| 2e hoofdgerecht | KIPGEHAKTBROOD MET DOPERWTEN & ASPERGES | 2 | 54 min. | 1100 g | Bakblik op grill |
Vleesmenu 3
| Voedsel | Recepten | Inschuifhoogte | Progressieve extractietijd | Gewicht (recept) | FRANKE-accessoire voor gezebruik |
| Voorgerecht | GEGRATINEERDE VENKEL | 6 | 22 min. | 800 g | Bakblik op grill |
| 1e hoofdgerecht | GNOCCHI | 4 | 29 min. | 650 g | Bakblik op grill |
| Dessert | PRUIMENTAART | 1 | 51 min. | 580 g | Bakblik op diepe lekbak |
| 2e hoofdgerecht | EVERZWIJN IN SAUS | 3 | 55 min. | 900 g | Platte lekbak |
Vleesmenu 4
| Voedsel | Recepten | Inschuifhoogte | Progressieve extractietijd | Gewicht (recept) | FRANKE-accessoire voor gezruik |
| Voorgerecht | SPINAZIETAARTJE | 6 | 19 min. | 800 g | Bakblik op grill |
| 1e hoofdgerecht | PASTEI MET POLENTA EN GROENTEN | 4 | 25 min. | 1200 g | Bakblik op grill |
| 2e hoofdgerecht | KALKOEN GEVULD MET ASPERGES | 3 | 29 min. | 870 g | Platte lekbak |
| Dessert | ZOETE FOCACCIA | 1 | 32 min. | 1100 g | Bakblik op diepe lekbak |
Vleesmenu 5
| Voedsel | Recepten | Inschuifhoogte | Progressieve extractietijd | Gewicht (recept) | FRANKE-accessoire voor gezruik |
| Voorgerecht | GEVULDE COUR-GETTEBLOEMEN | 6 | 17 min. | 600 g | Bakblik op grill |
| 1e hoofdgerecht | PAPPARDELLE MET COURGETTES | 4 | 23 min. | 1100 g | Bakblik op grill |
| 2e hoofdgerecht | GEBRADEN KALFSVLEES | 3 | 28 min. | 900 g | Platte lekbak |
| Dessert | RICOTTA-KANEEL-PUDDING | 1 | 41 min. | 850 g | Bakblik op diepe lekbak |
Vleesmenu 6
| Voedsel | Recepten | Inschuifhoogte | Progressieve extractietijd | Gewicht (recept) | FRANKE-accessoire voor gezruik |
| Voorgerecht | AARDAPPELKOEKJES | 6 | 23 min. | 800 g | Platte lekbak |
| 1e hoofde-recht | GEVULDE PASTA | 4 | 38 min. | 1100 g | Bakblik op grill |
| Dessert | KASTANJETAART | 1 | 38 min. | 900 g | Bakblik op grill |
| 2e hoofde-recht | LAMSBOUT | 3 | 78 min. | 800 g | Diepe lekbak |
Vleesmenu 7
| Voedsel | Recepten | Inschuifhoogte | Progressieve extractietijd | Gewicht (recept) | FRANKE-accessoire voor gezebruik |
| Voorgerecht | GEVULDE PAPRIKA'S | 6 | 25 min. | 600 g | Bakblik op grill |
| 1e hoofdgericht | EIERNOEDELS MET HAM & KAAS | 4 | 34 min. | 1300 g | Bakblik op grill |
| Dessert | DUITSE TAART | 1 | 54 min. | 850 g | Bakblik op diepe lekbak |
| 2e hoofdgericht | KIP MET DRUIVEN | 3 | 79 min. | 1450 g | Platte lekbak |
Vleesmenu 8
| Voedsel | Recepten | Inschuifhoogte | Progressieve extractietijd | Gewicht (receipt) | FRANKE-accessoire voor gezebruik |
| Voorgerecht | OLIJVEN-TOFOE-BALLETJES | 6 | 28 min. | 850 g | Platte lekbak |
| 1e hoofdgerecht | PASTA GEVULD MET VLEES | 4 | 35 min. | 1100 g | Bakblik op grill |
| 2e hoofdgerecht | GEBRADEN KALFSVLEES | 2 | 38 min. | 900 g | Bakblik op grill |
| Dessert | MARMERCAKE | 1 | 65 min. | 1326 g | Bakblik op diepe lekbak |
Complet vleesmenu - lage stand
Vleesmenu 1 - lage stand
| Voedsel | Recepten | Inschuifhoogte | Progressieve extractietijd | Gewicht (receipt) | FRANKE-accessoire voor gelebruik |
| Voorgerecht | HARTIGE GRUYÈRESOEZEN | 6 | 45 min. | 20 st. 300 g | Platte lekbak |
| 1e hoofdgerecht | RUNDVLEESCANNELLONI | 4 | 58 min. | 1100 g | Bakblik op grill |
| Dessert | CHOCOLADE-CHILITAART | 1 | 65 min. | 800 g | Bakblik op diepe lekbak |
| 2e hoofdgerecht | GEVULDE PARELHOEN | 2 | 98 min. | 1450 g | Bakblik op grill |
Vleesmenu 2 - lage stand
| Voedsel | Recepten | Inschuifhoogte | Progressieve extractietijd | Gewicht (recept) | FRANKE-accessoire voor gezruik |
| Voorgerecht | GEVULDE COUR-GETTES | 6 | 45 min. | 16 st. 700 g | Platte lekbak |
| Dessert | APPELTAART | 1 | 56 min. | 800 g | Bakblik op diepe lekbak |
| 1e hoofdgerecht | LASAGNE MET PESTO | 4 | 70 min. | 1600 g | Bakblik op grill |
| 2e hoofdgerecht | KIPGEHAKTBROOD MET DOPERWTEN & ASPERGES | 2 | 82 min. | 1100 g | Bakblik op grill |
Vleesmenu 3 - lage stand
| Voedsel | Recepten | Inschuifhoogte | Progressieve extractietijd | Gewicht (recept) | FRANKE-accessoire voor gezebruik |
| Voorgerecht | GEGRATINEERDE VENKEL | 6 | 45 min. | 800 g | Bakblik op grill |
| 1e hoofdgerecht | GNOCCHI | 4 | 45 min. | 650 g | Bakblik op grill |
| Dessert | PRUIMENTAART | 1 | 60 min. | 580 g | Bakblik op diepe lekbak |
| 2e hoofdgerecht | EVERZWIJN IN SAUS | 3 | 74 min. | 900 g | Platte lekbak |
Vleesmenu 4 - lage stand
| Voedsel | Recepten | Inschuifhoogte | Progressieve extractietijd | Gewicht (recept) | FRANKE-accessoire voor gezebruik |
| Voorgerecht | SPINAZIETAARTJE | 6 | 38 min. | 800 g | Bakblik op grill |
| 1e hoofdgerecht | PASTEI MET POLENTA EN GROENTEN | 4 | 52 min. | 1200 g | Bakblik op grill |
| 2e hoofdgerecht | KALKOEN GEVULD MET ASPERGES | 3 | 56 min. | 870 g | Platte lekbak |
| Dessert | ZOETE FOCACCIA | 1 | 56 min. | 1100 g | Bakblik op diepe lekbak |
Vleesmenu 5 - lage stand
| Voedsel | Recepten | Inschuifhoogte | Progressieve extractietijd | Gewicht (recept) | FRANKE-accessoire voor gezruik |
| Voorgerecht | GEVULDE COUR-GETTEBLOEMEN | 6 | 43 min. | 600 g | Platte lekbak |
| 1e hoofdgerecht | PAPPARDELLE MET COURGETTES | 4 | 48 min. | 1100 g | Bakblik op grill |
| 2e hoofdgerecht | GEBRADEN KALFSVLEES | 3 | 56 min. | 900 g | Bakblik op grill |
| Dessert | RICOTTA-KANEEL-PUDDING | 1 | 58 min. | 850 g | Bakblik op diepe lekbak |
Vleesmenu 6 - lage stand
| Voedsel | Recepten | Inschuifhoogte | Progressieve extractietijd | Gewicht (recept) | FRANKE-accessoire voor gezebruik |
| Dessert | KASTANJETAART | 1 | 42 min. | 900 g | Bakblik op diepe lekbak |
| Voorgerecht | AARDAPPELKOEKJES | 6 | 49 min. | 800 g | Platte lekbak |
| 1e hoofdgerecht | GEVULDE PASTA | 4 | 60 min. | 1100 g | Bakblik op grill |
| 2e hoofdgerecht | LAMSBOUT | 3 | 96 min. | 800 g | Bakblik op grill |
Vleesmenu 7 - lage stand
| Voedsel | Recepten | Inschuifhoogte | Progressieve extractietijd | Gewicht (recept) | FRANKE-accessoire voor gezebruik |
| Voorgerecht | GEVULDE PAPRIKA'S | 6 | 52 min. | 600 g | Platte lekbak |
| 1e hoofdgerecht | EIERNOEDELS METHAM & KAAS | 4 | 65 min. | 1300 g | Bakblik op grill |
| Dessert | DUITSE TAART | 1 | 65 min. | 850 g | Bakblik op diepe lekbak |
| 2e hoofdgerecht | KIP MET DRUIVEN | 3 | 86 min. | 1450 g | Bakblik op grill |
Vleesmenu 8 - lage stand
| Voedsel | Recepten | Inschuifhoogte | Progressieve extractietijd | Gewicht (recept) | FRANKE-accessoire voor gezebruik |
| Voorgerecht | OLIJVEN-TOFOE-BALLETJES | 6 | 56 min. | 850 g | Platte lekbak |
| 1e hoofdgerecht | PASTA GEVULD MET VLEES | 4 | 58 min. | 1100 g | Bakblik op grill |
| 2e hoofdgerecht | GEBRADEN KALFSVLEES | 2 | 58 min. | 900 g | Bakblik op diepe lekbak |
| Dessert | MARMERCAKE | 1 | 65 min. | 1326 g | Bakblik op grill |
Complet vismenu
Vismenu 1
| Voedsel | Recepten | Inschuifhoogte | Progressieve extractietijd | Gewicht (recept) | FRANKE-accessoire voor gezebruik |
| Voorgerecht | ZWAARDVISSPIEZEN | 6 | 22 min. | 600 g | Platte lekbak |
| 1e hoofdgerecht | PASTA MET RADICCHIO & GARNALEN | 4 | 27 min. | 1200 g | Bakblik op grill |
| Dessert | PERENTAART | 1 | 44 min. | 950 g | Bakblik op grill |
| 2e hoofdgerecht | ZEEBAARS IN PAPILLOT | 2 | 50 min. | 800 g | Bakblik op grill |
Vismenu 2
| Voedsel | Recepten | Inschuifhoogte | Progressieve extractietijd | Gewicht (recept) | FRANKE-accessoire voor gezebruik |
| Voorgerecht | ZALMTAART | 6 | 35 min. | 1200 g | Platte lekbak |
| 1e hoofdgerecht | VISPASTEI | 4 | 41 min. | 1200 g | Bakblik op grill |
| Dessert | MARGHERITA TAART | 1 | 45 min. | 890 g | Bakblik op diepe lekbak |
| 2e hoofdgerecht | DORADE IN PAPILLOT | 2 | 45 min. | 800 g | Bakblik op grill |
Vismenu 3
| Voedsel | Recepten | Inschuifhoogte | Progressieve extractietijd | Gewicht (recept) | FRANKE-accessoire voor gezebruik |
| Voorgerecht | GEVULDE ANSJOVIS | 6 | 25 min. | 400 g | Platte lekbak |
| 2e hoofdgerecht | TONGROLLETJES | 2 | 32 min. | 600 g | Bakblik op grill |
| 1e hoofdgerecht | VERMICELLI-TIMBAALTJES | 4 | 46 min. | 1300 g | Bakblik op grill |
| Dessert | YOGHURTCAKE | 1 | 46 min. | 680 g | Bakblik op diepe lekbak |
Vismenu 4
| Voedsel | Recepten | Inschuifhoogte | Progressieve extractietijd | Gewicht (recept) | FRANKE-accessoire voor gezebruik |
| Voorgerecht | KABELJAUW MET ARTISJOKKEN | 6 | 24 min. | 900 g | Platte lekbak |
| Dessert | HONINGCAKE | 1 | 30 min. | 800 g | Bakblik op diepe lekbak |
| 1e hoofdgerecht | SPAGHETTIPAPILLOT | 4 | 34 min. | 1200 g | Bakblik op grill |
| 2e hoofdgerecht | DORADE MET KAP-PERTJES | 3 | 45 min. | 800 g | Bakblik op grill |
Vismenu 5
| Voedsel | Recepten | Inschuifhoogte | Progressieve extractietijd | Gewicht (receipt) | FRANKE-accessoire voor gezruik |
| Dessert | ANANASTAART | 1 | 22 min. | 300 g | Bakblik op diepe lekbak |
| Voorgerecht | GEBAKKEN ARTISJOKKEN | 6 | 29 min. | 500 g | Bakblik op grill |
| 1e hoofdgerecht | RISOTTO MET SCAMPI EN PADDENSTOELLEN | 4 | 32 min. | 1100 g | Bakblik op grill |
| 2e hoofdgerecht | CALAMARI MET DOPERWTEN | 3 | 40 min. | 900 g | Platte lekbak |
Vismenu 6
| Voedsel | Recepten | Inschuifhoogte | Progressieve extractietijd | Gewicht (receipt) | FRANKE-accessoire voor gezebruik |
| Voorgerecht | ZOUTE KABELJAUW-BALLETJES | 6 | 21 min. | 600 g | Platte lekbak |
| 1e hoofdgerecht | LASAGNE MET ZEEVRUCHTEN & DOPERWTEN | 4 | 38 min. | 1300 g | Bakblik op grill |
| 2e hoofdgerecht | ZONNEVIS | 3 | 42 min. | 1100 g | Bakblik op grill |
| Dessert | CITROENCAKE | 1 | 48 min. | 800 g | Bakblik op diepe lekbak |
Vismenu 7
| Voedsel | Recepten | Inschuifhoogte | Progressieve extractietijd | Gewicht (receipt) | FRANKE-accessoire voor gezruik |
| Voorgerecht | HOUTSNIP | 6 | 14 min. | 400 g | Platte lekbak |
| 2e hoofdgerecht | GEVULDE ZALM | 3 | 22 min. | 800 g | Bakblik op grill |
| Dessert | CITRUSVRUCHTENTAART | 1 | 36 min. | 700 g | Bakblik op diepe lekbak |
| 1e hoofdgerecht | RIJST, AARDAPPELEN & MOSSELEN | 4 | 42 min. | 1400 g | Bakblik op grill |
Vismenu 8
| Voedsel | Recepten | Inschuifhoogte | Progressieve extractietijd | Gewicht (recept) | FRANKE-accessoire voor gezebruik |
| Voorgerecht | SINT-JAKOBSSCHEL-PEN MET PREI | 6 | 24 min. | 550 g | Bakblik op grill |
| 1e hoofdgerecht | TAGLIATEILLE MET ZEEVRUCHTEN | 4 | 28 min. | 750 g | Bakblik op grill |
| 2e hoofdgerecht | SCHORPIOENVIS IN SAUS | 2 | 34 min. | 700 g per 2 st. | Platte lekbak |
| Dessert | CITROENTAART | 1 | 34 min. | 600 g | Bakblik op diepe lekbak |
Complet vismenu - lage stand
Vismenu 1 - lage stand
| Voedsel | Recepten | Inschuifhoogte | Progressieve extractietijd | Gewicht (recept) | FRANKE-accessoire voor gezebruik |
| Voorgerecht | ZWAARDVISSPIEZEN | 6 | 42 min. | 600 g | Platte lekbak |
| 1e hoofdgerecht | PASTA MET RADICCHIO & GARNALEN | 4 | 50 min. | 1200 g | Bakblik op grill |
| Dessert | PERENTAART | 1 | 52 min. | 950 g | Bakblik op diepe lekbak |
| 2e hoofdgerecht | ZEEBAARS IN PAPILLOT | 2 | 65 min. | 800 g | Bakblik op grill |
Vismenu 2 - lage stand
| Voedsel | Recepten | Inschuifhoogte | Progressieve extractietijd | Gewicht (recept) | FRANKE-accessoire voor gezebruik |
| Dessert | MARGHERITA TAART | 1 | 50 min. | 890 g | Bakblik op diepe lekbak |
| Voorgerecht | ZALMTAART | 6 | 53 min. | 1200 g | Platte lekbak |
| 1e hoofdgerecht | VISPASTEI | 4 | 57 min. | 1200 g | Bakblik op grill |
| 2e hoofdgerecht | DORADE IN PAPILLOT | 2 | 59 min. | 800 g | Bakblik op grill |
Vismenu 3 - lage stand
| Voedsel | Recepten | Inschuifhoogte | Progressieve extractietijd | Gewicht (recept) | FRANKE-accessoire voor gezebruik |
| Voorgerecht | GEVULDE ANSJOVIS | 6 | 48 min. | 400 g | Platte lekbak |
| 2e hoofdgerecht | TONGROLLETJES | 2 | 48 min. | 600 g | Bakblik op grill |
| Dessert | YOGHURTCAKE | 1 | 54 min. | 680 g | Bakblik op diepe lekbak |
| 1e hoofdgerecht | VERMICELLI-TIMBAALTJES | 4 | 57 min. | 1300 g | Bakblik op grill |
Vismenu 4 - lage stand
| Voedsel | Recepten | Inschuifhoogte | Progressieve extractietijd | Gewicht (recept) | FRANKE-accessoire voor gebruik |
| Voorgerecht | KABELJAUW MET ARTISJOKKEN | 6 | 45 min. | 900 g | Platte lekbak |
| Dessert | HONINGCAKE | 1 | 48 min. | 800 g | Bakblik op diepe lekbak |
| 1e hoofdgerecht | SPAGHETTIPAPILLOT | 4 | 59 min. | 1200 g | Bakblik op grill |
| 2e hoofdgerecht | DORADE MET KAPPERTJES | 3 | 62 min. | 800 g | Bakblik op grill |
Vismenu 5 - lage stand
| Voedsel | Recepten | Inschuifhoogte | Progressieve extractietijd | Gewicht (recept) | FRANKE-accessoire voor gezruik |
| Dessert Voorgerecht | ANANASTAART | 1 | 32 min. | 300 g | Bakblik op diepe lekbak |
| Voorgerecht | GEBAKKEN ARTISJOK-KEN | 6 | 48 min. | 500 g | Bakblik op grill |
| 1e hoofdgerecht | RISOTTO MET SCAMPI EN PADDENSTOELEN | 4 | 54 min. | 1100 g | Bakblik op grill |
| 2e hoofdgerecht | CALAMARI MET DOPERWTEN | 3 | 62 min. | 900 g | Platte lekbak |
Vismenu 6 - lage stand
| Voedsel | Recepten | Inschuifhoogte | Progressieve extractietijd | Gewicht (recept) | FRANKE-accessoire voor gezebruik |
| Voorgerecht | ZOUTE KABELJAUW-BALLETJES | 6 | 39 min. | 600 g | Platte lekbak |
| 1e hoofdgerecht | LASAGNE MET ZEEVRUCHTEN & DOPERWTEN | 4 | 54 min. | 1300 g | Bakblik op grill |
| 2e hoofdgerecht Dessert | ZONNEVIS | 3 | 54 min. | 1100 g | Bakblik op grill |
| Dessert | CITROENCAKE | 1 | 54 min. | 800 g | Bakblik op diepe lekbak |
Vismenu 7 - lage stand
| Voedsel | Recepten | Inschuifhoogte | Progressieve extractietijd | Gewicht (receipt) | FRANKE-accessoire voor gezebruik |
| Voorgerecht | HOUTSNIP | 6 | 32 min. | 400 g | Platte lekbak |
| 2e hoofdgerecht | GEVULDE ZALM | 3 | 35 min. | 800 g | Bakblik op grill |
| Dessert | CITRUSVRUCHTENTAART | 1 | 53 min. | 700 g | Bakblik op diepe lekbak |
| 1e hoofdgerecht | RIJST, AARDAPPELEN & MOSSELEN | 4 | 58 min. | 1400 g | Bakblik op grill |
Vismenu 8 - lage stand
| Voedsel | Recepten | Inschuifhoogte | Progressieve extractietijd | Gewicht (recept) | FRANKE-accessoire voor gezebruik |
| Voorgerecht | SINT-JAKOBSSCHEL-PEN MET PREI | 6 | 45 min. | 550 g | Platte lekbak |
| 1e hoofdgerecht | TAGLIATELLE MET ZEEVRUCHTEN | 4 | 50 min. | 750 g | Bakblik op grill |
| Dessert | CITROENTAART | 1 | 50 min. | 600 g | Bakblik op diepe lekbak |
| 2e hoofdgerecht | SCHORPIOENVIS IN SAUS | 2 | 59 min. | 700 g per 2 st. | Bakblik op grill |
Complet menu 4 Pizza's en Brood
Menu 4 Pizza's
| Voedsel | Recepten | Inschuifhoogte | Progressieve extractietijd | Gewicht (recept) | FRANKE-accessoire voor gezebruik |
| 1 | PIZZA MARGHERITA | 6 | 21 min. | 600 g | Platte lekbak |
| 2 | PIZZA MET SPEK EN OLIJVEN | 4 | 25 min. | 600 g | op grill |
| 3 | PIZZA MET TONIJN EN UIEN | 3 | 25 min. | 600 g | op grill |
| 4 | PIZZA MET GROENTEN | 1 | 25 min. | 600 g | Diepe lekbak |
Menu Brood
| Voedsel | Recepten | Inschuifhoogte | Progressieve extractietijd | Gewicht (receipt) | FRANKE-accessoire voor gebruik |
| 1 | BROOD/PIZZA | 6 | 25 min. | 500 g | Platte lekbak |
| 2 | BROOD/PIZZA | 4 | 27 min. | 500 g | op grill |
| 3 | BROOD/PIZZA | 2 | 27 min. | 500 g | op grill |
| 4 | BROOD/PIZZA | 1 | 27 min. | 500 g | Diepe lekbak |
Complet menu 4 Pizza's en Brood - lage stand
Menu 4 Pizza's
| Voedsel | Recepten | Inschuifhoogte | Progressieve extractietijd | Gewicht (recept) | FRANKE-accessoire voor gezruik |
| 1 | PIZZA MET ZWARTE OLIJVEN | 6 | 33 min. | 600 g | Platte lekbak |
| 2 | PIZZA MET HAM EN CHAM-PIGNONS | 1 | 33 min. | 600 g | Diepe lekbak |
| 3 | PIZZA MET GROENTEN | 3 | 42 min. | 600 g | op grill |
| 4 | PIZZA MET TONIJN EN UIEN | 4 | 42 min. | 600 g | op grill |
Menu Brood
| Voedsel | Recepten | Inschuifhoogte | Progressieve extractietijd | Gewicht (recept) | FRANKE-accessoire voor gezebruik |
| 1 | BROOD/PIZZA | 1 | 49 min. | 500 g | Diepe lekbak |
| 2 | BROOD/PIZZA | 2 | 49 min. | 500 g | op grill |
| 3 | BROOD/PIZZA | 4 | 53 min. | 500 g | op grill |
| 4 | BROOD/PIZZA | 6 | 55 min. | 500 g | Platte lekbak |
Menu Wellness
| Voedsel | Recepten | Inschuifhoogte | Progressieve extractietijd | Gewicht (receipt) | FRANKE-accessoire voor gebruik |
| 1 | LAM/VARKEN/SCHAAP | 3 | 194 min. | 1550 g | Platte lekbak |
| 3 | VIS | 3 | 92 min. | 1100 g | Platte lekbak |
| 2 | GEVOGELTE | 3 | 138 min. | 600 g | Platte lekbak |
| 4 | KALFSVLEES | 3 | - | - | Platte lekbak |
| 5 | GROENTEN | 3 | 75 min. | 900 g | Platte lekbak |
REINIGING EN ONDERHOUD
Voordat u begint met reinigen en onderhoud:
Lees de algemene veiligheidsgegevens over reinigen in de sectie „Veiligheidsgegevens".
Ovenuitschakelen.
- Afhankelijk van hoe de oven is geinstalleerd: Ontkoppel de oven of schakel de stroomtoevoeruit via de elektrische hoofdschakelaar, door bijvoorbeeld de zekering van de oven in de zekeringkast uit te schakelen.
Algemene aanbevelingen
Vlekken in de oven van diverse kookproducten (sauzen, suiker, proteinen en vet) worden altijdveroorzaakt door morsen en spatten. Spatten gebeurt tijdens het koken en is vaak het gevolg van koken op te hoge temperaturen. Morsen gebeurt tijdens het opwarmen van schalen die te Klein+zijn of doordat het volume aanzienlijk stijgt tijdens het koken. Deze problemen können worden voorkomen door diepe schalen te gebruiken of de lekbak die bij de oven is meegeleverd.
Het roestvrijstaal en de geëmailleerde delen van de oven blijven zo goed als/Neww als ze regelmatig met water of speciale reinigingsmiddelen worden gereinigd.
Zorg ervoor dat de oven is afgekoeld voordat u begint met reinigen.
Gebruik geen stoomreinigers ofrechtstreekse waterstralen.
Gebruik geen grove schurende materialen of scherpe metaalschrapers om de glazen onderdelen van de ovendeur te reinigen. Ze können krassen op het oppervlak veroorzaken en het glas breken.
Gebruik geen schuursponsjes, staalwol, zoutzuur of andere producten die krassen of beschadigingen op het oppervlak können veroorzaken.
Reinig de geëmailleerde oppervlakken en ovenruimte uitsluitend met heet water en nietschurende reinigingsmiddelen.
Gebruik een goede glasreiniger voor het glas.
Gebruik de zelfreinigingsfunctie
Deze functie is uitsluitend beschikbaar bij ovens met pyrolytische reiniging, zoals een FS913P.
De functie ZELFREINIGING maakt het reinigen van de oven tot een snel en makkelijk proces. De temperatuur die worden bereikt in het kookgedeelte (480^) carboniseert alle voedsel en vetresten. Tijdens dit proces zullen sommige resten gaan gloeien; dit is een normal aanomeen als gevolg van onmiddelijkke verbranding.
Als de functie ZELFREINIGING is geactiveerd worden de ovendeur na de eerste twee cycli afgesloten en kan nicht worden geopend. Het hangslot-pictogramlicht op.
De verduistering van hetLCD-display tijdens het pyrolytische reinigingsproces is een voorzorgsmaatregel die wordt ingeschakeld door de hove temperaturen.
Vóró reniniging
In de oven acheftergebleven accessoires kunnen de juiste circulatie van warmte op de wanden beperken of door de hove temperaturen beschadigd raken.
Verwijder alle accessoires (lekbakken, sleuven, telescoopgeleiders).
Laat niets in de oven anschter.
Verwijder etensresten met een vochtige spons.
Gebruik geen reinigingsmiddelen of anderspecifiek schoonmaakmiddel.
Belemmer nicht de luchtcirculatie aan de voorkant van de oven.
Leg niets op het handvat.
De oppervlakken können tijdens een pyrolytisch reinigingsproces zeer heet worden.
Houd kinderenuit debuurt.
Reinig het interne glaspaneel met water en zoep.
Start de ZELFREINIGING via het display.
Na reinforcing
Reinig het interne glaspaneel met een glasreiniger.
Droog na het reinigen zorgvuldig alle delen van de oven.
Oven reinigen
Het is makkelijker om eventuele vlekken te verwijderen terwijl de oven nog warm is en de vlekken nog vers.
Zorg ervoor dat de oven is afgekoeld voordat u begint met reinigen.
Reinig de geëmailleerde oppervlakken en de oven met heet water en nicht-schurende reinigingsmiddelen.
Droog na het reinigen zorgvuldig alle delen van de oven.
Ovendeur reinigen
Zorg ervoor dat de oven is afgekoeld voordat u begint met reinigen.
Om het reinigen makkelijk te makek kan de deur worden verwijderd (bekijk hoofdstuk „Ovendeur verwijderen").
Sleut de deur half.
Trek de deur buitenwaarts.


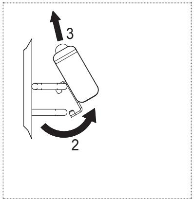
Ovendeur verwijderen
- Open de ovendeur volledig.

De scharnieren zijn uitgerust met twee verwijdberbare sloten.
Zorg ervoor dat de sluithaken compleet omlaag staan.
- Om het scharnier te ontkoppelen moet u het slot optillen en de deur aan derijkanten bij de scharnieren vasthouden.
▶ Draai de twees sluithaken omlaag.

Ovendeur bevestigen
Na het reinigen要去 de ovendeur waar worden bevestigd.
Schuif de scharnieren in hun groeven.
▶ Draai de twee sluithaken (gebruikt als scharnierbevestigingen) omhoog.
WAARSCHUWING! Schade aan oven door verkeerde behandeling!
Probeer nooit de deur te sluiten als eén of twee blokken gedeeltelijk of volledig open+zijn.
Sluit the ovendeur.
Glaspanelen van ovendeur reinigen
De ovendeur en glaspanelen können worden verwijderd om het glaspaneel zorgvuldig te konnen reinigen.
De ovendeur heeft 3 glaspanelen:
- binnenpaneel (bij de opening)
tussenpaneel (in de ovendeur) - buitenpaneel
Het binnen- en tussenpaneel konnen voor reiniging worden verwijderd.
De binnenkant van het buitenpaneel kan worden gereinigd als het binnen- en tussenpaneel worden verwijderd.
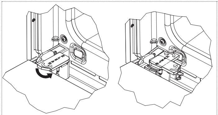
Verwijdersen en reinigen van binnenpaneel
Zorg ervoor dat de oven is afgekoeld voordat u begint met reinigen.
- Open de ovendeur volledig.

Draai de twee zwarte blokken (met hetwoord CLEAN, aan de onderkant van de deur) 180^ , zodat ze in de uitsparingen van de oven vallen.

- Zorg ervoor dat de zwarte blokken volledig gedraaid worden.
De blokken klikken op hun plek.
WAARSCHUWING! Schade aan oven door verkeerde behandeling!
Als de blokken Niet volledig zijn gedraaid, zal het verwijderen van het glaspaneel ervoor zorgen dat de ovendeur onmiddelijk sluit.
Probeer nooit de deur te sluiten als eén of tweet blokken het glaspaneel gedeeltelijk of volledig hebben bevrijd.
Druk het binnenpaneel (1) zorgvuldig richting oven. Til daarna het binnenpaneel (2) op.
- De twee Zwarte blokken voorkomen dat de deur sluit.
Reinig het binnenpaneel.

Verwijder en reinig het binnenpaneel van de ovendeur
Na het verwijderen van het binnenpaneel kan het tussenpaneel worden verwijderd.
- Til hetCUSenpaneel aanbeide kanten zorgvuldiguit de rubbers.
Reinig het binnenpaneel.
Verwijdersen en reinigen bovenranden van glaspanelen
Om het reinigen makkelijker te makes hun den bovenranden van de ovendeur worden verwijderd. De bovenranden zijn bevestigd met twee schroeven, een rechtsboven en een linksboven aan de binnenkant van de ovendeur. Het isuitsluitend möglichk om de bovenranden te verwijderen als het binnenpaneel is verwijderd.
Draai de bevestigingschroeven in de bovenste hoeken van de ovendeur los.
Verwijlder de bovenrand.
Reinig de bovenrand.
Glaspanelen bevestigen
De juiste positie van de bevestigde glaspanelen wordt aangegeven door de woorden GEHARD GLAS, dat perfect leesbaar要去en.
- Plaats de bovenrand vór bevestiging wee terug.
- Plaats het tussenpaneel vór bevestiging terug op zich拼 in de rubbers.
Plaats het binnenpaneel weer terug.
▶ Draai de twee bevestigingsblokken waar terug op hun oorspronkelijke plek.
Sluit the ovendeur.
Zijframes en telescopische geleiders reinigen
De zichframes en telescopische geleiders können uit de oven worden verwijderd zodate ze grondig wollen worden gereinigd.
Telescopische geleiders verwijderen
Druk met de telescopische geleider in gesloten positie stevig (1) op het midden van het rooster waar de onderkant van de geleider op rust.

- Til de telescopische geleider (3) omhoog verwijl u (2)die richting de andere kant van de oven eruit haalt.
Verwijder de telescopische geleiders.

Zijframes verwijderen
▶ Buig het dwarstuk dat gekoppeld is aan de geleidingsbus neerwaarts en verwijder het UIT de sleuf.
Druk het zijframe opwaarts en verwijder het UIT de twee boenhaken.
Reiniging
Reinig de zijframes en telescopische geleiders.
Houd na het reinigen het ijframe gekanteld en steek de lijframes in de twee respectievelijke geleiders bovenaan.
▶ Buig het dwarstuk dat gekoppeld is aan de geleidingsbus opwaarts en schuif het in de sleuf.
Plaats de telescopische geleiders terug.
Ovenlamp verrangen
Franke-ovens zijn uitgerust met twee rechthoekige lampen. Een verrangende lamp要去 aan de volgende technische specificaties voldoen:
- Temperatuurbestendigheid: 300^ C
- Netspanning: 220-240 V, 50/60 Hz
Vermogen: 40 W - Aansluiting: G9
WAARSCHUWING! Schade aan de lamp door verkeerde behandeling!
Raak de lampen nicht met blote handen aan.
Gebruik een doek of een vel keukenpapier.
WAARSCHUWING! Risico op elektrische schok!
Zorg ervoor dat de oven is uitgeschakeld voordatu de lamp verrangt.
WAARSCHUWING! Elektrische schok door verkeerde behandeling!
Schakel de ovenuit.
-
Afhankelijk van hoe de oven is geinstalleerd: Ontkoppel de oven of schakel de stroomtoevoeruit via de elektrische hoofdschakelaar, door bijvoorbeeld de zekering van de oven in de zekeringkast uitt eschakelen.
-
Verwijder de glazen kap door hem voorzichtig met een platte schroevendraaier los te make.
Verwijder de lampuit zich behuizing.
Vervang de lamp.
Zet de glazen kap wee terug.
ONDERHOUD EN REPARATIE
Zorg ervoor dat het onderhoud van elektrische componenten uitsluitend worden UITgevoerd door de fabrikant of klantenservice.
Zorg ervoor dat beschadigde kabels uitsluitend door de fabrikant of klantenservice worden gerepareerd.
Als u contact opneemt met de klantenservice moet u de volgende gegevens bij de hand hebben:
- soort storing
- modelnummer (Art.)
- serienummer (S.N.)
Deze gegevens staan vermeld op het typeplaatje.
Softwareversie
Deze optie bevat technische gegevens die nuttig zich voor de klantenservice bij een elektrische storing.
Druk op
- Het menu INSTELLINGEN met diverse opties verschijnt.
Druk op SOFTWAREVERSIE.
De softwaregegevens verschijnen.
Demo
Deze optie kan uitsluitend worden geactiveerd door monteurs.
Hiermee konnen de displayfuncties worden bekeken zonder de opwarmingselementen te activeren. Het is nuttig bij beurzen of productpresentaties.
VERWIJDERING

Het symbol op het product of de verpakking geeft aan dat het apparaat Niet als huishoudelijk afval mag worden verwijderd.
Door het zorgvuldig afvoeren van het apparaat helpt u schadelijke gevolgen voor het milieu en de gezondheid te voorkomen.
Meer geevens over de recycling van het apparaat bij beschikbaar bij de bevoegde instantie,plaatselijk afvalverwerkingsdienst of de verkoper van het apparaat.
Verwijder het apparaat dat moet worden weggegooid via een special afvalverzamelpunt voor elektronische en elektrische apparaten.
Dit is in overeenstemming met het wettelijkbesluit articelnr. 15 gedateerd 25 juli,implementatie van derichtlijnen 2002/95/EC,2002/96/EC en 2003/108/
EC in verband met het verminderen van gevaarlijke stoffen die worden gezruikt in elektrische en elektronische apparaten en bij afvalverwijdering. Het doorgekruiste afvalbaksymbol op het apparaat geeft aan dat het aan het einde van de levensduur Niet kan worden verwijderd als huisvuil.
Daarom要去de gebruikerhetapparaaatan het einde van zijn levensduur maar eengeschiktrecyclingcentrumvoor elektronisch enelectrotechnisch afval brengen,of returneren aan de dealer bij de aankoop van een nieuw, soortgelijkapparaat.
Een goed gezende den afvalinzameling van afgedankte apparaten voor verdere recycling, behandeling en milieuvriendelijk verwijdering helpt een potentieel negatieve impact op het milieu en de gezondheid te voorkomen en bevordert de recycling van de gebruikte materialen.
KLANTENSERVICE
Bekijk de contactgegevens van uw land op dechterpagina of op unsere website:
- www.franke.com
TECHNISCHE GEGEVENS
Productidentification
Type: OE-9D
Model: FS 913 M BK DCT TFT
Bekijk het typeplaatje op het product.

Dit apparaat voldoet aan de volgende EC-richtlijnen:
-
2006/95/EC (lage spanning)
-
2004/108 EEC (elettromagnetische compatibiliteit)
De energia-efficiëntieklasse (volgens 2009 / 60350-50304 / EN) worden bepaald door de werkingsmodi: energiabesparend en statics.
Verwijder om het volume te berekenen, indien van toepassing, de binnenkant van het geleidingsdraad (volgens richtlijn 2009 / 60350-50304 / EN).
| Parameter | Waarde |
| Werkafmetingen van de oven (mm) | 480 x 370 x 405(B x H x D) |
| Netspanning en freqentie | 220-240 V, 50/60 Hz |
| Totale vermogen enzekering | 2900 W, 16 A |
| Waarden van stroom- en verwarmingselement | |
| Rediaalmotor | 27 ... 40 W |
| Lamp | 40 W (2x) |
| Tangentièle ventilator | 15 ... 35 W |
| Boven | 520 W / 124 V |
| Onder | 1250 W |
| Grill | 2100 W |
| DCT-verwarmingselementen | 2650 W |
| Parameter | Symbool | Waarde | Maateenheid |
| Modelummer | FS-CR | 913-982 DCT | |
| Type oven | ingebouwd | ||
| Gewicht | M | 41 | kg |
| Aantal ovenruimten | 1 | ||
| Warmtebron van elke ovenruimte | elektrisch | ||
| Volume van elke ovenruimte | V | 74 | I |
| Het energieverbruik dat vereist is om een stan-daard hoeveelheid in de ruimte van een elektrische oven op te warmen tijdens een cyclus in convectiemodus voor elke ovenruimte. | EC elektrische ovenruimte | 1,12 | kWh/cyclus |
| Het energieverbruik dat vereist is om een stan-daard hoeveelheid in de ruimte van een elektrische oven op te warmen tijdens een cyclus in modus geforceerde luchtcirculatie voor elke ovenruimte. | EC elektrische ovenruimte | 0,53 | kWh/cyclus |
| Energie-efficiëntieverhouding van elke ovenruimte | EEI ovenruimte | 61 | |
| Modelummer | FS | 913 P DCT | |
| Type oven | ingebouwd | ||
| Gewicht | M | 43 | kg |
| Aantal ovenruimten | 1 | ||
| Warmtebron van elke ovenruimte | elektrisch | ||
| Volume van elke ovenruimte | V | 74 | I |
| Het energieverbruik dat vereist is om een stan-daard hoeveelheid in de ruimte van een elek-trische oven op te warmen tijdens een cyclus in convectiemodus voor elke ovenruimte. | EC elektrische ovenruimte | 1,12 | kWh/cyclus |
| Het energieverbruik dat vereist is om een stan-daard hoeveelheid in de ruimte van een elek-trische oven op te warmen tijdens een cyclus in modus geforceerde luchtcirculatie voor elke ovenruimte. | EC elektrische ovenruimte | 0,70 | kWh/cyclus |
| Energie-efficiëntieverhouding van elke ovenruimte | EEI ovenruimte | 81 | |
| De fabrikant voert continu productverbeteringen door. Daarom+kunnen de tekst en afbeeldingen in deze handleiding zonder kennisgeving+zijn gewijzigd. | Meer technische geevens+zijn beschikkaar op:- www.franke.com | ||
INDICE
Franke Nederland B.V.
5700 AD Helmond
Phone +31 492 585 111
SimpelGids