BLUE EASY - Audio-accessoire MR HANDSFREE - Gratis gebruiksaanwijzing en handleiding
Vind de handleiding van het apparaat gratis BLUE EASY MR HANDSFREE in PDF-formaat.
Download de handleiding voor uw Audio-accessoire in PDF-formaat gratis! Vind uw handleiding BLUE EASY - MR HANDSFREE en neem uw elektronisch apparaat weer in handen. Op deze pagina staan alle documenten die nodig zijn voor het gebruik van uw apparaat. BLUE EASY van het merk MR HANDSFREE.
GEBRUIKSAANWIJZING BLUE EASY MR HANDSFREE
- Zorg ervoor dat de werkking van de Blue Easy geen invloed heeft op uw verilgheid.
- Zorg ervoor dat u tijdens de installmentie van deze carkit het besturing- of remsysteme om een andersysteme essentieel voor de goede werking van uw wagen Niet beinvloedt.
- Zorg ervoor dat het uiteenvouwen van de airbags Niet geblokkeerd wordt of onmogelijk is.
- Zorg ervoor dat de bevestiging aan de zonneklep uw lichaam of dat van uw passagier nicht kan verwonden bij een ongeval of een onverwacht maneuver.
- Installer de Blue Easy alvorens uw wagon te starten.
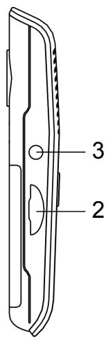
ONDERDELEN VAN DE BLUE EASY EN DE FUNCTIONS
ILLUSTRATIEI




- Batterijklep: Opensen & batterijplaatsen (zie illustratie I)
- USB oplaadaansluiting
- Aan/Uit toets
| Blue Easy = aangeschakeld | Lang drukken (2 sec) om toestel UIT te schakelen. |
| Blue Easy =uitgeschakeld | Lang drukken (2 sec) om toestel aan te schakelen. |
| Blue Easy =uitgeschakeld | Lang drukken (4 sec) om koppel-mode te activeren (pairing). |
| Tijdens gesprek | 1x drukken om gesprek om te schakelen van Blue Easy� mobiele telefoon. |
4. Centrale toets
| Standby mode | 1x drukken om Bluetooth® verbinding te herstellen nadat deze verbroken was. |
| Standby mode | 1x drukken om voice dialing te activeren. |
| Standby mode | 2x snel drukken om LASTgebelle nummer opnieuw op te bellen. |
| Binnenkomende oproep | 1x drukken om oproep te beantwoorden. |
| Binnenkomende oproep | Lang drukken (3 sec) om oproep te weigeren. |
| Tijdens gesprek | 1x drukken om oproep te beëindigen. |
| Tijdens gesprek via mobiele telefoon | 1x drukken om gesprek om te schakelen van mobiele telefoon় Blue Easy. |
| Tijdens gesprek over mobiele telefoon | Blue Easy staat aan় is nicht gekoppeld aan mobiele telefoon!1x drukken om gesprek om te schakelen van mobiele telefoon় Blue Easy. |
| Tijdens een gesprek | 1x drukken bij het horen van een bieptoon (2de oproep) om een 2de oproep aan te nemen en de huidige oproep in wacht te zetten. |
| Tijdens een gesprek | Lang drukken (3 sec) om te wisselen:tussen 2 oproepen. |
| Tijdens 2de oproep | 1x drukken om 1 van de 2 oproepen te beëindigen. |
5. Indicatielampje
| Rode lampje | • Knippert in Standby mode: batterijcapaciteit is laag. • Brandt constantijdens het opladen van de batterij. • Brandt constant in mute mode. |
| Blauwe lampje | • Knippert in Standby mode. • Brandt constant in privacy mode. |
| Rode + blauwe lampje | Knipperen afwisseled in pairing mode. |
6. Microfoon
Richt de microfoon steeds aan uw mond. Voor een perfecte werking dient de microfoon zich op minstens 30-50 cm van de mond van de bestuurder te bevinden. Zorg ervoor dat er zich geen objecten bevinden voor de microfoon van de Blue Easy.
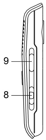
7. Luidspreker
8. (+) en (-) Volumetoetsen
| Tijdens gesprek | (+) drukken om volume te verhogen. |
| Tijdens gesprek | (-) drukken om volume te verlagen. |
9. MODE toets
| Tijdens gesprek | 1x drukken om privacy mode te activeren. |
| In privacy mode | 1x drukken om privacy mode te deactiveren. |
| Tijdens gesprek | Lang drukken (3 sec) om mute mode te activeren. |
| In mute mode | Lang drukken (3 sec) om mute mode te deactiveren. |
10. Magneten voor deplaatsing van de clip op de zonneklep of het metaalplaatje voor dashboardbevestiging
- Clip voor bevestiging aan de zonneklep
- Metaalplaatje voor bevestiging op het dashboard
- Autolader
- USB oplaadkabel
De mr Handsfree Blue Easy is compatibel met de meeste Bluetooth® telefoons.
De 2 Bluetooth® toestellen (Blue Easy en een mobiele telefoon) dienen zich enkel binnen een maximum afstand van 10 meter van elkaar te bevinden om volwaardig te kunnen functioneren. U hoeft uw mobiele telefon dus Niet uit uw zak of tas te halen om handenvrij te bellen of gebeld te worden via uw Blue Easy.
Let op!
Omdat Bluetooth® telefoons van diverse fabrikanten verschillende functies bevatten, könnenCOMMINGe.
dus ook ALTIJD de handleiding van uw mobiele telefoo!
BATTERIJ OPLADEN
De Blue Easy worden geleverd met een herlaadbare batterij. Zorg ervoor dat de Blue Easy volledig opgeladen is alvorens deze in gebruik te nemen.
Let op!
Enkel de bijgeleverde laders gebruiken om beschadiging te voorkomen.
De Blue Easy biedt 2 oplaadmögelijkheden:
- Via USB kabel (14).
- Via sigarenaansteker (13).
Wanner het opladen begint, za het rode indicatielampje (5) branden. De batterij is volledig opgeladen wanner het rode indicatielampje (5)uit is.
Let op!
- Indien de Blue Easy een langearend nicht gebruikt werden, kan het even duren alvorens het rode indicatielampje (5) aan gaat.
- Om de batterijkwaliteit optimaal te houden, dient u steeds de batterij op te laden wanner het rode indicatielampje (5) knippert.
DE BLUE EASY AAN- EN UITSCHAKELEN
Aanschakelen: Houd de Aan/Uit toets (3) ingedrukt tot u een melodie hoog en het indicatielampje (5) blauw knippert.
Uitschakelen: Houd de Aan/Uit toets (3) ingedrukt tot u een melodie hoort, het indicatielampje (5) even rood oplicht en verwolgens weeer UIT gaat.
Let op!
De Blue Easy wordt ook automatisch uitgeschakeld indien er langer dan 10 minutes geen Bluetooth® verbinding is:tussen de Blue Easy en een ander mobiel toestel.
DE BLUE EASY “KOPPELEN”
Voor gebruik dient u de Blue Easy eenmalig met uw mobiele telefoon te koppelen (= pairen).
Hoe gaat u te werk?
Zorg ervoor dat de Blue Easy uitgeschakeld is (indicatielampje = volledig UIT).
Zorg ervoor dat uw mobiele telefoon de Bluetooth®-functie heeft aangeschakeld en LAST deze waar Bluetooth® apparaten zoeken. (Raadpleeg hiervoorde handleiding van uw mobiele telefoon.)
Druk op de Aan/Uit toets (3) van de Blue Easy tot het indicatielampje (5) blauw brandt en cervolgens gaat knipperen.
- De Blue Easy bevindt zich nu in koppel-mode.
Uw mobiele telefoon die zich nog in Zoek-mode bevindt, za de Blue Easy tonen als gezonden Bluetooth® apparatus.
- Selecteer nu de Blue Easy op uw mobiele telefoon en breng de PIN code 0000 in om de 2 toestellen definitief te koppelen (= pairen). U hoog een bieptoon.
Let op!
Bij sommige mobiele apparaten要去en nog een extra handling uitvoeren om de Blue Easy te koppelen. (Raadpleeg ook hiervoorde handleiding van uw mobiele telefoon.)
- Het blauwe individielampje (5) zal tenslotte opniew knipperen.
Let op!
De procedure van het koppelen (= pairen) mag maximaal 2 minutes duren. Na deze 2 minuten hoort u een biep en worden de Blue Easy uitgeschakeld. U dient de koppelingsprocedure opnieuw te starten vanaf het begin.
MOGELIJKHEID TOT HET KOPPELEN VAN 8 BLUETOOTH® APPARATEN
De Blue Easy kan tot 8 Bluetooth®-apparaten koppelen. Eens gekoppeld kan de Blue Easy onmiddelijk verbinding makes met 1 van de 8 apparaten. Indien een 9^de apparaat gekoppeld wordt, za het 1^ste gekoppelde apparaat verwijderd worden. Als de Blue Easy aangeschakeld wordt, za deze automatisch het LAST gekoppelde apparaat zoeken. Indien u een verbinding tot stand wilt brengen met een ander apparaat, dient u eerst de verbinding met het LAST gekoppelde apparaat te verbreken.
WANNEER KAN DEZE VERBINDING VERBREKEN?
In enkele gevalen zou het hunnen gebeuren dat de verbinding van de Blue Easy met uw mobiele telefoon verbroken worden zodat u de verbinding dient te herstellen.
- Wanner Blue Easy uitgeschakeld werk: Schakel opniew aan met de Aan/Uit toets (3). De verbinding worden automatisch hersteld.
- Wanner de mobiele telefon uitgeschakeld werk: Schakel de telefon terug aan en herstel de verbinding via het menu van uw telefoon.
- Wonneer de 2 toestellen zich nicht binnen het bereik bevinden: Zorg ervoor dat beiden toestellen zich binnen het bereik van 10 meter bevinden en druk énmaal op de Centrale toets (4).
DE VERBINDING / KOPPELING TUSSEN DE BLUE EASY EN HET MOBIELE APPARAAT HANDMATIG VERBREKEN
U=knt de verbinding tussen de Blue Easy en de mobiele telefoon verbreken.
Schakel de Blue Easyuit d.m.v.deAan/Uittoets(3).
- Verbreek de verbinding via het menu van uw mobiele telefoon.
- Plaats de telefoon op een afstand van meer dan 10 meter van de Blue Easy.
DE INSTALLATIE VAN DE BLUE EASY
ILLUSTRATIE III

a) Bevestiging aan de zonneklep: Bevestig de Blue Easy aan de zonneklep door gebruik te make van de speciale clip (11) en richt de microfoon (6) maar uw mond.
b) Bevestiging op het dashboard: Bevestig de carkit op het dashboard door gebruik te makeen van het metaalplaatje (12).
Zorg ervoor dat het dashboard schoon en vetvrij is voordat u het metalenplaatje monteert.
Let op!
Voor een perfecte werkung dient de microfoon zich op minstens 30-50 cm van de mond van de bestuurder te bevinden.
DE WERKING VAN DE BLUE EASY
Alvorens de Blue Easy te gebruiken, dient u ervoor te zorgen dat:
- De Bluetooth® functie van uw mobiele telefoon geactiveerd is. (Raadpleeg hiervoord de handleiding van uw mobiele telefoon.)
- De Blue Easy gekoppeld en verbonden is met uw Bluetooth® mobiele telefoon.
- De Blue Easy aangeschakeld is en het blauwe indicatielampje (5) knippert.
TELEFONEREN
Met de toetsen van uw mobiele telegram:
Vorm een nummer met de toetsen van uw telefoon.
Druk verzolgens op de gesprekstoets van uw telefoon.
Let op!
Spreek.altijd in de richting van de microfoon (6) van de Blue Easy. Voor een duidelijke verbinding dient u er ook.altijd voor te zorgen dat er zich geen objecten bevinden voor deze microfoon.
Met spreakherkenning:
Druk op de Centrale toets (4) wanner er geen oproep plaatsvindt. U hoor een toon die aangeeft dat u de gewenste naam ("voice tag")kest uitspreken. Spreek de naam ("voice tag")uit. De telefoon herhaalt de naam en belt het nummer dat aan deze naam verbonden is.
Let op!
- Spraakherkenning kan ook geactiveerd worden via uw telefoon. (Raadpleeg de handleiding van uw telefoon voor meer details over spreakherkenning.)
- De spreakherkenningfunctie is enkel beschikbaar als uw telefoon deze ondersteunt.
OPROEP BEANTWOORDEN
Druk op de Centrale toets (4) om de oproep te beantwoorden.
OPROEP BEEINDIGEN
Druk op de Centrale toets (4) om de huidige oproep te beeindigen OF beeindig de oproep via de toetsen van uw mobiele telefoon.
OPROEP WEIGEREN
Als u een inkomende oproep nicht wilt beantwoorden,kest u deze oproep weigeren door gedurende 3 seconden op de Centrale toets (4) te drukken.
NUMMERHERHALING
Druk snel 2x op de Centrale toets (4) wanner er geen oproep plaatsvindt. U hoor een dubbele bieptoon en uw telefoon zal het LAST opgeroepen nummer opnieuw opbellen.
GEBRUK VAN DE FUNCITIE 2DE OPROEP
Wanner uijdens een gesprek een tweede oproep ontvangt, hoort u een bieptoon.
Druk kort op de Centrale toets (4) om de tweede oproep aan te nemen en de huidige oproep in wacht te zetten.
Drukijdens een gesprek gedurende 3 seconden op de Centrale toets (4) om te wisselen:tussen de 2 oproepen.
Druk tijdens de 2^de oproep kort op de Centrale toets (4) om 1 van de 2 oproepen te beeindigen.
Let op!
Sommige telefoons ondersteunen deze functie Niet via Bluetooth® of vragen een bevestiging via het menu van uw telefoon.
AANPASSEN VAN HET LUIDSPREKERVOLUME
Wonneer uw mobiele telefon en de Blue Easy gekoppeld zijn, is het volume automatisch ingesteld op het middelste niveau.
Tijdens een gesprek drukt u op:
- (8) om het volume te verhogen. U hoor een biep als u het maximum volume heeft bereikt.
- (8) om het volume te verlagen. U hoog een biep als u het minimum volume heeft bereikt.
HET GEBRUK VAN DE "PRIVACY MODE"
Gesprek omschakelen maar een gesprek in "privacy mode":
Drukijdens het gesprek eenmaal kortstondig op de MODE toets (9). Het blauwe indicatielampje (5) brandt constant.
Houd de speakerphone gegen uwoor en gebruik de Blue Easy als gewoon telefoontoestel. (Zie illustratie IV.)
ILLUSTRATIE IV

Let op!
Gebruik deze "privacy mode" enkel bij het stilstaan. Dit is nicht handenvrij bellen, dus nicht veilig in het verkeer!
Gesprek terug omschakelenaar "handsfree mode":
Druk eenmaal kortstondig op de MODE toets (9). Het blauwe indicatielampje (5) gaat UIT.
HET GEBRUK VAN DE "MUTE MODE"
Tijdens het gesprek Aunt u de microfoon van de Blue Easy tijdelijk uitschakelen. Dit is de "Mute mode". "Mute mode" activeren tijdens een gesprek:
Druk langdurig (+ / - 3 sec) op de MODE toets (9). Het rode indicatielampje (5) brandt constant.
Het gesprek terug omschakelenaar volledige "handsfree mode":
Druk opniew langdurig (+ / - 3 sec) op de MODE toets (9). Het rode indicatielampje (5) gaat uit.
EEN GESPREK DOORSCHAKELEN VAN DE BLUE EASY NAAR UW MOBIELE TELEFOON EN OMGEKEERD
Gesprek doorschakelen van Blue Easy maar mobiele telefon:
- Drukijdens een gesprek eenmaal kortstondig op de Aan/Uit toets (3) tot het blauwe indicatielampje (5).gaat knipperen.
- Het gesprek worden nu doorgeschakeld maar uw mobiele telefoon.
- Na het beëindigen van het gesprek worden de verbinding met de Blue Easy automatisch waer hersteld.
Gesprek doorschakelen van mobiele telefoon waar Blue Easy:
Drukijdens het gesprek op de Centrale toets (4).
U kunt steeds de Blue Easy opnieuw programmeren maar de oorspronkelijke standaardinstellenen van het product en alle voorgaande pairing-informatie verwijderen.
Zorg ervoor dat de Blue Easy in Standby mode staat (het blauwe indicatielampje knippert).
- Houd de + en - Volumetoetsen (8) gedurende 10 seconden geleiktijdig ingedrukt. Vervolgens zar het blauwe indicatielampje sneller gaan knipperen.
- Nadat de standaardinstellungen van de Blue Easy hersteld zich, zal het toestel automatisch de koppel-mode (pairing) activeren. Wanner het koppelen (pairs) mislukt, zal de Blue Easy automatisch uitschakelen.
BLUETOOTH®
De merknaam en logo's van Bluetooth® zich eigendom van Bluetooth SIG, Inc. en worden door TE-Group NV in licentie gebruikt. Andere handelsmerken en merknamen zich eigendom van hun respectieve eigenaars.
| Parameter | Waarde |
| Oplaadtijd | < 3 uren |
| Standby hijd | Tot 20 dagen |
| Gesprekstijd | Tot 15 uren |
ZORG EN ONDERHOUD
De Blue Easy is een verfijn product en dient met zorg behandeld te worden. Onderstaande suggesties helpen u de garantieverplichtingen na te leven en jarenlang van uw product te genieten.
Houd het toestel droog. Neerslag, vochtigheid en allerlei vloeistoffen konnen mineralen bevatten die het elektronische circuit aan konnen tasten.
- Bewaar het toestel Niet op warmeplaatsen. Hoge temperaturen konnen het leven van elektronische apparaten verkorten, batterijen beschadigen en bepaalde plastics smelten.
Bewaar het toestel Niet op koude plaatsen. Wanner het opwarmt (tot+zijn normale temperatuur) kan er vochtigheid in het toestel ontstaan die het elektronische circuit van het toestel kan beschadigen.
Probeer het toestel Niet te openen. Behandeling door een Niet-gespecialiseerde persoon kan het beschadenigen.
- Gebruik geen sterke chemicaliën, schoonmaakproducten of sterke detergenten om het toestel te reinigen.
MR HANDSFREE WENST U EEN VEILIGE EN AANGENAME RIT TOE!
GARANTIE
Mr Handsfree is een gedeponeerd handelsmerk van TE-Group NV.
Het merk mr Handsfree staat voor producten van superieure kwaliteit en een uitstekende klantenservice. Daarom garandeert mr Handsfree dat dit product vrij is van materiaal- en fabricagefouten gedurende eenperiode van drie (3) maar na de oorspronkelijke aankoopdatum van het product.
De voorwaarden van deze garantie en de omvang van de verantwoordelijkheid van mr Handsfree onder deze garantie� als volgt:
- De garantie geldt alleen voor de originele (eerste) eigenaar en is Niet overdraagbaar aan een volgende koper.
- De enige verplichting van mr Handsfree onder deze garantie beperkt zich tot het repareren of verrangen, maar eigén keuze, van defecte onderdelen van het product, indien dit vereist is omwille van gebreken die voorkomen bij normaal gebruik onder normale omstandigheden. De klant dient Niet te betalen voor onderdelen en/of arbeidskosten.
- Het defecte product要去 verzonden worden maar een geauthoriseerd service center in de originele
en volledige verpakking. Transportkosten zijn voor rekening van de klant. Mr Handsfree is nicht aansprakelijk voor verlies of schadeijdens het transport.
- Omrecht te hebben op reparatie ofervanging van het product binnen de garantiperiode dient de klant het volgende te verstrekken: (a) een aankoopbewijs met vermeling van de aankoopdatum; (b) een duidelijke omschrijving van de gebreken; (c) een adres en telefoonnummer.
- Deze garantie geltt nicht voor:
(a) Producten die blotgesteld werden aan verkeerde installmentie, onrechtmatige herstellingen, slecht onderhoud, onrechtmatige aanpassingen of andere daden die nicht debout zich van mr Handsfree; (b) Producten die blotgesteld werden aan misbruik, verwaarlozing, onzorgvuldige behandeling en opslag, een ongeval of materiaële schade; (c) Producten die blotgesteld werden aan brand, water, extreme vochtigheid, zand, stof, extreme temperatuurschommelingen of andere omstandigheden buiten de contrôle van mr Handsfree; (d) Producten die gebruikt werden met accessoires die nicht door mr Handsfree goedgekeurd werden; (e) Producten waarvan het serialummer gewijzigd, onleesbaar of verwijderd is; (f) Producten die geopend, gewijzigd of gerepareerd werden door een Niet door mr Handsfree geauthoriseerd service center.
Uitgesloten van elke vorm van garantie+zijn gebruiksonderdelen die verrangen moeten worden door normale slijtage, zoals batterijen, oorkussentjes, decoratieve onderdelen en andere accessoires.
- Deze garantie geeft u specifieke wettelijk rechten, en möglichk heeft u nog andere rechten die van land tot land können verschillen.
TABLE DES MATIÈRES
INSTRUCTIONS DE SECURITE 2
BLUE EASY ÉLÉMENTS & LEURS FONCTIONS 2
ACCESSOIRESDANSLA BOITE 4
PROCEDURE D'INITIATION 4
ASSOCIATION DU BLUE EASY 5
INSTALLATION DU BLUE EASY 6
FONCTIONNEMENT DU BLUE EASY 6
BLUETOOTH 8
Notice-Facile