GM-A3602 - Amplificatore auto PIONEER - Manuale utente e istruzioni gratuiti
Trova gratuitamente il manuale del dispositivo GM-A3602 PIONEER in formato PDF.
Domande degli utenti su GM-A3602 PIONEER
0 domanda su questo apparecchio. Rispondi a quelle che conosci o fai la tua.
Fai una nuova domanda su questo apparecchio
Scarica le istruzioni per il tuo Amplificatore auto in formato PDF gratuitamente! Trova il tuo manuale GM-A3602 - PIONEER e riprendi in mano il tuo dispositivo elettronico. In questa pagina sono pubblicati tutti i documenti necessari per l'utilizzo del tuo dispositivo. GM-A3602 del marchio PIONEER.
MANUALE UTENTE GM-A3602 PIONEER
Grazie per aver acquistato quello prodotto PIONEER
Leggere attentamente quello manuale prima di utilizzato il prodotto, per assicurarme il corretto utilizzato. è particolarmente importante leggere e osservare le precauzioni contrassegnate da AVVERTENZA e ATTENZIONE contuhe in quello manuale. Conservare il manuale in un luogo sicuro e accessibile, per consuluzione futura.

Se si vuole eliminare quello prodotto, non gettarlo insieme ai rifiuti domestici. Esiste unystema di raccolta differenziata in conformità alle leggi che richiedono apposti trattamenti, recupero e riciclo.
Gli utenti privati dei Paesi membri dell'Unione Europea, della Svizzera e della Norvegia possono portare i propri prodotti elettronici gratuito.amente presso i centri di raccolta specificato o presso il rivenditore al dettaglio (se l'acquisto è stato eseguito presso un rivenditore di quello tipo).
Per i Paesi non specificati in precedenza, contattare le autorità locali per informazioni sul corretto metodo di smaltimento.
In quello modo si garantirà che il prodotto smaltito subisca i processi di trattamento, recupero e riciclaggio necessari per prevenir i potenziali effetti negativi per l'ambiente e la salute umana.
Visita il nostro sito Web
Visita il seguente除去 Web:
http://www.pioneer.it
- Sarà possibile registrar il prodotto. Pioneer conserverà i dettagli dell'acquisto per agevolare il riferimento a tali informazioni nel caso di una richiesta di risarcimento assicurativa, come in caso di furto o smarrimento.
- Sul nostro除去 Web sono disponibili le informazioni più recenti su PIONEER CORPORATION.
In caso di problemi
Nel caso che Anything non funzioni correttamente, contattare il rivenditore o il Centro di assistenza autorizzato Pioneer più vicino.
Prima di collegare/ installare l'amplificatore
AVVERTENZA
- Si consiglia di utilizzato un cavo batteria rosso speciale e un cavo di messa a terra RD-223, venduti a parte. Collegare il cavo batteria diretamente al terminale positivo della batteria e il cavo di messa a terra alla scopca del veicolo.
- Questa unità è compatibile con i veicoli dotati di batteria da 12 volt e messa a terra negativa. Prima di installarla in un veicolo ricreazionale, su un camion o un bus, controllare la tensione della batteria.
- Quando si installa l'unità, assicurarsi di collegare per prima casa il cavo di messa a terra. Verificare che il cavo di messa a terra sia correttamente collegato alla scocca metallica del veicolo. Il cavo di messa a terra dell'unità devessecessercollegato alveicolo separatamente con viti diverse. Se la vite per il cavo di messa aterra si allenta o cade, possono verificarsi incendi, emissione di fumo o danni.
Utilizzare esclusivamente fusibili della portata prescritta. L'uso di fusibili non corretti potrebè provocare surriscaldamento e emissione di fumo, danni al prodotto e lesioni personali, come ustioni.
- Se un fusible del cavo speciale batteria venduto a parte o dell'amplificatore si brucia, verificare i collegamenti della sorgente di alimentazione e degli altoparlanti. Determinare e risolverve la causa del problema, quando sostituire il fusible con un equivalente identico.
Installare sempre l'amplificatore su una superficie piatta. Evitare di installarlo su superfici non piatte o con sporenze. In caso contrario, possono verificarsi malfunzionamenti.
- Durante l'installazione dell'amplificatore, evitare che parti come viti in excesso rimanganocinastrate tra l'amplificatore e il veicolo. In caso contrario, possono verificarsi malfunzionamenti.
- Non lasciare che questa unità entri in contatto con liquidi, in caso contrario possono verificarsi scosse elettriche. Inoltre, in caso di contatto con liquidi, possono verificarsi surriscaldamento, emissione di fumo, e danni all'unità.
Inoltre potrebbero surriscaldarsi le superfici dell'amplificatore e degli altoparlanti collegati, con seguente pericoli di uszioni.
- In caso di anomalie, l'alimentazione verso l'amplificatore viene scollegata per impedire malfunzionamenti del prodotto. In quello caso, scollegare l'alimentazione dell'intero sistema e verificare i collegamenti della sorgente di alimentazione e degli altoparlanti. Se non si riesce a determinare la causa del problema, contattare il rivenditore.
- Durante l'installazione, verificare semprepreventivamente che il terminale negativo dellabattery sua scollegato, per evitare il rischio di folgorazione o corto circuito.
Non tentare di smontare o modificare esta unità. Ciò potrebbe causare incendi, scosse elettriche o altri malfunzionamenti.

ATTENZIONE
- Mantenere sempre il volume basso abbastanza da poter udire i suoni provenienti dall'estero.
L'uso prolongato del car stereo除去 il motore del veicolo è spento o la marcia è in folle, potrebbe scaricare la batteria.
Informazioni sulla funzione di protezione
Questo prodotto è dotato della funzione di protezione. QuandoQuesto prodotto rileva anomalie, le funzioni riportate di seguito si attiveranno per proteggere l'uscita del prodotto e degli altoparlanti.
- Nelle situazioni descripte di seguito l'indicatore di accensione e l'amplificatore si spegni-ranno.
Se il terminale di uscita altoparlanti o il cavo altoparlanti sono in corto circuito.
Se al terminale di uscita altoparlanti viene applicata tensione CC.
- L'amplificatore ridurra la potenza in uscita se la temperatura all'interno dell'amplificatore diventa troppo alta. In quello caso, l'indicatore di accensione e l'amplificatore si spegneranno.
Nomenclatura

GM-A5602

GM-A3602
Se è necessario regolare la posizione dell'interrettore, utilizzare un cacciavite a testa piatta.
① Interruttore LPF (filtro passa basso)
Regolare il selettore a seconda del tipo di altoparlanti collegati.
- Se è collegato un subwoofer: Selezionare ON. Questa impostazione elimina le frequenze di gamma superiore e trasmette frequenze di gamma inferiore.
- Se sono collegati altoparlanti a gamma completa:
Selectionare OFF. OFF trasmette l'intera gamma di frequenza.
② Comando FREQ (frequenza di taglio)
É possibile selezionare la frequenza di taglio da 40 Hz a 500 Hz quando l'interrottore di selezione LPF è impostato su ON.
③ Interruttore BASS BOOST (controllo del livello di incremento dei bassi)
É possible selezionare un livello di incremento dei bassi tra 0 dB, 6 dB e 12 dB.
④ Comando GAIN (guadagno)
Se il suono in uscita rimane bassoanche quando si aumento il volume del car stereo, portare i comandi su un livello inferiore. Se quando si aumento il volume del car stereo il suono risulta distorto, portare i comandi su un livello superiore.
- In caso di uso in combinazione con un car stereo dotato di presa di tipo RCA (uscita standard di 500mV ), portare i comandi sulla posizione NORMAL. In caso di uso in combinazione con un car stereo Pioneer dotato di presa di tipo RCA con potenza di uscita massima di 4 V, o più, regolare il livello in modo che si adegui al livello di uscita del car stereo.
- In caso di uso in combinazione con un car stereo dotato di presa di tipo RCA con uscita di 4V, portare i comandi sulla posizione HIGH.
- Se l'utilizzo del terminale d'ingresso altoparlanti genera una grande quantità di rumore, portare il commando del guadagno ad un livello superiore.
⑤ Indicatore di accensione
L'indicatore di accensione si illumina per indicare che l'alimentazione è collegata.
Impostazione corretta del guadagno
- É inclusa una funzione di protezione per impedire malfunzionamenti dell'unità e/o degli altoparlanti dovuti a livelli di uscitaecessivi, o a uso o collegamenti non corretti.
- Se l'audio viene emesso a volume eccessivo, e in altre condizioni di quello tipo, quetta funzione interrompe l'uscita per alcuni secondi. L'uscita dell'audio riprende quando il volume sull'unità principale viene ridotto.
- Se l'uscita dell'audio viene interrotta, i comandi del guadagno potrebbero essere stati regolati in modo non corretto. Per assicurare che l'audio venga emesso costamenteanche se il volume dell'unita principale è alto,regolare il dato del guadagno dell'amplificatore su un livello adatto al livello massimo di uscita preamplificato dell'unità principale, in modo che il volume non subisca variazioni e che si limitino le emissioni audio eccessive.
- Anche se il volume e il guadagno sono regolati correttamente, l'audio dell'unità potrebbe venire periodicamente interrotto. In questi casi, contattare la stazione assistenza Pioneer più vicina.
Comando del guadagno di esta unità

L'illustrazione in alto对我a l'impostazione NORMAL del guadagno.
Relazione tra il guadagno dell'amplificatore e la potenza di uscita dell'unità principale

Se il guadagno dell'amplificatore viene regolato su un livello eccessivo, si aumento la distorsione, non la potenza.
Forma d'onda del segnale con volume di uscita eccessivo e lavoro del guadagno dell'amplificatore

Se la forma d'onda del segnale è distorta a causa del livello di uscita eccessivo,anche se si aumento il guadagno dell'amplificatore, la potenza in uscita non cambierà significativamente.
Schema di collegamento

① Cavo batteria rosso speciale RD-223 (venduto a parte)
Dopo aver eseguito tutti gli altri collegamenti all'amplificatore, collegare il terminale del cavo batteria al terminale positivo ^+ della batteria.
② Cavo di messa a terra (nero)
RD-223 (venduto a parte)
Collegare alla scopca metallica o al telaio.
③ Car stereo con connettori di uscita RCA (ven-duto a parte)
(4) Uscita esterna
⑤ Cavi di collegamento con spine RCA (venduti a parte)
⑥ Terminale d'ingresso degli altoparlanti (utilizzare un connettore fornito)
Vedere la sezione seguente per istruzioni sul collegamento degli altoparlanti. Vedere Collegamenti utilizzando un cavo di ingresso altoparlanti a pagina 31.
⑦ Connettore d'ingresso RCA
Cavo telecomandoSYSTEMA(venduto a parte)
Collegare il terminale maschio di quello cavo al terminale del telecomando delsystema car stereo. Il terminale femmina cui si sono collegato al terminale di controllo del relle dell'antenna automatica. Se il car stereo non è dotato di terminale per il telecomando del systema, collegare il terminale maschio al terminale di alimentazione tramite l'interruttore della chiave di aviamento.
(9) Terminali di uscita altoparlanti
Vedere la sezione seguente per istruzioni sul collegamento degli altoparlanti. Vedere Collegamenti utilizzando un cavo di ingresso altoparlanti a pagina 31.
Fusibile 30A× 2 (GM-A5602) / 25A× 1 (GM-A3602)
① Fusibile (30A)× 2
12 Anello
13 Lato posteriore
14 Lato frontale
Prima di collegare l'amplificatore
AVVERTENZA
Assicurare i cavi con morsetti per cavi o nastro adesivo. Per proteggere il cablaggio, avvolgere il nastro adesivo intorno al cablaggio nei punti in cuiippo si trovato contatto con parti metalliche.
Non tagliare mai l'isolante della sorgente di alimentazione per collegare l'alimentazione ad altri appearecchi. La capacité di carico di corrente del cavo è limitata.
ATTENZIONE
Non cortocircuitare mai i cavi, altrimenti il circuito di protezione potrebbe non funzionare correttamente.
Non collegare mai direttamente a terra il cavo negativo dell'altoparlante.
Non legare mai assieme più cavi negativi degli altoparlanti.
Collegamento delle unità
- Se il cavo del telecomando diSYSTEMA dell'amplificatore viene collegato al terminale di alimentazione tramite l'interruttore della chiave di avviamento (12 V c.c.), l'amplificatore rimarà sempre acceso quando l'interruttore della chiave di avviamento è attivato, independentemente da se il car stereo è accesso o spento. Pertanto la batteria potrebbe scricarci se il motore del veicolo rimane a lungo al minimo o con la marcia in folle.
- Installare e intradare il cavo batteria venduto a parte quando più lontano possibile dai cavi degli altoparlanti.
Installare e intradare il cavo batteria venduto a parte, il cavo di messa a terra e i cavi degli altoparlanti e dell'amplificatore quanto più lontano possibile dall'antenna, dal cavo del-antenna e dal sintonizzato.
Informazioni sulla modalità di collegamento a ponte
Diagramma A - Appropriato Diagramma B - Non appropriato

Collegamento in parallelo da 4

Collegamento in parallelo da 2
Non installment outilizzarequesto amplificatore collegando altoparlanti da 4 (o inferiore) in parallelo per ottenere una modalità di collegamento a ponte con carico di 2 (diagramma B).
Se viene eseguito un collegamento a pontenon corretto, l'amplificatore può subire dannioppure emettere fumo o surriscaldarsi. Inoltre, la superficie dell'amplificatore può surriscaldarsi con seguenti pericolidi usioni.Per installare o utilizzare correttamente una modalità di collegamento a ponte ed ottenereun carico di 4 ,collegare due altoparlanti da
8Ω in parallelo, sinistro ⊕ e destro Θ (diagramma A) outilizzare un unico altoparlante da 4Ω
Per ulteriori dettagli sulla procedure corretta di collegamento, consultare il manuale delle istruzioni degli altoparlanti.
- Per eventuali altri dati, contattare un rivenditore locale autorizzato Pioneer o l'assistenza clienti.
Informazioni sulle specifiche compatibili degli altoparlanti
Assicurarsi che gli altoparlanti siano conformi ai seguenti standard, altrimenti sussisterà il rischio di incendi, emissione di fumo o danni. L'impedenza degli altoparlanti deve essere compresa tra 2 e 8 per i collegamenti stereo, oppure tra 4 e 8 per i collegamenti mono e gli atri collegamenti a ponte.
Subwoofer
| Canale altoparlan-te | Potenza |
| Uscita a due canali | Ingresso nominale: Min. 150 W (GM-A5602) Min. 60 W (GM-A3602) |
| Uscita ad un canale | Ingresso nominale: Min. 450 W (GM-A5602) Min. 180 W (GM-A3602) |
Altoparlanti diversdal subwoofer
| Canale altoparlan-te | Potenza |
| Uscita a due canali | Ingresso massimo: Min. 300 W (GM-A5602) Min. 120 W (GM-A3602) |
| Uscita ad un canale | Ingresso massimo: Min. 900 W (GM-A5602) Min. 400 W (GM-A3602) |

Collegamento degli altoparlanti
La modalità di uscita degli altoparlanti più essere a due canali (stereo) o a un canale (mono). A seconda della modalità, collegare i conduitori degli altoparlanti in base alle figureamente in basso.

Uscita a due canali (stereo)
① Altoparlante (sinistro)
② Altoparlante (destro)

Uscita ad un canale
① Altoparlante (mono)
Collegamenti utilizzando un cavo di ingresso altoparlanti
Collegare i cavi di uscita degli altoparlanti delsystema car stereo all'amplificatore utilizzato il cavo d'ingresso degli altoparlanti fornito.
Non collegare l'ingresso RCA e l'ingresso degli altoparlanti allo stesso tempo.

① Car Stereo
② Uscita altoparlanti
③ Bianco/nero: Sinistra
④ Bianco: Sinistra
⑤ Grigio/nero: Destra Θ
⑥ Grigio: Destra
⑦ Connettore di ingresso altoparlanti Al terminale ingresso altoparlanti di但这a unità.
Nota
Se i cavi di ingresso di un'unità principale vengono collegati a quello amplificatore, l'amplificatore si accenderà o spegnerà automaticamente quando l'unità principale viene accesa o spenta. Questa funzione potrebbe non funzionare con alcune unità principali. In tal caso, utilizzato il cavo del telecomando diSYSTEMA (venduto a parte). Se vengono collegati contemporaneamente più amplificatori in sincronia, collegare l'unità principale e tutti gli amplificatori utilizzando il cavo del telecomando diSYSTEMA.
Collegamento del terminale di alimentazione
Si consiglia di utilizzare un cavo batteria rosso speciale e un cavo di messa a terra RD-223, venduti a parte. Collegare il cavo batteria diretamente al terminale positivo della batteria ④ e il cavo di messa a terra alla scopca del veicolo.
Collegamento delle unità

AVVERTENZA
Se il cavo della batteria non viene saldamente fissato al terminale utilizzato le apposite viti, sus-sisterà il rischio di surriscaldamento, malfunzionamento e lesioni personali, come uszioni lievi.
1 Instradare il cavo batteria dal vano motore all'interno del veicolo.
- Quando si insertisce un cavo batteria atraverso un foro passante appositamente praticato nella scocca del veicolo, prestare attenzione a non cortocircuitare il cavo danneggiandolo con gli spigoli taglienti o frastagliati del foro.
Dopo aver eseguito tutti gli altri collegamenti all'amplificatore, collegare il terminale del cavo batteria al terminale positivo della batteria.

① Terminale positivo ⊕
② Vano motore
③ Interno del veicolo
④ Fusibile (30A)× 2
⑤ Inserire l'anello di tenuta toroidale in gomma nella scocca del veicolo.
(6) Praticare un foro da 14 mm nella scocca del veicolo.
2 Torcere le estremità del cavo batteria, del cavo di messa a terra e del cavo del telecomando di sistema.

3 Applicare i capocorda alle estremità dei cavi.
Utilizzare pinze o un altre utensile per crimpare i capocorda ai cavi.

① Capocorda (venduto a parte)
② Cavo batteria
③ Cavo di messa a terra
4 Collegare i cavi al terminale.
Fissare saldamente i cavi con le viti terminali.

① Terminale telecomando planta
② Terminale di terra
③ Terminale di alimentazione
④ Viti terminali
⑤ Cavo batteria
⑥ Cavo di messa a terra
⑦ Cavo telecomando sistemas
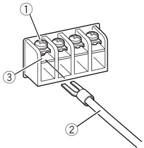
Collegamento dei terminali di uscita altoparlanti
1 Utilizzando pinze o una taglierina, esporre le estremità dei cavi degli altoparlanti di circa 10mm ,quindi tornere i cavi.

2 Applicare i capocorda alle estremità dei cavi.
Utilizzare pinze o un altre utensile per crimpare i capocorda ai cavi.

① Capocorda (venduto a parte)
② Cavo altoparlanti
3 Collegare i cavi degli altoparlanti ai terminali di uscita altoparlanti.
Fissare saldamente i cavi degli altoparlanti con le viti terminali.

① Viti terminali
② Cavi altoparlanti
③ Terminali di uscita altoparlanti
Prima di installare l'amplificatore
AVVERTENZA
- Per assicurare un'installazione corretta, utilizes i componenti forniti nel modo indico. Se vengono utilizzati componenti diversi da quelli forniti, le parti interne dell'amplificatore potrebbero subire danni, o allentarsi, provocando lo spegnimento dell'amplificatore.
Non eseguire l'installazione in:
Posizioni in cui l'unità potrebbe ferire il conducente o i passeggeri se il veicolo frena improvvisamente.
Posizioni che potrebbero interferire con la guida, come il pianale di fronte al sedile del conducente.
Installare le viti autopilettanti in modo tale che le estremità delle viti non entrino a contatto con alcun cavo. Questa precauzione è importante per impedire che i cavi vengano tagliati dall'avigrazione del veicolo, con seguente pericolo di incendio.
- Accertarsi che i cavi non si impiglino nel meccanismo di scorrimento dei sedili o tocchino le game dei passeggeri del veicolo, provocando cortocircuiti.
- Quando si praticano fori per installare l'amplificatore, verificare sempre che dietro il pannello non si trovi alcun componente. Proteggere tutti i cavi e gli organi importanti (ad esempio, linee del carburante o dei freni, cavi).

ATTENZIONE
- Per assicurare la corretta dissipatione del calore dall'amplificatore, osservare quando segue durante l'installazione:
Riservare uno spazio adeguato per la corretta ventilazione al di sopra dell'amplificatore.
Non coprire l'amplificatore con tappetini di alcun tipo.
- La funzione di protezione potrebbe attivarsi per proteggere l'amplificatore da surriscaldamento dovuto all'installazione in posizioni in cui non è possibile disperdere sufficientemen
te il calore, da uso continuo con volume excessivo, ecc. In quosti casi, l'amplificatore riduce la potenza in uscita o rimane spento fino a quando non si raffredda e raggiunge una temperatura prestabilita.
Non posizionare i cavi in luoghi soggetti a surriscaldamento, come le bucchette dell'impianto di riscaldamento.
- La posizione di installmentazione ottimale varia a seconda del modello del veicolo. Fissare l'amplificatore in una posizione sufficientemente rigida.
- Controllare tutti i collegamenti e i sistemi prima dell'installazione finale.
- Dopo aver installment l'amplificatore, verificare che la ruota di scorta, il martinetto e gli attrezzi siano agevolmente accessibili.
Esempio di installmente sul pianale o sul telaio
1 Posizione l'amplificatore nella posizione di installazione desiderata.
Inserire le viti autofilettanti fornite (4 mm × 18 mm) negli appositi fori con un cacciavite in modo che lascino una traccia nella posizione in cui dovranno essere praticati i fori.
2 Praticare fori del diametro di 2,5 mm sulle traccce lasciate delle viti sulla tappingeria o direttamente sul telao.
3 Installare l'amplificatore utilizzando le viti autofilettanti fornite (4mm× 18mm)

① Viti autopilettanti (4mm× 18mm)
② Praticare un foro di 2,5 mm di diametro
③ Tappezzeria o telaio
④ Distanza da foro a foro: 338 mm (GM-A5602) / 228 mm (GM-A3602)
⑤ Distanza da foro a foro: 196 mm (GM-A5602) / 161 mm (GM-A3602)
Informazioni supplementari
Dati tecnici
GM-A5602
Alimentazione 14,4 V di c.c. (variazioni consentite da 10,8 V a 15,1 V)
Messa a terra Negativa
Consumo 36 A (con potenza continua, 4
Corrente media consumata 9,5 A (4 Ω per due canali) 15,5 A (4 Ω per un canale)
Fusibile 30 A x 2
Dimensioni (L× A× P) 348mm × 60mm× 215 mm
Peso 2,3 kg (cavi non inclusi)
Potenza massima prodotta 300W× 2 (4Ω)/450W×2 (2Ω)/900W TOTALI (BRID- GE)
Potenza d'uscita continua 150 W × 2 (a 14,4V, 4Ω, da 20 Hz a 20 kHz, ≤ 1,0% THD +N) 450 W × 1 (a 14,4V, 4Ω BRIDGE 1 kHz, ≤ 1,0% THD +N) 225 W × 2 (a 14,4V, 2Ω 1 kHz, ≤ 1,0% THD+N)
Impedenza di carico 4Ω (variazioni consentite da 2 a 8Ω)
Risposta in frequenza ...da 10 Hz a 70 kHz (+0 dB, -3 dB)
Rapporto segnale/rumore ...96 dB (rete IEC-A)
Filtro passa basso: Frequenza di taglio ....da 40 Hz a 500 Hz Pendenza di taglio ....-12 dB per ottava
Incremento dei bassi:
Frequenza 50 Hz
Livello 0 dB/6 dB/12 dB
Comando guadagno:
RCA _ da 0,3 V a 6,5 V
Altoparlanti _ da 3,0 V a 26 V
Livello di ingresso massimo / impedenza: RCA 6.5 V/22 kΩ Altoparlante 26 V/16 kΩ
GM-A3602
Alimentazione 14,4 V di c.c. (variazioni consentite da 10,8 V a 15,1 V)
Messa a terra Negativa Consumo 14,5A (con potenza continua, 4
Corrente media consumata 4A (4Ω per due canali) 6,5A (4Ω per un canale)
Fusibile 25A × 1
Dimensioni L× A× P) . 238mm× 60mm× 180 mm
Peso .1,4 kg (cavi non inclusi)
Potenza massima prodotta 120W× 2(4) / 200W× 2 (2) / 400W TOTALI (BRID- GE)
Potenza d'uscita continua 60W × 2 (a 14,4V, 4 da 20 Hz a 20 kHz, ≤ 1,0% THD +N) 180 W × 1 (a 14,4V, 4 BRIDGE 1 kHz, ≤ 1,0% THD +N) 90 W × 2 (a 14,4V, 2 1 kHz, ≤ 1,0% THD+N
Impedenza di carico 4Ω (variazioni consentite da 2Ω a 8Ω) Risposta in frequenza da 10 Hz a 70 Hz (+0 dB, -3 dB)
Rapporto segnale/rumore ... 95 dB (rete IEC-A)
Filtro passa basso:
Frequenza di taglio ..... 80 Hz
Pendenza di taglio ..... -12 dB per ottava
Comando guadagno:
RCA _ da 0,3 V a 6,5 V
Altoparlanti _ da 3,0 V a 26 V
Livello di ingresso massimo / impedenza: RCA 6,5 V/22 kΩ Altoparlante 26 V/16 kΩ
Note
-
Caratteristiche tecniche e design sono soggetti a eventuali modifiche alla preavviso.
-
La corrente media consumata è uguali circa alla corrente massima consumata da esta unità quando viene ricevuto un segnale audio. Utilizzato quello valore per il calcolo della corrente totale consumata da più amplificatori di potenza.
90 W × 2 (a 14,4 V, 2 Ω)
1 kHz, ≤ 1,0% THD+N)
Si prega di visitare il site www.pioneer.it (o www.pioneer.eu) per registrar il prodotto.
Bezoek www.pioneer.nl (of www.pioneer.eu) om uw product te registraren.
Iocetnte www.pioneer-rus.ru (iINu www.pioneer.eu) Iyra peinctpaun npno6peHHO BAmn n3dennia.
PIONEER CORPORATION
1-1, Shin-ogura, Saiwai-ku, Kawasaki-shi,
Kanagawa 212-0031, JAPAN
Kopnpaunpaon
1-1, CnH-Opya, CaBai-Ky, r. Kabacan,
npefekkTypa Kaharaba,
212-0031,Яноня
UmmopTep OOO “IIOHEP PYC”
125040, Poccna, r. MockBa, yI. IpaBbl, d.26
Te.n.: +7(495) 956-89-01
ManualeFacile