GM-A3602 - Car amplifier PIONEER - Free user manual and instructions
Find the device manual for free GM-A3602 PIONEER in PDF.
User questions about GM-A3602 PIONEER
0 question about this device. Answer the ones you know or ask your own.
Ask a new question about this device
Download the instructions for your Car amplifier in PDF format for free! Find your manual GM-A3602 - PIONEER and take your electronic device back in hand. On this page are published all the documents necessary for the use of your device. GM-A3602 by PIONEER.
USER MANUAL GM-A3602 PIONEER
Thank you for purchasing this PIONEER product
To ensure proper use, please read through this manual before using this product. It is especially important that you read and observe WARNINGs and CAUTIONs in this manual. Please keep the manual in a safe and accessible place for future reference.

If you want to dispose this product, do not mix it with general household waste. There is a separate collection system for used electronic products in accordance with legislation that requires proper treatment, recovery and recycling.
Private households in the member states of the EU, in Switzerland and Norway may return their used electronic products free of charge to designated collection facilities or to a retailer (if you purchase a similar new one).
For countries not mentioned above, please contact your local authorities for the correct method of disposal.
By doing so you will ensure that your disposed product undergoes the necessary treatment, recovery and recycling and thus prevent potential negative effects on the environment and human health.
Visit our website
Visit us at the following site: http://www.pioneer.co.uk
- Register your product. We will keep the details of your purchase on file to help you refer to this information in the event of an insurance claim such as loss or theft.
We offer the latest information about PIONEER CORPORATION on our website.
If you experience problems
Should this product fail to operate properly, please contact your dealer or nearest authorized Pioneer Service Station.
Before connecting/ installing the amplifier
WARNING
- The use of a special red battery and ground wire RD-223, available separately, is recommended. Connect the battery wire directly to the car battery positive terminal and the ground wire to the car body.
- This unit is for vehicles with a 12 V battery and negative grounding. Before installing in recreational vehicles, trucks or buses, check the battery voltage.
- When installing this unit, make sure to connect the ground wire first. Ensure that the ground wire is properly connected to metal parts of the car's body. The ground wire of the one of this unit must be connected to the car separately with different screws. If the screw for the ground wire loosens or falls out, it could result in fire, generation of smoke or malfunction.
Always use a fuse of the rating prescribed. The use of an improper fuse could result in overheating and smoke, damage to the product and injury, including burns. - Check the connections of the power supply and speakers if the fuse of the separately sold battery wire or the amplifier fuse blows. Determine and resolve the cause, then replace the fuse with and identical equivalent.
Before you start
Always install the amplifier on a flat surface. Do not install the amplifier on a surface that is not flat or on a surface with a protrusion. Doing so could result in malfunction.
- When installing the amplifier, do not allow parts such as extra screws to get caught between the amplifier and the automobile. Doing so could cause malfunction.
- Do not allow this unit to come into contact with liquids. Electrical shock could result. Also, damage to this unit, smoke, and overheating could result from contact with liquids. The surfaces of the amplifier and any attached speakers may also heat up and cause minor burns.
- In the event of any abnormality, the power supply to the amplifier is cut off to prevent equipment malfunction. If this occurs, switch the system power off and check the power supply and speaker connections. If you are unable to determine the cause, please contact your dealer.
Always disconnect the negative terminal of the battery beforehand to avoid the risk of electric shock or short circuit during installation.
- Do not attempt to disassemble or modify this unit. Doing so may result in fire, electric shock or other malfunction.

CAUTION
Always keep the volume low enough to hear outside sounds.
- Extended use of the car stereo while the engine is at rest or idling may exhaust the battery.
About the protection function
This product has protection function. When this product detects something abnormal, the following functions will operate to protect the product and speaker output.
- The power indicator will turn off and the amplifier will shut down in the situations outlined below.
If the speaker output terminal and speaker wire are short-circuited.
If a DC voltage is applied to the speaker output terminal.
- The amplifier will reduce the power output if the temperature inside the amplifier gets high. If the temperature gets too high, the power indicator will turn off, and the amplifier will shut down.
What's what

GM-A5602


GM-A3602

To adjust the switch, use a flathead screwdriver if needed.
① LPF (low-pass filter) switch
Switch the settings based on the connected speaker.
- When the Subwoofer is connected: Select ON. This eliminates high range frequency and outputs low range frequency.
- When the full range speaker is connected: Select OFF. OFF outputs the entire frequency range.
② FREQ (cut off frequency) control
Cut off frequency selectable from 40Hz to 500Hz if the LPF select switch is set to ON.
BASS BOOST (bass boost level control) switch
You can select a bass boost level from 0 dB, 6 dB and 12 dB.
GAIN (gain) control
If output remains low, even when the car stereo volume is turned up, turn controls to lower level. If distortion occurs when the car stereo volume is turned up, turn these controls to higher level.
- For use with an RCA equipped car stereo (standard output of 500mV ), set to the NORMAL position. For use with an RCA equipped Pioneer car stereo, with maximum output of 4V or more, adjust level to match that of the car stereo output.
- For use with an RCA equipped car stereo with output of 4V , set to the HIGH position.
If you hear too much noise when using the speaker input terminals, turn the gain control to higher level.
⑤ Power indicator
The power indicator lights up to indicate power ON.
Setting gain properly
- Protective function included to prevent malfunction of the unit and/or speakers due to excessive output, improper use or improper connection.
- When outputting high volume sound etc., this function cuts off the output for a few seconds as a normal function, but output is restored when the volume of the head unit is turned down.
Setting the unit
- A cut in sound output may indicate improper setting of the gain control. To ensure continuous sound output with the head unit at a high volume, set amplifier gain control to a level appropriate for the preout maximum output level of the head unit, so that volume can remain unchanged and to control excess output.
- Despite correct volume and gain settings, the unit sound still cuts out periodically. In such cases, please contact the nearest authorized Pioneer Service Station.
Gain control of this unit

Above illustration shows NORMAL gain setting.
Relationship between amplifier gain and head unit output power

If amplifier gain is raised improperly, this will simply increase distortion, with little increase in power.
Signal waveform when outputting at high volume using amplifier gain control

If the signal waveform is distorted due to high output, even if the amplifier gain is raised, the output power will change only slightly.
Connection diagram

① Special red battery wire RD-223 (sold separately)
After completing all other amplifier connections, finally connect the battery wire terminal of the amplifier to the positive battery terminal.
② Ground wire (Black)
RD-223 (sold separately)
Connect to metal body or chassis.
③ Car stereo with RCA output jacks (sold separately)
(4) External output
⑤ Connecting wire with RCA pin plugs (sold separately)
⑥ Speaker input terminal (use a connector included)
Please see the following section for speaker connection instructions. Refer to Connections when using the speaker input wire on page 8.
⑦ RCA input jack
⑧ System remote control wire (sold separately)
Connect male terminal of this wire to the system remote control terminal of the car stereo.
The female terminal can be connected to the auto-antenna relay control terminal. If the car stereo lacks a system remote control terminal, connect the male terminal to the power terminal via the ignition switch.
⑨ Speaker output terminals
Please see the following section for speaker connection instructions. Refer to Connections when using the speaker input wire on page 8.
Fuse 30A× 2 (GM-A5602) / 25A× 1 (GM-A3602)
1 Fuse (30A)× 2
⑫ Grommet
③ Rear side
14 Front side
Before connecting the amplifier
WARNING
- Secure the wiring with cable clamps or adhesive tape. To protect the wiring, wrap sections in contact with metal parts in adhesive tape.
- Never cut the insulation of the power supply to feed power to other equipment. Current capacity of the wire is limited.
CAUTION
- Never shorten any wires, the protection circuit may malfunction.
- Never wire the speaker negative cable directly to ground.
- Never band together multiple speaker's negative cables.
- If the system remote control wire of the amplifier is connected to the power terminal via the ignition switch (12 V DC), the amplifier will remain on with the ignition whether the car stereo is on or off, which may exhaust battery if the engine is at rest or idling.
Connecting the units
- Install and route the separately sold battery wire as far as possible from the speaker wires. Install and route the separately sold battery wire, ground wire, speaker wires and the amplifier as far away as possible from the antenna, antenna cable and tuner.
About bridged mode

Diagram A - Proper
4Ω Bridged Mode

Diagram B - Improper
2Ω Bridged Mode
- Do not install or use this amplifier by wiring speakers rated at 4 (or lower) in parallel to achieve a 2 (or lower) bridged mode (Diagram B).
Amplifier damage, smoke, and overheating could result from improper bridging. The amplifier surface could also become hot to the touch and minor burns could result.
To properly install or use a bridged mode and achieve a 4 load, wire two 8 speakers in parallel with Left and Right (Diagram A) or use a single 4 speaker.
In addition, refer to the speaker instruction manual for information on the correct connection procedure.
- For any further enquiries, contact your local authorized Pioneer dealer or customer service.
About suitable specification of speaker
Ensure speakers conform to the following standards, otherwise there is a risk of fire, smoke or damage. Speaker impedance is 2
to 8 for stereo connection, or 4 to 8 for monaural and other bridge connection.
Subwoofer
| Speaker channel | Power |
| Two-channel output | Nominal input: Min. 150 W (GM-A5602) Min. 60 W (GM-A3602) |
| One-channel output | Nominal input: Min. 450 W (GM-A5602) Min. 180 W (GM-A3602) |
Other than subwoofer
| Speaker channel | Power |
| Two-channel output | MAX input: Min. 300 W (GM-A5602) Min. 120 W (GM-A3602) |
| One-channel output | MAX input: Min. 900 W (GM-A5602) Min. 400 W (GM-A3602) |

Connecting the speakers
The speaker output mode can be two-channel (stereo) or one-channel (mono). Connect the speaker leads to suit the mode according to the figures shown below.
Two-channel output (Stereo)

① Speaker (Left)
② Speaker (Right)
One-channel output

① Speaker (Mono)
Connections when using the speaker input wire
Connect the car stereo speaker output wires to the amplifier using the supplied speaker input wire.
- Do not connect both the RCA input and the speaker input at the same time.

① Car Stereo
② Speaker output
③ White/black: Left
④ White: Left
⑤ Gray/black: Right
⑥ Gray: Right
⑦ Speaker input connector To speaker input terminal of this unit.
Note
If speaker input wires from a headunit are connected to this amplifier, the amplifier will automatically turn on when the headunit is turned on. When the headunit is turned off, the amplifier turns off automatically. This function may not
work with some headunits. In such cases, please use a system remote control wire (sold separately). If multiple amplifiers are to be connected together synchronously, connect the head unit and all amplifiers via the system remote control wire.
Connecting the power terminal
The use of a special red battery and ground wire RD-223 (sold separately) is recommended. Connect the battery wire directly to the car battery positive terminal and the ground wire to the car body.
WARNING
If the battery wire is not securely fixed to the terminal using the terminal screws, there is a risk of overheating, malfunction and injury, including minor burns.
1 Route battery wire from engine compartment to the vehicle interior.
- When drilling a cable pass-hole into the vehicle body and routing a battery wire thorough it, take care not to short-circuit the wire damaging it by the cut edges or burrs of the hole.
After completing all other amplifier connections, finally connect the battery wire terminal of the amplifier to the positive battery terminal.

① Positive terminal
② Engine compartment
③ Vehicle interior
④ Fuse (30A)× 2
Connecting the units
⑤ Insert the O-ring rubber grommet into the vehicle body.
⑥ Drill a 14 mm hole into the vehicle body.
2 Twist the battery wire, ground wire and system remote control wire.

3 Attach lugs to wire ends.
Use pliers, etc., to crimp lugs to wires.

① Lug (sold separately)
② Battery wire
③ Ground wire
4 Connect the wires to the terminal.
Fix the wires securely with the terminal screws.

① System remote control terminal
② Ground terminal
③ Power terminal
④ Terminal screws
⑤ Battery wire
⑥ Ground wire
⑦ System remote control wire
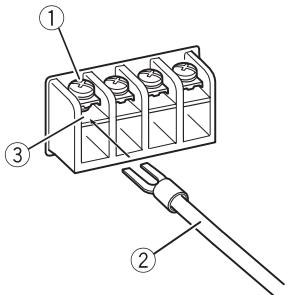
Connecting the speaker output terminals
1 Use wire cutters or a utility knife to strip the end of the speaker wires to expose about 10mm of wire and then twist the wire.

2 Attach lugs to wire ends.
Use pliers, etc., to crimp lugs to wires.

① Lug (sold separately)
② Speaker wire
3 Connect the speaker wires to the speaker output terminals.
Fix the speaker wires securely with the terminal screws.
Connecting the units

① Terminal screws
② Speaker wires
③ Speaker output terminals
Before installing the amplifier
WARNING
- To ensure proper installation, use the supplied parts in the manner specified. If any parts other than those supplied are used, they may damage internal parts of the amplifier, or become loose causing the amplifier to shut down.
- Do not install in:
Places where it could injure the driver or passengers if the vehicle stops suddenly.
Places where it may interfere with the driver, such as on the floor in front of the driver's seat.
- Install tapping screws in such a way that the screw tip does not touch any wire. This is important to prevent wires from being cut by vibration of the car, which can result in fire.
- Make sure that wires do not get caught in the sliding mechanism of the seats or touch the legs of a person in the vehicle as short-circuit may result.
- When drilling to install the amplifier, always confirm no parts are behind the panel and protect all cables and important equipment (e.g. fuel/brake lines, wiring) from damage.
CAUTION
To ensure proper heat dissipation of the amplifier, ensure the following during installation:
- Allow adequate space above the amplifier for proper ventilation.
-
Do not cover the amplifier with a floor mat or carpet.
-
Protection function may activate to protect the amplifier against overheating due to installation in locations where sufficient heat cannot be dissipated, continuous use under high-volume conditions, etc. In such cases, the amplifier reduces the power output or shuts down until it has cooled to a certain designated temperature.
-
Place all cables away from hot places, such as near the heater outlet.
-
The optimal installation location differs depending on the car model. Secure the amplifier at a sufficiently rigid location.
-
Check all connections and systems before final installation.
After installing the amplifier, confirm that the spare tire, jack and tools can be easily removed.
Example of installation on the floor mat or chassis
1 Place the amplifier in the desired installation location.
Insert the supplied tapping screws (4 mm × 18 mm) into the screw holes and push on the screws with a screwdriver so they make an imprint where the installation holes are to be located.
2 Drill 2.5mm diameter holes at the imprints either on the carpet or directly on the chassis.
3 Install the amplifier with the use of supplied tapping screws (4mm× 18mm)

① Tapping-screws (4mm × 18mm)
② Drill a 2.5mm diameter hole
③ Floor mat or chassis
④ Hole-to-hole distance: 338 mm (GM-A5602) / 228 mm (GM-A3602)
⑤ Hole-to-hole distance: 196 mm (GM-A5602) / 161 mm (GM-A3602)
Additional information
Specifications
GM-A5602
Power source 14.4 V DC (10.8 V to 15.1 V allowable)
Grounding system Negative type
Current consumption 36A (at continuous power, 4
Average current drawn 9.5 A (4 Ω for two channels) 15.5 A (4 Ω for one channel)
Fuse 30 A x 2
Dimensions (W× H× D) ... 348mm× 60mm× 215 mm
Weight 2.3 kg (Leads for wiring not included)
Maximum power output ....300 W x 2 (4 Ω) / 450 W x 2 (2 Ω) / 900 W TOTAL (BRIDGE)
Continuous power output ... 150W× 2 (at 14.4V,4 20Hz to 20kHz,≤ 1.0% THD +N)
450 W × 1 (at 14.4 V, 4Ω)
BRIDGE 1 kHz, ≤ 1.0% THD +N)
225W × 2 (at 14.4V,2
1kHz, ≤ 1.0% THD + N )
Load impedance 4Ω (2Ω to 8Ω allowable)
Frequency response 10 Hz to 70 kHz (+0 dB, -3 dB)
Signal-to-noise ratio 96 dB (IEC-A network)
Distortion 0.05% (10 W, 1 kHz)
Low pass filter: Cut off frequency 40 Hz to 500 Hz Cut off slope -12 dB/oc
Bass boost: Frequency .50 Hz Level .0 dB/6 dB/12 dB
Gain control: RCA .0.3V to 6.5 V Speaker .3.0V to 26 V
Maximum input level / impedance: RCA 6.5 V/22 kΩ Speaker 26 V/16 kΩ
GM-A3602
Power source 14.4 V DC (10.8 V to 15.1 V allowable)
Grounding system Negative type
Current consumption 14.5A (at continuous power, 4Ω)
Average current drawn 4A (4Ω for two channels) 6.5 A (4Ω for one channel)
Fuse 25A×1
Dimensions (W× H× D) ...238mm × 60mm× 180 mm
Weight 1.4 kg (Leads for wiring not included)
Maximum power output ....120W × 2 4(4Ω)/200W × 2 (2Ω)/400 W TOTAL (BRIDGE)
Continuous power output ...60 W × 2 (at 14.4 V, 4 Ω, 20 Hz to 20 kHz, ≤ 1.0% THD +N)
180 W × 1 (at 14.4 V, 4Ω)
BRIDGE 1 kHz, ≤ 1.0% THD +N)
90W×2 (at 14.4V, 2Ω)
1 kHz, ≤ 1.0% THD+N)
Load impedance 4Ω (2Ω to 8Ω allowable)
Frequency response 10 Hz to 70 Hz (+0 dB, -3 dB)
Signal-to-noise ratio .95 dB (IEC-A network) Distortion .0.05% (10 W, 1 kHz)
Low pass filter: Cut off frequency ..80 Hz Cut off slope .-12 dB/act
Gain control: RCA 0.3V to 6.5 V Speaker 3.0V to 26 V
Maximum input level / impedance: RCA 6.5 V/22 kΩ Speaker 26 V/16 kΩ
Notes
- Specifications and the design are subject to modifications without notice.
- The average current drawn is nearly the maximum current drawn by this unit when an audio signal is input. Use this value when working out total current drawn by multiple power amplifiers.
④ Commande GAIN (gain)
Distorsione 0,05% (10 W, 1 kHz)
Distorsione 0.05% (10 W, 1 kHz)
Altavoz 3,0 V a 26 V
20 Hz A 20 kHz, ≤1,0% THD
+N)
180W×1(a 14,4V,4Ω
PUENTE 1 kHz, ≤ 1,0% THD
+N)
① LPF-schakelaar (low pass filter)
IcToHmK nHTaHnra 14,4B NoCToRHHOrO ToKa (DOnyuctmbl Dnana30H O T 10,8Bdo15,1B)
CnCTema 3a3emIeHna ......... 3a3emIeHne OtpuataTeNb HOrO NpIoCa
IopTe6pEmbTOK 14,5A (npn HOMHaJIbHOB BbIXOHO MOUHOCN,4Ω)
CpeDHee 3NaueHne ToKa ....4A (4ΩДЯпдУвх KaHaNoB) 6,5A (4ΩДЯ онOrO Ka- hana)
БиТeЛe》И NOCTaHOBNeHnEM
npaBntJIbCTBa PocCNIckOeIepaUN N
720 ot 16.06.97 kompanha Pioneer Europe
NV orobapnBaet cIeIyUoIcI spOK cIyXkbI n3deJIIn, oΦuIaJIbHO nOCTabIIeMbIX Ha pocCNIckn pbHOK.
AByTOMO6nIbHna 3NeKtpOnHnka:6JIeT
Visit www.pioneer.co.uk (or www.pioneer.eu) to register your product.
PIONEER ELECTRONICS (USA) INC.
P.O. Box 1540, Long Beach, California 90801-1540, U.S.A.
TEL: (800) 421-1404
PIONEER EUROPE NV
Haven 1087, Keetberglaan 1, B-9120 Melsele, Belgium/Belgique
TEL: (0) 3/570.05.11
PIONEER ELECTRONICS ASIACENTRE PTE. LTD.
253 Alexandra Road, #04-01, Singapore 159936
TEL: 65-6472-7555
PIONEER ELECTRONICS AUSTRALIA PTY. LTD.
5 Arco Lane, Heatherton, Victoria, 3202 Australia
TEL: (03) 9586-6300
PIONEER ELECTRONICS OF CANADA, INC.
340 Ferrier Street, Unit 2, Markham, Ontario L3R 2Z5, Canada
TEL: 1-877-283-5901
TEL: 905-479-4411
PIONEER ELECTRONICS DE MEXICO, S.A. de C.V.
Blvd.Manuel Avila Camacho 138 10 piso
Col.Lomas de Chapultepec, Mexico, D.F. 11000
TEL: 55-9178-4270
先锋股份有限公司
台北市內湖區瑞光路407號8樓
電話:886-(0)2-2657-3588
先鋒電子(香港)有限公司
香港九龍長沙灣道909號5樓
電話:852-2848-6488
© 2013 PIONEER CORPORATION.
All rights reserved.
© 2013 PIONEER CORPORATION.
© PIONEER CORPORATION, 2013.
Bce npaba 3aunuenebl.
Printed in China
Imprimé en Chine
OTneuTaHO B Kntae
EasyManual