KB14 - Máquina de hielo H.KOENIG - Manual de uso y guía de instrucciones gratis
Encuentra gratis el manual del aparato KB14 H.KOENIG en formato PDF.
Descarga las instrucciones para tu Máquina de hielo en formato PDF gratis! Encuentra tus instrucciones KB14 - H.KOENIG y toma tu dispositivo electrónico nuevamente en la mano. En esta página están publicados todos los documentos necesarios para el uso de su dispositivo. KB14 de la marca H.KOENIG.
MANUAL DE USUARIO KB14 H.KOENIG
Lea este folleto detenidamente antes de utiliser laquina y guárelo para consultas futuras.
INSTRUCCIONES IMPORTANTES
Para utiliser un electrodométrico, siempre se deben tener Among las precauciones BASicas de seguridad para reducir los riesgos de incendio, descargas electricas y/o lesiones, incluyendo las siguientes:
- Lea todas las instrucciones antes usar laquina.
- Retire todo el material de embalaje y revise suquina de hielo minuciosamente para asegurar de que esté en buena conditiones y que laquina, su cable de alimentación o el enchufe no está dañados.
- Antes de usar laquina por primera vez, déjela reposar durante 2 horas en su local de instalación y mantenga la tapa transparente abierta por el mismo periodo.
- No use agua pura para hacer hielo en estaquina, se recomienda el uso de agua mineral o manantial.
- Compruebe que la tension de su red electrica sea compatible con la indicada en la plac de caracteristica de laquina y verifique que la connexion a tierra del tomacorriere este en Buen estado.
- Si el cable de alimentación está dañado, este deberá ser
reemplazado por el fabricante, su agente de servicios技术和icos o un especialista similar paraatar riesgos potecuales.
- Nunca vuelque estaquina ni la incline a mas de 45 grados de la superficie.
- Para prevenir descargas electricas, no vierta agua sobre el cable de alimentacion, el enchufe o las ranuras de ventilacion y nunca sumerja laquina en agua o enequalquier除外lyl.
- Desenchufe laquina del tomacorriente afterwards del uso o antes de limparla.
- Mantenga laquina a 8 cm de cadaquier otro objeto para permitir la circulación de aire y una buena disipación de calor.
- Utilice únicamente los accesorios recomendados por el fabricante.
- Este aparato puede ser utilisé por personas con capacidades físicas, sensoriales o mentales reduidas o con falta de experiencia o conocimientos, siempre que Sean supervisas o instruidas en el uso seguro del aparato y que entiendanperfectamente lospeligros potecuales.
- No utilise laquina cerca de llamas, fogones, hornillas o estufas.
- Para evaporar que se dade el compresor, no encienda la
máquina (botón POWER) demasiadas vezes en cortos periodos de tiempo (espere al menos 5 Minutes).
- Para evaporar incendios y cortocircuits, nunca introduzca láminas de metal u otros objetivos conductores en laquina de hielo.
- No use laquina a la intemperie.
- Nunca limpie laquina con productos abrasivos o implementosuros.
- Debe conservar estemanual de instrucciones.
- Advertencia: No use laquina para almacenar sustancias explosivas, tales como latas de aerosol con propelentes inflamables.
- Este aparato está destinado al uso en hogares yAreas similares, como
- zonas de cocina en tiendas, oficinas y otros enternos de trabajo
- enunas de campo
- en hoteles, moteles y除外 zonas residencias
-
habitaciones de huéspedes.
-
El gas aislante y refrigerante es inflamable, por lo tanto, para(deschar laquina,hagalolo solamente en un centro de recoleccion de residuos autorizzato.No exponer al fuego.
-
El dispositivo no debe utilizes si se ha caido, si hay signos evidentes de daño o si hay fugas.
-
La limpieza y mantenimiento de laquina no debe ser efectuada por niños a menos que tengan como minimum 8 años de edad y@cuenten con la supervisión de unadulto.
- Mantenga el aparato y su cable electrico fuera del alcance de niños de menos de 8 años.
- Al utilizes equipos electricos, siempre se deben tomar precauciones de seguridad para evaporar el riesgo de incendio, descarga electrica y/o lesiones en caso de uso indefinido.
- Asegúrese de que la tension nominal de la placá de caractécticas corresponde a la tension de red de su instalación. Si no es asi,pongase en contacto con el distribuidor y no connecte la unidad.
- Nunca deje la unidad desatendida cuando está en funcionaimiento.
- Por favor, tengá este documento a mano y entrada al futuro propietario en caso de transferencia de su dispositivo
- Este aparato puede ser utilisé por niños de al menos 8 años de edad, siempre que@cuenten consecutividad y hayan recibido instrucciones sobre el uso seguro del electrodoméstico y Sean plenamente conscientes de los peligros que implica.
Refrigerante
El gas refrigerante contenido en el circuito de este aparato es el isobutano (R 600a), un gas poco contaminante pero inflammable.
- Al transporte e instalar el aparato,onga cuidado de no dañar ninguna parte del circuito de refrigerante.
- No utiliseyinguna herramienta aflida o puntiaguda para descongelar el aparato.
- No utilise ningún aparato electrico en el interior del aparato.
Si el sistema de refrigeracion está dañado:
No utilise una llama cerca del aparato.
Evite las chispas: no encienda ningún aparato electrico o lámpara electrica.
Ventile la habitación inmediamente.

Señal de peligro de incendio. Precaución, riesgo de incendio.
CHARACTERISTICAS
Producción de hielo diaria: 12kg / 24h
Tamaño del cubo de hielo:klequeo, grande
Capacidad de almacenamento de hielo: 600 g
Refrigerante: R600a (21 g)
Capacidad del deposito de agua: 2,1 L
Tensión: 220-240 V AC
Frecuencia: 50 Hz
Consumo de energia: 120 W
Clase climática: N/SN
Programa L (cubitos grandes) = hierelo liberado cada 9关键时刻
Programa S (cubitos pequeños) = hielo cada 8关键时刻
Lo mejor es utiliser agua fria

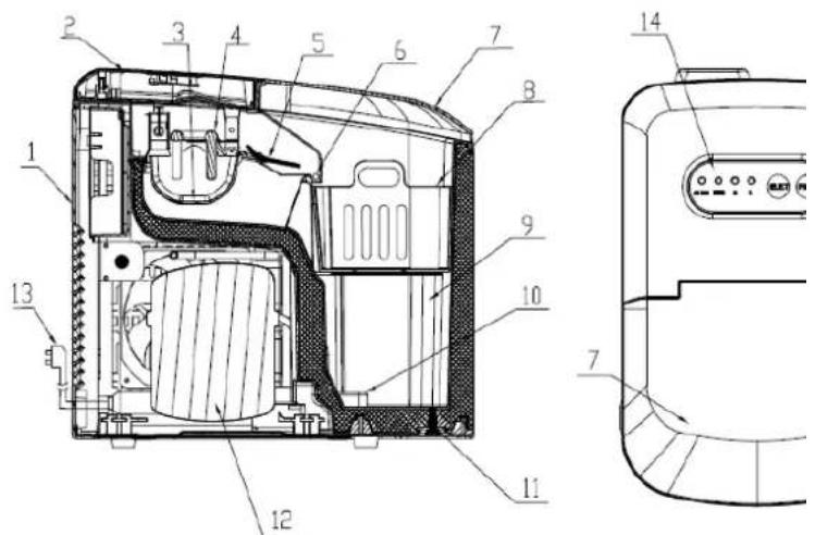
- Cubierta trasera
- Cubierta superior
- Bandeja de agua
- Evaporador
- Pala de hielo automatica
- Sensor de cubeta Ilena
- Tapa transparente
DESCRIPCION DE LA MAQUINA
- Cubeta colectora de hielo
- Depóstito de agua
- Filtro
- Tapon del drenaje
- Compresor
- Cable de alimentación
- Panel de Control


El indicator del botón POWER piculará cuando conecte el enchufe al tomacorriente y laquinaenta en modo de espera. La
máquina empieza a trabajo presionando el botón POWER, lo que hace que se encienda el indicator. En funcióncimiento, basta presionar el mesmo botón para detener la producción de hielo y la Máquina vuelve al modo de espera

Este botón es para selectionar el
S (pequeño) o L (grande). Presione el botón "SELECT" y manténgalo presionado por 3 seguidos para起初ar la auto-limpieza de la tuberia, que consiste en "bombar el agua durante 30segundos y bajo drenarla hacía el tanque" y este ciclo se repite 5 vezes. Losindicadores "S" y "L" parpadearán alternadamente hasta que termine la auto-limpieza y laquina entre en modo de espera. Retire el tapón plástico para drenar el agua y así acabar todo el proceso.
O Cuando el indicator de este boton se pone rojo, significa que hay poca agua en el deposito. Debe verte suficiente agua en el deposito y presionar el boton POWER para reinicir laquina.
Cuando el hielo llege a la capacité maxima de almacenamento en la cubeta, el indicator de este boton empieza a parpadear y laquinadea de trabajo. Lo unico que necesita hacer es retiring el hielo de la cubeta, cuando el nivel de hielo este por debajo del sensor de cubeta llena, laquina retomará la produccion automatically.
INSTRUCCIONES DE OPERACION
Nota: Limpie bien el deposito de agua y la tuberia antes de usar laquina.
Paso 1. Desenchufe el cable de alimentacion del tomacorriere y limpie el deposito de agua con abundante agua, bajo retire el tapon plastico del drenaje para desaguar el deposito.
Paso 2. Vuelva a colocar el tapón del drenaje y llene el deposito con agua apropriada y limpia. Después de enchufar laquina al tomacorriente, presione el botón “SELECT” y manténgalo presionado durante 3segundos para efectuar la auto-limpieza de la tuberia. Al finalizar este過程, drene el agua del deposito retirando el tapón.
Paso 3. Abra la tapa transparente y retire la cubeta del hielo para que pueda verter agua fresca en el deposito de agua.
Note: El aguaVERTA en el depóstito debequear por debajo del nivel máximo indicado en el depóstito. Cuando el volumen de agua quede por encima del nivel máximo, abra el tapón plástico para drenar el agua en excesso. A continuación, ciderre la taps transparente.
Paso 4. Seleccione el tamano deseado para los cubos de hielo, el tamano por defecto de laquina es grande.
Note: Selección el時間owyklepto (S) si la temperatura ambiente es inferior a 15^ Cuando la temperatura ambiente es superior a 30^, se recomienda hacer cubos de hielograndes (L).
Nota: Durante los tres primeros ciclos, los cubos de hielo能把ar微量元素 y de tamanio irregular.
LIMPIEZA Y ORIENTACIONES PARA EL USO
- Limpie regularamente el revestimiento inferior, la cubeta colectora, el deposito de agua, la pala automatica y el evaporador. Para efectuar la limpieza, desenchufe laquina del tomacorriente y retire los cubos de hielo. Use una solución diluida de agua y vinagre para limpiar el interior y las superficies externas de laquina. No use productos químicos ni agentes diluidos tales como ácidos, gasolina o aceite para limpiar laquina. Enjuague bien laquina antes de utilizesra.
- Nunca obstruya las ranuras de ventilacion en las cubiertas de laquina o la carcasa incorporada. No utilize dispositivos mecánicos u otros medios para acelerar la descongelacion, que no Sean aquellos recomendados por el fabricante.
-
Al utilizes la这笔a antes de largos periodos de inactividad, es possible que no tengas suficiente agua para bombear por el retardo de aire y el indicator "ADD WATER"SEOSEOSEOSEOSEOSEOSEOSEOSEOSEOSEOSEOSEOSEOSEOSEOSEOSEOSEOSEOSEOSEOSEOSEOSEOSEOSEOSEOSEOSEOSEOSEOSEOSEOSEOSEOSEOSEOSEOSEOSEOSEOSEOSEOSEOSEOSEOSEOSEOSEOSEOSEOSEOSEOSEOSEOSEOSEOSEOSEOSEOSEOSEOSEOSEOSEOSEOSEOSEOSEOSEOSEOSEOSEOSEOSEOSEOSEOSEOSEOSEOSEOSEOSEOSEOSEOSEOSEOSEOSEOSEOSEOSEOSEOSEOSEOSEOSEOSEOSEO SEOI Tiene que presionar de nuevo el boton POWER, la这笔a peut起初 en su estado normal.
-
Para garantizar la pureza del hielo, cambie el agua del deposito por lo menos una vez al día. Si no va a utiliser laquina por un长大o periodo, drene el agua del deposito y limpie laquina.
- Si el compresor falla por falta de agua, mucha agua o interruptacion del suministro electrico, tardar a 3 horas en arrancar afterwards de reinecer laquina.
- Siempre use agua fresca antes de起初ar la produccion de hielo, ya sea para el primer uso de laquina o aftere de un长大o periodo sin utilizearla.
- De(acuerdo con el uso real de laquina,la rejilla del bajo del deposito de agua deben limpiarse periodically afterwards del desmontaje para evaporar que la entrada de agua quede Bloqueada por incrustaciones. Como se muestra en la figura seguiente. Saque a su vez la bandeja colectora de hielo y la tapa del bajo del deposito de agua,limpie la tapa del bajo del deposito con agua limpia con un cepillo y vuelva a colocarlas en su situio.

SOLUTION DE PROBLEMAS
- Tenga en cuenta que si se interrupre el funciona de laquina por la desconexión del cable de alimentación o por liberar el botón POWER durante un ciclo de producción de hielo, se pueda formar pequeñas escalchas que se alojan en la pala automática. Si este occurs, pueda remover las escalchas desenchufando el cable de alimentación y empujando la pala suavamente hacía antes retirando el hielo. Luego de eliminar las escalchas reinicie laquina.
- Cuando la pala automatica no pueda mover los cubos de hielo hacer la cubeta, verifique que la bandeja de agua está nivelada. Si este no es el caso, empuje la pala suavamente con el dedo y bajo presione el botón POWER para reiniciar.
| PROBLEMA | CAUSA POSIBLE | SOLUTIONES SUGERIDAS |
| Funcioncimiento anormal del compresor con un ruido/zumbido extraño. | El voltaje es menor que el recomendado. | Detener la这其中 y no reiniciarla hasta que se normalice el voltaje. |
| La luz del indicator ADD WATER está encendida. | 1. Falta agua en el depósito de agua. 2. La bomba está llena de aire. | 1. Verter agua en el depósito hasta el nivel máximo. 2. Presionar el botón POWER para reiniciarla这其中. |
| Las lucesindicadoras del panel de control está apagadas. | 1. Fusible fundido. 2. Maquina apagada. | 1. Reemplazar el fusible. 2. Encender la这其中 presionando el botón POWER. |
| Los cubos de hielosalen muy grandes yunos pegados a losotros. | 1. Temperatura del agua demasiado bajo. 2. Quedan hielos de ciclos anteriores en la bandeja. | 1. Seleeccionar el menor時間. 2. Retirar todo el hielo durante el modo deespera. |
| Las luces de todoslos indicadoresparpadeansimultáneamente. | La bandeja de agua estábloqueada por cubos dehielo. | Desenchufar la这其中 y retiring el hielo quebloquea la bandeja, enchufar de nuevo ypresionar el botón POWER. La这其中 reinniciará al cabo de 3制动os. |
ADVERTENCIAS
Llene el deposito de agua exclusivamente con agua potable.
Es normal que la superficie del compresor y del condensador alcance temperatas entre 70^ y 90^ durante el funciona de laquina y las areas aledanas también pueda sobrecalentarse.
Como consecuencia del rápido proceso de congelación, los cubos de hielo能把 salir "noblados". Este se debe al aire comprimido dentro del agua y no afecta la calidad ni el sabor del hielo.
Nunca sumerja laquina en agua.
Advertencia - Nunca obstruya las ranuras de ventilacion en la cubierta de laquina o en la estructura corporada.
Advertencia - No use dispositivos mecánicos u otros medios para acelerar el proceso de descogelación, que no sean aquellos recommendados por el fabricante.
Advertencia - Cuidado para no darar los conductos del refrigerante.
Advertencia - No utilizes aparatos electricos en el compartmento de almacenimiento de hielo de estaquina, a menos que Sean del tipo recommendado por el fabricante.
GARANTÍA
El periodo de garantía de nuestros productos es de 2 años, salvo que la ley estipule lo contrario, a partir de la Fecha de la compra inicial o de la Fecha de entrega.
Si tiene algunos problema o pregunta, pueda acceder fácilmente a nuestros páginas deridge, consejos para SOLUTIONAR problemas, preguntas frecuentes y manuales de usuario en nuestro situod教程: https://sav.hkoenig.com.
Al escribir el nombre de referencia de su dispositivo en la barra de búsqueada, pueda acceder a toda la asistencia en linea disponible, disenada para satisfacer mejor sus necessities.
Si sigue sin encontrar una的回答a a su pregunta o problema, hagablick en"La的回答a ha resuelto su problema? Este lelearva al formulario de solicitudes de asistencia posventa, que puede rellenar para confirmar su satisfitud y Obtener ayud.
CONDICIONES DE GARANTÍA
La garantía cubre todos los fallos que se produzcan en elcontexto de un uso normal, de acuerdo con los usos y specifications del manual de usuario.
Esta garantía no se aplica a los problemas de embalaje o transporte durante el envío del producto por parte del propietario. Tampoco incluye el desgaste normal del producto, ni el mantenimiento o la sustitución de piezas consumables.
EXCLUSION DE GARANTIA
- Accesorios y piezas de desgaste (^*)
- Mantenimiento normal del aparato.
- Todas las averías derivadas de un uso Incorrecto (golpes, incumplimiento de las recomendaciones de alimentación electrica, malas conditiones de uso, etc.), de un mantenimiento insufiente o de un mal uso del aparato, como como del uso de accesorios inadequados.
- Danos de origen externo: incendidio, danos por agua, sobrecarga electrica, etc.
- Cualquier equipo que haya sido desmontado, incluso parcialmente, por personas que no estén autorizadas a hacerlo (en particular el usuario).
- Productos@cuyo numero de series falte, estedanado o sea ilegable, lo que no permitirsa su identificacion.
- Productos sujetos a alquiler, demostración o exposión.
(*) Algunas piezas de su aparato, conocidas como piezas de desgaste o consumibles, se deterioran con el tiempo y la Frequencia de uso de su aparato. Este desgaste es normal, pero puedeaccentuarse por las malas conditiones de uso o deostenimiento de su aparato. Por lo tanto, estas piezas no está cubiertas por la garantía.
Los accesos suministrados con el aparato también está excluidos de la garantía. No se pueda携带 ni reembolsar. No obstarce, algunos accesos你能 adquirirse directamente en nuestros situio web: https://sav.hkoenig.com/
MEDIO AMBIENTE
ATENCION:

No se deshaga de este producto como lo hace conthers Productos del hogar. Existe un systema selectivo de colecta de este producto puesto en marcha por las comunidades, debe de informarse en su ayuntamento acerca de los lugares en los que pueda depositar este producto. De着他o, los productos electricos y electronicos peuvent contener
substancias peligrosas queienen efectos nefastos para el medio ambiente o para la salute humana y deben ser reciclados. El*simboloAquipresenteindicaque losequiposelectricosoelectricondeben de ser ciuidadosamente seleccionados,representa un recipiente de basura con ruedas marcado conunaX.
Adeva SAS / H.Koenig Europe - 8 rue Marc Seguin, 77290 Mitry-Mory, France www.hkoenig.com - https://sac.hkoenig.com/ - Tél: +33 1 64 67 00 05
ManualFácil