SAPHIR N°880109 - Piscina TRIGANO - Manual de uso y guía de instrucciones gratis
Encuentra gratis el manual del aparato SAPHIR N°880109 TRIGANO en formato PDF.
| Tipo de piscina | Elevada redonda |
| Forma | Redonda |
| Material | Acero con recubrimiento |
| Altura | No especificado |
| Diámetro | No especificado |
| Capacidad de agua | No especificado |
| Instalación | Autoportante, montaje por paneles |
| Tipo de filtración | No especificado |
| Accesorios incluidos | No especificado |
| Mantenimiento | Limpieza regular recomendada |
| Uso | Uso familiar y recreativo |
| Garantía | No especificado |
| Peso | No especificado |
| Color | Blanco / Gris claro |
| Resistencia a la intemperie | Sí |
| Montaje | Manual multilingüe incluido |
Preguntas de los usuarios sobre SAPHIR N°880109 TRIGANO
0 pregunta sobre este aparato. Responde a las que conoces o haz la tuya.
Hacer una nueva pregunta sobre este aparato
Descarga las instrucciones para tu Piscina en formato PDF gratis! Encuentra tus instrucciones SAPHIR N°880109 - TRIGANO y toma tu dispositivo electrónico nuevamente en la mano. En esta página están publicados todos los documentos necesarios para el uso de su dispositivo. SAPHIR N°880109 de la marca TRIGANO.
MANUAL DE USUARIO SAPHIR N°880109 TRIGANO
Lea atentamente estas instrucciones y conservelas para poder consultarlas posterioriamente. Internacionalmente, como el general de la juncea, esgravece a los componentes (skimmer, bajo, etc.).
El montaje de ser realizado poradultos (dos personas como minimumo) siguiendo obligatoriamente las instrucciones de preparacion y de montaje (calcular aproximadamente un dia de montaje, sinatar loseworkos eventuales de preparacion del terreno y de llenado).
Si la piscina está equipada con una escalera, le acontejos que la monte antes de montar la piscina. El uso de un kit de piscina implica respetar las instrucciones de seguridad descritas en el manual de mantenimiento y de UTILIZACION.
Antes de montar la piscina realice, si fuera necessario, las declaraciones (ayuntamento, etc.) y other gestiones (seguros, etc.) pertinentes para Obtener las autorizaciones y así poder llvar a cabo el projecto del que se hará responsable.
ATENCIón
- No comience nunca el montaje cuando haya vientos fuertes, puis sera extremadamente dificil Manipular la pared.
- Apriete bien todos los tornillos. Si quedan mal apretados, la estructura pueda romperse.
- Manipule el liner de PVC con cuidado durante el montaje. No utilize un cuchillo para abrir la caja de cartón y evite la presencia de objetos cortantes en las inmediaciones.
No nos responsabilizamos en caso de que no se sigan las instrucciones de montaie
ÍNDICE
- Información general 26
- Composión de la piscina 27
- Tornilleria de la estructura (excepto la pared) 28
- Herramentas y materiales你需要 para el montaje (no incluidos en el kit) 28
- Preparación del terreno 29
- Montaje de los perfiles de plástico en los postes 30
- Montaje de los raíles inferiores 30
- Instalacion de la pared 31
- Instalacion del liner (realizarla descalzo) 32
- Llenado de la piscina 32
- Instalación de los bordes perimetrales y piezas de recubrimiento 33
- Filtración 33
- Consejos de mantenimiento y uso.......... 35
- Desmontaje de la piscina 36
- Consejos de seguridad 36
- Consejos para la hibernacion 37
- Garantía 37
Lea detenidamente y conserve la hoja de control de calidad de la piscina para futuras referencias.
Indique en este recuadro la referencia de su piscina pararialquier solicitud posterior de serviceo posventa.
1. Información general
Le recomendamos encarecidamente que instale la piscina sobre una losa de hormigón armado de 10 cm de grosor. Sin embargo, es possible montarla en un terreno estabilazo respetando todos los pasos de las instrucciones.
- Composión de la piscina
| VARUNA Antracita | Dimensiones exteriores borde perimetral | 3,90 m | 4,85 m | 5,75 m | |
| Dimensiones pared | 3.60m | 4.60m | 5.50m | ||
| Altura piscina | 1,32m | 1,32m | 1,32m | ||
| COMPOSIÇÃO | Referencia | ||||
| Pared y tornilleria | x | x | x | ||
| Escalera | x | x | x | ||
| Liner | x | x | x | ||
| Sistema de filtración en 1 o 3 paquetes (cuba+bomba+válvula) | x | x | x | ||
| PAQUETE SKIMMER | |||||
| Conjunto skimmer | 1 | 1 | 1 | ||
| 2 tubos flexibles anillados de 4,50m | 1 | 1 | 1 | ||
| Bolsa de 20 perforles grises 1280mm | 880341 | 1 | 1 | 1 | |
| Bolsa de 4 perforles grises 1280mm | 880342 | 1 | |||
| PAQUETE (GH-EX-2) | |||||
| Borde perimetral 1126mm | 1161G | 10 | |||
| Borde perimetral 1429mm | 1164G | 10 | 12 | ||
| Poste vertical 1209 mm | 2366G | 10 | 10 | 12 | |
| Perfil de plástico superior (fijación liner) | 8100 | 9 | 11 | 14 | |
| PAQUETE (5/8RAIL-2) | |||||
| Rail metalico inferior y superior 1130mm. | 1212 | 20 | |||
| Rail metalico inferior y superior 1431mm. | 1615 | 20 | |||
| Rail metalico inferior y superior 1431mm. | 1618 | 24 | |||
| PAQUETE (GP-EX-3) | |||||
| Placa de unión superior | 2168 | 10 | 10 | 12 | |
| Placa de unión inferior | 2268 | 10 | 10 | 12 | |
| Pieza de recubrimiento del borde perimetral | 2463G | 10 | 10 | 12 | |
| Soporte pieza de recubrimiento borde perimetral exterior | 2464G | 10 | 10 | 12 | |
| Tornillo cruciforme | 0341 | 110 | 110 | 132 | |
| Embellecedor tornillos plástico | 2402G | 10 | 10 | 12 | |
| SAPHIR Blanca | Dimensiones exteriores borde perimetral | 3,30 m | 3,90 m | 4,85 m | 5,75 m |
| Dimensiones pared | 3m | 3.60m | 4.60m | 5.50m | |
| Altura piscina | 1,2 m | 1,2 m | 1,32 m | 1,32 m | |
| COMPOSIÇÃO | Referencia | ||||
| Pared y tornilleria | x | x | x | x | |
| Escalera | x | x | x | x | |
| Liner | x | x | x | x | |
| Sistema de filtración en 1 o 3 paquetes (cuba+bomba+válvula) | x | x | x | x | |
| PAQUETE SKIMMER | |||||
| Conjunto skimmer | 1 | 1 | 1 | 1 | |
| 2 tubos flexibles anillados de 4,50m | 1 | 1 | 1 | 1 | |
| Bolsa de 20 perforles blancos 1280mm | 880344 | 1 | 1 | 1 | |
| Bolsa de 4 perforles blancos 1280mm | 880346 | 1 | |||
| Bolsa de 20 perforles blancos 1180mm | 880343 | 1 | 1 | 1 | |
| Bolsa de 4 perforles blancos 1180mm | 880345 | ||||
| PAQUETE (6H-WS-2) | |||||
| Borde perimetral 1126mm | 1161 | 10 | 10 | ||
| Borde perimetral 1132mm | 1160 | 8 | |||
| Borde perimetral 1429mm | 1164 | 10 | 10 | ||
| Poste vertical 1209mm | 2363 | 8 | 10 | 10 | |
| Poste vertical 1309mm | 2366 | 10 | 10 | 10 | |
| Perfil de plástico superior (fijación liner) | 8100 | 8 | 9 | 11 | 11 |
| PAQUETE (5/8RAIL-2) | |||||
| Rail metalico inferior y superior 1140mm. | 1210 | 16 | |||
| Rail metalico inferior y superior 1130mm. | 1212 | 20 | |||
| Rail metalico inferior y superior 1431mm. | 1615 | 20 | |||
| Rail metalico inferior y superior 1431mm. | 1618 | 24 | |||
| PAQUETE (GP-WS-3) | |||||
| Placa de unión superior | 2168 | 8 | 10 | 10 | 12 |
| Placa de unión inferior | 2268 | 8 | 10 | 10 | 12 |
| Pieza de recubrimiento del borde perimetral | 2463 | 8 | 10 | 10 | 12 |
| Soporte pieza de recubrimiento borde perimetral exterior | 2464 | 8 | 10 | 10 | 12 |
| Tornillo cruciforme Ø5x18 | 0341 | 88 | 110 | 110 | 132 |
| Embellecedor tornillos plástico Ø22x15 | 2402 | 8 | 10 | 10 | 12 |
| Referencia | Cantidad | |
| Bolsa de tornillos pared | 880125 | |
| Tornillo M6 | 121000 | 33 |
| Tuerca M6 | 121510 | 33 |
| Arandela M6 | 121610 | 33 |
| CANYON Marrón | Dimensiones exteriores borde perimetral | 3,30 m | 3,90 m | 4,85 m | 5,75 m |
| Dimensiones pared | 3m | 3.60m | 4.60m | 5.50m | |
| Altura piscina | 1,2m | 1,2m | 1,2m | 1,2m | |
| COMPOSICION | |||||
| Pared y tornillería | x | x | x | x | |
| Escalera | x | x | x | x | |
| Liner | x | x | x | x | |
| Sistema de filtración en 1 o 3 paquetes (cuba+bomba+válvula) | x | x | x | x | |
| PAQUETE SKIMMER | |||||
| Conjunto skimmer | 1 | 1 | 1 | 1 | |
| 2 tubos flexibles anillados de 4,50m | 1 | 1 | 1 | 1 | |
| Bolsa de 20 perforles marrones 1180mm | 880347 | 1 | 1 | 1 | 1 |
| Bolsa de 4 perforles marrones 1180mm | 880350 | 1 | |||
| PAQUETE (6H-BX-2) | |||||
| Borde perimetral 1132mm | 1160M | 8 | |||
| Borde perimetral 1126mm | 1161M | 10 | |||
| Borde perimetral 1429mm | 1164M | 10 | 12 | ||
| Poste vertical 1209mm | 2363M | 8 | 10 | 10 | 12 |
| Perfil de plástico superior (fijación liner) | 8100 | 8 | 9 | 11 | 14 |
| PAQUETE (5/8BRAIL-2) | |||||
| Rail metalico inferior y superior 1140mm. | 1210 | 16 | |||
| Rail metalico inferior y superior 1130mm. | 1212 | 20 | |||
| Rail metalico inferior y superior 1431mm. | 1615 | 20 | |||
| Rail metalico inferior y superior 1431mm. | 1618 | 24 | |||
| PAQUETE (6P-BX-3) | |||||
| Placa de unión superior | 2168 | 8 | 10 | 10 | 12 |
| Placa de unión inferior | 2268 | 8 | 10 | 10 | 12 |
| Pieza de recubimiento del borde perimetral | 2463M | 8 | 10 | 10 | 12 |
| Soporte pieza de recubimiento borde perimetral exterior | 2464M | 8 | 10 | 10 | 12 |
| Tornillo cruciforme Ø5x18 | 0341 | 88 | 110 | 110 | 132 |
| Embellecedor tornillos plástico Ø22x15 | 2402M | 8 | 10 | 10 | 12 |
| Referencia | Cantidad | |
| Bolsa de tornillos pared | 880125 | |
| Tornillo M6 | 121000 | 33 |
| Tuerca M6 | 121510 | 33 |
| Arandela M6 | 121610 | 33 |
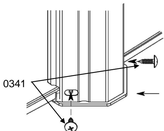
3. Tornillería de la estrutura (excepto la pared)
| Descripción | Referencia | |
| 18mm | Tornillo autroroscante Ø 5x18 | 0341 |
4. Herramentas y materiales你需要 para el montaje (no incluidos en el kit)
| ✓ Llaves de 10 y 14 ✓ Destornillador cruciforme y plano ✓ Atornillador / destornillador ✓ Martillo ✓ Cuerda ✓ Nivel de burbuja ✓ Pala / pico / rastrillo | ✓ Arena Fiona tamizada / tamiz ✓ Cizalla / Lima ✓ Producto antioxidante ✓ Tabla de madera ✓ Estacas ✓ Cinta métrica ✓ Alfombra ✓ Cinta adhesiva | ✓ Yeso o tiza ✓ Pinzas para la ropa ✓ Sierra de metal o cúter ✓ Placa de hormigón de 30x30x5 cm y/o bloques ✓ Hormigón ✓ Banda de poliestireno si se utilizes una losa ✓ Hormigón ✓ Cabios madera |
5. Preparación del terreno
5.1 Elección del terreno
IMPORTANTE: El terrrenoDebe estar totalmente plano, duro y nivelado. La diferencia de nivel no debe superar los 2 cm de un extremo al除外 de la piscina.
La piscina está destinada exclusivamente a ser colocada sobre el suelo.
La nivelacióndeferárealizarssiempre sobruesuo suelo firme y no sobruenterraplén.
■ Si el terreno está inclinado, habra que quitar tierra de la parte alta, noañadirla a la parte baja.
■ Cuando el terreno está bien nivelado, habra que quitar las piedras, las hierbas, las raíces y compactar bien la tierra. Si esta operación no se realiza correctamente, pueda que las hierbas y las raíces vuelvan a crecer bajo el liner y lo dañen. Debe extendarse una capa (de 1 a 1,5 cm) de arena muy Fiona y tamizada para nivelar toda la superficie.
Si coloca la piscina sobre una losa o suejo cimentado, asegurese de que el nivel sea el correcto y de que el cemento no presenta irregularidades. Hormigón recomendado: 150 kg de cemento por m³ de arena mezclada con la hormigonera. Las dimensiones de la losa o del suejo cimentado deben ser superiores en 30 cm por lo menos en todo el contorno con respecto a las dimensiones de la piscina.
En todos los casos, es indispensable colocar la piscina sobre una alfombra que proteja elliner.
- La garantía solo sera正版a si elliner está bien protegado.
No olvide que la piscina llena de agua es muy pesada
- Deje espacio suficiente alrededor de la piscina para circular yUGCAR libramente.
■ Decida el lugar del filtro en función de las posibilidades de alimentación electrónica y, preferentemente, en elazo opuesto al viento predominante.

5.2 Volumen de las piscinas redondas
Los niveles indicados son dimensiones de la pared utiles para el trazado de la piscina y su volumen en el suelo (dimensiones con +/- 3%).
Debe utilizes:
- Estacas para realizar los limites de la piscina.
- Una esta unida a una cuerda de 6 metros aproximamente para trazar los contornos de la piscina.
- Arena, yeso o tiza para realizar los contornos de la piscina.

Las dimensiones de la losa deben ser superiores en 30 cm por lo menos en todo el contorno con Respecto a las dimensiones de la piscina.
6. Montaje de los perfiles de plástico en los postes
Antes de empezar a montar los postes, monte los perfiles de plástico en los postes.

7. Montaje de los raíles inferiores
En caso de que la piscina no se colque sobre una losa de hormigón, colque una plac de hormigón de uno 30 × 30 × 5 cm en cada punto de unión de los raíles inferiores. La cara superior de estas placas deberá quedar exactamente al nivel del suejo.
ATENCION: Es importante que la placa de union se apoye bien en toda su longitud en una placa plana. Lautilacion de una losa demasiado corta o la ausencia de losa podria hacer que la instalacion no fuera adecuada o provocar el derrumbe de la piscina.
Antes de empezar el ensamblaje de los railes inferiores de la piscina, colque la pared bajo del perímetro.

8. Instalación de la pared
ATENCLON: Una pared mal montada可以使 provocar el hundimiento de la piscina. No intente instalarla cuando hay a viento.
Utilice la escalera de piscina para entrada y salir de la piscina durante la instalación. Retire la pared de la caja y colóquela encima de la misma o encima de una tabla para que sea más fácil disenrollarla.
Asegúrese de que las zonas precortadas del skimmer queden situadas en la parte superior de la pared, con la aperture colocada mirando hacía el viento dominante, de forma que el viento se lleve las impurezas del skimmer.
Empiece por la mitad de una plac de unión de forma que los tornillos de fijación queden ocultados por un montante vertical. Unir los extremos de la chapa con tornillos y arandelas. Las cazas de los tornillos deben estar en el interior y las tuercas en el exterior. Debe asegurarse de que utilizes todos los orificios de fijación. Es muy importante averar bien los pernos para encontrar una unión sáida. Para proteger el liner,PEGUEAuna cinta de protección (cinta adhesiva) encima de los tornillos en el interior de la piscina.
IMPORTANTE: Para augmentar la estabilidad y la rigidez de la pared deben ir colocando de forma provisional los perfiles metálicos superiores y los postes verticales a medida que vaya avanzando.
Fije los soportes de las piezas de recubrimiento a los postes antes del montaje. En la parte inferior, fije los postes a su plaza de unión con la ayuda de 2 tornillos y, en la parte superior, fije los postes a su plaza de unión con 2 tornillos sin apretarlos Completely.






COLOCACION DE LA ALFOMBRA O DEL FIELTRO GEOTEXTIL (atencion: en algunos kits, la alfombra no se faculta)
Es importante hacer un terraplén de 8 a 10 cm (montúculo de arena final) alrededor de la base en el interior de la piscina, especiallya lo largo de los lados de la piscina, y cubrir toda la superficie de la piscina con una capa de 2 cm de arena. La arena evita que el liner se deslice debajo de la chapa y lo protege de partes salientes de la estructura de la piscina que podrian perforarlo.
Cubra el suejo preparado de este modo con un fieltro geotextil que ascienda de 10 a 12 cm por la pared. Pegue el fieltro en algunos+puntos de la pared con cinta adhesiva de doble cara. El fieltro geotextil evita la aparicio de hongos en elliner

CORTE DE LA PARED
Después de montar la pared, realice los recortes del skimmer y de la boquilla de impulsión con la ayud de una cigalla o unos alicates cortantes. Debe pulir los cortes y pagar un producto antioxidante. Le recomendamos que utilise guantes para realizar esta operation.
9. Instalación del liner (realizarla descalzo)
ATENCION:Esta operation es delicada y se debe realizar con mucho cuidado.
Se recomienda instalar el liner cuando la temperatura exterior está comprendida entre 18^ y 25^ . Utilice la escalera de piscina para entrada y salir de la piscina durante la instalacion. Despliegue el liner bajo de la piscina, extendiendo bien hasta el borde de la piscina. El lateral donde las soldaduras forman una parte lisa constituya la cara inferior delliner.
Después de retiring 2 o 3 raíles superiores en las partes curvas, empiece a subir el borde del liner por encima de la pared,øjándolo de 10 a 20 cm por encima por el exterior y sosteniéndolo temporallmente con pinzas para ropa o con los raíles previstos a tal efecto. No tense demasiado el liner. Para hacerlo, debeponer el fondo del liner en contacto con la base de la pared con el pie. Haga lo"Myimo en el bajo opuesto y luigo othero vez en ambos lados. Así,oulda procombar si el liner está bien centrado.NoDebe haber pliegues transversales.Continué subiendo el liner alrededor de la piscina sosteniéndolo con más pinzas.

Important!
El liner debe colocarse en el fondo obligatoriamente antes del llenado de la piscina.

Mal

Bien
10. Llenado de la piscina
ATENCIón: No utilise agua de recuperación (pozo, río, etc.).
Comience a llenar la piscina con 1 o 2 cm de agua. Extienda bien elliner en el fondo y quite los pliegues hacer que se "deslicen", con las manos planas, desde el centro de la piscina hacia el borde, hasta que desaparezcan totalmente. Cuando elliner esté bien colocado,oulda proceder a colocar perfiles de plástico y metálicos y las placas de unión. Corte el excedente delultimate perfor delplástico. Instale los railes superiores,quedeferan situarse encima de los railes inferiores y cierre, sin fjarlas, las placas de unión sobre los railes.
Hasta una.altura de 20~cm de agua,debe mantenerse circa de la piscina o enella.Por el interior,realizarando golpecitos en la base,colque la pared sobre eltrazado en el suejo.En esta fase,si el liner está extendido correctamente,puedefijar definitivamente las placas de union apretando los tornillos de fijacion.
A la hora de instalar el skimmer y la boquilla de impulsión, deben tenerse en cuenta la posición de las zonas de corte del liner antes de llenar totalmente la piscina (ver capítulo 12: «Filtración»).

11.Instalación de los bordes perimetrales y piezas de recubrimiento
Los cordes perimetrales tienen un sentido de montaje. La parte más grandeDebe estar en la parte exterior.
Los bordes perimetrales están situados entre los pilares.
Cada extremo del borde perimetral se fija en una plac a superior o en una plac de union con tornillos. Puede ser necessario desplazar ligeramente los postes a izquierda o derecha para instalar el borde perimetral. No bloquee los tornillos hasta que todos esten colocados.
Adapte las piezas de recubrimiento por encima de los extremos de los bordes perimetrales, centrandolas. La parte estrecha de la pieza de recubrimiento se sitúa en el bajo inferior de la piscina.

12. Fístracción
IMPORTANTE: Todas las filtraciones siguen la norma de instalacion NF C 15-100 que estipula que todo aparato eletrico situado a menos de 3,50m de la piscina y de libre acceso debe alimentarse con una tension muy baja de 12V .
Todos los aparatos electricos alimentados con 220 V deben estar situados a una distancia superior a 3,50 m del borde de la piscina. Esto significa que:
- para una filtración, el aparato debe instalarse a más de 3,50 m de la piscina,
y para un skimmer filtrante (según los kits), el transformador debe encontrarse a más de 3,50 m de la piscina.
NOTA: Todas las uniones roscadas deben montarse con teflon, este debe estar enrollado en el sentido contrario del atornillado
Consulte al fabricante para cualquier modificacion de uno o variedes elementos delsystemadifltracion.
En funciona del medio filtrante utilizo, consulta las cantidades que se indicatean en la tabla para poderlas en la cuba.
PARA EL MONTAJE DEL FILTRO, CONSULTE LAS INSTRUCCIONES DE USO INCLUIDAS EN LA CAJA DEL FILTRO

| Tamaño de la filtración | Arena | Aqualoon |
| Filtración 4m3/h | 20 kg | 560 g |
| Filtración 6m3/h | 35 kg | 980 g |
| Filtración 8m3/h | 75 kg | 2100 g |
| Filtración 10m3/h | 75 kg | 2100 g |
| Filtración 12m3/h | 75 kg | 2100 g |
12.1 Colocación de la boquilla de impulsión
Cuando se monte la piscina que debarebecir la filtracion através de la pared,debenllavearse cabo las operacionessiguientes:
En el momento del llenado, cuando el nivel del agua de la piscina统计数据 to be 5 or 6 cm de la boquilla de impulsión, esta deben instalarse de la forma seguidente (croquis 1).
- Cortar el liner que obstruye la boquilla de impulsión con laapia de un cúter (croquis 2) y doblar sobre la pared los bordes cortados. Puede ayudarse colocando un pedazo de madera plano de apoyo en el liner por el(otherlado delazazone de corte.
- Por el interior de la piscina, coloque la junta de caucho y la boquilla de impulsión (croquis 3) y enrosque la tuerca de fijación por el exterior de la piscina.
- Enrosque la unión o la valvula de cierre (según modelos).
Cologne el tubo flexible anillado y la abrazadora para tubos.
- Conecte el tubo flexible anillado a la valvula (returno piscina) de la filtración (unión roscada con teflon y abrazadora para tubos).



12.2 Montaje del skimmer
Cuando el nivel del agua en la piscina está 5 o 6 cm por debajo del skimmer, montelo consultando el tipo de junta que incluye (simple o doble). (Esquema 4):
■ Presione el liner (con el capuchón de un bolígrafo, por exemple) para encontrar los orificios prerecortados de la chapa.
Perfore"These orificios con un destornillador cruciforme.
Cologne las jintas de goma segun el esquema 4.
■ Coloque la brida (o marco) sobre la junta de goma.
Atornille la brida a la chapa.
■ Enrosque la unión roscada o valvula de cierre (según el Modelo) con teflón, el tubo y la abrazadora para tubos en el skimmer.
Corte el liner que obstruyaeel skimmer por el interior de la piscina.
- Una el tubo flexible anillado del skimmer a la bomba de filtración.
- Dejar partir el nivel del agua hasta la mitad del skimmer.
- Compruebe la impermeabilitad y vuelva acretar los tornillos si fuera necessario.
- La impermeability totalsoleogetendrasedesperedeshaberapretado progresiva y regularamente todos los tornillos.
Para encontrar que la piscina sea totalmente impermeable, apriete todos los tornillos
ATENCION: Nunca apriete los tornillos del skimmer y de la boquilla de impulsión antes de que el agua llegue a uno centimetros de las piezas a colocar. Elliner debe estar bien tensado por la presión del agua.


Interior de la piscina Exterior de la piscina
13. Consejos de mantenimiento y utilización
Si no respeta las instruetiones deostenimiento可以使 provocar riesgos graves para la salute, especially para la de los niños.
FILTRACION
Para eliminar los materiales en suspENSION, es indispensable tener una buena filtracion. Durante la estacion de uso de la piscina, elistema de filtracion debeponerse en functionamento obligatoriamente cada dia, el tiempo necessario para asegurar al menos una renovacion del volumen del agua cada 24 horas (la duracion minima de filtracion se mide en function de la fecuencia y de la temperatura del agua). Se aconseja fraccionar el tiempo de la filtracion en 2 periodos (uno por lamana y other por la tarde).
| Medidas de la pared interior => | Ø 2,91 m | Ø 3,6 m | Ø 4,6 m | Ø 5,5 m | ||||||
| Volumen de agua | 10 m³ | 13 m³ | 21,5 m³ | 31 m³ | ||||||
| Capacidad de filtración | 3 m³/h | 4 m³/h | 3 m³/h | 4 m³/h | 6 m³/h | 3 m³/h | 4 m³/h | 6 m³/h | 6 m³/h | 8 m³/h |
| Tiempo de filtración por día. | 3 h 20 | 2 h 30 | 4 h 20 | 3 h 20 | 2 h 10 | 7 h 10 | 5 h 30 | 3 h 30 | 5 h 10 | 4 h |
Es obligatorio:
- Comprobar que los orificios de aspiración no estén bloqueados.
- Cambiar los elementos deteriorados. Utilizar exclusivamente piezas homologadas por el responsable de la commercialización.
- Detener la filtración durante las operaciones deostenimiento del sistemas de filtración.
■ Vigilar con regularidad el nivel de engrasamiento del filtro.
■ Consultar las instrucciones suministradas sobre el mantenimiento o el uso del sistemas de filtración.
Comprobar el nivel de llenado.
ACCESORIOS
Los siguientes accesos son indispensablees para un buena mantenimiento de la piscina: accesos para la superficie (p.ej.: red), accesos para el fondo, accesos de control y reparacion (p.ej.: kit de reparacion).
Antes de utiliser un robot, proceda a limpiar el medio filtrante de su sistemas de filtracion. Consute las instruetiones suministradas con su sistemas de filtracion. Compruebe también la potencia de filtracion necesaria para el buen configuraciono de este accesorio.
TRATAMENTO QUIMICO
El tratamiento del agua se compone de 3 operaciones:
■ Ajustar el pH del agua con laapia de un kit de analisis y de un corrector de pH. El pH (potencial de hidrógeno) indica hasta que punto un agua es acida o alcalina. Lo ideal para una agua de piscina es que esté lo más cerca del pH del liquido lacriminal, eskaar 7,4.
- Contralar la aparacion de las algas con la ayuda de un producto antialgas.
Desinfectar el agua con la ].a de productos clorados para asegurar la elimination de los microorganismos.
Estas operaciones de tratamento y de control se deben realizar al menos una vez pormana para asegurar una buena calidad del agua.
Los productos para el tratimiento del agua deben guardarse en un lugar seco, ventilado y fauna del alcance de los niños.
ATENCIón:
No ponga nunca cloro uOTHER producto directamente en la piscina, ya que possible dañar elliner.
CONSEJOS:
Coloque al pie de la escalera un recipiente lleno de agua para limpiarse los pies antes de entrada en la piscina.
- Una cubierta de lona térmica (cubierta de lona con burbujas) le permitirá disfrutarplenamente de la piscina ya que calentará el agua, evitará las perdidas de calor durante la noche, la caía de hojas e insectos en el agua y la evaporación del cloro.
No se zambulla ni canine sobre los brocales.
LLENADO Y VACIADO
Se aconsejahlenar la piscina de modo que el nivel de agua este por lo menos por la mitad del skimmer.
No se recomienda v(acar totalmente la piscina. En caso de absoluta necessities, el vaciado no debe realizarse cuando haya fuertes vientos y debe hacer lo mas rápido posible. No deje la piscina vacía durante más de 24 horas, ya que el liner pueda retraerse.
Casos particulares y sus tratimientos
Su piscina está equipada con un sistema de filtracion fisica que sirve para eliminar las impurezas de tipo insectos,Pelos, hojas... El tratamiento quimico, complementario al tratamento fisico, es indispensable para el buena mantenimiento del agua de bano. Si funciona con normalidad, con una limpieza seminal de la piscina es suficiente. Pero peut que se encontrar con un problema poco comun que podra resolver siguiendo las recomendaciones de la?siguesta tabla.
| TRATAMIENTO DEL AGUA: problemas y SOLUTIONES | ||
| Problemas | Causas | SOLUTIONES |
| • Agua turbia | Agua dura y presencia de partículas en suspensión | Ajuste el pHRealice un lavado del filtro (posición BACKWASH hasta que el agua evacuada hacía la alcantarilla está limpia con un filtro de arena. |
| • Olor a cloro • Irritación de los ojos y la nariz | pH demasiado alto Containido de claramina demasiado elevado | Ajuste el pH. Realice una cloración de你怎么e. Lave el filtro |
| • Agua verde • Paredes y sueño resbaladizos • Agua negra | Agua verde: Formación o proliferación de algas. Agua negra: presencia de materiaias orgánicas. | Cepille las paredes y la cesta del skimmer. Ajuste el pH. Realice un tratimiento de你怎么e con el producto adecuado y lave el filtró (consulte las instrucciones del aparato) |
| • Paredes rugosas | Agua dura | Elimine los depósitos con una escoba o un robot. Limpie la piscina y desincruste el filtró con los productos adecuados. Ajuste el pH. Añada un producto regulator de la dureza del agua. |
| • Línea de agua negra | Presencia de grasa y de residuos en la superficie. | Limpie la ligne de agua con un producto especialico. Noañada floculante con las bolas aqualoon |
14.Desmontaje de la piscina
Le aconsejamos que no desmonte la piscina. No obstarve, si fuera absolutamente requisiteo desmontarla, realice las sequencias de montaje en ordin inverso.
ATENCION: No levante el liner cuando está todoía lleno de agua.
Desmonte la piscina tomando las siguientes precauaciones:
Vacia le piscina por sifonado con una manguera o con la ayud de la bomba de filtracion.
Lave todos los elementos con un producto jabonoso.
No utilise products que contengan sosa para lavar elliner.
Enjuague con agua yooter todos los elementos (para evitar perforar el liner, limpiarlo unicamente en la propia piscina; el secado debe efectuarse a la sombra, lo antes possible. No exponerlos al aire de forma prolongada).
En caso de incidente (liner perforado), se possible reparar fácilmente, inclujo en el agua, con una cola especial para reparacion de liner.
■ Envuelva el liner bien seco (sin anadirle talco) en una bolsa de plástico opaca y colóquelo en una caja cerrada. Almacene el liner en un lugar seco, protegid o las heladas, los roedores y deequalquier contacto conuna fuente de calor.
Enrollar la pared sin plegarla y sutetarla con una cuerda.
15.Consejos de segundad
jLa seguridad de sus hijos depende solo de usted!
El riesgo es máximo cuando los niños tienen menos de 5 años. Los accidentes no les ocurren solamente a los demás! Prepárese para hacerles fremte!
No deje nunca que un niño se acerque solo al agua. Nunca pierda de vista a su hijo. Prohía el acceso a la piscina en caso de que el sistema de filtración está deteriorado.
Recordatorio de algunos reglas elementales de seguridad (esté atento y actue):
La vigilancia de los niños deben ser cercana y constante.
Elija a un solo responsable de la seguridad.
- Refuercé la vigilancia cuando haya varias personas utilizar la piscina.
No deja nunca a un niño solo cerca de la piscina.
No deja nunca a un niño que no sepa nadar sin la vigilancia de unadulto.
No deja nunca que un niño se bane solo.
- Coloque un equipo personal de flotacion (para alguien que no sepa nadar).
Coloquele a su hijo uno manguits o un flotador adaptado si está cerca de la piscina.
Coloque flotadores y pertigas al bajo de la piscina.
Enseña a nadar a sus hijos lo antes possible
Moje nuca, brazos y piernas antes de entrada en el agua.
No entre nunca en el agua de repente sobre todo afterwards de una comida, una exposión prolongada al sol o un esfuerzo intenseo.
Aprenda primeros auxilios y sobre todo aquellos especialicos para los niños.
Prohiba el buceo o los saltos en la piscina.
Prohíba que corran o que juguen en la piscina o en las inmediaciones.
No canine por los bordes ni se siente en ellos.
No trepe por la pared.
La escalera debe estar colocada sobre una base sólida y estar tiempo nivelada.
Siempre debe estar de cara a la escalera cuando salga o entre en la piscina.
No utilise nunca la escalera paraOthers fines que no sean entrar y salir de la piscina.No esta diseñada para zambullirse o para saltar.
La escalera debe quitarse cuando no sea el periodo de baños.
- No deja juguetesURTCA de la piscina ni en la piscina cuando no este vigilada.
Compruebe periodicante si todas las piezas de la piscina estan en Buen estado (ejemplo: manchas de oxido en los pernos y los tornillos).
Apriete o cambie los tornillos y las tuercas cuando sea requisite.
No modifique ni retire nunca las piezas ni perfore la piscina.
- Mantenga siempre el agua limpia y sana.
Noonga en functionamento el filtro cuando la piscina está en uso.
■ Siga escrupulosamente las instrucciones de instalacion y consulte las precauaciones de uso y de almacenimiento que aparecen en el
embalaje de los productos de tratamiento.
Guarde los productos de tratimiento del agua fuera del alcance de los niños.
■ Memorice ypongacerca de la piscina losnumeros de los primeros auxilios (bomberos, SAMU, centro de informacion toxicologica).
- Deje un téléphone accesible cerca de la piscina para noURTAR a los niños sin vigilancia cuandoonga querealizaruna llamada.
- Prohíba el acceso a la piscina en caso de deterioro del o de los sistemas de filtración.
Le recomendamos que asegure el acceso a la piscina mediante un elemento de proteccion. Los equipos citados mas abajo能把ir a la seguridad. En ningun caso sustituyen a una vigilancia cercana.
■ Barrera de proteccion (según el NF P 306) cuya puerta se mantendrá siempre cerrada (por exemple un seto no pueda considerarse una barrera).
Cubierta (según el NF P 308) o refugio de protección manual o automático (según el NF P 309) bien colocado y fjido.
- Detector electrónico de paso o de caía (según el NF P 307) en servicios y en funciona.
En caso de accidente:
Saque al niño del agua lo más=rápidopossible.
- Llame inmediamente pidiendo ahora y siga los consejos que le den.
- Bomba la ropa mojada por mantas calidas.
16. Consejos para la hibernación
No vacie la piscina.
- Quite las hojas, ramitas, insectos, etc. de la superficie. con una red.
Limpie el fondo de la piscina con un limpiafondos (o venturi).
- Controle el pH con un kit de control y ajustelo siaría necessities.
Ponga un producto de hibernacion en funcion del volumen de agua de la piscina (consulte el folleto explicativo del producto).
Ponga en funciona elentieth 4 horas aproximadamente.
Reduzca el nivel de agua por debajo de la abertura del skimmer.
Vaciauidadamente elGrupo de filtracion (bombay Cuba) y quardelo en un lugaronde no pueda sufrir heladas.
Coloque un tapón de ciderre en la boquilla de impulsión y retire los tubos (este articulo no se incluye en el kit).
■ Colque flotadores de hibernacion en el agua (no se incluyen). Evitaran que se ejerza demasiada presion en las paredes en caso de heladas.
Cubra la piscina con una cubierta de lona.
OBSERVACIONES: Si no cubre la piscina y el agua se congela, no rompa nunca el hielo que se haya formado. Cuando haya heladas, pueda colocar un objeto flotante en la piscina para que no se forme hielo.
17. Garantía
Nuestras piscinas tienen una garantía de 2 años para laestructura y los accesorios, contra todos los defectos de fabricación en conditiones normales de uso, excepto las piezas de desgaste.
Esta garantía se limita al intercambio de piezas defectuosas con el distribuidor.
Los liners solo tienen una garantía de dos años para los defectos de soldaduras (despegue). La garantía no se aplica a los orificios provocados por una Manipulación incorrecta en el montaje o un uso no adaptado de los productos de tratimiento. Los problemas de porosidad y de decoloración se deben a un uso abusivo o no adaptado de los productos de tratimiento. Los filtros tienen una garantía de dos años en conditiones normales de uso y respetando las instruciones de montaje excepto las juntas y las piezas de desgaste.
El producto original no suece modificarse. Solo deben utiliser piezas de repuestos de TRIGANO JARDIN. Acceda al suiviente
enlace para ponerse en contacto con el Servicio Posventa: http://sav.triganojardin.com
IMPORTANTE Para que la garantía sea正当, debe conservar obligatoriamente una prueba de compra con el sello del vendedor, asi como la Fecha de compra y la ficha del control de calidad. Es imprescindibleCambiar lo antes possible todos los elementos o Conjunto de elementos deteriorados. Utilizar exclusivamente piezas homologadas por TRIGANO JARDIN.
Gracias por adquirir una de nuestros piscinas. TRIGANO PISCINES.
Esta piscina tiene una calidad y fiabilidad exceptionales y esperamos que cumpla con sus expectativas.
ManualFácil