SAPHIR N°880109 - Zwembad TRIGANO - Gratis gebruiksaanwijzing en handleiding
Vind de handleiding van het apparaat gratis SAPHIR N°880109 TRIGANO in PDF-formaat.
Gebruikersvragen over SAPHIR N°880109 TRIGANO
0 vraag over dit apparaat. Beantwoord die u kent of stel uw eigen vraag.
Stel een nieuwe vraag over dit apparaat
Download de handleiding voor uw Zwembad in PDF-formaat gratis! Vind uw handleiding SAPHIR N°880109 - TRIGANO en neem uw elektronisch apparaat weer in handen. Op deze pagina staan alle documenten die nodig zijn voor het gebruik van uw apparaat. SAPHIR N°880109 van het merk TRIGANO.
GEBRUIKSAANWIJZING SAPHIR N°880109 TRIGANO
Lees deze handleiding aandachtig en bewaar hem voor latere raadpleging. Ook de handleidingen van de overige onderdelen (skimmer, filter, etc.)要去en bewaard worden.
De montage moet worden uitgevoerd door volwassenen (ten minste twee Personen). Daar bij moeten absolut de instructies voor Voorbereiding en montage gevolgd worden (reken op ongeveer tweeragen voor de montage, buiten eventuele graafwerkzaamheden en vullen met water).
Wij raden u aan om uw ladder te monteren voordat u uw zwembad monteert (als uw zwembad is voorzien van een ladder). Het gebruik van een zwembadset betekent ook dat de in de onderhouds- en gebruikershandleiding geveven veiligheidsvoorschriften in acht要去en worden genomen.
Ga zo nodig voordat u het zwembad monteert over tot meldingen (gemeente, ...) en onderneem overige stappen (verzekeringen, ...) voor het verkrijgen van een vergunning voor deuitvoering van uw plan waarvoor u de verantwoordelijkheid aanvaardt.
LET OP
- Voer de montage nooituit bij sterke wind,want dan is de wand heel lastig te hanteren.
- Draai alle schroeven goed aan. Het slecht aandraaien kan scheuren in de structuur verooorzaken.
- Hanteer de PVC-linerijdens de montage voorzichtig. Gebruik geen mes voor het openen van de doos en houd scherpe voorwerpen uit de buurt.
Wij wijzen alle aansprakelijkheid af indien de montage-instructies Niet zijn nageleefd
INHOUDSOPGAVE
- Algemeen 50
- Samenstelling van het zwembad 51
- Schroeven structuur (behalte wand) 52
- Benodigd gereedschap en materiaal voor de montage (niet meegeleverd bij de set)..52
- Het terrein voorbereiden 53
- Montage van de plastic profielen op de palen 54
- De ondderrails assembleren 54
- De wand installeren 55
- De liner installeren (uit te voeren met blote voeten) 56
- Het vullen van het zwembad 56
- De randen en de afdekkingen installereren 57
- Filtering 57
- Adviezen voor onderhoud en gebruik 59
- Demontage van het zwembad 60
- Veiligheidsadviezen 60
- Adviezen voor overwintering 61
- Garantie 61
Lees deze handleiding aandachtig en bewaar deze samen met het Kwaliteitstcontroleformulier van het zwembad voor latere raadpleging
Noteer hiernaast de referentie van uw zwembad voor eventuele latere vragen aan de klantenservice.
1. Algemeen
Wij raden u dringend aan om uw zwembad te installereren op een betonplaat van 10 cm dik. Het isECHTER moegelijk het zwembad op een stabiliseerde bodem te plaatsen, mits alle stappen van deze handledig goed in acht worden genomen.
2. Samenstelling van het zwembad
| VARUNA Antraciet | Buitenmaat zwembad met rand | 3,90 m | 4,85 m | 5,75 m | ||||
| Buitenmaat wand | 3.60m | 4.60m | 5.50m | |||||
| Hoopte zwembad | 1,32m | 1,32m | 1,32m | |||||
| SAMENSTELLING | Referentie | |||||||
| Wand + Schroefwerk | x | x | x | |||||
| Ladder | x | x | x | |||||
| Liner | x | x | x | |||||
| Filtersystem in 1 of 3 pakketten (vat+pomp+klep) | x | x | x | |||||
| PAKKET SKIMMER | ||||||||
| Skimmerset | 1 | 1 | 1 | |||||
| 2 geringde buizen van 4,50 m | 1 | 1 | 1 | |||||
| Zak met 20 grijze profielen 1280mm | 880341 | 1 | 1 | 1 | ||||
| Zak met 4 grijze profielen 1280mm | 880342 | 1 | ||||||
| PAKKET (6H-EX-2) | ||||||||
| Rand 1126mm | 1161G | 10 | ||||||
| Rand 1429mm | 1164G | 10 | 12 | |||||
| Paal verticaal 1209mm | 2366G | 10 | 10 | 12 | ||||
| Bovenste plastic profiel (bevestiging liner) | 8100 | 9 | 11 | 14 | ||||
| PAKKET (5/8 RAIL-2) | ||||||||
| Bovenste en onderste metalen rails 1130mm | 1212 | 20 | ||||||
| Bovenste en onderste metalen rails 1431mm | 1615 | 20 | ||||||
| Bovenste en onderste metalen rails 1431mm | 1618 | 24 | ||||||
| PAKKET (6P-EX-3) | ||||||||
| Bovenste koppelplaat | 2168 | 10 | 10 | 12 | ||||
| Onderste koppelplaat | 2268 | 10 | 10 | 12 | ||||
| Afdekking rand | 2463G | 10 | 10 | 12 | ||||
| Steen afdekking buitenrand | 2464G | 10 | 10 | 12 | ||||
| Kruiskopschoef | 0341 | 110 | 110 | 132 | ||||
| Plastic schroefafdekking | 2402G | 10 | 10 | 12 | ||||
| SAPHIR Wit | Buitenmaat zwembad met rand | 3,30 m | 3,90 m | 4,85 m | 5,75 m | |||
| Buitenmaat wand | 3m | 3.60m | 4.60m | 5.50m | ||||
| Hoopte zwembad | 1,2m | 1,2m | 1,32m | 1,2m | 1,32m | 1,32m | ||
| SAMENSTELLING | Referentie | |||||||
| Wand + Schroefwerk | x | x | x | x | ||||
| Ladder | x | x | x | x | ||||
| Liner | x | x | x | x | ||||
| Filtersystem in 1 of 3 pakketten (vat+pomp+klep) | x | x | x | x | ||||
| PAKKET SKIMMER | ||||||||
| Skimmerset | 1 | 1 | 1 | 1 | ||||
| 2 geringde buizen van 4,50m | 1 | 1 | 1 | 1 | ||||
| Zak van 20 witte profielen 1280mm | 880344 | 1 | 1 | 1 | ||||
| Zak van 4 witte profielen 1280mm | 880346 | 1 | ||||||
| Zak van 20 witte profielen 1180mm | 880343 | 1 | 1 | 1 | ||||
| Zak van 4 witte profielen 118 mm | 880345 | |||||||
| PAKKET (6H-WS-2) | ||||||||
| Rand 1126mm | 1161 | 10 | 10 | |||||
| Rand 1132mm | 1160 | 8 | ||||||
| Rand 1429mm | 1164 | 10 | 10 | 12 | ||||
| Paal verticaal 1209mm | 2363 | 8 | 10 | 10 | ||||
| Paal verticaal 1309mm | 2366 | 10 | 10 | 12 | ||||
| Bovenste plastic profiel (bevestiging liner) | 8100 | 8 | 9 | 9 | 11 | 11 | 14 | |
| PAKKET (5/8 RAIL-2) | ||||||||
| Bovenste en onderste metalen rails 1140mm | 1210 | 16 | ||||||
| Bovenste en onderste metalen rails 1130mm | 1212 | 20 | ||||||
| Bovenste en onderste metalen rails 1431mm | 1615 | 20 | ||||||
| Bovenste en onderste metalen rails 1431mm | 1618 | 24 | ||||||
| PAKKET (6P-WS-3) | ||||||||
| Bovenste koppelplaat | 2168 | 8 | 10 | 10 | 12 | |||
| Onderste koppelplaat | 2268 | 8 | 10 | 10 | 12 | |||
| Afdekking rand | 2463 | 8 | 10 | 10 | 12 | |||
| Steen afdekking buitenrand | 2464 | 8 | 10 | 10 | 12 | |||
| Kruiskopschroeff Ø 5x18 | 0341 | 88 | 110 | 110 | 132 | |||
| Plastic schroefafdekking Ø 22x15 | 2402 | 8 | 10 | 10 | 12 | |||
| Referentie | Aantal | |
| Zakje schroeven voor wand | 880125 | |
| Schroef M6 | 121000 | 33 |
| Moer M6 | 121510 | 33 |
| Ring M6 | 121610 | 33 |
| CANYON Bruin | Buitenmaat zwembad met rand | 3,30 m | 3,90 m | 4,85 m | 5,75 m | |
| Buitenmaat wand | 3m | 3.60m | 4.60m | 5.50m | ||
| Hoogte zwembad | 1,2m | 1,2m | 1,2m | 1,2m | ||
| SAMENSTELLING | Referentie | |||||
| Wand + Schroefwerk | x | x | x | x | ||
| Ladder | x | x | x | x | ||
| Liner | x | x | x | x | ||
| Filtersystem in 1 of 3 pakketten (vat+pomp+klep) | x | x | x | x | ||
| PAKKET SKIMMER | ||||||
| Skimmerset | 1 | 1 | 1 | 1 | ||
| 2 geringde buizen van 4,50m | 1 | 1 | 1 | 1 | ||
| Zak met 20 bruine profielen 1180mm | 880347 | 1 | 1 | 1 | 1 | |
| Zak met 4 bruine profielen 1180mm | 880350 | 1 | ||||
| PAKKET (6H-BX-2) | ||||||
| Rand 1132mm | 1160M | 8 | ||||
| Rand 1126mm | 1161M | 10 | ||||
| Rand 1429mm | 1164M | 10 | 12 | |||
| Paal verticaal 1209 mm | 2363M | 8 | 10 | 10 | 12 | |
| Bovenste plastic profiel (bevestiging liner) | 8100 | 8 | 9 | 11 | 14 | |
| PAKKET (5/8 RAIL-2) | ||||||
| Bovenste en onderste metalen rails 1140mm | 1210 | 16 | ||||
| Bovenste en onderste metalen rails 1130mm | 1212 | 20 | ||||
| Bovenste en onderste metalen rails 1431mm | 1615 | 20 | ||||
| Bovenste en onderste metalen rails 1431mm | 1618 | 24 | ||||
| PAKKET (6P-BX-3) | ||||||
| Bovenste koppelplaat | 2168 | 8 | 10 | 10 | 12 | |
| Onderste koppelplaat | 2268 | 8 | 10 | 10 | 12 | |
| Afdekking rand | 2463M | 8 | 10 | 10 | 12 | |
| Steu afdekking buitenrand | 2464M | 8 | 10 | 10 | 12 | |
| Kruiskopschroef Ø 5x18 | 0341 | 88 | 110 | 110 | 132 | |
| Plastic schroefafdekking Ø 22x15 | 2402M | 8 | 10 | 10 | 12 | |
| Referentie | Aantal | |
| Zakje schroeven voor wand | 880125 | |
| Schroef M6 | 121000 | 33 |
| Moer M6 | 121510 | 33 |
| Ring M6 | 121610 | 33 |
3. Schroeven structuur (behalte wand)
| Omschrijving | Referentie | |
| 18mm | Plaatschroeven Ø 5x18 | 0341 |
4. Benodigd gereedschap en materiaal voor de montage (niet meegeleverd bij de set)
| ✓ Sleutels 10 en 14 ✓ Kruiskop- en platte schroevendraier ✓ Schroefmachine ✓ Hamer ✓ Touw ✓ Waterpas ✓ schep, schoffel, hark ✓ Fijn gezeefd zand / Zeef | ✓ Plaatschaar / Vijl ✓ Antiroestmiddel ✓ Houten plank ✓ Piketpaaltjes ✓ Meetketting ✓ Vloerkleed ✓ Plakband ✓ Gips of krijt | ✓ Wasknjiper ✓ Metaalzaag of cutter ✓ Betonplaat 30 x 30 x 5 cm en/of holle blokken ✓ Beton ✓ Strook polystyreen in geval van tegels ✓ Beton ✓ Houten spanten |
5. Het terrein voorbereiden
5.1. Keuze van het terrein
BELANGRIJK: Het terrein moet volkommen plat, hard en waterpas+zijn. Tussen de ene kant van het zwembad en de andere mag Niet meer dan 2 cm hoogteverschil zitten.
Uw zwembad is uitsluitend bestemd voorplaatsing op de grond.
Het graafwerk要去 alsijd worden uitgevoerd op een vaste bodem en nicht in ophoogmaterialial.
■ Als het terrein op een helling ligt, moet altijd de aarde verwijderd worden van het hoge gedeelte; breng geen aarde aan op het lage gedeelte.
■ Als het terrein goed waterpas is, moeten stenen, onkruid en wortels verwijderd worden en de aarde goed aangestampt worden. Als dit Niet goed worden uitgevoerd, kuren het onkruid en wortels onder de liner waar gaan groeien en deze beschadigen. Een dunne laag van zeer fijn gezeefd zand (dikte 1 tot 1,5 cm) moet verspreid worden om het hele vloeroppervlak voor te bereiden.
■ Wanner u het zwembad installeert op een betonplaat of een cementbodem, ga dan na of deze waterpas is en of het cement Niet grof is. Voorgeschreven beton: 150 kg cement per m3 zand gemengd in de betonmolen. De afmetingen van de tegel of de cementbodem要去en ten minste 30 cm groter+zijn dan de hele omtrek van het zwembad.
In alle gevallen is het noodzakelijk om uw zwembad op een vloerkleed teplaatsen dat de liner zal beschermen.
- De garantie geldt alleen wanner de liner goed beschermd is.
Vergeet Niet dat het zwembad zeer zwaar is als het met water bevuld is.
Zorg voor voldoende ruimte rond het zwembad om eromheen te lopen en vrij te spelen.
- Bepaal de plaatsvoor het filter op basis van de möglichkheden voor aanvoer van elektriciteit en bij voorkeur gegenover de overheersende windrichting.

5.2. Benodigde ruimte voor Ronde zwembaden
De aangegeven maten zijn de maten voor de omtrek van het zwembad en de benodigde ruimte op de grond (afmetingen können +3% tot -3% afwijken).
Zorg ervoor dat u beschikt over:
- piketpaaltjes om de grenzen van het zwembad aan te gehen;
- een piketpaaltje aan een touw van ongeveer 6 meter om de contouren van het zwembad uit te zetten;
- zand, gips of krijt om de contouren van het zwembad aan te gehen.

De afmetingen van de tegel moeten ten minste 30 cm groter�n dan de hele omtrek van het zwembad.
6. Montage van de plastic profielen op de palen
Monteer eerst de plastic profielen op de palen voordat u de palen gaat monteren.

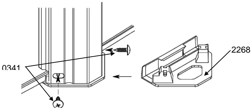
7. De onderrails assembleren
Wanner het zwembad Niet op een betonplaat komt te staan, plaats dan een betonplaat van ongeveer 30 × 30 × 5 cm op elk verbindingspunt van de onderrails. Deze tegels要去en zo liggen dat hun bovenkant precies gelijk ligt met het niveau van de bodem.
LET OP: Het is belangrijk dat het verbindingsplaatje met zijn hele oppervlak rust op een platte tegel. Door het gebruik van een tekleine tegel of het ontbreken waarvan kan de installmentie ongeschikt worden of het zwembad verzakken.
Leg de wand binnen de omtrek van het zwembad voor de assemblage van de onderste rails van het zwembad.

8. De wand installeren
LET OP: Een slecht gemonteerde plank kan verzakking van het zwembad veroorzaken. Probeer de plank Niet te installereren als het waait.
Gebruik de zwembadladder omijdens installment het zwembad in en uit te gaan. Haal de wand UIT de doos en leg deze op het karton of op een plank om het uitrollen te vergemakkelijken.
Let erop dat de uitsparing voor de skimmer aan de bovenkant van deplaat komt te zitten. Deze uitsparing要去 geplaatst worden gegenover de overheersende windrichting, zDat de wind de vuildeeltjes maar de skimmer blaast.
Begin in het midden van een koppelplaat zodat de bevestigingsbauten worden verborgen achefter een verticale staander. Bevestig de uiteinden van de planta aan elkaar met schroeven, moeren en ringen. De schroefkoppen要去en aan de binnenkant zitten en de moeren aan de buitenkant. Zorg ervoor dat u alle boutgaten gebruikt. Het is heel belangrijk dat de bouten goed vastgedraaid worden om een stevige aansluiting te krijgen. Plak een beschermingsstrook (zelfklevend) op de schroeven aan de binnenkant van het zwembad ter bescherming van de liner.
BELANGRIJK: Vergroot de stabiliteit en stijfheid van deplaat door provisorisch de bovenste metalen profielen en de verticale palen teplaatsen verwijl u vordert.
Bevestig de steunen voor de afdekking op de palen voordat u deze monteert. Zet de palen aan de onderkant met 2 schroeven vast op hun koppelplaat en zet ze aan de bovenkant vast aan hun koppelplaat met 2 schroeven zonder deze vast te draaien.




HET VLOERKLEED OF VILT VAN GEOTEXTIEL PLAATSEN (let op: in sommige sets is het vloerkleed Niet inbegrepen)
Het is belangrijk om een heuvel van 8 tot 10 cm vrijn zand aan te brengen op de binnenomtrek van het zwembad, vooral langs de zijkanten van het zwembad en om de hele bodem van het zwembad te bedekken met een laag zand van 2 cm. Het zand voorkomt dat de liner onder de plaat schuift en beschermt hem gegen de uitstekende delen van de structuur van het zwembad die hem zouden+kennen perforeren.
Bedek de op deze wijze voorbereide grond met vilt van geotextiel dat 10 tot 12 cm opstaat gegen de wand. Plak het vilt op enkeleplaatsen op de wand met dubbelzijdig plakband. Het vilt van geotextiel voorkomt dat er onder de liner paddenstoelen gaan groeien.

UITSPARINGEN MAKEN IN DE WAND
Maak na de montage van de wand de uitsparingen voor de skimmer en de inlaat met behulp van een plaatschaar of een snijtang. Vijl de uitsparingen en breng een antiroestmiddel aan. Wij raden u aan om handschoenen te dragenijdens het uitvoeren van deze handeling.
9. De liner installeren (uit te voeren met blote voeten)
LET OP: Deze handling is delicaat en moet zeer voorzichtig worden uitgevoerd.
Wij raden u aan de liner te plaatsen als de buitentemperatuur ligtussen 18^ en 25^ . Gebruik de zwembadladder om tijdens installmentie het zwembad in en uit te gaan. Vouw de liner in het zwembad uit en spreid hem goed uit tot de randen van het zwembad. De kant waar de lasnaden glad+zijn, is de binnenkant van de liner.
Verwijder eerst 2 of 3 rails aan de bovenkant in de gebogen gedeelten en trek de rand van de liner op tot 10 à 20 cm boven de buitenste rand. Zet hemijdelijk vast met wasknjpers of de waaroor bestemde rails. Span de liner Niet te veel. Om dit te bereiken要去 uw voeten de bodem van de liner maar de basis van deplaat duwen. Doe aan de overkant hetzelfde en op nog twee plekken. Hierdoor kunt u controleren of de liner goed gecentreerd is. Er mogen geen dwarsvouwen in zitten. Ga verder met het optrekken van de liner rond de hele omtrek van het zwembad en zet hem vast met andere knijpers.

Belangrijk!!!
De liner要去 beslist gegen de bodem liggen voordat het zwembad gezuld worden.

Fout

Goed
10. Het vullen van het zwembad
LET OP: Gebruik geen opgevangen water (putten, rivier ...)
Vul het zwembad eerst met 1 of 2 cm water. Spreid de liner goed uit over de bodem en werk de fouwen weg door ze met platte handenweg te wrijven' vanuit het midden van het zwembad waar de rand, tot ze helemaal weg+zijn. Wanner de liner op+zijn plaats zit, kunt u de plastic en metalen profielen en de koppelplaten gaan monteren. Snijd het overschot van het的那一 ste plastic profiel eraf. Installer de bovenste rails. Deze要去en loodrecht boven de onderste rails zitten. Klap de koppelplaten zonder dieze vast te zetten over de rails.
Blijf bij of in het zwembad tot het water 20 cm hoog staat. Zet vanaf de binnenkant deplaat met behulp van tikjes gegen de onderkant op de op de grond uitgezette lijn. In stadium kutn, als de liner goed gespannen is, de verbindingsplaatjes definitief bevestigen door de bevestigingsschroeven vast te draaien.
Maak voordat u het zwembad helemaal vult uitsnijdingen in de liner voor de installmentie van de skimmer en de inlaat (zie hoofdstuk 12: "Filtrering").

11. De randen en de afdekkingen installeren
De randen haben een montagerichting. Het breedste vlak要去 zich aan de buitenkant bevinden.
De randen worden:tussen de palen geplaatst.
Elk uiteinde van de rand worden met schroeven bevestigd op eenplaatje aan de bovenkant of een koppelplaat. Het kan nodig+zijn om de poten voorzichtig maar links ofaar rechts te verplaatsen om de rand te installereren. Blokkeer de schroeven pas als ze allemaal op hun plaats zitten.
Plaats de gecentreerde afdekstukken over de uiteinden van de randen. Het smalle deel van het afdekstuk bevindt zich aan de binnenkant van het zwembad.

12. Filtering
BELANGRIJK: Alle filtersystemen voldoen aan de Franse installationenorm NF C 15-100 waarin is bepaald dat elk elektrisch apparatusat dat zich op minder dan 3,50m van het bassin bevindt en vrij toegankelijk is op zeer lage spanning (12 V) gevoed moet worden.
Elk elektrische apparatus dat gevoed worden op 220 V moet zich op ten minste 3,50 m van de rand van het bassin bevinden. Dit betekent dat:
■ bij een filtrering het apparaat geinstalleerd要去 worden op meer dan 3,50m van het zwembad;
de transformator voor een filtrerende skimmer (volgens de sets) zich op meer dan 3,50m van het zwembad要去 bevinden.
OPMERKING:Alle bedrade aansluitingen要去en gemonteerd worden met teflon, dat opgerold要去 worden gegen de schroefrichting in
Vraag de fabrikant om advies voor elke wijziging van een of meer onderdelen van het filtersystem.
Houd u, afhankelijk van het gebruekte filtermedium, aan de hiernaast vermelde hoeveelheden voor de vulling van het vat.

| Grootte filter | Zand | Aqualoon-bol |
| Filtrering 4 m3/u | 20 kg | 560 g |
| Filtrering 6 m3/u | 35 kg | 980 g |
| Filtrering 8 m3/u | 75 kg | 2.100 g |
| Filtrering 10 m3/u | 75 kg | 2.100 g |
| Filtrering 12 m3/u | 75 kg | 2.100 g |
ZIE VOOR DE MONTAGE VAN HET FILTERGEDEELTE DE DAARBIJ BEHORENDE GEBRUIKSAANWIJZING DIE ZICH BEVINDT IN DE DOOS MET HET FILTER
12.1. De inlaat plaatsen
Tijdens de montage van het zwembad dat gefilterd worden door de wand heb,要去en de volgende handelingen worden uitgevoerd:
■ Wanner het waterniveau van het zwembad tijdens het vullen 5 of 6 cm onder de inlaat staat, installer们都 dan als volgt (afbeelding 1).
■ Snijd het stuk liner dat voor de inlaat zit weg met een cutter (afbeelding 2) en vouw de afgesneden randen terug op de wand. U kunt waar bij een plat stuk hout gebruiken dat u aan de achterkant van deuitsnijding gegen de liner duwt.
- Plaats vanaf de binnenkant van het zwembad de rubberen afdichting en de inlaat (afbeelding 3) en draai de knelmoer aan de buitenkant van het zwembad vast.
- Draai het koppelstuk of de aflsluiter vast (afhankelijk van het model).
Plaats de buis met ringen en de klembeugel.
- Verbind de buis met ringen met de klep (retour zwembad) van de filtrering (schroefverbinding met teflon en klembeugel).



12.2. De skimmerplaatsen
Monteer de skimmer als het waterniveau van het zwembad zich 5 of 6 cm onder de skimmer bevindt en gebruik het type afdichting dat bij uw skimmer zit (enkel of dubbel). (Afbeelding 4):
■ Zoek de voorgestanse gaten door op de liner te drukken (bijvoorbeeld met de dop van een balpen).
■ Prik deze gaten door met een kruskopschroevendraier.
Plaats de rubberen pakkingen volgens schema 4.
- Plaats de flens (of omlijsting) op de rubberen pakking.
Schroef de flens op deplaat.
Zet het koppelstuk met schroefdraad of de afsluiter (afhankelijk van het model) vast met teflon, buis en klem vast op de skimmer.
■ Snijd de liner die de skimmer verspert vanaf de binnenkant van het zwembad weg.
Sluit de buis met ringen van de skimmer aan op de filterpomp.
Laat het waterniveau stijgen tot halverwege de skimmer.
- Controller de waterdichtheid en draai zo nodsig de schroeven vaster.
- De definitieve waterdichtheid worden pas bereikt als alle schroeven langzamerhand en regelmatig opnieuw�n aangedraaid.
Draai alle schroeven opniew vast om een definitieve afdichting te bereiken.
LET OP: Draai de schroeven van de skimmer en de inlaat pas vast als het water enkele centimeters onder de te monteren onderdelen staat en Niet eerder. De liner要去 namelijk goed gespannen zijn door de waterdruk.


Binnenkant zwembad Buitenkant zwembad
13. Adviezen voor onderhoud en gebruik
Het Niet-naleven van de onderhoudsvoorschriften kan ernstige risico's opleveren voor de gezondheid, met name voor die van kinderen.
FILTRERING
Om zwevende deeltjes te verwijdenen is een goede filtrering onmisbaar. Tijdens het gebruikszeioen van het zwembad moet het filtersystem verplicht elke dag voldoende in werkung worden gesteld om ervoor te zorgen dat ten minste eenmaal per 24 uur het hele watervolume ververst worden (de minimum duur voor de filtrering hangt af van de watertemperatuur). Het worden aangeraden om de filtritt op te splitsen in 2 perioden (een 's ochtends en een 's avonds).
| Binnenmaat wand => | Ø 2,91 m | Ø 3,6 m | Ø 4,6 m | Ø 5,5 m | ||||||
| Watervolume | 10 m³ | 13 m³ | 21.5 m³ | 31 m³ | ||||||
| Filtercapaciteit | 3 m³/u | 4 m³/u | 3 m³/u | 4 m³/u | 6 m³/u | 3 m³/u | 4 m³/u | 6 m³/u | 6 m³/u | 8 m³/u |
| Duur filtrering per dag | 3.20 aur | 2.30 aur | 4.20 aur | 3.20 aur | 2.10 aur | 7.10 aur | 5.30 aur | 3.30 aur | 5.10 aur | 4 aur |
Het is verplicht:
- te controleren of de aanzuigopeningen Niet geblokkeerd zich.
■ beschadigde elementen te verrangen. Gebruik alleen onderdelen die goedgekeurd zich door degene die verantwoordelijk is voor het op de markt brengen van het product.
■ de filtrering stop te zetten als er onderhoud worden UITgevoerd aan het filtersystem.
regelmatig de mate van verstopping van het filter na te gaan.
Zie de meegeleverde handleiding van het filter voor het onderhoud en het gebruik van het filtersystem.
Het vulniveau te controleren.
ACCESSIONS
De volgende accessoires zijn onmisbaar voor een goed onderhoud van uw zwembad: accessoires voor het oppervlak (bijvoorbeeld: schepnetje), accessoires voor de bodem, accessoires voor controle en reparatie (bijvoorbeeld: reparietset). Reinig voor het gebruik van een robot het filterium in uw filtersystem. Zie de bij uw filtersystem meegeleverde instructies. Controller ook het benodigde filtervermogen voor een goede werkung van dit accessoire.
CHEMISCHE BEHANDELING
er zijn 3 handelingen nodig voor de behandeling van het water:
■ Aanpassing van de pH-waarde van het water met behulp van een analyseset en een pH-corrector. De pH-waarde (potential of hydrogen) geeft aan of en in welke mate het water zuur of basisch is. Het is ideaal als het zwembadwater een pH-waarde heeft dat zo zich可能导致 bij dat vanTRAANVocht ligt, namelijk 7,4.
Algen bestrijden met een anti-algenmiddel.
Desinfectie van het water met behulp van gechloreerde producten om micro-organismen te vernietigen.
Deze behandelingen en controles要去en ten minste eenmaal per week worden uitgevoerd om een goede waterkwaliteit te waarborgen.
Producten voor waterbehandeling moeten droog worden opgeslagen in een geventileerde ruimte en buiten bereik van kinderen.
LET OP:
Doe nooit chloor of een ander product direct in het zwembad, dit kan de liner beschadenig.
ADVIEZEN:
Zet aan de voet van de ladder een bak met water, zodate de voeten afgespoeld worden voordat u het zwembad in gaat.
Een thermisch dekkleed (dekkleed met luchtbellen) stelt u in staat om optimaal te genieten van uw zwembad, want dit verwarmt het water, voorkomt warmteverlies in de nacht en voorkomt dat bladeren en insecten in het water vallen en dat de chloor verdampt.
Duik Niet en loop Niet op de randen.
Het worden aangeraden om het zwembad zo ver te vullen dat het waterniveau ten minste halverwege de skimmer staat. Het worden afgeraden om het zwembad—helemaal leeg te lately lopen. Wanner dit absoluutoodzakelijk is mag het leeg lately lopen Niet worden uitgevoerd bij sterke wind en dit要去 zo snel möglichk worden gedaan. Laat het zwembad Niet langer dan 24 uu er, want daardoor kan de liner krimpen.
Bijzondere gevalen en de behandeling waarvan
Uw zwembad is uitergerust met een fysiek filtersystem dat bedoeld is om verontreinigingen zoals insecten, haren, bladeren te verwijderen. De chemische behandeling in aanvulling op de fysieke behandeling is onmisbaar voor het in goede staat houden van het zwemwater. Bij een normale werkking is een wekelijkke reiniging voldoende. U kut echter ongebruikelijke problemen gegenkomen die u kut oplossen door de aanbevelingen in de tabel hieronder op te volgen.
| WATERBEHANDELING: problemen en oplossingen | ||
| Problemen | Oorzaken | Oplossingen |
| • Troebel water | Hard water en aanwezigheid van zwevende deeltjes | Pas de pH-waarde aan Was het filter (stand BACKWASH) totdat het�de riolering afgevoerde water schoon is voor een zandfilter. |
| • Chloorgeur • Irratiele van ogen en neus | te hoge pH-waarde Te hoog chlooraminegehalte | Pas de pH-waarde aan. Geef het water een chloorboost. Voer een filterwassing UIT. |
| • Groen water • Gladde wanden en bodem • Bruin water | Groen water: algengroei. Bruin water: aanwezigheid van organisch materiaal. | Borstel de wanden en het skimmermandje. Pas de pH-waarde aan. Voer een schokbehandeling UIT met het geschikte middel en was het filter (zie handleiding van het filter) |
| • Ruwe wanden | Hard water | Verwijder de aanslag met een bezem of robot. Maak het bassin schoon en ontkalk het filter met geschikte middelen. Pas de pH-waarde aan. Voeg een middel toe om de waterhardheid te regelen. |
| • Zwarte waterlijn | Aanwezigheid van vet en aanslag op de waterlijn. | Reinig de waterlijn met een speciaal product. Voeg geen vlokmiddel toe aan de Aqualoon-bollen |
14. Demontage van het zwembad
Wij raden u ten zeerste af om het zwembad te demonteren. Indien dit城县 absoluutoodzakelijk is en u gedwongen bent het zwembad te demonteren, ga dan in de omgekeerde volgorde te werk als bij het monteren.
LET OP: Til de liner nicht op als deze nog bevuld is met water.
Neem voor het demoneren van het zwembad de volgende voorzorgsmaatregelen:
Maak het zwembad leeg door middel van overhevelen met een buis of met de pomp van de filtrering.
Was alle onderdelen met een sopje.
Gebruik geen producten die soda bevatten om de LINer te wassen.
Spel alle onderdelen met een waterstraal en droog ze af (reinig de liner alleen in het zwembad, om doorboring te voorkomen;\
deze dieren zo snel möglich in de schaduw te worden gedroogd. Stel de liner Niet langdurig bloot aan de lucht).
■ Bij een ongeluk (gat in de liner) kan deze gemakkelijk gerepareerd worden, zichs onder water, met een speciale reparatieijm voor liners.
Doe goed gedroogde liner (zonder hem met talkpoeder te bestrooien) in een ondoorzichtige plastic zak en doe deze in een gesloten doos. Sla de liner op een droge, vorstvrijpelek op zonder knaagdieren en vermijd elk contact met een warmtebron.
■ Rol de metalen wand op zonder hem te fouwen en houd hem bij elkaar met een touwtje.
15. Veiligheidsadviezen
Deeiligheid van uw kinderen is in uw handen!
Het risico is het grootst bij kinderenjonger dan 5aar. Ongelukken gebeuren Niet alleen bij andere! Zorg dat u voorbereid bent!
Laat een kind nooit alleen waar wat voor water dan ook gaan. Houd uw kind algtd in het oog. Verbied de toegang tot het bassin in geval van beschadiging van het filtersysteme of de filtersystemen.
Herhaling van enkele elementaire veiligheidsregels, houd toezicht en handel:
■ Kinderen要去en constant in de gaten worden gehonden.
■ Wijs een persoon aan als verantwoordelijke voor deeiligheid.
Zorg voor meer toezicht als er meerdere Personen in het zwembad+zijn.
Laat een kind nooit alleen in de buurt van een zwembad.
Laat een kind dat Niet kan zwemmen nooit zonder toezicht van volwassenen.
Laat een kind nooit alleen zwemmen.
Stel het gebruik van een persoonlijk drijfmiddel verplicht (voor iemand die nicht kan zwemmen).
Laat uw kind passende zwembandjes of een zwemriem dragen als het in de buurt van het zwembad is.
Zorg voor zwembanden en haken naast het zwembad.
Leer uw kinderen zo vroeg möglichk zwemmen.
Maak de nek, Armen en benen nat voordat u het water ingaat.
Ga nooit abrupt het water in, vooral Niet na een maaltijd, langdurig zonnebaden of intensieve inpanning.
Leer de levensreddende handelingen en vooral de op kinderen gerichte handelingen.
Verbied duiken en springen in het zwembad.
■ Verbied rennen en wilde spelletaljes in en om het zwembad.
- Loop Niet op de randen en ga er Niet op zitten.
- De ladder要去en stevige ondergrond en altoed waterpas staan.
Het gezicht要去altijdnaerde ladder gericht+zijnalsuhet zwembad in ofuit gaat.
- Gebruik de ladder nooit voor andere doeleinden dan waarvoort hij bestemd is, namelijk het zwembad in en uitgaan. De ladder is nicht gemaaakt om van af te duiken of springen.
■ Buiten de zwemperioden要去 de ladder verwijderd worden.
Laat geen spelgoed in het zwembad of in de buurt ervan liggen als hierop geen toezicht is.
■ Controller periodiek of alle onderdelen van het zwembad nog in goede staat verkeren (voorbeeld: sporen van roest op moeren en schroeven). Draai schroeven en moeren wee aan of verrang deze indien nodig.
■ Wijzig nooit onderdelen, verwijder nooit onderdelen en boor nooit gaten in het zwembad.
■ Zorg ervoor dat het water.altijdhelder en gezond is.
Laat het filtersystem nicht werken als het zwembad in gebruik is.
■ Volnauwgezet de richtlijnen voor installment op en houd u aan de Voorzorgsmaatregelen voor veilig gebruik en opslag die vermeld zich op de verpakking van de onderhoudsmiddelen.
Sla de producten voor waterbehandeling op buiten het bereik van kinderen.
Leer de noodnummers uit uw hoofd en vermeld deze in de buurt van het zwembad (voor Nederland: 112 nooddiensten antigifcentrum).
Zorg voor een telefoon binnen handbereik in de buurt van het zwembad en houd uw kinderen in het oog verwijl u aan de telefoon bent.
■ Verbied de toegang tot het bassin in geval van beschadiging van het filtersysteme of de filtersystemen.
Wij raden u aan de toegang tot het afgewerkte bassin te beveiligden met een beschemmingsmiddel. De hieronder genoemde voorzieningen konnen bijdragen aan de veilighheid. Ze verrangen in geen geval toezicht van nabij.
■ Beveiligingshek (volgens Franse norm NF P 306), waarvan de toegangspoort steeds gesloten is (een heg kan bijvoorbeeld nicht worden gezien als een hek).
■ Afdekzeil (volgens de Franse norm NF P 308) of handmatige of automatische beschermingskap (volgens de Franse norm NF P 309), correct geplaatst en vastbezet.
■ Elektrische bewegings- of valsensor (volgens de Franse norm NF P 307), in werkung en operationeel.
In geval van een ongeval:
Haal het kind zo snel mogelijk uit het water.
■ Bel onmiddelijk de hulpdiensten en volg de gegeven adviezen op.
Vervang natte kleding door warme dekens.
16.Adviezen voor overwintering
Maak uw zwembad Niet leeg.
■ Verwijder drijvende vuildeeltjes (blaadjes, takjes, insecten, enz.) met een schepnetje.
■ Reinig de bodem van het zwembad met een zuigborstel (of venturi).
- Controller de pH-waarde met een controleset en pas doit zo nodig aan.
■ Voeg een overwinteringsmiddel toe waar gelang het volume van het zwembad (zie de aanwijzingen op het etiket van het product).
Laat het filter onceveeer 4aar Draaien.
Laat het wateriveau zakken tot onder de opening van de skimmer.
Laat de filtergroep zorgvuldig leeglopen (pomp en vat) en berg deutsche vorstvrij op.
Doe een aflsuitdop op de inlaat en ontkoppel de buizen (product Niet meegeleverd in de set).
Leg winterdrijvers op het water (niet inbegren). Dit voorkomt een te grote druk op de wanden bij vorst.
Dek het zwembad af met een winterdekzeil.
OPMERKINGEN: Als u het zwembad Niet afdekt en het water bevriest, breek dan nooit het gezormde ijs. Bij strenge vorst kunt u een vrijend voorwerp in het zwembad leggen om de druk door de ijsvorming te verminderen.
17. Garantie
Op once zwembaden zit 2aar garantie op de structuur en accessoires gegen alle fabricagefouten onder normale gebruiksomstandigheden en nicht op slijtageonderdelen.
Deze garantie is beperkt tot de verwangbing bij uw dealer van de onderdelen waarvan erkend is dat deze defect+zijn.
Bij de liners geldt alleen een garantie van tweeJA op lasfouten (loslaten van de Ijm). De garantie geldt nicht voor gaten die vaak te wijten zijn aan een verkeerde hantering tijdens de montage of een onjuist gebruik van de behandelingsmiddelen. Problemen met poresheid en verkleuring zijn te wijten aan een verkeerd of Niet goed aangepast gebruik van behandelingsmiddelen. Op de filters zit tweeJA garantie onder normale gebruiksomstandigheden en mits de montagehandleiding gevolgd worden; de garantie geldt nicht voor pakkingen en slijtageonderdelen.
Het is Niet möglichk om het oorspronkelijke product te wijzigen. Gebruik alleen originele verrangende onderdelen van TRIGANO
JARDIN. Neem voor vragen aan de klantenservice contact op via het volgende adres: http://sav.triganojardin.com
BELANGRIJK! Voor de geldigheid van de garantie moet u het bewijs van aankoop bewaren met de stempel van de verkoper evenals de aankoopdatum en het kwaliteitst controleformulier. Het is verplicht om alle beschadigde onderdelen zo snel möglich te verrangen. Gebruik alleen door TRIGANO JARDIN goedgekeurde onderdelen.
Wij bedanken u voor en feliciteren u met de aankoop van een zwembad van TRIGANO PISCINES.
Dit zwembad garandeert u een uitzonderlijk goede kwaliteit en betrouwbaarheid en wij hopen dat het aan uw verwachtingen zal voldoen.
SimpelGids