SAPHIR N°880109 - Piscine TRIGANO - Notice d'utilisation et mode d'emploi gratuit
Retrouvez gratuitement la notice de l'appareil SAPHIR N°880109 TRIGANO au format PDF.
| Type de piscine | Hors-sol ronde |
| Forme | Ronde |
| Matériau | Acier avec revêtement |
| Hauteur | Non précisé |
| Diamètre | Non précisé |
| Capacité d'eau | Non précisé |
| Installation | Autoportante, montage par panneaux |
| Type de filtration | Non précisé |
| Accessoires inclus | Non précisé |
| Entretien | Nettoyage régulier recommandé |
| Utilisation | Usage familial et loisir |
| Garantie | Non précisé |
| Poids | Non précisé |
| Couleur | Blanc / Gris clair |
| Résistance aux intempéries | Oui |
| Montage | Notice multilingue incluse |
FOIRE AUX QUESTIONS - SAPHIR N°880109 TRIGANO
Questions des utilisateurs sur SAPHIR N°880109 TRIGANO
0 question sur cet appareil. Repondez a celles que vous connaissez ou posez la votre.
Poser une nouvelle question sur cet appareil
Téléchargez la notice de votre Piscine au format PDF gratuitement ! Retrouvez votre notice SAPHIR N°880109 - TRIGANO et reprennez votre appareil électronique en main. Sur cette page sont publiés tous les documents nécessaires à l'utilisation de votre appareil SAPHIR N°880109 de la marque TRIGANO.
MODE D'EMPLOI SAPHIR N°880109 TRIGANO
Cette notice est à litre attentivement et à conserver pour toute consultation ultérieure. De même que les notices des autres constituents (skimmer, filtré, etc...) sont également à conserver.
Le montage doit être effectué par des adultes (deux personnes minimum) en suivant impératifement les instructions de préparation et de montage (compter environ une journée de montage hors éventuels travaux de terrassement et de mise en eau).
Nous vous conseillons de monter votre échelle avant de monter votre piscine (si votre piscine est équipée d'une échelle). L'utilisation d'un kit piscine implique le respect des consignes de sécurité décrites dans la notice d'entretien et d'utilisation.
Avant le montage de votre piscine, procéder si nécessaire, aux déclarations (mairie,...) et aux autres démarches (assurances, ...) en vue de l'obtention des autorisations pour la réalisation de votre projet dont vous assumez la responsabilité.
ATTENTION
- Ne jamais entreprises le montage par grand vent car la paroi sera très difficile à manipuler.
- Bien serrer toutes les vis. Un mauvais serrage peut provoquer unerupture de la structure.
- Manipuler le liner en PVC avec précaution durant le montage. N'utilise pas de couteau pour l'ouverture du carton et évitez la présence d'objets tranchants à proximité.
Nous déclinons toute responsabilité en cas de non-respect des instructions de montage
SOMMAIRE
- Généralités 2
- Composition de la piscine 3
- Visserie structure (hors paroi) 4
- Outillage et matériaux nécessaires au montage (non fournis dans le kit). 4
- Préparation du terrain 5
- Montage des profilés plastiques sur les poteaux 6
- Assemblage des rails inférieurs 6
- Installation de la paroi 7
- Installation du liner (installation à faire pieds nus) 8
- Remplissage de la piscine 8
- Installation des margelles et pieces de recouvrement 9
- Filtration 9
- Conseils d'entretien et d'utilisation 11
- Démontage de la piscine 12
- Conseils de sécurité 12
- Conseils d'hivernage 13
- Garantie 13
A litre attentivement et à conserver avec la Fiche Contrôle Qualité de la piscine pour consultation ultérieure
Veuillez reporter ci-dessous la referece de sua piscine pour touta demande ulterieure de service apres-vente.
1. Généralités
Nous vous conseillons vivement d'installer votre piscine sur une dalle béton armée de 10cm d'épaissur. Toutefois, il possible de la monter sur un sol stabilisé en respectant bien toutes les étapes de la présente notice.
2. Composition de la piscine
| VARUNA Anthracite | Dimensions extérieures margelles | 3.90m | 4.85m | 5.75m | |
| Dimensions paroi | 3.60m | 4.60m | 5.50m | ||
| Hauteur piscine | 1,32m | 1,32m | 1,32m | ||
| COMPOSITION | Référence | ||||
| Paroi + Visserie | x | x | x | ||
| Echelle | x | x | x | ||
| Liner | x | x | x | ||
| Système de filtration en 1 ou 3 colis (cuve+pompe+vanne) | x | x | x | ||
| COLIS SKIMMER | |||||
| Ensemble skimmer | 1 | 1 | 1 | ||
| 2 tuyaux annelés de 4m50 | 1 | 1 | 1 | ||
| Sac de 20 profilés gris 1280mm | 880341 | 1 | 1 | 1 | |
| Sac de 4 profilés gris 1280mm | 880342 | 1 | |||
| COLIS (6H-EX-2) | |||||
| Margelle 1126mm | 1161G | 10 | |||
| Margelle 1429mm | 1164G | 10 | 12 | ||
| Poteau vertical 1209mm | 2366G | 10 | 10 | 12 | |
| Profilé plastique supérieur (fixation liner) | 8100 | 9 | 11 | 14 | |
| COLIS (5/8RAIL-2) | |||||
| Rail métallique inférieur et supérieur 1130mm | 1212 | 20 | |||
| Rail métallique inférieur et supérieur 1431mm | 1615 | 20 | |||
| Rail métallique inférieur et supérieur 1431mm | 1618 | 24 | |||
| COLIS (6P-EX-3) | |||||
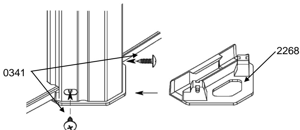
| Plaque de raccord supérieure | 2168 | 10 | 10 | 12 | |
| Plaque de raccord inférieure | 2268 | 10 | 10 | 12 | |
| Pièce de recouvrement margelle | 2463G | 10 | 10 | 12 | |
| Support pièce de recouvrement margelle extérieure | 2464G | 10 | 10 | 12 | |
| Vis cruciforme | 0341 | 110 | 110 | 132 | |
| Cache vis plastique | 2402G | 10 | 10 | 12 | |
| SAPHIR Blanche | Dimensions extérieures margelles | 3.30m | 3.90m | 4.85m | 5.75m | ||
| Dimensions paroi | 3m | 3.60m | 4.60m | 5.50m | |||
| Hauteur piscine | 1,2m | 1,2m | 1,32m | 1,2m | 1,32m | 1,32m | |
| COMPOSITION Rétérence | |||||||
| Paroi + Visserie | x | x | x | x | |||
| Echelle | x | x | x | x | |||
| Liner | x | x | x | x | |||
| Système de filtration en 1 ou 3 colis (cuve+pompe+vanne) | x | x | x | x | |||
| COLIS SKIMMER | |||||||
| Ensemble skimmer | 1 | 1 | 1 | 1 | |||
| 2 tuyaux annelés de 4m50 | 1 | 1 | 1 | 1 | |||
| Sac de 20 profilés blanc 1280mm | 880344 | 1 | 1 | 1 | |||
| Sac de 4 profilés blanc 1280mm | 880346 | 1 | |||||
| Sac de 20 profilés blanc 1180mm | 880343 | 1 | 1 | 1 | |||
| Sac de 4 profilés blanc 1180mm | 880345 | ||||||
| COLIS (6H-WS-2) | |||||||
| Margelle 1126mm | 1161 | 10 | 10 | ||||
| Margelle 1132mm | 1160 | 8 | |||||
| Margelle 1429mm | 1164 | 10 | 10 | 12 | |||
| Poteau vertical 1209mm | 2363 | 8 | 10 | 10 | |||
| Poteau vertical 1309mm | 2366 | 10 | 10 | 12 | |||
| Profilé plastique supérieur (fixation liner) | 8100 | 8 | 9 | 9 | 11 | 11 | 14 |
| COLIS (5/8RAIL-2) | |||||||
| Rail métallique inférieur et supérieur 1140mm | 1210 | 16 | |||||
| Rail métallique inférieur et supérieur 1130mm | 1212 | 20 | |||||
| Rail métallique inférieur et supérieur 1431mm | 1615 | 20 | |||||
| Rail métallique inférieur et supérieur 1431mm | 1618 | 24 | |||||
| COLIS (6P-WS-3) | |||||||
| Plaque de raccord supérieure | 2168 | 8 | 10 | 10 | 12 | ||
| Plaque de raccord inférieure | 2268 | 8 | 10 | 10 | 12 | ||
| Pièce de recouvrement margelle | 2463 | 8 | 10 | 10 | 12 | ||
| Support pièce de recouvrement margelle extérieure | 2464 | 8 | 10 | 10 | 12 | ||
| Vis cruciforme Ø5x18 | 0341 | 88 | 110 | 110 | 132 | ||
| Cache vis plastique Ø22x15 | 2402 | 8 | 10 | 10 | 12 | ||
| Référence | Quantité | |
| Sachet visserie paroi | 880125 | |
| Vis M6 | 121000 | 33 |
| Ecrou M6 | 121510 | 33 |
| Rondelle M6 | 121610 | 33 |
| CANYONMarron | Dimensions extérieuresmargilles | 3.30m | 3.90m | 4.85m | 5.75m | |
| Dimensions paroi | 3m | 3.60m | 4.60m | 5.50m | ||
| Hauteur piscine | 1,2m | 1,2m | 1,2m | 1,2m | ||
| COMPOSITION | ||||||
| Paroi + Visserie | x | x | x | x | ||
| Echelle | x | x | x | x | ||
| Liner | x | x | x | x | ||
| Système de filtration en 1 ou 3 colis(cuve+pompe+vanne) | x | x | x | x | ||
| COLIS SKIMMER | ||||||
| Ensemble skimmer | 1 | 1 | 1 | 1 | ||
| 2 tuyaux annelés de 4m50 | 1 | 1 | 1 | 1 | ||
| Sac de 20 profilés marron 1180mm | 880347 | 1 | 1 | 1 | 1 | |
| Sac de 4 profilés marron 1180mm | 880350 | 1 | ||||
| COLIS (6H-BX-2) | ||||||
| Margelle 1132mm | 1160M | 8 | ||||
| Margelle 1126mm | 1161M | 10 | ||||
| Margelle 1429mm | 1164M | 10 | 12 | |||
| Poteau vertical 1209mm | 2363M | 8 | 10 | 10 | 12 | |
| Profilé plastique supérieur (fixation liner) | 8100 | 8 | 9 | 11 | 14 | |
| COLIS (5/8RAIL-2) | ||||||
| Rail métallique inférieur et supérieur 1140mm | 1210 | 16 | ||||
| Rail métallique inférieur et supérieur 1130mm | 1212 | 20 | ||||
| Rail métallique inférieur et supérieur 1431mm | 1615 | 20 | ||||
| Rail métallique inférieur et supérieur 1431mm | 1618 | 24 | ||||
| COLIS (6P-BX-3) | ||||||
| Plaque de raccord supérieure | 2168 | 8 | 10 | 10 | 12 | |
| Plaque de raccord inférieure | 2268 | 8 | 10 | 10 | 12 | |
| Pièce de recouvrement margelle | 2463M | 8 | 10 | 10 | 12 | |
| Support pièce de recouvrement margelle extérieure | 2464M | 8 | 10 | 10 | 12 | |
| Vis cruciforme Ø5x18 | 0341 | 88 | 110 | 110 | 132 | |
| Cache vis plastique Ø22x15 | 2402M | 8 | 10 | 10 | 12 | |
| Référence | Quantité | |
| Sachet visserie paroi | 880125 | |
| Vis M6 | 121000 | 33 |
| Ecrou M6 | 121510 | 33 |
| Rondelle M6 | 121610 | 33 |
3. Visserie structure (hors paroi)
| Désignation | Référence | |
| 18mm | Vis à tôle Ø5x18 | 0341 |
4. Outillage et matériaux nécessaires au montage (non fournis dans le kit)
| ✓ Clés de 10 et 14 | ✓ Ciseau à tôle / Lime | ✓ Pince à linge |
| ✓ Tournevis cruciforme et plat | ✓ Produit antirouille | ✓ Scie à métaux ou cutter |
| ✓ Visseuse / dévisseuse | ✓ Planche en bois | ✓ Plaque de béton 30x30x5cm et/ou parpaings |
| ✓ Marteau | ✓ Piquets | ✓ Béton |
| ✓ Corde | ✓ Décamètre | ✓ Bande de polystyrolène si dalle |
| ✓ Niveau à bulle | ✓ Tapis de sol | ✓ Béton |
| ✓ Pelle / Pioche / Râteau | ✓ Ruban adhésisif | ✓ Chevrons bois |
| ✓ Sable fin tamisé / Tamis | ✓ Plâtre ou craie |
5. Préparation du terrain
5.1. Choix du terrain
IMPORTANT : Le terrain devra être rigoureusement plat, dur et de niveau. La différence de niveau ne doit pas dépasser 2 cm d'un bout à l'autre de la piscine.
Votre piscine est exclusivement destinée à être posée sur le sol.
Le terrasement devra toujours estre fait sur un sol ferme et non sur du remblai.
Si le terrain est en declivite, il faut always enlever la terre sur la partie haute et non rapporter de la terre sur la partie basse.
Lorsque le terrain est bien de niveau, il est indispensable d'enlever les cailloux, herbes, racines et de bien tasser la terre. Si cette opération n'est pas correctement réalisée, les herbes et racines peuvent repousser sous le liner et l'endommager. Une mince couche de sable très fin, tamisé (épaissur 1 à 1,5 cm) doit être repandue afin de planifier la totalité de la surface.
Si you installez Your piscine sur une dalle ou un sol cimenté, assurez-vous que le niveau soit correct et que le ciment ne soit pas grossier. Béton préconisé : 150 kg de ciment par m3 de sable mélangé à la bétonnière. Les dimensions de la dalle ou du sol cimenté devront être supérieures de 30cm au minimum sur tout le pourtour par rapport aux dimensions de la piscine.
Dans tous les cas, il est indispensable de placer votre piscine sur un tapis de sol qui protégera le liner.
La garantie ne sera acquise que si le liner a bien ete protegé.
N'oubliez pas que votre piscine replie d'eau est très lourde.
- Prévoyez suffisamment de place autour de la piscine pour circuler et jouer librement.
Determinez l'emplacement du filtre en fonction des possibilites d'alimentation electrique et de preference du cote opposé aux vents dominants.



5.2. Encombrement des piscines rondes
Les cotes indiquées sont des dimensions de la paroi utiles pour le tracé de la piscine et son encombrement au sol (dimensions à +/-3%).
Munissez-vous :
- De piquets pour matérialiser les limites de votre piscine,
D'un piquet relié à une corde de 6 mètres environ pour tracer les contours de votre piscine, - De sable, plâtre ou craie pour matérialiser les contours de votre piscine.

Les dimensions de la dalle devont etre supérieures de 30 cm au minimum sur tout le pourtour par rapport aux dimensions de la piscine.
6. Montage des profilés plastiques sur les poteaux
Avant de commencer à monter les poteaux, montez les profilés en plastique sur les poteaux.

7. Assemblage des rails inférieurs
Dans le cas où la piscine n'est pas sur une dalle béton, placez une plaque béton d'environ 30 × 30 × 5 cm à chaque point de raccordement des rails inférieurs. Ces plaques doivent être telles que leur face supérieure arrivè exactement au niveau du sol.
ATTENTION : Il est important que la plaque de raccord s'appuie bien sur toute sa longueur sur une plaque plate, l'utilisation d'une DALLE trop courte ou l'absence de DALLE pourrait rendre l'installation inadéquate ou causeur l'effondrement de la piscine.
Avant d'entreprenevre l'assemblage des rails inférieurs de la piscine, disposez la paroi à l'intérieur de l'enceinte.

8. Installation de la paroi
ATTENTION : Une tôle mal montée peut entraîner l'affaisment de la piscine. N'essayez pas d'inlocker la tôle lorsqu'il y a du vent.
Pour entrer et sortir de la piscine durant l'installation, servez-vous de l'échelle. Sortez la paroi du carton et posez-la sur celui-ci ou sur une planche afin d'en faciliter le déroulement.
Assurez-vous que la découverte du skimmer soit place sur le haut de la tôle, ouverture positionnée face au vent dominant, de manière à ce que le vent ramène les impuretés dans le skimmer.
Commencez au milieu d'une platine de raccord de maniere à ce que les boulons de fixation soient cachés par un montant vertical. Joignez les extrémites de la tôle au moyen de boulons et de rondelles. Il faut que les têtes de vis soient à l'intérieur et les écrous à l'extérieur. Assurez-vous d'utiliser tous les trouss de boulonnage. Il est très important de bien serrer les boulons de façon à aboutir une jonction solide. Pour protéger le liner, collez une bande de protection (ruban adhésif) sur la visserie à l'intérieur de la piscine.
IMPORTANT : Augmentez la stabilité et la rigidité de la tôle en disposant provisoirement les profilés métalliques supérieurs et les poteaux verticaux au fur et à mesure de la progression.
Fixez les supports de pieces de recouvrement aux poteaux avant montage. En partie basse, fixez les poteaux sur leur plaque de raccord à l'aide de 2 vis et en partie haute fixez les poteaux à leur plaque de raccord avec 2 vis non serrées.



POSE DU TAPIS DE SOL OU FEUTRE GEOTECTILE (attention dans certains kits le tapis est non fourni)
Il est important de faire un remblai de 8 à 10 cm (monticule de sable fin) autour de la base à l'intérieur de la piscine, particulièrement le long des côtés de la piscine, et de recouvrir toute la surface de la piscine d'une couche de 2 cm de sable. Le sable empêche le liner de glisser sous la tôle et le protège des parties saillantes de la structure de la piscine qui pourrait le perforer.
Recouvre le sol ainsi préparé d'un feuvre géotextile remontant de 10 à 12 cm sur la paroi. Collez le feuvre par endroit sur la paroi avec du scotch double face. Le feuvre géotextile prévient l' apparition de championons sous le liner.

DECOUPE DE LA PAROI
Après le montage de la paroi, effectuez les découvertes du skimmer et de la buse de refoulement à l'aide d'un ciseau à tôle ou d'une pince coupante. Limez les découvertes et passez un produit antirouille. Nous vous conseillons de vous munir de gants pour réaliser cette opération.
9. Installation du liner (installation à faire pieds nus)
ATTENTION : Cette opération est délicate et doit être réalisée avec beaucoup de précaution. Il est recommendé de mettre en place le liner quand la température extérieure est comprise entre 18^ et 25^ . Pour entrer et sortir de la piscine durant l'installation, servez-vous de l'échelle. Dépliez le liner à l'intérieur de la piscine en étalant bien jusqu'àux pieds des bords de la piscine. Le côté où les soudures forment une partie lisse constitue la face intérieure du liner.
Après avoir oéré 2 ou 3 rails supérieurs dans les parties courbes, commencez à remonter le bord du liner par-dessus la paroi en le laissant dépasser de 10 à 20cm à l'extérieur et en le retenant temporairement avec des épingle à linge ou avec les rails prévus à cet effet. Ne tendez pas trop le liner. Pour ce faire, vos pieds doivent amener le fond du liner au contact de la base de la tôle. Procedez de même à l'opposé et ensuite encore à deux endroits. Ceci vous permettra de vérifier si votre liner est bien centré. Il ne doit pas y avoir de gros pris en travers. Continuez de relever le liner tout autour de la piscine en la maintainant par d'autres épingle.

Important !!!
Le liner doit impératifement être amné contre le fond avant la mise en eau.

Mauvais

Bon
10. Remplissage de la piscine
ATTENTION: N'utilise pas d'eau de récapération (puits, rivière, ...).
Commencez à replir la piscine avec 1 ou 2 cm d'eau. Bien étaler le liner sur le fond et enlevez les pris en les faisant "glisser", mains à plat, du centre de la piscine vers le bord, jusqu'à totale disparition.
Dès que votre liner est en place vous pouvez procéder à la pose des profilés en plastique et métalliques ainsi que des plaques de raccord. Coupez l'exçédent du dernier profilé en plastique. Installez les rails supérieurs qui devront se situer à l'aplomb des rails inférieurs et rabattez, sans les fixer, les plaques de raccord sur les rails.
Jusqu'à une hauteur de 20 cm d'eau vous devez rester pres ou dans la piscine. De l'intérieur, à l'aide de petits coups à la base, positionné z la tôle sur le tracé au sol. A ce stade, si le liner est correctement tendu, vous pouvez fixer définitivement les plaques de raccord en serrant les vis de fixation.
Prévoir les découvertes dans le liner pour l'installation du skimmer et de la buse de refoulement avant de replir totalement votre piscine (voir chapitre 12 : « Filtration »).

11.Installation des margelles et pieces de recouvrement
Les margelles ont un sens de montage. Le pan le plus large doit etre a l'extérieur.
Les margelles sont positionnées entre les poteaux.
Chaque extrémité de margelle est fixée sur une platine supérieure ou une plaque de raccord avec des vis. Il peut être nécessaire de déplacer doucement les poteaux à gauche ou à droite pour installer la margelle. Ne bloquez les vis que lorsqu'elles sont toutes mises en place.
Adaptez les pieces de recouvrement par-dessus les extrémites des margelles, en les centrant. La partie étroite de la piece de recouvrement est située côte interieur de la piscine.

12. Filtration
IMPORTANT : Toutes les filtrations suivant la norme d'installation NF C 15-100 stipulant que tout appeareil électrique situé à moins de 3.50m du bassin et librement accessible doit être alimenté en très BASSE tension 12V .
Tout apparéil électrique alimenté en 220 V doit être situé au moins à 3.50 m du bord du bassin. Cela signifie que :
Pour une filtration, l'appareil doit être installé à plus de 3,50 m de la piscine,
Pour un skimmer filtrant (suivant les kits), le transformateur doit se couver à plus de 3,50 m de la piscine.
NOTA : Tous les raccords filétés sont à monter avec du Téflon, celui-ci devant être enroulé dans le sens contraire du vissage
Demandez l'avis du fabricant pour toute modification d'un ou plusieurs éléments du système de filtration.
Suivant le media filtrant utilisé, reféréz-vous aux quantités ci-contre àmettre dans la cuve.

| Taille de la filtration | Sable | Boule Aqualoon |
| Filtration 4m3/h | 20 kg | 560 g |
| Filtration 6m3/h | 35 kg | 980 g |
| Filtration 8m3/h | 75 kg | 2100 g |
| Filtration 10m3/h | 75 kg | 2100 g |
| Filtration 12m3/h | 75 kg | 2100 g |
POUR LE MONTAGE DE LA PARTIE FILTRATION, SE REFERER AU MODE D'EMPLOI ASSOCIE PRESENT DANS LE CARTON FILTRATION
12.1. Pose de la buse de refoulement
Lors du montage de la piscine devant receivevoir la filtration à travers la paroi, les opérations suivantes sont à effectuer :
Lors du remplissage, lorsque le niveau de l'eau de la piscine arrive à 5 ou 6 cm de la buse de refoulement installer celle-ci de la façon suivante (croquis 1).
- Découper le liner obstruant la buse de refoulement à l'aide d'un cutter (croquis 2) et rabattre sur la paroi les bords découpés. Vous pouvez vous aider en mettant un morceau de bois plat en appui sur le liner de l'autre côte de la découpe.
- De l'intérieur de la piscine, placer le joint en caoutchouc et la buse de refoulement (croquis 3) et visser à l'extérieur de la piscine l'écrou de serrage.
■ Visser le raccord ou la vanne d'arrêt (selon modele).
- Mettre le tuyau annelé et le collier de serrage.
■ Relier le tuyau annelé à la vanne (retour piscine) de la filtration (raccord filtré avec Téflon et collier de serrage).



12.2. Pose du skimmer
Lorsque le niveau d'eau dans la piscine se trouve à 5 ou 6 cm en dessous du skimmer, monter celui-ci en vous reférant au type de joint inclut avec votre skimmer (simple ou double). (Croquis 4):
- Par pression sur le liner (à l'aide par exemple du capuchon d'un stylo à bille), trouver les trous de la prédécoupe de la tôle).
Poinconner ces trouss a I'aide d'un tournevis cruciforme.
Présenter les joints en caoutchouc selon croquis 4.
Présenter la bride (ou encadrement) sur le joint en caoutchouc.
Visser la bride sur la tôle.
■ Visser le raccord filéte ou vanne d'arrêt (selon modèle) avec du Téflon, tuyau et collier de serrage sur le skimmer. - Découper le liner obstruant le skimmer par l'intérieur de la piscine.
Relier le tuyau annelé du skimmer à la pompe de la filtration.
Laisser monter le niveau de l'eau jusqu'à moitié du skimmer.
S'assurer de I'étanchéité et desserrer les vis si nécessaire.
L'étanchéité définitive ne sera obtenu qu'après avoir resserré progressivement et régulièrement toutes les vis.
Pour que l'étanchéité soit définitive, desserrer toutes les vis
ATTENTION: Ne jamais serrer les vis du skimmer et de la buse de refoulement avant que l'eau n'arrive à quelques centimétres des pieces à poser. Le liner devant être bien tendu par la pression de l'eau.

13. Conseils d'entretien et d'utilisation
Le non-respect des consignes d'entretien peut engendrer des risques graves pour la santé, notamment celle des enfants.
Filtration
Pour éliminer les matières en suspension, il est indispensable d'avoir une bonne filtration. Durant la saigon d'utilisation de votre piscine, le système de filtration doit obligatoirement être mis en service chaque jour, suffisamment longtemps pour assurer au moins un renouvellement du volume d'eau toutes les 24 heures (la durée minimum de filtration est fonction de la fréquentation et de la température de l'eau). Il est conseilé de fractionner la durée de filtration en 2 périodes (une le matin et une le soir).
| Dimension intéérieur paroi => | Ø2.91m | Ø3.6m | Ø4.6m | Ø5.5m | ||||||
| Volume d'eau | 10 m³ | 13 m³ | 21.5m³ | 31m³ | ||||||
| Capacité de la filtration | 3m³/h | 4m³/h | 3m³/h | 4m³/h | 6m³/h | 3m³/h | 4m³/h | 6m³/h | 6m³/h | 8m³/h |
| Durée de filtration par jour | 3h20 | 2h30 | 4h20 | 3h20 | 2h10 | 7h10 | 5h30 | 3h30 | 5h10 | 4h |
Il est impératif :
- De vérifier la non obturation des orifices d'aspiration.
■ De changer tout élément ou ensemble d'éléments déteriorés. N'utiliser que des pieces agrées par le responsable de la mise sur le marché.
D'arrête la filtration pendant les opérations de maintenance du système de filtration. - De surveiller régulièrement le niveau d'encrassement du filtré.
Se référer à la notice du filtré fournie pour tout entretien et utilisation du système de filtration. - De vérifier le niveau de replissage.
ACCESSIONS
Les accessoires suivants sont indispensablees pour un bon entretien de votre piscine : accessoires de surface (exemple: épuisette), accessoires de fond, accessoires de contrôle et de réparation (exemple: kit de réparation).
Avant d'utiliser un robot, proceder au nettoyage du media filtrant de suaive syste de filtration. Se refier aux instructions fournies avec voire syste de filtration Verifier eaglement la puissance de filtration necessaire au bon fonctionnement de cet accessoire.
TRAITEMENT CHIMIQUE
3 opérations sont nécessaires au traitement de l'eau :
■ Ajustement du pH de l'eau à l'aide d'une trousse d'analyse et d'un correcteur de pH. Le pH (Potentiel Hydrogène) indique si et àquel point une eau est acide ou alcaline. L'idéal pour une eau de piscine est d'être le plus pres possible du pH du liquide lacrymal, soit 7,4.
Lutte contre les alques à l'aide d'un produit anti-alques.
Désinfection de l'eau à l'aide de produits chlorés pour assurer la destruction des micro-organismes.
Ces opérations de traitement et de contrôle sont à réaliser au moins une fois par semaine pour assurer une bonne qualité de l'eau.
Les produits de traitement de l'eau doivent etre stockés à l'abri de l'humidité dans un local ventilé et hors de portee des enfants.
ATTENTION :
Ne jamais mettre le chlore ou autre produit directement dans la piscine, cela entrainerai la détérioration du liner.
CONSEILS :
Déposer au pied de l'échelle un récipient rempli d'eau de manière à se rincer les pieds avant d'entrer dans la piscine.
■ Une bache thermique (bache à bulles) vous permettra de profiter pleinement de votre piscine car elle rechauffera l'eau, évitera les déperditions de chaleur durant la nuit, empêchera les feuilles et insectes de tomber dans l'eau et évitera l'évaporation du chloré.
- Ne plongez pas et ne marchez pas sur les margelles.
REMPLISSAGE ET VIDANGE
ll est conseilé de remplir la piscine de maniere à ce que le niveau de l'eau soit au moins au milieu du skimmer. Il est deconseilé de vidanger totallyment la piscine. En cas de nécessite absolue, la vidange ne doit pas etre realizede par grand vent et doit etre effectuée le plus rapidement possible. Ne pas laisser la piscine vide plus de 24h car le liner peut se rétractor.
Cas particuliers et leurstraitements
Votre piscine est equipede d'un systeme de filtration physique servant a eliminer les impuretés de type insectes, cheveux, feuilles... Le tratement chimique, complémentaire du trattement physique, est indispensable a la bonne tenue de votre eau de baignade. En fonctionnement normal, un nettoyage hebdomadaire de votre piscine est suffisant. Mais il vous arrivera de rencontres un probleme inhabituel que vous pourrez resoudre en suivant les recommendations du tableau ci-dessous.
| TRAITEMENT DE L'EAU : problèmes et solutions | ||
| Problèmes | Causes | Solutions |
| • Eau trouble | Eau dure et présence de particules en suspension | Ajustez le pH Effectuez un lavage du filtrre (position BACKWASH jusqu'à ce que l'eau évacuée vers l'égout soit propre pour un filtrre à sable. |
| • Odeur de chloré • Irritation des yeux et du nez | pH trop élévé Teneur en chloramine trop importante | Ajustez le pH. Faites une chloration chic. Effectuez un lavage du filtrtre. |
| • Eau verte • Parois et sol glissants • Eau brune | Eau verte : formation ou prolifération d'algues. Eau brune : présence de matières organiques. | Brossez les parois et le panier du skimmer. Ajustez le pH. Pratiquez un traitement chic à l'aide du produit adéquat et lavez le filtrtre (cf. la notice du filtrtre) |
| • Parois rugueuses | Eau dure | Eliminez les dépôts avec un balai ou un robot. Nettoyez le bassin et déartrez le filtrtre avec les produits adéquats. Ajustez le pH. Ajoutez un produit régulateur de durété de l'eau. |
| • Ligne d'eau noire | Présence deGRAISSÉ et de dépôts sur la ligne d'eau. | Nettoyez la ligne d'eau avec un produit spécifique. Ne pas ajouter du floculant avec les boules aqualoon |
14. Démontage de la piscine
Nous you deconseillons fortement de demonter vaue piscine. Toutefois, en cas de neccessite absolue, si you ees dans l'obligation de demonter vaue piscine, opere inversement aux sequences de montage.
ATTENTION: Ne pas soulever le liner quand il est encore rempli d'eau.
Démonter la piscine en prénant les précautions suivantes :
Vider la piscine par siphonage avec un tuyau ou à l'aide de la pompe de la filtration.
Laver tous les éléments avec un produit savonneux.
Ne pas utiliser de produits contenant de la soude pour laver le liner.
■ Rincer au jet d'eau et secher tous les éléments (pour éviter de percer le liner, ne le nettoyer que dans l'enceinte même de la piscine; le séchage doit s'effectuer à l'ombre, dés que possible. Ne pas le soumettre à une exposition prolongée à l'air).
■ En cas d'incident (liner percé), celui-ci se répare facilement, même dans l'eau, avec une colle spéciale réparation liner.
Enveloppper le liner bien sec (sans le talquer) dans un sachet plastique opaque et le metre dans un carton fermé. Stocker le liner dans un endroit sec, à l'abri du gel et des rongeurs, en évitant tout contact avec une source de chaleur.
Enrouler la paroi métallique sans la plier et la maintainir à l'aide d'une cordelette.
15.Conseils de sécurité
La sécurité de vos enfants ne dépend que de vous!
Le risque est maximum lorsque les enfants ont moins de 5 ans. L'accident n'arrive pas qu'aux autres! Soyez pret a y faire face !
Ne laisser jamais un enfant acceder seul pres d'un point d'eau qu'il soit. Ne quitterz jamais votre enfant des yeux. Interdire l'accès au bassin en cas de détérioration du ou des système(s) de filtration.
Rappel de quelques règles élémentaires de sécurité, surveillez et agissez :
La surveillance des enfants doit être rapprochéée et constante.
Désignez un seul responsable de la sécurité.
■ Renforcez la surveillance lorsqu'il y a plusieurs utilisateurs dans la piscine.
Ne laisses jamais un enfant seul pres d'une piscine.
Ne laissez jamais un enfant qui ne sait pas nager hors de la surveillance d'adultes.
Ne laisses jamais un enfant se baigner seul.
- Imposez un équipement personnel de flottaison (personne ne sachant pas nager).
- Equipiez votre enfant de brassards ou d'une bouée adaptée, s'il est à proximité de la piscine.
Prevoyez bouées et perches à côte du bassin.
Apprenez à nager à vos enfants dés que possible.
Mouillez nuque, bras et jambes avant d'entrez dans I'eau.
N'entrez jamais brutalement dans I'eau surtout après un repas, une exposition prolongee au soleil ou un effort intensif.
Apprenez les gestes qui sauvent et surtout leurs spécifiques aux enfants.
Interdisez le plongeon ou les sauts dans la piscine
Interdisez la course et les yeux vifs dans la piscine et aux abords de la piscine.
- Ne marchez pas sur les margelles et ne vous asseyez pas sur celles-ci.
Ne grimpez pas le long de la paroi.
L'échelle doit être place sur une base solide et être toujours de niveau.
Il faut always faire face à l'échelle en entrant ou en sortant de la piscine.
N'tilisez jamais l'échelle à d'autres fins que celle pour laquelle elle est prévue, c'est-à-dire entre et sortir de la piscine. Elle n'est pas faite pour plonger ou sauter.
L'échelle doit être enlevée en dehors des périodes de baignade.
- Ne laissez pas de jouets à proximé du bassin et dans le bassin qui n'est pas surveillé.
Vérifiez periodiquement si toutes les pieces de la piscine sont en bon etat (exampie : traces de rouille sur la boulonnerie et la visserie).
Resserrez ou changez les vis et écrous lorsque cela est nécessaire.
Ne modifiez jamais de pieces, n'enlevez jamais de pieces et ne percez jamais de trough dans la piscine. - Maintenez en permanence une eau limpide et saine.
- Ne faites pas fonctionner votre filtration durant l'utilisation de votre piscine.
Suivez scrupuleusement les directives d'installation, et vous reférer aux precautions d'utilisation et de stockage securitaires figurant sur l'emballage des produits de traitement.
Stockez les produits de traitement d'eau hors de la portee des enfants.
■ Mémorisez et affichez pres de la piscine les numérios de premier secours (pompiers : 18, SAMU : 15, centre antipoison).
Prevoyez un telephone accessible prs du bassin pour ne pas laisser vos enfants sans surveillance quand vous telephonez. - Interdire l'accès au bassin en cas de détérioration du ou des systèmes de filtration.
Nos you recommendns de securiser l'acces au bassin fini par un element de protection. Les equipments cités cidesous peuvent contribuer a la sicuretie. Ils ne replacent en aucun cas une surveillance rapprochee.
- Barrière de protection (selon NF P 306) dont le portail sera constamment maintainu fermé (par exemple une haie ne peut etre consideree comme une barriere).
Couverture (selon NF P 308) ou abris de protection manuelle ou automatique (selon NF P 309) correctement mise en place et fixée. - Détector électronique de passage ou de chute (selon NF P 307), en service et opérationnel.
En cas d'accident :
- Sortez l'enfant de l'eau le plus rapidement possible.
- Appelez immédiatement du secours et suivez les conseils qui vous seront给你们.
- Remplacez les habits mouillés par des couvertures chaudes.
16. Conseils d'hivernage
- Ne pas vider votre piscine.
■ Enlever les détritus flottants (feuilles, brindilles, insectes, etc.) à l'aide d'une l'épuisette.
Nettoyer le fond de la piscine à l'aide d'un balai aspirateur (ou venturi). - Contrôler le pH à l'aide d'une trousse de contrôle et ajuster celui-ci si nécessaire.
- Mettre un produit d'hivernage en fonction du volume d'eau de la piscine (voir notice explicative sur l'étiquette du produit).
Faire fonctionner le filtrre durant 4 heures environ. - Descendre le niveau de l'eau en dessous de l'ouverture du skimmer.
Vidanger soigneusement le groupe de filtration (pompe et cuve) et le stocker dans un local hors gel. - Mettre un bouchon fermetre buse de refoulement et débrancher les tuyaux (produit non fourni dans le kit)
- Mettre des floteurs d'hivernage sur I'eau (non fourni). Ils eviteront une pression trop importante sur les parois en cas de gel.
- Couvrir la piscine avec une bache d'hivernage.
REMARQUES : Si vous ne couvrez pas votre piscine et que l'eau gèle, ne cassez jamais la glace ainsi formée. Par grands froids, vous pouvezmettre un objet flottant dans votre piscine afin de minimiser la poussee due à la formation de glace.
17.Garantie
Nos piscines sont garanties 2 ans pour la structure et les accessoires, contre tous vices de fabrication dans des conditions normales d'utilisation, hors pieces d'usure.
Cette garantie est limitée à l'échange auprès de votre revendeur des pièces reconnues défectueuses.
Les liners sont garantis deux ans uniquement pour les defaute de soudure (décollement). La garantie ne s'applique pas aux trous souvent dus à une mauvaise manipulation au moment du montage ou à une utilisation mal adaptée des produits de traitement. Les problèmes de porosité et de décoloration sont dus à un employe abusif ou mal adapte des produits de traitement. Les filtres sont garantis deux ans dans les conditions normales d'utilisation et en respectant la notice de montage à l'exclusion des joints et pièces d'usure.
Il n'est pas possible de modifier le produit d'origine. Seules, les pieces de rechange TRIGANO JARDIN doivent etre utilisées.
Pour toute commande de SAV, veuillez vous connecter à l'adresse suiv : http://sav.triganojardin.com
IMPORTANT! Pour que la garantie soit valable, vous devez impérativement conserver une preuve d'achat comportant le cachet du revendeur ainsi que la date d'achat et la fiche de contrôle qualité. Il est impératif de changer dans les délais les plus brefs tous éléments ou ensemble d'éléments déteriorés. N'utiliser que des pieces agréeses par TRIGANO JARDIN.
Nos you remercions et you felicitons d'avoir fait l'acquisition d'une piscine TRIGANO PISCINES.
Cette piscine vous garantira une qualité et une fiabilité exceptionnelle et nous espérons qu'elle répondra à vos attentes.
Notice Facile