RSG 18b - Milling machine Fein - Free user manual and instructions
Find the device manual for free RSG 18b Fein in PDF.
User questions about RSG 18b Fein
0 question about this device. Answer the ones you know or ask your own.
Ask a new question about this device
Download the instructions for your Milling machine in PDF format for free! Find your manual RSG 18b - Fein and take your electronic device back in hand. On this page are published all the documents necessary for the use of your device. RSG 18b by Fein.
USER MANUAL RSG 18b Fein
I.V.Schmidt I.V.Dr.Schreiber Quality Manager Director of Advanced Technology
Specifications. 17
Intended use of the pipe milling machine. 17
At a glance. 17
For your safety. 17
Method of functioning (see Fig. A). 18
Before putting into operation. 19
Putting into operation. 19
Handling. 20
Maintenance and repairs. 21
Troubleshooting (type RSG (^) and RSG Ex (^) ).23
Troubleshooting (type RDG (^**) 24
Maintenance unit. 24
Guarantee. 25
Milling tools and accessories. 25
Spare parts 27
France
| Position der Laufachse | D A erforderliche Kett-tenlänge pro Seite | Gesamtkettenlänge | * | ||
| [mm] | [mm] | [mm] | |||
| I 250 | 452 | 1.427,0 | 2.854,0 | 5 | |
| 300 | 452 | 1.525,0 | 3.050,0 | 5 | |
| 350 | 450 | 1.632,0 | 3.264,0 | 6 | |
| 400 | 448 | 1.744,0 | 3.488,0 | 6 | |
| II 400 | 414 | 1.782,0 | 3.564,0 | 6 | |
| 450 | 413 | 1.898,0 | 3.796,0 | 7 | |
| 500 | 412 | 2.019,0 | 4.038,0 | 7 | |
| 550 | 411 | 2.144,0 | 4.288,0 | 7 | |
| 600 | 409 | 2.273,0 | 4.546,0 | 8 | |
| III 600 | 383 | 2.302,0 | 4.604,0 | 8 | |
| 650 | 383 | 2.433,0 | 4.866,0 | 8 | |
| 700 | 382 | 2.566,0 | 5.132,0 | 9 | |
| 750 | 381 | 2.702,0 | 5.404,0 | 9 | |
| 800 | 379 | 2.840,0 | 5.680,0 | 9 | |
| IV 800 | 356 | 2.862,0 | 5.724,0 | 10 | |
| 850 | 355 | 3.001,0 | 6.002,0 | 10 | |
| 900 | 355 | 3.142,0 | 6.284,0 | 10 | |
| 950 | 354 | 3.284,0 | 6.568,0 | 11 | |
| 1.000 | 354 | 3.428,0 | 6.856,0 | 11 | |
| V 1.000 | 312 | 3.464,0 | 6.928,0 | 11 | |
| 1.050 | 312 | 3.607,0 | 7.214,0 | 12 | |
| 1.100 | 313 | 3.751,0 | 7.502,0 | 12 | |
| 1.150 | 313 | 3.896,0 | 7.792,0 | 13 | |
| 1.200 | 313 | 4.062,0 | 8.124,0 | 13 | |
| 1.300 | 314 | 4.338,0 | 8.676,0 | 14 | |
| VI 1.300 | 293 | 4.355,0 | 8.710,0 | 14 | |
| 1.400 | 295 | 4.651,0 | 9.302,0 | 15 | |
| 1.500 | 297 | 4.950,0 | 9.900,0 | 16 | |
| 1.600 | 298 | 5.250,0 | 10.500,0 | 17 | |
| 1.700 | 299 | 5.553,0 | 11.106,0 | 18 | |
| 1.800 | 300 | 5.857,0 | 11.714,0 | 19 | |
| 1.900 | 301 | 6.162,0 | 12.324,0 | 20 | |
| 2.000 | 301 | 6.468,0 | 12.936,0 | 21 | |
| 2.100 | 302 | 6.775,0 | 13.550,0 | 22 | |
| 2.200 | 303 | 7.083,0 | 14.166,0 | 23 | |
| 2.300 | 303 | 7.391,0 | 14.782,0 | 24 | |
| 2.400 | 303 | 7.700,0 | 15.400,0 | 25 | |
| 2.500 | 304 | 8.009,0 | 16.018,0 | 26 | |
| 2.600 | 304 | 8.319,0 | 16.638,0 | 27 | |
| 2.700 | 305 | 8.629,0 | 17.258,0 | 28 | |
| 2.800 | 305 | 8.940,0 | 17.880,0 | 29 | |
| 2.900 | 305 | 9.251,0 | 18.502,0 | 30 | |
| 3.000 | 305 | 9.562,0 | 19.124,0 | 31 | |
[mm][mm][kg]St.[°][mm]
160 38 2,85 40 65 25 6 35 08 091 01 0
150282032302563508099010
160382,854037,52563508095010

Original Instructions.
Specifications.
Electric pipe milling machine:
Reference number 7360...7360.
Type RSG Ex 18 a (^) RSG Ex 18 b (^*)
Reference number 7360...7360...
Type RSG 18 a (^) RSG 18 b (^)
Voltage 400 V
Frequency 50Hz
Mains supply 3 ~ (three-phase current)
No-load speed
Motor 2860 r.p.m.
Length of the mains cable (with plug)
RSG Ex 18 a/b (^**)
RSG 18 a/b (^**)
Weight (net), approx.
Class of protection
Protective type
Dimensions:
Max. tool
Lmax
max Hmax
max. Wmax
max W1
W
W
3 Electromotor and auxiliary switch in explosion-proof design
The A-weighted sound level of the pipe milling machine in the typical case is:
Sound pressure level 92 dB (A); sound power level 105 dB (A).
Wear ear protection

Pneumatic pipe milling machine:
Reference number
7560...7560...
Type
RDG 18-3 a (^) RDG 18-3 b (^)
Air pre
6 bar
Air consumption under load
72 l/s
No-load speed
Motor 6000 r.p.m.
Cutting
35 r.p.m. 70 r.p.m.
Advancement
40 mm/min 80 mm/min
Output
2000W
Hose width
15mm
Weight (net), approx.
89 kg
Dimensions:
Max. tool 0
220 mm
Lmax
886 mm
Hmax
282 mm
Wmax
443 mm
W1
372 mm
W
254 mm
W
25.5 mm
The A-weighted sound level of the pipe milling machine in the typical case is:
Sound pressure level 87 dB (A); sound power level 100 dB (A).
Wear ear protection!
Measuring values are determined according to EN 61 029.
Intended use of the pipe milling machine.
The pipe milling machine is intended for cutting exposed pieces of piping and lengths of laid piping, made of steel or casting, and for chamfering pipe ends before welding.
EU Directive 94/9EU ATEX (Atmospheres Explosibles)
We should like to point out that the Fein pipe milling machines of type RDG (^) / RSG (^) / RSG Ex (^**) have not been approved for use in areas where there is risk of explosion and that there are no EC type-approval certificates in accordance with the 94/9EC Directive for these pipe milling machines.
(In the case of pipe milling machine type RSG Ex (^**) , where the electromotor and the auxiliary switch are concerned, merely two ATEX-conform components are built In.)
The ATEX Directive is only valid for the EC countries.
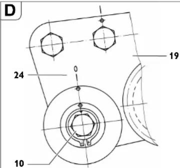
At a glance.

1 Clamping unit
2 Fixation screw for side plate
3 Side plate
4 Specification plate
5 Bolt
6 Threaded spindle
7 Feed unit
8 Fillster head screw for feed unit
9 Tight-fit screw
10 Running axle
11 Nut
12 Hexagon screw
13 Disc
14 Tensioning axle
15 Nut
16 Tool spindle holder
17 Pipe nut
18 Fixation screw for motor
19 Fish plate
20 Securing ring
21 Chain wheel
22 Transport shaft
23 Securing ring
24 Pin
25 Screw plug, tool spindle holder
For your safety.
Before using this pipe milling machine please first read the following and act accordingly:
this Instruction Manual,
the relevant national Industrial safety regulations.
This Instruction manual should be kept for later use and enclosed with the pipe milling machine, should it be passed on or sold.
General safety instructions.
ATTENTION! Please read all the following instructions. Errors caused by non-adherence to the following instructions can cause an electric shock, burns and/or severe injuries. The following term, "pipe milling machine", relates to the electrically powered and pneumatically powered pipe milling machines.




18 en
1. Work place.
a) Keep your work place clean and tidy. Untildness and bad lighting can cause accidents.
b) When using the pipe milling machine, keep child and other persons at a safe distance away. If your mind is diverted, you might lose control of the pipe milling machine.
2. Electrical safety.
a) The electrical connection must not be changed in any way.
b) Protect the connection cable from heat, oil, sharp edges or moving parts. Connection cables that are damaged or tangled Increase the risk of an electric shock.
3. Safety when handling compressed air.
a) Check the compressed-air supply at regular intervals. Protect the hose from bending, squeezing, heat and sharp edges. Tighten the hose clamps. Make sure that damaged hoses and couplings are repaired immediately. If the air supply is defective, the compressed air hose can suddenly toss around and cause injuries. Dust and chippings flying up in the air can cause eye injuries.
4. Personal safety and safety of others.
a) Pay particular attention, be sure of what you are doing and tackle the work you are going to do with your pipe milling machine in a sensible manner. Do not use the pipe milling machine if you are tired or under the influence of drugs, alcohol or medication. One minute of carelessness whilst using the pipe milling machine can cause serious Injuries.
b) Wear the following protective items above all things. Wearing protective items such as protective glasses (wear at all times!), dust mask, sturdy shoes that do not slip, a helmet or ear protection, depending on the job to be done using the pipe milling machine, reduces the risk of injuries.
c) Prevent the machine from starting unintentionally. Make sure that the main switch on the switchgear combination, the auxiliary switch or the ball valve are in the "OFF" position before you connect the pipe milling machine to the electric mains or compressed-air supply. If you connect the pipe milling machine to the electric power or compressed-air supply whilst it is switched on, this can cause accidents.
d) Remove the adjusting tools and the wrench before you switch the pipe milling machine on. A tool or wrench that has been left on a rotating part of the pipe milling machine can cause injuries.
e) Do not over-estimate yourself. Make sure you have a firm stance and can keep your balance at all times. In this way you are able to control the pipe milling machine better if anything unexpected happens.
f) Wear suitable clothing. Do not wear any baggy clothes or jewellery. Keep your hair, clothing and gloves away from any moving parts. Loose clothing, jewellery or long hair could get caught in the moving parts.
5. Application.
a) Do not overload the pipe milling machine. Use the correct cutting tool for your work. With the correct cutting tool you can work better and more safely.
b) Do not use a pipe milling machine that has a defective switch or ball valve. A pipe milling machine that can no longer be switched on or off is dangerous and must be repaired.
c) Disconnect the power supply before you undertake any adjustments to the machine or change the cutting tools. This precautionary measure prevents the pipe milling machine from starting unintentionally.
d) Do not allow anyone to use the pipe milling machine who is not familiar with it and has not read these instructions. Pipe milling machines are dangerous if they are used by inexperienced persons.
e) Service the pipe milling machine at regular intervals. Thoroughly examine the pipe milling machine for any possible incorrect alignment, check the correct fixation of the moving parts and that no other parts are damaged, and any other factors that could impair the operation of the pipe milling machine. A faulty pipe milling machine should be repaired before using it. A large number of avoidable accidents are caused by pipe milling machines that have been badly kept.
f) Keep the cutting tools sharp and clean. Cutting tools with sharp cutters that have been carefully looked after are less likely to jam and easier to guide.
g) Use the pipe milling machine, the accessories as well as cutting tools according to the instructions in this manual, whereby the working conditions and the activities to be carried out are to be taken into consideration. The use of pipe milling machines for applications different from those intended could result in hazardous situations.
Special safety instructions for pipe milling machines.
Risk of injury
Only transport the pipe milling machine with hoisting gear.
The national regulations for the prevention of accidents must be complied with when starting up, using and servicing the pipe milling machine.
The Explosion Protection Guidelines of the Professional and Trade Associations are to be observed at all times!
6. Electric pipe milling machines (type RSG (^**) ).
The mains voltage must agree with the voltage specification on the pipe milling machine.
The connection for the pipe milling machine must have a fuse protection of 16 amperes.
Check the mains cable and if applicable, the extension cable at regular intervals!
Only connect the pipe milling machine to the switchgear combination when the main switch is turned OFF.
The switchgear combination must be accessible for the operator at all times.
7. Pneumatic pipe milling machines (type RDG (^**) ).
The maximum pressure for the pipe milling machine is 6 bar.
Only connect the pipe milling machine to the compressed-air supply when the ball valve is closed.
Method of functioning (see Fig. A).
The pipe milling machine cuts and machines pipe walls using chip-removing cutting tools. It is clamped onto the outer surface of the pipe using the clamping gear and runs around the pipe with a self-actuating advancement. The tools used are metal circular saw blades and profiling cutters with HSS steel or hard metal cutters, depending on the what the pipe is made of.
The setting for the cutting depth is made using the tool spindle holder (16) that is pivot-mounted in the two side plates (3), and can be adjusted by the threaded spindle (6).
The transport shaft (22) that causes the working advancement via the transporting wheels, is driven by the tool spindle via 2 worm-gear levels.
A slipping coupling protects the advancement gear against overload. The bearing of the tool spindle is of a particularly rigid design. The main gear, lubricated by an oil-bath, for driving the tool spindle consists of a planetary and worm-gear level.
The gear is dimensioned in such a way that no damage is caused if the chain should occasionally come to a halt. All gear shafts run in roller bearings.




The machine frame together with the axles has the task of guiding the clamped-on pipe milling machine on the pipe, and transmitting the forces for cutting and advancing. The alignment to the respective external diameter of the pipe is made by adjusting the running axle (10). The clamping chains are composed of individual, identical chain links that are joined together.
The number of the required chain links, i.e. the length of the clamping chain, depends on the external diameter of the pipe.
Before putting into operation.
Preliminary work on the pipe to be machined.
Pipes that are cut in the warehouse must be supported underneath such that the cutting tool does not wedge.
In the case of pipes that have been laid, a distance away from the pit wall of at least 50~cm measured from the outer side of the pipe, must be given at any place over a length of 1m .
The surface of the pipe must be free from any dirt or earth. Remove any soft protective coating on the surface of the pipe.
The cutting tool must be selected according to the pipe material, the required form of machining and the cooling lubricant.
For further information, please contact your coolant/lubricant supplier (also see compressed-air cooling-lubricant device 9 12 01 002 00 4).
Preliminary work on the pipe milling machine (see Fig. A).
Loosen the two nuts (11) lying opposite each other. Raise the tool spindle holder (16) on the feed unit (7) using the handwheel (in the carrying case).
Remove the tight-fit screws (9) and re-mount the running axle (10) to the present external diameter of the pipe according to the instructions on the specification plate (4). For intermediate sizes, use the next largest external diameter of pipe. Tighten the tight-fit screws (9) again.
Specification plate:
| P | D [mm] [Inch] | |
| I 250 - 400 9.6 - 15.7 | ||
| II 400 - 600 15.7 - 23.6 | ||
| III 600 - 800 23.6 - 31.5 | ||
| IV 800 - 1000 31.5 - 39.4 | ||
| V 1000 - 1300 39.4 - 51.2 | ||
| VI 1300 - 3000 51.2 - 118.1 | ||
P: Position of the running axle
D: Diameter of the pipe
Drive out the clamping fixtures (1) for the clamping chains by turning the sprung chain tensioner such that after placing the pipe milling machine on, sufficient clamping/tensioning distance is available. Assemble the clamping chains to fit the external diameter of the pipe. Position the pipe milling machine on the pipe.
Clamping the pipe milling machine onto the pipe. Mounting the link chains.
Place the link chains (that still have open ends) on both sides of the pipe milling machine, over the pipe.
Raise the pipe milling machine and push the link chains underneath the chain wheels so that the link chains are in the mesh after the pipe milling machine has been placed down. Place the link chains with their open ends over the chain wheels of the clamping axle (10) and lift the link chain to 10.
(14) and running axle (10). Finally close using the bolt
(3 02 17 216 00 4) and secure with the 2 securing rings (4 26 34 020 00 5).
Tensioning the link chains.
Mount the link chains loosely over the pipe first by turning both the sprung chain tensioners. For exact alignment, push the pipe milling machine backwards and forwards a few times along the circumference of the pipe.
Tension the link chains by turning the sprung chain tensioners until the pin (24, see Fig. A) juts into the elongated hole of the sprung chain tensioner inside the groove punched in the circumference.
Watch the position of the pin during the cutting process. If the pipe should prove to be out of round, either retension or loosen.
Danger of accidents!
Do not continue to turn the sprung chain tensioner beyond this point!
Assembling the cutting tools.
Risk of injury
by switching ON unintentionally.
Before assembly, remove the mains plug or the compressed-air hose.
Before assembly, remove the mains plug or the compressed-air hose.
Before mounting, clean the tool spindle and also the fitting area and contact surfaces.
Mount the cutting tool.
Tighten the tool tensioning nut.
Putting into operation.
Electric pipe milling machine:

The pipe milling machines with electric drive have an upstream switchgear combination that contains the following components:
-Main switch/reversing switch
-Motor protection switch
-Undervoltage release
-Plug connections
The main switch is used for switching on and for reversing the direction of rotation. The motor protection switch and the undervoltage release form one unit. In the case of overload, the motor protection switch switches off; if there is a power cut,
the undervoltage trip disconnects the pipe milling machine from the mains in order to prevent it from starting again unintentionally.
The pipe milling machine is put into operation again by actuating the motor protection switch.
The switchgear combination is to be positioned such that it is accessible for the operator at all times.
Pipe milling machine partially in explosion-proof design:

In front of the switchgear combination use a switch box with additional ON/OFF switch for actuating the pipe milling machine in areas in Zone 2 where there is risk of explosion.
The switch box is to be positioned such that it is accessible for the operator at all times.
Danger of explosion
The switchgear combination is to be set up outside Zone 2.
After actuating the automatic circuit breaker, the auxiliary switch must be switched off first prior to switching on again.


Pneumatic pipe milling machine:
The model RDG 18-3 a/b (^**) is operated by the ball valve mounted on the compressed-air hose; the ball valve is directly in front of the pneumatic motor.
Handling.
Risk of injury
The guard must be completely closed and locked during operation!
For pipe milling machines with an electric motor, it is important to ensure that the direction of rotation of the tool is correct. The direction of rotation can be reversed using the reversing switch.
- Swing the running saw blade into the pipe as deeply as possible using the handwheel. Plunging the saw blade deeply into the pipe stabilises the cutting procedure.
For milling, choose the slightest possible tool depth. The removal volume increases as the cutting depth increases.
Plunge the cutting tool approx. 3mm deeper than necessary; then return to the necessary depth; the cutting tool is then out of contact.
Switch off the pipe milling machine.
Then fix the setting by tightening both the nuts (11).
Switch the pipe milling machine on again.
Provided the motor power is sufficient the pipe wall should be cut in one operation.
Pipes that have already been laid can sag during sawing and wedge the cutting tool in the slit. For this reason, the wedges supplied with the machine must be knocked into the slit at regular intervals behind the sawing tool. In areas where there is risk of explosion, use wedges (6 33 05 013 00 2)
(RSG Ex 18 a/b (^**) standard accessories) and a hammer made of a non-sparking material.
Avoid overloading the pipe milling machine.
The machine is overloaded if the motor speed noticeably drops when inserting the running cutting tool. This also results in a decrease in the chip-removal volume.
For pipes with a thick wall (s > 10 mm) the welded joint must be milled in several operations.
Congruence in the cutting procedure is influenced by the following factors:
- Alignment of the pipe milling machine at the beginning,
- Geometric deviation of the pipe from the circular or cylindrical form,
- Sharpness of the cutting tools,
- Hardness of the material.
The pipe milling machine is adjusted in such a way that for pipe diameters of 300mm and 600mm the beginning and end of the cutting line are approximately in line.
Due to the eccentricity of the guide shaft, the adjustment mark (24, see Fig. D) is only binding for the two given diameters. For larger pipe diameters it may be necessary to make a readjustment.
Reverse run of the pipe milling machines (RSG [ **]/ RSG Ex [ **] ).
Avoid damage!
Before the pipe milling machine is reversed, ensure that the cutting tool is retracted, in order to avoid damaging the tool and the gears.
Turn the main switch/reversing switch to position "0" (OFF).
Retract the cutting tool.
Switch the reversing switch to reverse run.
The pipe milling machine is not suitable for cutting in reverse run! Reverse run is not possible with the pneumatic pipe milling machine!
Instructions for cooling.
Avoid damage!
We recommend using the FEIN compressed-air cooling lubricator.
The chips can wedge if the cooling and lubrication are insufficient. This can cause the tool to break.
Always dry-cut cast iron pipes without using any cooling lubricant.
Cool the saw blade or cutter with soapy water whilst cutting plain steel pipes.
Setting the running accuracy.

Unscrew the nut (15, see Fig A) SW 46.
Turn the axle (10) respective to the fish plate (19).
Tighten the nut (15).
By turning the axle (10) clockwise (towards the cutting tool), the cutting tool moves rightwards (the viewing direction is the same as the running direction of the pipe milling machine).
When turning the axle anticlockwise, the cutting tool moves leftwards.
Clamping on the pipe milling machine.

"A" required working space for the deepest cutting depth.
"D" External diameter of the pipe
" i Number of chain links for pipe diameter "D".
| Position of the running axle | D A Required chain | Total chain length | i* | ||
| [mm] | [mm] | [mm] | |||
| 1 250 | 452 | 1.427.0 | 2.854.0 | 5 | |
| 300 | 452 | 1.525.0 | 3.050.0 | 5 | |
| 350 | 450 | 1.632.0 | 3.264.0 | 6 | |
| 400 | 448 | 1.744.0 | 3.488.0 | 6 | |

| Position of the running axle | D A Required chain | Total chain length | i* | ||
| [mm] | [mm] | length for each side [mm] | |||
| II 400 | 414 | 1.782.0 | 3.564.0 | 6 | |
| 450 | 413 | 1.898.0 | 3.796.0 | 7 | |
| 500 | 412 | 2.019.0 | 4.038.0 | 7 | |
| 550 | 411 | 2.144.0 | 4.288.0 | 7 | |
| 600 | 409 | 2.273.0 | 4.546.0 | 8 | |
| III 600 | 383 | 2.302.0 | 4.604.0 | 8 | |
| 650 | 383 | 2.433.0 | 4.866.0 | 8 | |
| 700 | 382 | 2.566.0 | 5.132.0 | 9 | |
| 750 | 381 | 2.702.0 | 5.404.0 | 9 | |
| 800 | 379 | 2.840.0 | 5.680.0 | 9 | |
| IV 800 | 356 | 2.862.0 | 5.724.0 | 10 | |
| 850 | 355 | 3.001.0 | 6.002.0 | 10 | |
| 900 | 355 | 3.142.0 | 6.284.0 | 10 | |
| 950 | 354 | 3.284.0 | 6.568.0 | 11 | |
| 1.000 | 354 | 3.428.0 | 6.856.0 | 11 | |
| V 1.000 | 312 | 3.464.0 | 6.928.0 | 11 | |
| 1.050 | 312 | 3.607.0 | 7.214.0 | 12 | |
| 1.100 | 313 | 3.751.0 | 7.502.0 | 12 | |
| 1.150 | 313 | 3.896.0 | 7.792.0 | 13 | |
| 1.200 | 313 | 4.062.0 | 8.124.0 | 13 | |
| 1.300 | 314 | 4.338.0 | 8.676.0 | 14 | |
| VI 1.300 | 293 | 4.355.0 | 8.710.0 | 14 | |
| 1.400 | 295 | 4.651.0 | 9.302.0 | 15 | |
| 1.500 | 297 | 4.950.0 | 9.900.0 | 16 | |
| 1.600 | 298 | 5.250.0 | 10.500.0 | 17 | |
| 1.700 | 299 | 5.553.0 | 11.106.0 | 18 | |
| 1.800 | 300 | 5.857.0 | 11.714.0 | 19 | |
| 1.900 | 301 | 6.162.0 | 12.324.0 | 20 | |
| 2.000 | 301 | 6.468.0 | 12.936.0 | 21 | |
| 2.100 | 302 | 6.775.0 | 13.550.0 | 22 | |
| 2.200 | 303 | 7.083.0 | 14.166.0 | 23 | |
| 2.300 | 303 | 7.391.0 | 14.782.0 | 24 | |
| 2.400 | 303 | 7.700.0 | 15.400.0 | 25 | |
| 2.500 | 304 | 8.009.0 | 16.018.0 | 26 | |
| 2.600 | 304 | 8.319.0 | 16.638.0 | 27 | |
| 2.700 | 305 | 8.629.0 | 17.258.0 | 28 | |
| 2.800 | 305 | 8.940.0 | 17.880.0 | 29 | |
| 2.900 | 305 | 9.251.0 | 18.502.0 | 30 | |
| 3.000 | 305 | 9.562.0 | 19.124.0 | 31 | |
*Reference number 3 02 31 013 02 7 consisting of 10 chain links, each 635mm long.
To attain optimum chain pre-tensioning, the halved chain links supplied in the carrying case with a length of 31.75mm can be used, if need be.
Example:
For a pipe diameter of D=400 mm, 6 chain links
(reference number 3 02 31 013 02 7) are required.
Final work after completing each job.
Retract the cutting tool
Switch off the plpe milling machine
Remove the cutting tool
Unclamp the plpe milling machine.
For pneumatic machines:
After uncoupling the compressed-air hose, pour a little corrosion-preventing oil into the air supply of the pneumatic motor and run it for a short time.
Close the hose opening with a protective cap.
Storing the pipe milling machine.
Protect the outer metallic parts against corrosion.
Store the pipe milling machine in a dry place.
Maintenance and repairs.
Maintenance and repairs.
We recommend our customer service department (central repair). Address at the end of this instruction manual.
Only use original FEIN spare parts.

isk of injury
by switching ON unintentionally. Before commencing any work on the pipe milling machine, disconnect the mains plug or the compressed-air hose!
General information
Servicing work may only be carried out by qualified engineers.
Care and maintenance work mainly comprises the following:
- Cleaning the outside of the pipe milling machine and the clamping chain
- Visual check of the entire pipe milling machine
- Changing the gear oil
- Filling the compressed-air maintenance unit with lubricant
- Greasing the movement thread and chains
- Greasing the guides of the tool spindle holder in the clamping and transport device.
Care of the link chains
After removing most of the dirt on the chain with benzine used for cleaning, petroleum or similar agent, clean it carefully moving the chain links.
For guaranteeing sufficient lubrication, leave the chains in viscous oil, e. g. gear oil SAE 140 for several hours.
Danger of accidents!
Before using the chain parts again, make a thorough visual check of the chain links and ensure that they are in perfect condition. Change any damaged parts and replace any missing securing rings.
Tool spindle holder
Check the gear-oil level
If necessary, change the gear oil.
See also the section on "Lubricants and lubrication plan".
Checking the gear-oil level
Check the oil level and tightness of the tool spindle holder each time before using:
Place the pipe milling machine with the side plate opposite the tool protection lying on a horizontal base.
Remove the screw plug (25, Fig. A).
Please note:
The oil level is correct if a little gear oil is still just seeping from the tapped hole.
If necessary, top up with gear oil (see the section on "Lubricants and lubrication plan").
Screw on the screw plug againtightly.
Changing the gear oil
The gear oil is to be changed according to the number of operating hours given in the table, however, at least ever 18 months.
| Gear-oil change intervals [operating hours] | RSG Ex 18 a (**) RSG 18 a (**) RDG 18-3 a (**) | RSG Ex 18 b (**) RSG 18 b (**) RDG 18-3 b (**) |
| First oil change after 20 - | 40 80 - 120 | |
| Next oil change after 80 - | 120 200 - 250 |
Our central repairs department carries out the oil change for you and disposes of the used oil.
Drain the gear oil in its warm operating condition immediately after storing the pipe milling machine.

22 en
Pneumatic motor
The pneumatic motor is to be examined and cleaned thoroughly, using clean, oiled compressed air, free from water, after 200 hours of operation, however at least once a year. We therefore recommend our central repairs department for maintenance and repair work on the pneumatic motor.
Avoid damage!
Failure to carry out the stipulated checks can result in considerable damage and a reduction in the performance of the pneumatic motor.
Disassembling the pneumatic motor:
Position the pipe milling machine such that the pneumatic motor is at the highest point of the tool spindle holder.
Remove the 6 fillster head screws (18) (see Fig. A).
Remove the pneumatic motor.
Assemble in the reverse sequence. Care must be taken to connect the motor pinion and planetary gear exactly.
Feed unit (see Fig. A)
- Keep the surface area of the pipe nut (17) free from any dirt and rust formation and always grease slightly.
- When changing the gear oil, clean the movement thread and grease.
Disassembly:
Remove the filllster head screw (8).
Pull the bolt (5) out of the cover.
Then, using the handwheel unscrew the feed unit from the pipe nut.
Clean and grease the threaded parts (see the section on "Lubricants and lubrication plan" on page 23).
Change any faulty oil rings.
Assembly:
Assemble in the reverse sequence. Do not damage the oil rings during assembly!
Clamping unit
Avoid dirtying the thread on the eye bolts
(3, Fig. G) in the sprung chain tensioner.
If necessary, clean and grease the thread.
Lubricants and lubrication plan
Lubricants for the pneumatic motor
The pneumatic motor is lubricated via the oiler of the maintenance unit. Merely add a few droplets of oil into the air intake of the pneumatic motor after prolonged downtime.
Lubricating oil for the tool spindle holder
| Lubricant ARAL OIL Degol | Size of container | Reference number | Temperature range [°C] | Specification |
| BMB 460 | 2 litres | 21 32 009 01 3 -15 | to +50 Gear | oil type |
| BMB 100 | 2 litres | 21 32 009 02 9 -35 | to +5 | CLPF acc. to DIN 15502 |
Gear-oil viscosity recommendation for different ambient temperature ranges:

Machines with country code N34 (recognisable by the Order No. on the type plate by digit 9 and 10, which have the numbers 3 and 4 7 360 XX XX 34 X) are delivered with BMB 100.
On delivery, the tool spindle holder is filled with ARAL OIL. Degol BMB 460. We urgently request you NOT to use any other gear oil. Lubricants for gliding surfaces
For lubricating and maintaining the gliding surfaces we recommend acidless, water-resistant branded, friction-bearing grease products.

| Lubrication point Lubricant or fuel | |
| 2 (gears) see table: Lubricating oil for | tool spindle holder |
| 3 (gliding surfaces and movement thread) | Friction-bearing grease |

Troubleshooting (type RSG [ ] and RSG Ex [ ] ).
| Fault Possible causes Measures to be taken | ||
| Motor and cutting tool stop functioning | Very low ambient temperatures Use FEIN gear oil for low temperatures | |
| Blunt cutting tool Change the cutting tool | ||
| No mains voltage Check the mains connection and switching devices | ||
| Incorrect mains voltage Check the data for the mains connection | ||
| Advancement too fast or material removal too high during one revolution | Align the gears and/or reduce the plunging depth | |
| Oil loss in the gear box Replish oil. If oil loss occurs again, look for leakage point and repair. | ||
| Excessive temperature increase in the motor Reactivate the switchgear combination 3 07 02 041 01 4 | ||
| Defective chain wheel Damaged chain link Change the chain link | ||
| Chain Incorrectly joined Check the joins and correct | ||
| Chain bolt only partially inserted Fully insert the bolt | ||
| Faulty cutting procedure Pipe milling machine and chain are not correctly aligned | See Chapter „Preliminary work on the pipe mil-ling machine (see Fig. A).“ auf Page 19 and Abschnitt „Clamping the pipe milling machine onto the pipe.” auf Page 19 | |
| Guide shaft not eccentric Adjust the running accuracy, see Chapter „Settling the running accuracy.” auf Page 20 | ||
| Blunt cutting tool Change the cutting tool | ||
| Pipe is laid at an incline or vertical, or pipe is out of round | Use the track guiding device, see Chapter „Clamping the pipe milling machine onto the pipe.” auf Page 19 und Chapter „Track guiding" auf Page 27 | |
| Cutting tool is overloaded Align the gears and/or reduce the plunging depth | ||
| The function of the machine is reduced or Ineffective | No mains voltage Check the mains connection and switching devices | |
| Switch is not on Check switch | ||
| Coupling slips Align the gears or request the FEIN factory to adjust the pick-up torque of the coupling | ||
| Strong vibrations | Advancement too fast | Align gears |
| Cutting tool too deep | Raise the cutting tool | |
| Nuts (11) have not been tightened | Tighten nuts | |
| Chain loose | Check chain tension | |
| Blunt cutting tool Chang the cutting tool | ||
![Fein RSG 18b - Troubleshooting (type RSG [ ] and RSG Ex [ ] ). - 1](/content/2026/04/604008/images/a660a0ce75acdc83ee9237d9c657e6947038a93449bff44b43b15171efa510ce.jpg)
Line oilers
Compressed-air line oilers conduct a thinly oiled mist to the compressed air and thereby create a constant, reliable lubrication for pneumatically powered compressed-air tools.
The built-in air diaphragm adjusts automatically to the air passage. The minimum pressure is 0.5 bar.
Setting
The oil quantity, measured in drops per minute, can be regulated using the metering screw. To do this, turn the screw in the oiler attachment anti-clockwise, approx. 1 revolution. The drops can be seen in the Inspection glass.

Operation
The filling level can be seen on the container. Due to the built-in, pressure-regulating valve, topping up is possible during operation without turning off the compressed air.
- Unscrew the filler plug.
- Fill the container with oil; do not use a funnel.
- Alternatively, dismount the container at the bayonet lock and directly fill in oil. Mount container on again.
- Close the opening again with the filler plug. The oiler is ready for operation.

Max. operating pressure and temperature
For filters and oil-mist lubricators with polycarbonate container, the max. operating pressure is 16 bar to +30^ max., and 10 bar to +50^ max.
The following oil types are to be used for the maintenance unit:
For light to normal loads, use HLP/ISO-VG22 hydraulic oil with corrosion-protection properties (Order No. 3 21 32 017 05 0 -0.25) or
For high loads, use HLP/ISO-VG46 hydraulic oil with corrosionprotection properties (Order No. 3 21 32 006 01 7 - 0.5 I).
■ When not using for longer periods (several months), we recommend using corrosion- protection oils with HD properties (load-carrying capacity level: min. 8) before putting out of operation; e.g. engine-preservation oils, Mobilarma 524" (Mobil) or "Ensis 10W^ (Shell).
Under unfavourable operating conditions, cold temperatures (below +3^ and/or high water content of the compressed air, the motor can ice up. This can be avoided by using a commercially available synthetic de-icing and lubrication agent, e.g., Kilfrost, or by using Renolin SDL 1808 in conjunction with the metal container
of the maintenance unit! Drain the lines and oiler first. Avoid any mixing, as this would reduce or nullify the de-icing effect. The remaining lubrication film does not have to be removed.
■ Kilfrost Anti-icing agent (DEPRAG - Order No. 807287)
■ Kilfrost 400 (Weyer Indutec)
Renolin SDL 1808 (Fuchs) Is a biologically degradable compressed-air lubricant for restricted use when laying pipes for drinking water! Please generally observe the relevant regulations, legal provisions and the lubricant agent manufacturer's notes.
Flow pressure:
A flow pressure in excess of 6 bar leads to wear. A too low flow pressure leads to performance reductions.
Concerning the compressed-air quality according to ISO 8573-1, we recommend:

oiled air
For 3155-200.88
unoiled
air
Guarantee.
The guarantee on the product is valid according to the legal regulations in the country where it is marketed.
Milling tools and accessories.
Circular saw blades

1

2

3
Form 1, HSS, for gear type:
a, b - for machining steel pipes
Width Weight Number Max. cutting Reference num- of teeth depth ber
[mm] [mm] [kg] [mm]
160 4 0,5 50 25 63502022006
180 4 0,7 60 35 63502037008
200 4 0,9 64 45 63502053007
220 5 1,3 70 68 63502041001
Form 2, HSS, for gear type:
b - for machining cast iron pipes
Width Weight Number Max. cutting Reference num- of teeth depth ber
[mm][mm][kg][mm] 1604 0,5 40 25 63502050001 1804 0,7 46 35 63502098000 2004 0,9 50 45 63502099004
Form 3, HSS, with tungsten teeth, for gear type:
b - For cutting cast iron pipes (even with cement collar) and unalloyed steel pipes to 400N / mm^2
Width Weight Number Max. cutting Reference num- of teeth depth ber
| [mm] [mm] [kg] [mm] | |||
| 160 4 0,5 | 40 | 25 | 6 35 02 080 00 08 |
| 180 4 0,7 | 44 | 35 | 6 35 02 061 00 9 |
| 200 4 0,9 | 50 | 45 | 6 35 02 084 00 2 |
Adjusting spring
WxHxL(mm)
6x6x32402210440000
8× 7× 3240221050005
Transport container
Length x Width x Height
mm mm mm
1000× 800× 39533901114007
Form cutter

V-form, HSS, for gear type:
a - for machining steel pipes, high-alloyed
b - for machining plain steel pipes and cast iron pipes up to a max. wall thickness of 10mm and a max. diameter of 1600mm
D B Weight Number B Max. Reference num- of teeth cutting ber
| [mm] | [mm] | [kg] | [mm] | |||
| 160 | 30 | 2,85 | 36 | 30 | 25 | 6 35 08 081 00 9 |
| 160 | 30 | 2,85 | 36 | 37,5 | 25 | 6 35 08 093 00 0 |
| 180 | 42 | 4,8 | 36 | 37,5 | 25 | 6 35 08 094 00 0 |

U-form, HSS, for gear type:
a - for machining steel pipes, high-alloyed
b - for machining plain steel pipes and cast iron pipes up to a max. wall thickness of 10mm and a max. diameter of 1600mm
D B Weight Number Max. cutting Reference num- of teeth depth ber
| [mm] | [mm] | [kg] | [mm] | ||
| 160 | 25 | 2.8 | 40 | 25 | 6 35 08 089 00 7 |

Gang cutters, HSS, for gear type:
a - for machining steel pipes, high-alloyed
b - for machining plain steel pipes and cast iron pipes up to a max. wall thickness of 10mm and a max.diameter of 1600 mm
| D | B | Welg | Num- | B | Max. | Reference number |
| ht | ber of | cutting | ||||
| teeth | depth |
[mm][mm] [kg] [mm]
160 38 2,85 40 65 25 63508091010
150 28 2.0 32 30 25 63508099010
160 38 2,85 40 37,5 25 63508095010

Gang cutters, HSS, for gear type:
a - for machining steel pipes, high-alloyed
b - for machining plain steel pipes and cast iron pipes up to a max. wall thickness of 10mm and a max.diameter of 1600mm
D B Weig Number β Max. Reference number
ht of teeth cutti
dept
[mm][mm] [kg] [mm]
154 30,5 2,5 32 30 25 63508099020
Special form cutters for other materials and other cutting geometries upon request
Chain Link
10 chain links × 63.5mm = 635mm
Reference number 30231013027
1 chain link × 31.75mm
Reference number 3 02 31 029 00 2
Spare bolt
Reference number 3 02 17 216 00 4
Spare securing ring
Reference number 4 26 34 020 00 5
Spitting wedges made of steel
Reference number 63305006008
Splitting wedges, non-sparking
Reference number 63305013002


28 fr
Notice originale.
| Position de l'axe par-ear [mm] [mm] [mm] | chaleur nécessaire pour chaque côté [mm] | Longueur totale de la chaine | i* | ||
| IV 800 | 356 | 2.862,0 | 5.724,0 | 10 | |
| 850 | 355 | 3.001,0 | 6.002,0 | 10 | |
| 900 | 355 | 3.142,0 | 6.284,0 | 10 | |
| 950 | 354 | 3.284,0 | 6.568,0 | 11 | |
| 1.000 | 354 | 3.428,0 | 6.856,0 | 11 | |
| V 1.000 | 312 | 3.464,0 | 6.928,0 | 11 | |
| 1.050 | 312 | 3.607,0 | 7.214,0 | 12 | |
| 1.100 | 313 | 3.751,0 | 7.502,0 | 12 | |
| 1.150 | 313 | 3.896,0 | 7.792,0 | 13 | |
| 1.200 | 313 | 4.062,0 | 8.124,0 | 13 | |
| 1.300 | 314 | 4.338,0 | 8.676,0 | 14 | |
| VI 1.300 | 293 | 4.355,0 | 8.710,0 | 14 | |
| 1.400 | 295 | 4.651,0 | 9.302,0 | 15 | |
| 1.500 | 297 | 4.950,0 | 9.900,0 | 16 | |
| 1.600 | 298 | 5.250,0 | 10.500,0 | 17 | |
| 1.700 | 299 | 5.553,0 | 11.106,0 | 18 | |
| 1.800 | 300 | 5.857,0 | 11.714,0 | 19 | |
| 1.900 | 301 | 6.162,0 | 12.324,0 | 20 | |
| 2.000 | 301 | 6.468,0 | 12.936,0 | 21 | |
| 2.100 | 302 | 6.775,0 | 13.550,0 | 22 | |
| 2.200 | 303 | 7.083,0 | 14.166,0 | 23 | |
| 2.300 | 303 | 7.391,0 | 14.782,0 | 24 | |
| 2.400 | 303 | 7.700,0 | 15.400,0 | 25 | |
| 2.500 | 304 | 8.009,0 | 16.018,0 | 26 | |
| 2.600 | 304 | 8.319,0 | 16.638,0 | 27 | |
| 2.700 | 305 | 8.629,0 | 17.258,0 | 28 | |
| 2.800 | 305 | 8.940,0 | 17.880,0 | 29 | |
| 2.900 | 305 | 9.251,0 | 18.502,0 | 30 | |
| 3.000 | 305 | 9.562,0 | 19.124,0 | 31 | |
Recipients de transport
m = 311
[mm]
65 25
30 25
375.25
63508091010
6.35.08.099.01.0
6.3508095010

| Posizione dell'asse mobile | D A Lunghezza necessa saria delle catene per lato | Lunghezza totale delle catene | 1" | |
| [mm] | [mm] [mm] | |||
| I 250 | 452 | 2.854,0 | 5 | |
| 300 | 1.427,0 | 3.050,0 | 5 | |
| 350 | 1.525,0 | 3.264,0 | 6 | |
| 400 | 1.632,0 | 3.488,0 | 6 | |
| II 400 | 414 | 3.564,0 | 6 | |
| 450 | 1.898,0 | 3.796,0 | 7 | |
| 500 | 2.019,0 | 4.038,0 | 7 | |
| 550 | 2.144,0 | 4.288,0 | 7 | |
| 600 | 2.273,0 | 4.546,0 | 8 | |
| III 600 | 383 | 4.604,0 | 8 | |
| 650 | 2.433,0 | 4.866,0 | 8 | |
| 700 | 2.566,0 | 5.132,0 | 9 | |
| 750 | 2.702,0 | 5.404,0 | 9 | |
| 800 | 2.840,0 | 5.680,0 | 9 | |
| Posizione dell'asse mobile | D A Lunghezza necs-sarla delle catene per lato | Lunghezza totale delle catene | i* | ||
| [mm] | [mm] | [mm] | |||
| IV 800 | 356 | 2.862,0 | 5.724,0 | 10 | |
| 850 | 355 | 3.001,0 | 6.002,0 | 10 | |
| 900 | 355 | 3.142,0 | 6.284,0 | 10 | |
| 950 | 354 | 3.284,0 | 6.568,0 | 11 | |
| 1.000 | 354 | 3.428,0 | 6.856,0 | 11 | |
| V 1.000 | 312 | 3.464,0 | 6.928,0 | 11 | |
| 1.050 | 312 | 3.607,0 | 7.214,0 | 12 | |
| 1.100 | 313 | 3.751,0 | 7.502,0 | 12 | |
| 1.150 | 313 | 3.896,0 | 7.792,0 | 13 | |
| 1.200 | 313 | 4.062,0 | 8.124,0 | 13 | |
| 1.300 | 314 | 4.338,0 | 8.676,0 | 14 | |
| VI 1.300 | 293 | 4.355,0 | 8.710,0 | 14 | |
| 1.400 | 295 | 4.651,0 | 9.302,0 | 15 | |
| 1.500 | 297 | 4.950,0 | 9.900,0 | 16 | |
| 1.600 | 298 | 5.250,0 | 10.500,0 | 17 | |
| 1.700 | 299 | 5.553,0 | 11.106,0 | 18 | |
| 1.800 | 300 | 5.857,0 | 11.714,0 | 19 | |
| 1.900 | 301 | 6.162,0 | 12.324,0 | 20 | |
| 2.000 | 301 | 6.468,0 | 12.936,0 | 21 | |
| 2.100 | 302 | 6.775,0 | 13.550,0 | 22 | |
| 2.200 | 303 | 7.083,0 | 14.166,0 | 23 | |
| 2.300 | 303 | 7.391,0 | 14.782,0 | 24 | |
| 2.400 | 303 | 7.700,0 | 15.400,0 | 25 | |
| 2.500 | 304 | 8.009,0 | 16.018,0 | 26 | |
| 2.600 | 304 | 8.319,0 | 16.638,0 | 27 | |
| 2.700 | 305 | 8.629,0 | 17.258,0 | 28 | |
| 2.800 | 305 | 8.940,0 | 17.880,0 | 29 | |
| 2.900 | 305 | 9.251,0 | 18.502,0 | 30 | |
| 3.000 | 305 | 9.562,0 | 19.124,0 | 31 | |
| Posición del eje de roda-dura | D A Longitud de la cadena por lado [mm] [mm] [mm] | Longitud total de la cadena | 1* | ||
| I 250 | 452 | 1.427,0 | 2.854,0 | 5 | |
| 300 | 452 | 1.525,0 | 3.050,0 | 5 | |
| 350 | 450 | 1.632,0 | 3.264,0 | 6 | |
| 400 | 448 | 1.744,0 | 3.488,0 | 6 | |
| II 400 | 414 | 1.782,0 | 3.564,0 | 6 | |
| 450 | 413 | 1.898,0 | 3.796,0 | 7 | |
| 500 | 412 | 2.019,0 | 4.038,0 | 7 | |
| 550 | 411 | 2.144,0 | 4.288,0 | 7 | |
| 600 | 409 | 2.273,0 | 4.546,0 | 8 | |
| III 600 | 383 | 2.302,0 | 4.604,0 | 8 | |
| 650 | 383 | 2.433,0 | 4.866,0 | 8 | |
| 700 | 382 | 2.566,0 | 5.132,0 | 9 | |
| 750 | 381 | 2.702,0 | 5.404,0 | 9 | |
| 800 | 379 | 2.840,0 | 5.680,0 | 9 | |
| IV 800 | 356 | 2.862,0 | 5.724,0 | 10 | |
| 850 | 355 | 3.001,0 | 6.002,0 | 10 | |
| 900 | 355 | 3.142,0 | 6.284,0 | 10 | |
| 950 | 354 | 3.284,0 | 6.568,0 | 11 | |
| 1.000 | 354 | 3.428,0 | 6.856,0 | 11 | |
| V 1.000 | 312 | 3.464,0 | 6.928,0 | 11 | |
| 1.050 | 312 | 3.607,0 | 7.214,0 | 12 | |
| 1.100 | 313 | 3.751,0 | 7.502,0 | 12 | |
| 1.150 | 313 | 3.896,0 | 7.792,0 | 13 | |
| 1.200 | 313 | 4.062,0 | 8.124,0 | 13 | |
| 1.300 | 314 | 4.338,0 | 8.676,0 | 14 | |
| VI 1.300 | 293 | 4.355,0 | 8.710,0 | 14 | |
| 1.400 | 295 | 4.651,0 | 9.302,0 | 15 | |
| 1.500 | 297 | 4.950,0 | 9.900,0 | 16 | |
| 1.600 | 298 | 5.250,0 | 10.500,0 | 17 | |
| 1.700 | 299 | 5.553,0 | 11.106,0 | 18 | |
| 1.800 | 300 | 5.857,0 | 11.714,0 | 19 | |
| 1.900 | 301 | 6.162,0 | 12.324,0 | 20 | |
| 2.000 | 301 | 6.468,0 | 12.936,0 | 21 | |
| 2.100 | 302 | 6.775,0 | 13.550,0 | 22 | |
| 2.200 | 303 | 7.083,0 | 14.166,0 | 23 | |
| 2.300 | 303 | 7.391,0 | 14.782,0 | 24 | |
| 2.400 | 303 | 7.700,0 | 15.400,0 | 25 | |
| 2.500 | 304 | 8.009,0 | 16.018,0 | 26 | |
| 2.600 | 304 | 8.319,0 | 16.638,0 | 27 | |
| 2.700 | 305 | 8.629,0 | 17.258,0 | 28 | |
| 2.800 | 305 | 8.940,0 | 17.880,0 | 29 | |
| 2.900 | 305 | 9.251,0 | 18.502,0 | 30 | |
| 3.000 | 305 | 9.562,0 | 19.124,0 | 31 | |
Paraoculars:
Paraoculars are made from the same material as the eye.
iPellgro de accidente!!
Ancho x alt. x long. (mm)
6x6x32402210440000
8× 7× 3240221050005
A-BBBeUeHbI yObeH blyMa Tpy6o0pe3epHO MauHbI CoCTABAAET, TINHIO: yObeH b3yKOBOra DABAEHHN 92 A5 (A); yObeH b3yKOBMOUHOCTH 105 AB(A). HocTb npOTnBOwUMy!

Tpy6ofopeephaMaunHaCnHEBMOnpHBOAOM:
| Homoep Δλλ 3aKa3a 7 560 ... | 7 560 ... | |
| Tιη | RDG 18-3 a (**) RDG 18-3 b (**) | |
| ΔаБаЕнe BOЗДуxa | 6 6ap | |
| PаСхОДA BOЗДуxa NOД | 72 N/c | |
| HарPyЗКой | ||
| ЧИСАО OББОТОВ XOЛОСТOrO XOДa | ||
| MотOP | 6000 06/MMH | |
| РěхУшЕ ИNHСТурмЕЦы | 35 06/MMH 70 06/MMH | |
| ПлДАЧa | 40 MM/MMH | 80 MM/MMH |
| ОТДАБЕМЯ моц"HOCь | 2000 BT | |
| Виутpeнчий ДИамETур Шаанга | 15 MM | |
| Вес (NETTO), OK. | 89 KI | |
| РазМерbl: | ||
| ДИAMSут рИСТурмЕЦа, | 220 MM | |
| Мakк. | ||
| Lmáx. | 886 MM | |
| Hmáx. | 282 MM | |
| Bmáx. | 443 MM | |
| B1 | 372 MM | |
| B2 | 254 MM | |
| B3 | 25,5 MM | |
A-B3BueHnhb ypoBeHb UyMa Tpyo6ppe3epHO MaunHbI cOCTaBAET,THMnHIO: ypoBcH b3ykoBO rABaEHHr 87 AB (A): ypoBeH b3yKOBo MauHooTH 100 AB (A).

Hocntb npOTnBOwMbI!
3HaueHn H3MepeHb corAaCHO cTahapTy EN 61 029.
Ha3haueHHe Tpy6oΦpe3epHoMaunHbI.
Tpbyofoep3epnMaunHa npEHa3HauHe DaApe3kn Cbo6oAoHeauxnO tpe3KOB Tpy6 N AAR npOKaAekn TpyoPBOO4OB 13 ctaan Hn yTuHa, a TaKke AaCKaWbAHNR KpOMOK KOHcO Bpy6 nepeC bCapKor
AmpeKTHBbEC 94/9ECATEX
(83pbboonacn aTMocepa)
Tpy6ofope3epbIe MaunHbI bHpMbI DAH H TnOB RDG (^) / RSG (^) /RSG Ex (^**) He NMeOT dOnycka DAA paBOtBHa 83bpB0OAnChbIX yAcTkX n Ha 3TN Tpy6ofope3epbIe MaunHbI Het CBHeTeAebTB 06 hCbTbTaHnx Oba3ua corAcho
DInpeKTHBE 94/9EC.
(B Tpy6ofope3epHyMoMaunHyRSGEx (^**) ACTpoehbToAboKo ABO COCTABAOHIOSE-3AEKTPOMOTOPNDOONAHHTeAHBH BIKAIHOATEAb-,OTBEVAIOUHOpMAMATEX.)
AmpeKTHBbATEXpacnOcTpaHnOTcraToABoHoTaTeppntOpHO EBpOeckorocoo6uectBa.
KpaTkni 063op.

13aXHMHoe yctpoCTBO
2 KpenekHbIn BnHT Aa 6OKOBOn IANTbI
3 BoKOBa nHTa
4 Ta6AnuKa HApYKhbIX AnaMeTpOb Tpy6bi
5 BoAT
6XoOBOB BnHT
7 MexaHn3M noDaun Ha Bpe3Anne
8 BNTC C UAHNADPHNECKO rAOBKO A4A MEXAH3Ma NDaOH Na BPE3HNe
9Pn30HHbI 6oA7
10XoOBAOBc
II Raika
12 BnHT c WeeTnPaHHo RoAOBkoI
13 La6a
14OcbHaTAXKeHH
15 RaKa
16 HhctpymehTaabHaanHHdeAbha 6a6ka
17 RaKa c Tpy6Hou pe3b60
18 Kpenekhbln BnHT MoToPa
19HaKaaaKa
20 Ctonophoe Koabuo
21IeHnHa3Be3A04Ka
22 TpaHcnOpTHbI BaA
23 Ctonophoe KoAbuo
24 LHTnΦT
26a6K
Abae6e3oNachoctn.
PepaHIOAOB3OHmENrTOOpe3eRHO MAUHHbIPOHHTAHCOOTBTCTBHOEAEOBtBt
06iue yka3aHnno 6e3oNaCHocTH A4r Tpy6ope3epbIX MaHH, HauHOHaBHeI POAOxEHnO 6 OxaHte Tpyda.
XpAHnIte 3TO pyKOBOACTBO NO 3KCNAYATAUINAMAAaBHeuero NOAbo3OBAHN HnpHaarTaCRO K TpyoOoPc3epHOH MaWHe NpH Ce PPOADAEHN INPEpeAeB NoPAOBAHNe.

06uhe yka3aHn no 6e3oNaCHOCTH.
BHIMAHVE! IpouTHTE Bce npBBeeHHbIe HNKe yka3aHn. OuIN6Kb, COBepueHHbIe H3-3a HcEoAHOeHHa 3THX yKa3aHnM, MORYT pNpBECTN K npaaXeHHIO 3AEKTPOKTOKOM, NOAPy HA TaeKebim TpaBMam. PnpMeHReMoE BdaJIbHeWEM NoHrThe (Tpy6OoPe3epHbMaMInHa) pacnpoCTpaHReTaC h TaPoBoOppe3epHbIe MaMInHbI c 3AEKtponPiBOAm n C N PHEBMPOBAMoD.
I. Pa6oee mecTo.
aPa6oOHHyactOKdoAJOHcENb8bTbNCHTBmHy6paHnHbIM. BecOprrADKnHOAOeOCBeseHNHeMOrYtnPnRBeCTN K HcCtAHCBTMCAUYAM.
b) He Oanyckatb AetH NocToPOHH ANL 6Aa3KO K paOtaiooI ty6o0pe3epHO MaHIne. PnO tBxAeHN Hb MoKTe NOTepBa KOHTpAo HAD Tpy6o0pe3epHO MaHInoH.
2.3AEKtpo6e30anachoctbtpy6oΦpe3epHbIX Maunn C 3AEKtpoNPBOAOm.
a) HIKOMM 6pa3OM Heab3n3MeHrTb 3AekTpueckoe npncoeHHHeHne.
b)3auiuaiae Te 3eKtpKa6BeAIOAIAOHeHn OTOBdEChTBn BicocHXTNepaTpy,MCaA,OCTbpx KPOMK,BPAUauoXnCzBAIraOIoXnC4aCTe. TIOBpeXdHeHbne HnPEpeXcTeHTybe Ka6eAnIOAIAOHeHnOBpIaOT PCKNopAkeHn3AEKTPOTOKOM.
-
Be3onachocObB 6paueHHN C CKaTBIM BO3AxyOM.
a) Peryarphno npoBepnTe noaay cKaToro 03aXyHa. 3aunuHae T HAHT OT N3HbO6, nepeKHMOB, BO3eJeCTNB BICOKHX TEMepatyp HocptbX KpOMK. KpeKIO 3aTIRHBaTe XOMYTHN HAHA. TOpBpeKcHHe B HAHTN MyFtBu HEMcADEHNO peMOHTnPOBaTb. PnHEnCnpBAHOCTH CnCTembl NTAHHO CkTbM BO3aXyHom HApOpH bI aHaH MoKeT Pe3KO 6nTB b NPocTpaHCTBe nPiBecTb K TaBPAM. NpaHra Taab HAn CTpyKx MOYr NPbECTN Ka PAHEHN RA3. -
Be3onachoctb AIOAeI.
a) BybTaB HBMMAEbHbIMn, CaeHrTe 3a pa6oToM MaunHb, BeAHTe ce6b pa3ymHO npa6Ote ty6ofope3ePHoMaHNb. He pa6oTaHc Tpy6ofope3ePHoMaHNbU BCTAOM COCTOARHH, NOA, BHAHHEM HAPKOTIKOB, CNHPbHX HAIHTKOB NAM AEKAQPCTB. OAO MRHOBeHe HBMMAEbHbOCHtn Pp a6oTe c Tpy6ofope3ePHoMaHNbMOKET pINBECTN KTRKeABIM TpaBMAM.
b) PnMnEHJIte CpeCTBa HAnBmAYaLBOH 3aAunTbI. NcTOrHHo nOa3yIeTbc 3aUThBMIM OUYAMn. TaKHe CpeACTBa 3aUnTbI, KaK npOTBHOBIAEBOEO pcreNcapota, 3aauTHHaO6bYba HEKoA3Ruei NOAOUIBE, 3aunTHbI WAEM I npOTHOWbMyb, PnMnEHMaBle PnH HAuMH COOTBeTCTBIOUX BPeADhXbF AakTopoB, CHNKAOT PNCK TpABmPOBAHN B3aO6aBAHN.
c) N36beraTe HenpeHaHapeHnO BkAIOeHnmaHHbI. Pepe aNODAIOUeHm TpyoOoPeezHO mAsHHbIK AAEKTPnueckO cETn Hn Cetn CkAtoHO 03dYaX IOBepbTe BkIAOeHnHO NAOxOHnE TaABHO BbIAOHTaeKOMMYtAUHNOHO 6AoKa, AOAnHHeTbHO BkIAOHTaeHn Hn IApOBoro KpHa. NOAIOAHNE BkAIOeHnO TpyoOoPeezHO mAsHHbIK C SETn 3AEKTPOnHTAHnHn Hm NOaAHn CkAtoHO 03dYaMoKET pINBECTN K HeCACTbHM CaYyAM.
d)ПпepeвькAoHHeHmTpy6ofope3epHOМaWnHbYdaHnTB HNCTPYMEnTHbHaCtpoHKnCMeHbPEKyUeFOrHNCTPYMEnTA. VHCTPYMEnTHMANKIOOCTaBAAHbHbNAbPaAaIoEMcMaY3Ac Tpy6ofope3epHOaMnHHb,MOKET npHBcTeH KTPaBmAM.
e) He nepeoueHnBaIte ce6a.3aHmMaTe yctOouHBoe noLoXeHne n B AIO6e ApemA DeepKHe PAABHOBeCne. B TAKOM NOAOKeHHn Bb MoXeTe Ayuwe KOHTPOAnPoBAt btpyOooPe3epHyO MaunHbI B HEoHXaAHhBix ChTuAuaX.
f) HocHTe noAOxOaIyIO OaEKAY. He HocHTe 1nPOkOyIO OaEKAY nnKpaueHnA. AepXHTe BOACbI, OaEKAY n nepATkn NOaAbIe OT ABmAoUnxCRACTei. UpOKaOaEKAA, YKpaueHnA nn DAmHHBc BOACbI MoYr 6bTb 3aTMyTb ABnAIOUHMNCAuCTAMN.
- Pa6ota c MaunHNoH.
a) He neperpykaite Tpy6oepzepHyIO MaunHy. PpHMeHJeTe Aa
pa6bTn npabAblbN peKyuMn HnCTpyMeHT. C nmoiBIO
npabAblHO bI6bpHnOro peKyuOe HnCTpyMeHTa BblBOIOAHTne pa60y 6bCTpeN 6E0NaCHee.
b) He npHMeHnTe Tpy6oPpe3epHyIO MaunHy C HecnpaBbIM BbIKAOHaTEcAeCM HAN WApOBeMb KpAHOM. Ty6oDppe3epHa MAuHnI, KOtOPAR HE BkIAOuaTcER NmE He BbIKAOHaTecR OAnCaN I DOAAKHe 6Btt OTPEMOHTnPOBaHa.
c)AaHaaApa6oI NO HAcTPOKe HAn CMeHEpeXyUero HHCTPymHeTAKIOUHTeNoAa3 Heprrn K MaIIHne. 3Ta mepa npaoctopoxkHOCTn npaoTbPaauet HnpEHaHamepeHHbI aayck TpyOooPe3epHO MaHnhB
d) He AnyckaIte K pa6oTe C Tpy6oPe3epHO MauHHoH AMLKOTOpBE H3AOKOMbI C He NAM He YHTAAH NaCTOARuXyKa3aAHNI. Tpy6oPe3epHbE MaHHbI ONaCHbI B PykaxHeONblTHbX AIOAEi
e) Peryapno npoBAnTe Tex6cayKbAHHe Tpy6oep3epHOI MaHnHi. TpOeBpeTne Tpy6oep3epHy MoaHnHy Ha npAbaHyIO BbIEBepKy H NAdEeKOb KpeAeHnro NDoBnKbHbIX qactei, A TaXke APyTne kApTOBi, KOtOpBe MOrY OTpuNaTeAboH NoNAbRb H NkCnAYatauH NO Tpy6oep3epHOI MaHnHi. HeCNpBaHn Tpy6oep3epHa MaHnHa DOAkhna 6bTb OTpEmOHTHpoBaH O hauHa PaTaBbl BoAhuoe YCAO pPeADToBpaTMhBx HecuaCTbH CAYaEB EMEOT CBOE HauAo B nAOxOM Tex6cayKbAHn IN Tpy6oep3epHy MaHnH.
f) Coepxabtepeyunn Hnctpymehb O octpmn H nctomc octoHMM. TuaTeaBho yOxoKeHHb peyunn Hnctpymeh C octpBmmpeyKumkOMPApaTaetAynue n 6eonaneche.
g)NcnoAbyte Tpyo6ppe3epHyO MaHINHY,PNHnADAEKHOCTH, pekyUne HnCTpyMeHTbI N T. D. B COOTBeTCTBn C yKa3aHNM AHDoHO pyKOBOACTBa NO EKCIAYATAUyn, YyITbIBA Pn 3TOM yCAOBHa pa60tBu HnBA BvIOANHEMO ONePAuHN. Ano3oBAnHe Npyo6ppe3EPOH MaHINHBAA BbIIOANEHNApyTHx, He npEayCMOTpeHHbIX Aae ee KCIAYATAUHN OpeauHN, MOket nPMBeCTn BO3HNOBHOHENO NaCHbIX cHTyaUN.
CneuHaBHe yKa3aHnno 6e3oNaChOCTn AAn Tpy6oΦe3epHbIX MaunH.
OnachOCTb TpaBMnPOBaHm
Tpy60pe3epnheMaunHbI TpaHCNpOtpOBaTB ToAbko C NOMOJIbO NOAbMeBHIX MEXAHIMOB.
Пин ВБЕДЕНИВ 3ЖСЛУАТSAHIO, BO ВСМЯРбОТБИ NпгпТБОССАКУНИЗНУТуБОФЧЕЗЕРОНМаSHINHBСоБДЮАITEHAHONAHBbIe nPABNA TEXHINKII 6E3OANACHOtN.
AMENKTHB NO B3PbB06E3OANCHOCTH NPOECECHOAABHBIX COIO3OB AOXAHH CTPORO COAOAATCBsR
6. Tpy6ofope3epHbIe MaMHbI
c 3AekTpponpboAoM (TnRSG (^)
HanpajheHne HCTOCHNkA TOKA DOAAHO COOTBETCTBOOBATb DAHHbIM, Ykaa3AHbIMy H Tafty6PDE3ePHOI MAJIINHE.
PnHcOeAHENHEpyT6oOpE3epHOaMHNbIaOxAHO 6bIbTaAaHIOpeNo pdeOxAphHNTeAem Ha 16 A.
PeyAhpno IPOpeBepaKe6AbNoKaIAOueHnK cTeH N, pNHaAHNNi, Ka6Ab-YaANHNTeBa
ПLOДАКОЧАЕ ТуБФСФЕЗЧЕМУ MAHINСК YΚΑΟΥΚΚOMMYTAДИ
TOAБК Рпг ВБКAOΥEHON ГАВΗМ ВБΚΙΥОТAEA.
BOKKOMMYTAUIN DOAAKENBCERAHXOANTCBA NpeAeIAX OocraeMOCTH ONepaTopa.
7. Tpy6ofopeepheMaMHbI
C nHEBMONpHbOaOM (TnRDG (^)
K Tpy6ofope3epHOn MauiHne pa3pe7aetcnoAkaKo7aTb AbaAenHe He 6oae 6 6ap.
IIOaKIOHaeTtp6ofopeep3epyHO MaunHy K cetn Cxatoro BO3aYXa TObKO C 3akpblIM IapOBbIM kpaHOM.





PnHnAeIcTBnA (CM.PnC.A).
Tpy60ppeepnmaunna Otp3aetn 06paabaet ctenktn py6b C nmooubo pexyueo Hnctpymenta. C nmooubo kpenexhoro yctpoiCTBa maunha yctahabMaetcHa HapkyHoi CTOpoe Tpy6n C nmooubo co6ctBeHHORA maeHaa Maopaohn odaan O6erae Tpy6chapyKn B KauctteBnHCTpymenta Caykat KpytBie NnabHe DnKn DAA MetaAa N npOphiBbHe Ppe3b, peKyuaan KpOMKa KOTOBHX BIIIOAHEN B3aBNCMHOCTH OT MATEPMAa Tpy6bln 6biCTpopeKyuue CTaan NObBwHHeHIN npOHOCTN Hn H3 TBepAoO cnAaa.
YcTaHOBbKaIay6Hmpe3a npOn3BOADTCa C NOMOIOBIO HNCTPYMEnTAABHOWIIINAEABHOH 6a6Kn (16), WApNHPO 3AKPeIeHHoHa Ho 06Exn 6OkoBbIX NAMTax (3) npeCtABAREMOXOOBADBMHNOTM (6).
TpaHcnpTbH BA2 (22),KOTOpB C NOMOUsbTOpaHCnOpTHbIX KOAc co3aTe ABHXKeHHe pa6ooye NOaAHy, PnHbOAnTCy OT HcTpyMeHTA hBOI UINHDeA C NOMOUsb 2 cTypeH e HepBraHOH nepeAAu.
ΦpHKUHmRA MyfTa npeOxApaHReT peAkyTOp NOaHn OT neperpyakn.
HnCTpyMeHTaBbHbI WnHHAEb BpaaaetcB OcHb HxckTKnX NOaunnnKHX. TaBBHb peykTOp, CO m3AOKOH NORpyxehNEM, AAR npMBOda HnCTpyMeHTaBbHO WnHHAEaER COCTOHT N3 PAAHETAPHOu NepBPOH CTyneHEH.
PeaykTop paccunthaTakHM obpazom, YTO CAYaHHOe TOPMOKeHMe
cHnO IOAnOH octAHOBKN He NpBHOANT K NOpeKaeHNIO. Bce
BAblpeaykTopBaPAAOTC8N BOJNOHTHHNX KACHHNIA.
IIOACbMaHnBcOcMnPpeHa3HaeHdAeBcEHHNPO Tpy6e 3AkpeHHeHrTpy6oBpe3epHO MaHnBuN HAApeNepeaChc P3eaHcN ONaaH. V8Ba3Ka HApkyHNbIMdAMMetpOM Tpy6bO cyueCTBaERcpeCTaHOKBXoAOBOOOC (10).Lenn 3AkpeHHeNcOBpaHbM3OTAEAbHBxOAnHAKOBbx3BeHbe. HcAo He6xoAHmBx 3BeHbe MAn DAHAe NteN 3aBNCHT OT HApkyHOrO DAmetPa Tpy6bI.
AoHaayaa pa60Tbl.
NoAROTOBHTeAbHbIe pa6oTbI.
Tpy6bl,paspe3aemble hA cKaAACKO IAOUAAke,DOAXHbI 6blTyAoXeHbI TaK,TO6bl peKxuHnHCTpMyENT He 3AKAHNBALO.
AayyoaeHHbIX Tpy6 DOAAHO BBAepKnBaTcBpacctOAHMEOT HApYKHOI CTeKN TPy6bl AO CTeKN KaHABBI He MeHee KAK 50 CM NO BCEI OKPYKHOCTN TY6bl HAANBY I M
PObEPXHOCTbTY6b DOAXHA 6BtB OHMHEAOT3aRpHHeHHn 3eAHN.PpeBaPHTeBHO ydaANTb M4KHe 3auNTHbIe NOKpBTINr POEBxHOCTTpy6b.
PexyuHMHCTyPMHTAOJHEHbHTbBbPAHBCOTBECTBNMCATEPHAOMTPy6bI,PTe6yEMOHΦpMbIO6pa6OToKN CMA3OHOXAAKDAOUEHNKIOCKTNI
3a DOHOAHNTeABHOH HOpMaueHoe6paauTecb K BAAeMy
NOCTABHnKcM3AOYHBHX MaTePRAAoB NO OXAaJAAOoiEe XIAKOCTH.
(CMTOPHTAE TAKKe NHEBMATNECKOE CMA3OyHO-OXAaJAAOiooee
ycpOCTBO 912 01 002 004)
IpoAroTOBka Tpy6oΦpe3epHOJ MaunHbI (cm.pnc.A).
OTnyctntb 06e Aekaiune Apy npotnb Aypyraa (11). PyKorTko (B hemOADHe AHHCTPMeHTA) HA MEXAHIme NOaHn Hpe3aHHe (7) NOAHTb NHCTPMeTAbHYo UINHaeABHyO 6a6Ky 16). YAAaTHb Np3HOHbIe BHTb (9) INpeCTaBbX OAOByOc b (10) COAACHO AaHHbIM TaBAMK C HApYHKBMn DAmETpaMn (4) Ha AKTyBAHBn AHAMET TP TybI. AA IpOMeKYTOuHbX BEAMHN IIOA3OBaTBc AyeUOIO No BAEHIN HApYHKBn AINAMET TP TybI. ONaT KPNKO ZATRHTy PnIHOHbIe BHTb (9).
Ta6HnKa HApKxHbix AnaMeTPOB Tpy6:
| P | D [MM] [Актум] | |
| I 250 - 400 9,6 - 15,7 | ||
| II 400 - 600 15,7 - 23,6 | ||
| III 600 - 800 23,6 - 31,5 | ||
| IV 800 - 1000 31,5 - 39,4 | ||
| V 1000 - 1300 39,4 - 51,2 | ||
| VI | I 300 - 3000 | 51,2 - 118,1 |
P:poLoXeHHe XoOBOOIO
D:Anametptpy6bl
3aKHMHOe yCTPOHCTBO (1) AHA HATRAKeHHI UENe HEO6xOAMMO BTRHYb BPAUHeHEM PnyKHHORO CTAKAH TAK, YTO6bl pN IyCTAHOBKe Tpy60pe3epHOH MaUNHb 6bla DOCTaOHb XoA DA HATRAKeHHI
Co6paTbIeHn HATaXeHHN B COOTBeCTBn C HApYKhbIMdAMMeTpOM Tpy6bl. YcTaHOBHb Tpy6ofopeepyIO MaunHy Ha Tpy6y.
3aKpePAAHHe Tpy6ophi3epHOH MaunHBHa Tpy6e. HAOXENHE 3BENbEBbx ueen.
EepepackbIbIe3BHeBbeIeLHnHaOoKHTbHaTpy6yNo06e CTOpOHi Tpy6ofoep3pHmMaunHbI.
PnHNOAHbTpy6oep3epHyKMAHNHyNpOHTAHyIeHHIOA eHHBM 3e3oOHAMK TAK,OT6bIONC OYCKaMAHNHbIeHH BOUAN B3aueTACHECH CO 3e3oAOHKAH. HAAoKOHc CBO6oOHC KOHBJL cENH H 3e3oAOHcO NCH HATXKEHIN (14) nKOABOOI OCH (10).3aTeM 3aMKHYb cIb bOAtOM (30217216004) npeaoxpaHIb ABYM CTONOPBHIM KOBaJUM (4263200005).
HaTaeKeHne 3BeHeBbeBbIX eenei.
Chaaa CaerKa HataHyb cenn, YTO6bO OHN AERAM HA Tpy6y.
AAR STORo Bpaauatb npyykHHbte ctaKAnb. AAR TOHNO BBIEpKn
HECKoAko pa apepeABHytb Ty60dpeepHyO MaunHy B 06e
CTOPoHO NO OKPYKHXOTn Tpy6bI.
BpaueHmnpyKHHbX cTakAHOB HATaHTy3BHeBBeBie 2eHN TaK, 406bl WNT (24, pnc. A) nonaa B npdoAahOB ToBepCTne npyKHHORO cTAKAH B npeAAax BBtOCHN NO OKPYKHOCTN
Bo BPmnpoecca pe3kn Heo6xOAMn CaeAHTb 3a NoAOKeHHem
MTHPfBA MEXAHNIMAX HATRKeHH. ECAN TPyBa HE KpyTAAR, HATRAKHeH
CENe MoKet HMeHATBcA. IIOtOMY pNp paOte Heo6xOAMn
MEXAHNIMATRKeHHn Heo6xOAMn AHO NOATyHTb, HMO OCAABNT.
Onachoctb hecaacthoro cayhan!
He noobopaybamb npyknHbI cmaKaHb gaBbe 3a my mouky!
YcTaHOBkapeKyuHxHnCTpyMeHToB.
OnachocTb TpABMPOBAAHIN
BCAegcmbne HenpehamepeHHoro BKAIOeHNA.
OyCtmaHOBKn OmcoegnHmbl BnAky cemH HnA hN AHaH nogavn CkAmoro B03qYxa.
Пгимен�TOлбКОржушпнИСИНТУМЕNTыс6БЗЛТСЕДМРБМРБКУSHMКРОКAMKH.
IpeaeYCTAHOBOKOHTHbTBEHTBbHMbTHINHNHEAEbN TAKKHePnHOHHbEs NocAaOHbE NOBEPXHOCHt.
YcTaHOBnTppeKyuHmHcTpyMeHT.
Kpenko 3aTaryb kpenexkyraKy HcTpymeHa.

BBeDeHHe MaunHbI B 3KcNlayaTaunIO.
Tpy6ofope3epHaMaunHnCa 3AekTpponpBOaOM:

Tpy6ofopeepma Maunna C
aekTPOPNPBOAOm NOAOKHOHeN K 6AOky
KOMMYtaUN Co cAeYIOUIMM
annapatamc:
-ΓaBbHb BbIaOHTaeb/peBepCop
-3aunTHbI aBTOMaT ABnraTeA
-MHHHMaBbHbI paCLeINTeAb HapxkeHH
-ITENCEAbHbIe COeAHHeHH
IaBbHb BbIAOuYaeB HcNOAByTcA DAA BkAOUeHN NpeBaPcHaBENH BpaSHeHN.3aunTHb ABTomAT ABnFATeA NmHHMaABhPbacEnITEb O6p3yOT eHMHb y3e.Pnp neperpy3e
cpaabaet 3auHTbH ABOTM ABRaTeA, npn OTKIOUeHHN HapraKeHHcETMH MHHMaBbH paCenNTeAB OKKHOaET TpyoPpeepheHy MOHHT O cTcI IpEADTbpueHH HenpeHaMepeHHORNO BTOPTOPHRZanyCA.
AaBkUOeHn Tpy6oep3epHoMaunHbI CaeyET 3aDeiCTBOBaTb 3auHTbI aBTOMAT ABInrataEa.
5AOK KOMMYTAUHN PACNOAOXHTb OOCRAEMO AAN ONEPATOPA B IO6OE BpEM.
Tp6oep3epHa MaunHbI B yactnHO B3pbIO3aunHcHHom NCIOAHEHN:

Pepa6LOKOM KOMMYTzUN CAAyET yCTAHOBITb DOONAHYTeABHYO KOMMYTAUHOHHO KOPOKBc BblkAOHTAEAM DAA BKAOUYHNA Tpy6oep3ePHO MaNNHBn Ha Bp8bIOANbCHb YAcTCKX 30Hb2
BOKOMMYTZHIMPACNOAOXHTB AOcraMoAANOEPaTopoAIO6oe BpEM.
B3pbboonachoctb BOKKOMMYtaunpaCNOAOXHTb 3a npedeamn 30Hb2.
Iocae cpa6aTaBbAHHa3aunTHoR aTOMaT,NEPeO NOBTOPhBM BKAIOUYEHMe,CAEAYet BkIAOHTb AOJHOHNTAEhBbHb BkIAOHTeAb.
Tpy6ofopeephaMaHHa c INHEBMONPNBOOM:
IcnoaHeHRe RDG 18-3 a/ (^**) BkAoAeTcRA pacNoAOKeHbIM B IaAHre NOBaDo cKaTOrO BOaBya WApOBbIM KpAHOM, KOtOpB HXoAHTcR pNMo NPeRa THeBMAtNHecKM TOMOP.
06paueHHe c MaunHoh.
OnachocbTtpaBMnpoBaHna
Bo Iepma 6aobmbaazummbn kokxg gaoxhen 6bmyoaoocmbio 3akpbo n afockicpoabai?
Повереты павваьhoe НаррааБене Врашенин Иструмэнг.Tурбофпөрөний Машин с Актөрпогибд.НаррааБене Врашенин мoxket 6bttэ Матемено рөрсөнblim ВьлakчateaEm.
OryctHb C NOMOUBBO PYKOKTHB RWAUOUIINC NIAHBH DANKMOHOYAG6BE Tpy6y.AY60KO NORXKEHHN NABHBH DNCKCTAHUNMHPETY HAPANBAHEHpe3A.
Pnfope3epoBAHHb6paTbkMOxHO MehBwee 3auePaHHe HHTA. PpO3BOHTeBAHObCTpe3AHn BO3pactc T C yEAEHNHE ray6hnhpe3AHn.
IOrpy3HbpeKyuHInHCTpymeTnPn6An3TeaBHOHa3MMy6Ke, YEM Heo6XoAMn H 3atem NoAHTb Ha Tpe6yEmyoRy6MHy. PnI 3OM peKyuHInHCTpymeHT BixOAnH3 3auenEAHN.
Bbikaiokntbtpy6ofope3epHyIO MaunHy.
Tenepb3aФнкрOBaTBHACTpOky,3aTHyBAA3TOO06e raKn(11).
BkHouThTtpy6oΦpe3epHyMaunHy.
ECAMOHOCTMOTOPAOCTOVAHTOpa3pea3bTcEHKY Tpy6bTa0AHINPOXOA.
IPOAOXeHHbI Ty6bI MOrY Bo BPMepe3AHnHmEHnB CBOE NOAOxHe Hn3aBbN HnCTpyMEnB Pa3pe3. IOnTOMY NoCTABAAHBE KAnHBs CAEyET B6BbATB P43pe3 PeyePeryAHPbIe pacCToHHN 3a peKyuIm HnCTpyMEnTOH. Ha B3bpBOOanCbHbX yAcTkX nCNOA3OBatB KAnHBs (6 33 05 013 002) (RSG Ex18 a/b (^**) noCTABAAHBe mPiHnADAEKHOCH) nMOAOTK 13 Me63bckpOBOr MATEpHaA.
He neperpymaTb Tpy6ofope3epHyo MaunHy.
Ipeperpy3ka HauHIO, eCn npn Bpe3AHIN BpaauoOeOcR peKyuOER NcHTpMEnTA YcNAO O6OpOTOB MOTOPa 3aMeTHO naAet. BCAeCTBNE 3TOr NaaTe OAnHOBepeMeHHO npOMBOAnTEABHOCTb p03AHIN.
HaTOACTOCTEHbIX TP6aX (s>10mm) p3aEAtK KPMOKHn POA CBAPKY CaAeyT fpeepoBaTb 3a HeKoAko NPOxoAOB. OAnhKObAOPoma pea 3aZBmHT ON cAeyIOHXx AOKTOPOB:
- BbBepKn Tpy6ofope3epHOu MaunHbdo HauaPa6oTbI,
-OTKLOHEHNEI REOMETPMueCKOIN FOPMbI TPy6bI OT FOPMBIKpyraN UMAHn4pa,
- COCTOHHNPEKJUeK KpOMKn HnCHTpymEnTA, - TBepoCTn MaTePnAa Tpy6bl.
Tpy6ofopeepnmauHa OtaaKeHa TaK,TO npn dAmetpe Tpy6bl 300 MM 600 MM Hauao KOHeue AnHHpe3a NoutH COBnAaOT.
13-3a 3KcIeHTMHOCTn HappaaIOUeero BAA Metka
HactPOHKN (24.CM.PHC.D) AEiCTBtEbaHToA bko DAA OBOHX
HA3BAHbIXdAMeTPOB. A4 BoaBxH dAmETPOB MOKCT
BO3HNKHyTB Heo6XoAHMOCTb B NOACTPOKE.
06paTHbI xoA Tpy6ofope3epHbIX Maunn (RSG (^**) / RSGEx^(**)
HaheceHne MaTePnaIbHoro yUepe6a!
Ao 8o3bpama mpy6o4pe3epno MauinbI caeyem Bbeccnn pekuynn HmcpymenH nMpyb, ymo6b npegomba pammmb nopegegenn Hmcpymema n pegykmo.
AaONHOBHTAaBbHbBbIbKaOaTeBa/peBepcOp BnAoAAKHee 0 (BbHa).
BbBeCTnpeKyuHnHcTpymENTn3Tpy6bl. BKaIOHTbpeBepCopHaOpaTHbXoA.
Tpy6o0pe3epnHa MaunHa He npiroHa Aa pe3aHnHa 06paTHOM xOy!
Tpy60pe3eBbIe MaunHbI cIIHEBMOrPHIOaOM He HMeIOI 6oPbTHoro 0oAaI
Yka3aHnno OXaJKeHHIO.
HaheceHHe MaTePnaAaBHoro yuepe6a!
Mb pckomchgymcpnHcHmbl npHygHcMcbHcCMA3OuHOo
oxaJgaouey cmpnoBmDpMHbDAIVH. Pn HeGocMaohOM
oxaJXgeHHN mCa3ke cmpyKkMOeMzAkanHmTbcr.
Emo moem npBecmN KOaOMK HcHmPyEMhma.
UyyHhIbe Tpy6bpe3aTb BCERaB CyXOM COCTOHN 6e3 npHMHeHn CMA3OHO-OxAAkAIOoero CpeACTBa.
HnAbHbI AnCK HnAnpe3yAaPe3Kn HeaeInpoBaHHbIX CtaAbHbIX Tpy6 OxAAaTbMbIAHOI BOAOI.


Hactpoika ToUHOCTXOa.

OTnyctntb raiky (15, cm. pnc. A) KAIOH 46 MM.
NoBepHyTbOcb(10)noOTHOWeHmKHaKaAaKe(19).
3aTMyb raiky (15).
PnBpaueHIN OCH (10) no cacoob CTpeke (B HapnaBaeHHN Pekyueero HNCTPMEHTA) AHHN peKyuEero HNCTPMeHTA Cmeaetc BnPaBO (HapnaBaeHHe B3rAa paBHO npabaeHHO ABHXeHH Tpy6ofoep3ePHO MaHHI, pIn HaxOXeHHOn onepato N03aAn Tpy6ofoep3ePHO MaHHIb).
| Посmium xodobor OCH | D A Heöxbödning | ДАнна Zečи на OДу CTOPОУ | ОБсядампа Zečи | i* | |
| [MM] | [MM] [MM] | ||||
| I 250 | 452 | 1.427,0 | 2.854,0 | 5 | |
| 300 | 452 | 1.525,0 | 3.050,0 | 5 | |
| 350 | 450 | 1.632,0 | 3.264,0 | 6 | |
| 400 | 448 | 1.744,0 | 3.488,0 | 6 | |
| II 400 | 414 | 1.782,0 | 3.564,0 | 6 | |
| 450 | 413 | 1.898,0 | 3.796,0 | 7 | |
| 500 | 412 | 2.019,0 | 4.038,0 | 7 | |
| 550 | 411 | 2.144,0 | 4.288,0 | 7 | |
| 600 | 409 | 2.273,0 | 4.546,0 | 8 | |
| III 600 | 383 | 2.302,0 | 4.604,0 | 8 | |
| 650 | 383 | 2.433,0 | 4.866,0 | 8 | |
| 700 | 382 | 2.566,0 | 5.132,0 | 9 | |
| 750 | 381 | 2.702,0 | 5.404,0 | 9 | |
| 800 | 379 | 2.840,0 | 5.680,0 | 9 | |
| Посцьим ховобим ОСH | DA Heбхоань [MM][MM][MM] | Дама цп ha ОАну STорону | Оьшьддим цени | i² | |
| IV 800 | 356 | 2.862,0 | 5.724,0 | 10 | |
| 850 | 355 | 3.001,0 | 6.002,0 | 10 | |
| 900 | 355 | 3.142,0 | 6.284,0 | 10 | |
| 950 | 354 | 3.284,0 | 6.568,0 | 11 | |
| 1.000 | 354 | 3.428,0 | 6.856,0 | 11 | |
| V 1.000 | 312 | 3.464,0 | 6.928,0 | 11 | |
| 1.050 | 312 | 3.607,0 | 7.214,0 | 12 | |
| 1.100 | 313 | 3.751,0 | 7.502,0 | 12 | |
| 1.150 | 313 | 3.896,0 | 7.792,0 | 13 | |
| 1.200 | 313 | 4.062,0 | 8.124,0 | 13 | |
| 1.300 | 314 | 4.338,0 | 8.676,0 | 14 | |
| VI 1.300 | 293 | 4.355,0 | 8.710,0 | 14 | |
| 1.400 | 295 | 4.651,0 | 9.302,0 | 15 | |
| 1.500 | 297 | 4.950,0 | 9.900,0 | 16 | |
| 1.600 | 298 | 5.250,0 | 10.500,0 | 17 | |
| 1.700 | 299 | 5.553,0 | 11.106,0 | 18 | |
| 1.800 | 300 | 5.857,0 | 11.714,0 | 19 | |
| 1.900 | 301 | 6.162,0 | 12.324,0 | 20 | |
| 2.000 | 301 | 6.468,0 | 12.936,0 | 21 | |
| 2.100 | 302 | 6.775,0 | 13.550,0 | 22 | |
| 2.200 | 303 | 7.083,0 | 14.166,0 | 23 | |
| 2.300 | 303 | 7.391,0 | 14.782,0 | 24 | |
| 2.400 | 303 | 7.700,0 | 15.400,0 | 25 | |
| 2.500 | 304 | 8.009,0 | 16.018,0 | 26 | |
| 2.600 | 304 | 8.319,0 | 16.638,0 | 27 | |
| 2.700 | 305 | 8.629,0 | 17.258,0 | 28 | |
| 2.800 | 305 | 8.940,0 | 17.880,0 | 29 | |
| 2.900 | 305 | 9.251,0 | 18.502,0 | 30 | |
| 3.000 | 305 | 9.562,0 | 19.124,0 | 31 | |
HOpEneA HnAa3a eIe 02 31 013 02 7, COCTOJIeB IIO 10 38ENbE C AANHOO COOTBTCTEBNO B 635 MM.
AADOCHTKHeHONITNMAaHbHOHaTAKHeHUNENPn HcOe6oAMIOCTM0Yr76BtBHCIOABoBAHbIPOAOHNHATBc3BEHBc CAAHHO B31,75 MM, pHKAAabBaEMbE K NOCTaBKe YMeODaHE AINCHTPyMEHTA.
Празмер:
Aa Tpy6b C Anametpom D=400 MM Tpe6yertc 63BHeBb ceHn (Homep Aa 3aKa3a 3 02 31 01 3 02 7).
3aKaIOuHTeAbHbIe pa60Tbl.
BbIBeCTnpeKyuHmNHCtpyMeHTn3Tpy6bl.
BbIKAOHTb Tpy6ofoepe3epHy0 MaunHy.
CHaTbpeKyuHmNnHCTpyMeHT.
PaKpbItb KpeIaeHHe Tpy6ofope3epHOu MaunHbI.
MaHHbI c nHEBMONpHBOaOM:
Oc0eAHHTbIaHnNOaAChNCHATOB3yX3aHTb8 HAnOpHbN nAtpy6OKMOTOPaHEMOHmOaAa3aHTbOT Koppo3H NBAKQHTbMOTOPaHKOPOTKOE BPEM.
3aKpbItb OTBepCTHe AAR WAAHra 3auNTHBIM KOAnayKom.
XpaenHe Tpy6ofope3epHoMaHHbI.
PpeOxApaHb HApyKhbIe MTeAAMHeCKne Yactn OT Koppo3mN.
XpaHnTb Tpy6ofopeepHyO MaunHy B cyxom NomeuEHN.
Texo6cayKbAHne npemOHt.
Texo6cayKmbaHne npemOHr.
MbpeKoMeHApEeBHCHyO MaTePcKyO (ueHTpaAbaH a pmoTHHaMaTepckKa) Aapecm. B KOHe DaHHoro pyKOBOAcTa BA NO Kcnayatalu.
AA REMOHTA HNOAIBOABT ToaBKO NOAMHHbte 3nHCTHn APMBI
Onachoctb TpaBMPOBAHNA
BCAeqcmbne HenpeqHamepeHHoro BKIOUeyHn.
DnHauaPa6om no Haaagke nn mexo6ayKBAHIO
mpybopepebpoabHbMoWnHbI omcoegHHmHb WmncceabHyu Bnky Kabea HnMaHaN Ma WAnH nagau ChAmora Bo3gyxo om cemn Ch6kheni!

06une yka3aHn
Pa60Tb no Texo6ayKuBaHMo pa3peuAetcBbINOHaTb ToaBko 06yehhbl CnEuaAnCTam.
Pa60tbi no yxoay H texo6caykunbaHnIO OXBtBBAIOT BOCOBHOM:
- HApKHyO OChTky Tpy60phi3epHoiMaunHbI Nciene KpEaENs
-BN3yAaBbHIOKHTPOABCEItpy6ofope3epHOMaunHbI
-CMeHyMaCaPeaykTopa
-3anpaBky Macaa B 6aOK BO3aYxONoAroTOBkn
-cma3kyXoAOBOppe3b6bHnCen
-CMA3KHYHAPBAHOHXNHHCTPYMEHTAABHOIUIINHAEbHOI6a6Kn BYCTPOHCTBE HATRAKEHN I TPAHCIOPTNPOBANH
yXoA 3a 3BeHbBbIMN cenrnn
ChaHaA OHCTHTb 3BcHb cUeH NT rpy6bIX 3aRpa3HeHH H aTeM TlTaEhBO HOCTHTb POMbIBOHybIM 6EH3HOM, KepoCHHOM HN NOoDHB IM CpeACTOB.
AAB OBeCneHcHcMz3KIOAOJKNbOuHHe Hbue cHnE Ha KHeoKbOHOaB BOB A BkOTeKyOe MaO, HApHmep, B TpAChmCcnHOhoe MaCA SAE 140

Onachocb HecyactHoro caya
Ipeg nobmopbHm npmeHenem nogBeprhm 3BHeh yen muaAeabHomByaBabHomO KOMPPOAO Ha 6eynpeHoe cocmnoHne. 3Amehmb nobpegeHHbte qacnnn Hegocmaioiue cmonopbhe KAbaJa.
HhctpyMeHTaBHaI 1nnHdAeBHaI 6a6ka
PpOBePHTb yPoBcHb MacaA BpeyKTope.
Pn Hao60HcTn 3aMeHHTb TpaHCmncCHHOHe MaAO. CMOTPN TakKe pa3eA «Cma3OHyIbe cpeAcTBn CXema Cm
KoHTpoAb ypoBHa MacaB peAkykTope
KaBabpa 10 da Huaaba 6a0bTo bnpoBeprRe repMeHnHOCTNCHPTyEMTAHBOHUNHNAEBAHb6A6Km
IIOAOXHTB Tpy6OoPe3ePHy MOaHINHY 60KOBMOIANTOI, AekaAeH HAPOTNBAaTHTHOrOPOaDEHnApaGoyero HNCTPymETA, HA rOpriOnTAaBHyIO NOBepxHOCTb.
BbIBINHTntbpe3b6OByIO 3aIaykky (25, pnc. A).
YkaaHne:
ECAM TPAHCMHCNCOHHOE MACAO KAK PA3 eBUE BTEKAET H3 peB3bBOBORO OBTOPCHY,TOYPOBEHB MACAO COOTBCTBYT HOPMC.
B npoTHBHom CAYyae OAnTb MacAO
(cm.Pa3AeA《Cma30HbIe CpeAcTbaN CXema CMA3KN》
Kpenko 3aBnHTntb pe3b6Obyo 3aIayky.
CmeHa TpaHCMnCCNOHHO Macaa
Cmey Macaa npoBAnb Noae npheeHHbix B Ta6Anue pa6Ouyx cacob,HO He no3AHee kakpe3 18 mecuae.
| Сразк smени [pa6.час]Трансимсянhoe маса | RSG Ex 18 a (**)RSG 18 a (**)RDG 18-3 a (**) | RSG Ex 18 b (**)RSG 18 b (**)RDG 18-3 b (**) |
| Перов smени маса посе | 20 - 40 80 - 120 | |
| Посамуюша smени посе | 80 - 120 200 - 250 |
HaHa cHTpaabHae pEmoHTha MaCTepckaa BbIIOAHHT AaBac CmEHy Maca H yTHnHa3auHcTaporo Maca.
TpaCHMNCCNOHOHE MACAO CANBAITE B TEAOM COCTOHN H IN HenoPCCTAEHBO NOCAE XPAHENA TYTOGDPEHNO MAIMHNH.
TheBMOMOTOP
THEBMOHOTOPCAEYETNOABEPARbOCHOBATEbHOINPOBEPKeI OHCTKe NOCae 200paBOOHXcAOB,HeNpeKoADHOrpa3BaVroA pRn HCIOAIB3OBAHMHYNCTORO,O6e3BOXeHORo HcMAaAHHORo MACAO CMATOTO BO3dYaX.PekOMeHAYEM NOPyAHT texo6CaYxHBANHe I pMOHT THeBMOHOTOPaHaWe CEHTpAbHO BPEMOHTHO MactepCKoi.
HaheceHHe MaTePnaAlbHoro yuepe6a!
ECAN He 6yggm BbINOAHHeI npegnncHbIe npoBepK, mo BO3MOxHO BO3NtKHOBEHNE cpeB3HOrO yuepe6a n Nagene MoUHcMn NHECMOMOpOa.
AeMOHTaX NHeBbMOMOTopa:
YCTAHOBINTy6DpEeepHMyMAuHHyTAK,HTO6BI THEBMOMOTHOxAoAANCAHCMBbICOKMMECT HCHPTymEAaHBnUHNHaAeBAHOBa6Kn。
BbHHTtB6BHTOCuaHHAPHeCKO ROAOKB(18)CM.PNC.A).
CHATb NHeBMOMOTop.
C6OpkaOcyuEcTBAreTcB O6paTHoH NocAeOBaTeaBHOCTN.
CAeAte 3a ToHbIM CoaHeHEM WeCTEPCHKM MOTOPa NAAHTAPHOH NpeAaH.
MexaHn3M noDaun Ha Bpe3aHne (cm. pnc. A)
HapyKha 60KOBa NOBepxHOCTb PAKNc Tpy6HOpe3b6o(17) DOAHHa 6bTb BCERda CHTOI OT sarpAHEHN I CAeOB PKAAHBI N CAEFA CMA3AHONH
Pn CmeH MaCaa peAkyTopa ONUCTnB n Cma3aTb XOAOyIO pe3b6y.
AeMOHTaX:
BbINHTb BnH C uHHAPueckoR rAOBkoI (8).
BbHyTb 6oAT (5) n3 KpbliuKN.
TenebpyKPOKTKOB BvBBHNTbMbexAHM NOAaHn HA Bpe3AHHe HAIkN C TpyHOH Pe6bOe.
AeTaAM Cpe3b60H OHCTNB H CMA3aTB MCAOM (CM. pa3aE A «CMA3OuHbIe CpeAcTBA H CXEMAc3KHa Ha CTp. 78).
IOBpeXeEHbIe rpa3ecbEmHbIe KOaLHa 3aMeHHTb.
C6opka
C6OpKa OcyuEcTBaReTcB O6paTHoH IOCAeOBATeaHbHOCTM.
OCTOPOKHO, Prr3eBcEMHbIe KOAbIa He OAOKbI HMeTb NOpekAeHN noCe6CpIK!
3aKHMoe yctpoCTBO
PpeoTbpaaaTe 3aepnHne pe3b6bipbIM-BHTOB
(3,pnc.G)B npyKHHHOM cTaKaHe.
PnHaao6HocTHOuHCTHTbpe3b6yHcmaaTbMaAOM.
Cma30yHbIe cpeAcTba H CXema Cma3Kn
Cma304HbIe CpeACTBa AAR NHEBMOMOTopa
Cm3ka B nHEbMaTHueckn ABHrataeB NoCTyPaet H3 MaCAeHNK 6LoKa TeXo6cAYxHBaHH. ToAbko B cayae AanTeAebhbx NPOCTOEB Heo6xoAMINO OoBaABTb HECKoA KoIeB MaCaB B03dyoxo36OpHoe OTBePCTHe nHEbMaTHeCKoT OABHrATAE.
MaCAO DAa CMA3KN HHCPTpyMeHTaBHO
HnHaeAbHO6a6Kn
| Самазочиоpe сретаCTBO ARAL EL Degol | Улайкова | Новерддзakаа | Даналазон Темпераур [°C] | Сnéцфимашиa |
| BMB 460 2 | Антура 3 21 | 32 009 01 3 -15 д | +50 Трачм | Мсенино |
| BMB 100 2 | Антура 3 21 | 32 009 02 9 -35 д | +5 | e (pendутогөн) MACAO TП-CLPF corlaаcho Hopme DIN15502. |
HaHa cHTpaabHae pEmoHTha MaCTepckaa BbIIOAHHT AaBac CmEHy Maca H yTHnHa3auHcTaporo Maca.
TpaCHMNCCNOHOHE MACAO CANBAITE B TEAOM COCTOHN H IN HenoPCCTAEHBO NOCAE XPAHENA TYTOGDPEHNO MAMHNH.
TheBMOMOTOP
THEBMOHOTOPCAEYETNOABEPARbOCHOBATEbHOINPOBEPKeI OHCTKe NOCae 200paBOOHXcAOB,HeNpeKoADHOrpa3BaVroA pRn HCIOAIB3OBAHMHYNCTORO,O6e3BOXeHORo HcMAaAHHORo MACAO CMATOTO BO3dYaX.PekOMeHAYEM NOPyAHT texo6CaYxHBANHe I pMOHT THeBMOHOTOPaHaWe CEHTpAbHO BPEMOHTHO MactepCKoi.



34100958068.bookSeite70Dienstag.23.Febur201621014
70 ru
PekomeHdyemble B3KoCTn TpaHCmCCNOHHO MaCAA DA pa3AMHbIX dHaIa3OHOB OKpykaIOe Te TMNEpApTybl:

MaunHbC KOAMCTaPaHbN34(AERKHOAeHTHnHpyEmbI NO HOMEPy 3Ak3A Ha 3ABAOCKoTbAHyKe,Ha910MeTe CTOT RnPp3N47360XXX34X)NOCTABARIOCTBMEcE 3aAHNTBM BpeyKTopMACoBMB100.
PnO OTRpy3E B HcTPTyMeHbIHy WINHaeAsHy Go6Ky 3aIpaBaeHO MaCao ARAL E Delgo BMB 460. HactoTeAho pCKOMeAHyEM e HpMnHeBt bApYrTo TaPhMNCCOHHO MaCao.
CMAOHTHbIe CpeACTBa AAR NOBepxHOCTe KcOaBxHeHHA
AA CM3bBAHnry HXoDA 3A NOBepXHOCTAm KcOaBxHeHHA
PEKOMHEyEM pNIMHeHTb G63KCAOTHeB, BOAOCTOKe HpMHeHHB
NACTCHbHMe cMa3Kn DA NOAUINNIOKOB KcOaBxHeHHA.

| Toчka Смазки Смазочné ман рабочee cpeacdsto |
| 2 (peуктор) смOTри tabлuy СмAZOCHOTO Macа ДА Инстугента loвий шIMINHADEAHOH Ббд�и |
| 3 (поверхостп скоьжени и хоюва розьа) ПАСТЧЕВЕСМAZКАДА ПОДИПИNHIOKВ ССОьжени |
YctpaehnHe HncnpabHocte (TnRSG (^) n RSG Ex (^)
| Helenchnapbnoctb Bo3moxnhia piuynnha Mepbl yctpahehna | |
| MOTOR IN PEXUZHI INCTPUMENT OCTaHABAHBAOTCA | Очень Инзкпес Okрухаошпс Tempepatурbl Исpoьвати НИЗКOTeMHNEpAPYHoe TpahCMNCCHOHoe MacAOФИРМБIФАH |
| Затулдя рexuzyшii InHCTPmEHT 3aMeHNTb pexuzyi InHCTPmEHT | |
| Нет hapраженя в сети П探测ы пгсоeДиЕнe He cETи и KOMMyTaцIHOnHbIe annapatbl | |
| HeprabInbHoe NaPRAJSEHne cetи П探测ы данн He npcOeDINHeHry cetи | |
| Сamshkom b6IcTpar NaOaHa HN 6oBbIoo cBeM MaTePbIaHa Na O6obot | |
| ПOTERи Мэla в радуKTOPHoi KOpO6ke DoAHTb mac AO.При NOВТOPHOM PaEDENHи OпepeДeHtB MeCTO yTeUKN i YcTpaHITb. | |
| Чербимайhoe NOBbIeHne Tempepatурbl motopo PeakTbHpOBaTB 6aOK KOMMyTaцHn 3 07 02 041 01 4 | |
| Поврждение цenho 3be3doCH | Поврждение зево сени 3aMeHNTb zEBOH ceni |
| HeprabInbHoi coeDAHena сeьп П探测ы ТОУК HoCeaDINeHи HcnpaBtB | |
| Палец сени BcTbAeH n He noAHOCTbIO BBeCTn n aaleu ПОЛHOCTbIO B 3BeHo |

a-06pa6oTkn CTAaHbIX BbICOKoAeHnPOBaHHbIX Tpy6,
b-48 06pa6oTKN HEAernpoBAHHBIX CTAaHbHix NyyHHBX Tpy6 cMAK. ToaunHoi CTeHKN 10 MM MAMC. DnAmETPM 1600 MM
D
Bec
YHCAO 3y6beB
B pE
Homep AAR 3aKa3a
[mm] [mm
St.
[°] [mm]
63508099020
154 30,5
32
30 25
63508099020
CneuaHbIepe3blAARAPyTHMaTePhaAOBnApYroReometpnppe3na03anpocy
3BHeO 1eH
103BHeHbeUeHNx63,5MM=635MM
Homep 3aKa3a30231013027
13BHeO cENx 31,75 MM
Homep 3a3a30231029002
3aNaCHO6oAT
Homep 3aKa3a 30217216004
3anachoe cTOnopHoe KOAbuO
Homep 3a4 26 34 020 005
CtaaBhble paonopHbke KAHhb
Homep 3305006008
PacnopHbIe KAnHb63bickpoBbl
Homep 3a3a363305013002






PnHaAeXHOCTN B KOMIIaEKTe NOCTABKN
EasyManual