Morpheus SF2950 - Elliptical bike Skandika - Free user manual and instructions
Find the device manual for free Morpheus SF2950 Skandika in PDF.
| Technical Specifications | Skandika Morpheus SF2950 Elliptical Bike |
|---|---|
| Dimensions | Length: 150 cm, Width: 60 cm, Height: 160 cm |
| Maximum User Weight | 120 kg |
| Resistance | Magnetic resistance with 16 adjustable levels |
| Display | LCD screen showing distance, time, calories, heart rate |
| Training Programs | 20 pre-recorded programs |
| Safety Features | Emergency braking system |
| Maintenance | Regular checking of screws and bolts, cleaning of surfaces |
| Recommended Use | For home use, ideal for cardio training |
| Warranty | 2 years on parts |
Frequently Asked Questions - Morpheus SF2950 Skandika
User questions about Morpheus SF2950 Skandika
0 question about this device. Answer the ones you know or ask your own.
Ask a new question about this device
Download the instructions for your Elliptical bike in PDF format for free! Find your manual Morpheus SF2950 - Skandika and take your electronic device back in hand. On this page are published all the documents necessary for the use of your device. Morpheus SF2950 by Skandika.
USER MANUAL Morpheus SF2950 Skandika
(Abb. 17) = 55% Max H.R.C. - Zielherzrate = (220 - Alter) x 55%
oder 75% Max H.R.C. -- Zielherzrate = (220 - Alter) × 75%
oder 90% Max H.R.C. -- Zielherzrate = (220 - Alter) × 90%
31Safety precautions
32Parts list
35Exploded drawing
37Assembly instructions
45Computer operation manual
52Using a chest-belt
52Cleaning and care
53Using the apps ,iConsole+“ & „KinoMap“
55Warm-up and cool-down
56Guarantee Conditions
Please visit the Skandika Service portal on our website for setup & help videos, FAQs and downloadable instructions. For more information about Skandika, simply visit our main page www.skandika.com

WARNING
To reduce risk of injury, read and understand this instruction manual before using the device! This machine is intended for home use only in accordance with the instructions provided in this manual. Read the instruction manual carefully before using this device and keep the instruction manual for future use.
SAFETY PRECAUTIONS
- Only use the unit in enclosed spaces!
- Place the device on a solid and level and surface only. Use a floor protection to avoid traces through the device's feet.
- Be careful when lifting or moving the appliance. Always use proper lifting technique and seek assistance.
- Only use in cool, dry environments. Do not store in extreme cold, hot or damp places.
- Cleaning and user maintenance may not be carried out by children without supervision.
- Do not place any sharp-edged objects near the unit.
- People with disabilities should only use the device according to a doctor's instructions and with another person who can provide assistance.
- Your health can be affected by incorrect or excessive training. Consult a doctor before beginning a training program. If you experience dizziness, nausea, chest pain or any other abnormal symptoms, STOP the workout immediately. CONSULT A PHYSICIAN IMMEDIATELY.
- Keep children and pets away from the appliance. This device is suitable for adult use only.
- Do not leave children unattended in the same room with the machine.
- For safe use, assemble the unit only according to the set-up instructions in this manual. If you pass on the unit, also hand over these instructions and inform the user about the safe use of the unit.
- Before using the equipment, check if all nuts and bolts are securely tightened. The safety of the equipment can only be maintained if it is regularly examined for damage and/or wear and tear. No adjustable part should protrude and/or obstruct user movements.
-
Never use the unit if it is damaged.
-
Do not place fingers or objects in the range of moving parts of the device. When adjusting adjustable parts, pay attention to the correct position or the marked, maximum adjustment position.
- Wipe off any traces of perspiration immediately after training to prevent it from corroding with or otherwise damaging sensitive parts on the unit.
- Increase speed intensity and duration gradually and warm up carefully before you start training.
- The HC class unit may only be used by one person at a time (max. weight load = 150kg
- Do not use this device directly after meals or drinks.
- This device is not suitable for therapeutically use. Only use this unit according to the intended purpose and as directed in the instruction manual. DO NOT use any additional parts that have not been recommended by the manufacturer.
- Please do not attempt to repair the unit yourself in the event of malfunctions, since this will void all warranty claims. Only have repairs carried out by authorised service centres. It is recommended to lightly lubricate all moving
parts from time to time to maintain functionality.

- Please only exercise with a minimum clearance area of 2 meters around the device.
- Always wear appropriate clothing and shoes which are suitable for your workout on the device. The clothes must be designed in a way so that they will not get caught in any part of the device during the work-out due to their form (for example, length). Be sure to wear appropriate shoes which are suitable for the work-out, firmly support the feet and which are provided with a non-slip sole.
Be sure to consult a physician before you start any device program. He may give you proper hints and advice with respect to the individual intensity of stress for you, your workout and sensible eating habits. This is especially important for individuals over the age of 35 or persons with pre-existing health problems.
| Part no. | Description Q'ty | |
| 1 Main | frame 1 | |
| 2 Rear | stabilizer 1 | |
| 3 Curved | ed washer Ø8*Ø20*1.5 10 | |
| 4 Allen | screw M8*16 14 | |
| 5L End | cap for rear stabilizer(L) 1 | |
| 5R End | cap for rear stabilizer(R) 1 | |
| 6 Hex | head bolt M8*45 4 | |
| 7 Peda | (L) 1 | |
| 8 Peda | tube (L) | 1 |
| 9 D type | washer Ø50 | 2 |
| 10 | Flat washer Ø8*Ø20 | 4 |
| 11 | Decorative cover Ø50 | 2 |
| 12 | Allen bolt M8*20 | 4 |
| 13 | Club knob | 4 |
| 14 | Sleeve | 2 |
| 15 | Hex head bolt M10 | 2 |
| 16 | Flat washer Ø50 | 2 |
| 17 | Flat washer Ø10*Ø22 | 2 |
| 18 | Nylon nut M10 | 2 |
| 19 | End cap for front stabilizer (L) | 1 |
| 20 Front | stabilizer | 1 |
| 21 | End cap for front stabilizer (R) | 1 |
| 22 Spacer for pedal tube | 4 | |
| 23 Spacer for pedal | 4 | |
| 24 Flat | washer Ø8*Ø17 | 4 |
| 25 Bushing for bottom handlebar tube Ø42*Ø13.8 | 4 | |
| 26 Bottom handlebar tube (L) | 1 | |
| 27 | Bushing for bottom handlebar tube Ø42*Ø19 | 6 |
| 28 D type | washer Ø42 | 2 |
| 29L | Decorative cover (L) | 2 |
| 29R | Decorative cover (R) 2 | |
| 30 Decorative cover Ø42 | 2 | |
| 31 | Self-tapping screw ST5*15 | 13 |
| 32 Front post | 1 | |
| 34 Hollow carriage screw Ø8*20 | 4 | |
| 35 Allen bolt M6*12 | 4 | |
| 36 Top handlebar tube (L) | 1 | |
| 37 Foam grip for top handlebar tube 2 | ||
| 38 End cap 2 | ||
| 39 Foam grip for stationary handlebar 2 | ||
| 40 Stationary handlebar 1 | ||
| 41 Upper computer wire 1 | ||
| 42 Hand pulse sensor 2 | ||
| 43 Flat washer Ø4.2*Ø12 2 | ||
| 44 Self-tapping screw ST4*20 | 2 | |
| 45 Cross screw M5*10 | 4 | |
| 46 Computer | 1 | |
| 47 Top handlebar tube (R) | 1 | |
| 48 Pulse wire | 2 | |
| 49 Bottom handlebar tube (R) | 1 | |
| 50 Pedal (R) | 1 | |
| 51 Pedal tube (R) | 1 | |
| 52 Lower computer wire | 1 | |
| 53 Allen bolt M8*20 | 1 | |
| 54 Powder spacer | 1 | |
| 55 Hex head nut M8 | 1 | |
| 56 Belt adjusting bolt | 1 | |
| 57 Belt adjusting spring | 1 | |
| 58 Idler wheel assembly 1 | ||
| 59 Self-tapping screw ST5*15 | 11 | |
| 60 Sensor wire | 1 | |
| 61 Power wire | 1 | |
| 62 Motor wire | 1 | |
| 63 Motor | 1 | |
| 64 Run disc cover | 2 | |
| 65 Flange nut | 4 | |
| 66 Run disc | 2 | |
| 67 Run disc holder | 2 | |
| 68 Self-tapping screw ST5*10 | 8 | |
| 69 Chain cover (R) | 1 | |
| 70 Chain cover (L) | 1 | |
| 71 Axle | 1 | |
| 72 Belt pulley | 1 | |
| 73 Nylon nut M6 | 4 | |
| 74 C-clip Ø17 2 | ||
| 75 Bearing 6203 2 | ||
| 76 Sensor bracket 1 | ||
| 77 Spring 1 | ||
| 78 Hex head nut M6 2 | ||
| 79 Hex head bolt M6*25 1 | ||
| 80 Axle for flywheel 1 | ||
| 81 C-clip Ø12 2 | ||
| 82 Bearing 6001 | 2 | |
| 83 Flywheel | 1 | |
| 84 Allen bolt M6*15 | 4 | |
| 85 Magnet assembly | 1 | |
| 86 Sensor magnet 1 | ||
| 87 Belt | 1 | |
| 88 Nylon nut M8 | 2 | |
| 89 Alleh bolt M8*55 | 1 | |
| 90 Flat washer Ø8*Ø17 | 1 | |
Small parts required
You will need the following small parts to assemble the unit. Use the list to check whether all parts are available.
| Part no. | Description | Drawing | Q'ty |
| 3 Curved washer Ø8*Ø20*1.5 | 10 | ||
| 4 Allen screw M8*16 | 14 | ||
| 6 Hex head bolt M8*45 | 4 | ||
| 9 D type washer Ø50 | 2 | ||
| 10 Flat washer Ø8*Ø20 | 2 | ||
| 11 Decorative cover Ø50 | 2 | ||
| 12 Allen bolt M8*20 | 2 | ||
| 13 Club knob | 4 | ||
| 14 Sleeve | 2 | ||
| 15 Hex head bolt M10 | 2 | ||
| 16 Flat washer Ø50 | 2 | ||
| 17 Flat washer Ø10*Ø22 | 2 | ||
| 18 Nylon nut M10 | 2 | ||
| 23 Spacer for pedal | 4 | ||
| 24 Flat washer Ø8*Ø17 | 4 | ||
| 34 Hollow carriage screw Ø8*20 | 4 | ||
| Part no. | Description Drawing Q'ty | ||
| 35 Allen bolt M6*12 4 | |||
| Ring spanner 2 | |||
| Allen key 6 mm | 1 | ||
| Allen key 4 mm | 1 | ||


Assembly instructions
- Make sure that you will have enough space around the item. We recommend having 2 people to assemble the product.
- Use the included tools for assembling
- Check if all needed parts are available












| Part no. | Description Q'ty | |
| 1 Main | frame 1 | |
| 2 Rear | stabilizer 1 | |
| 7 Pedal (L) 1 | ||
| 8 Pedal tube (L) 1 | ||
| 20 Front stabilizer 1 | ||
| 29L Decorative cover (L) 2 | ||
| 29R Decorative cover (R) 2 | ||
| 32 Front post | 1 | |
| 36 / 47 | Top handlebar tube (L) / (R) | 1/1 |
| 40 Stat | onary handlebar | 1 |
| 46 Computer | 1 | |
| 50 Pedal (R) | 1 | |
| 51 | Pedal tube (R) | 1 |
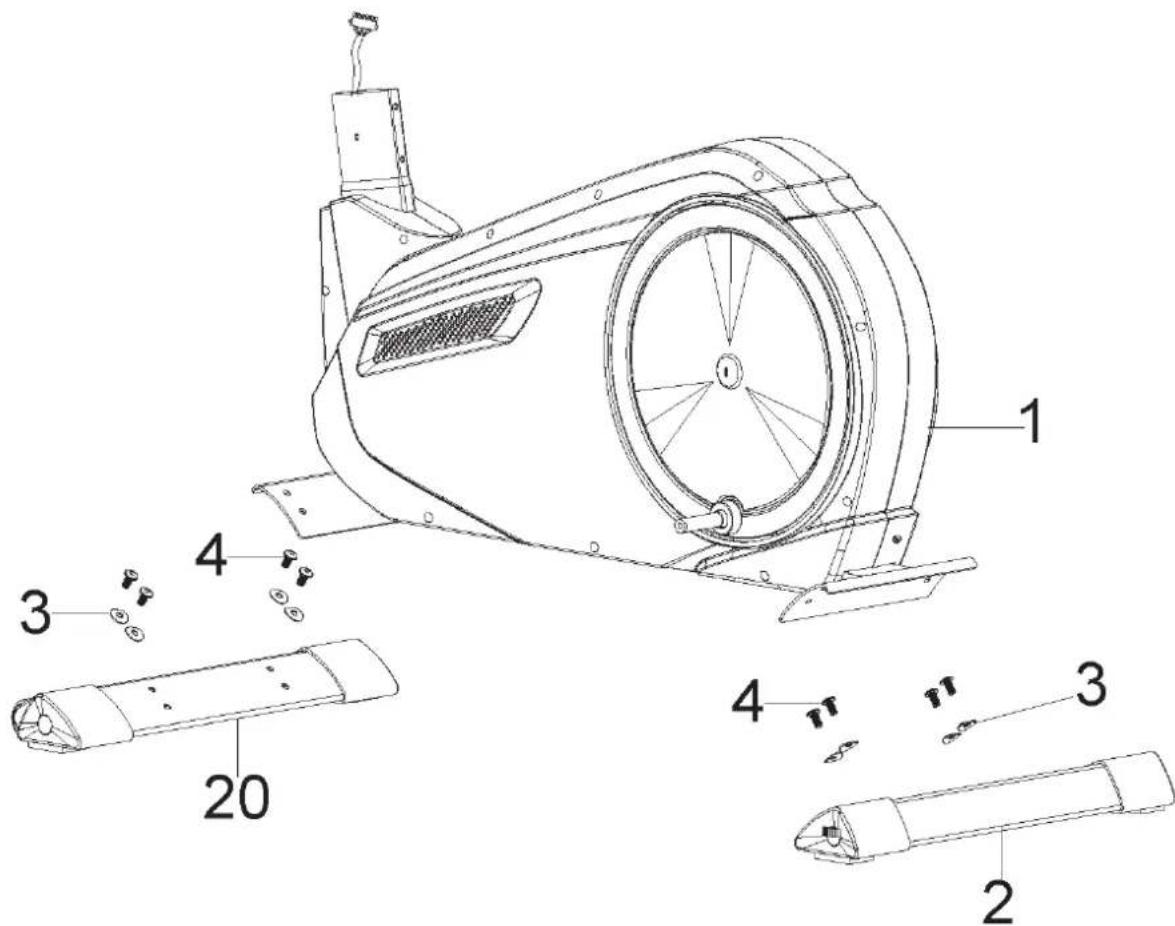
Step 1
Attach the front stabilizer (20) to the front of the main frame (1) with 4 screws M8×16 (4) and corrugated washers (3) each. The rear stabilizer (2) is fixed accordingly to the rear of the main frame (1).

Step 2
Connect the upper and lower computer cables (41 & 52).
Secure the front post (32) to the main frame (1) with totally 4 Allen screws M8×16 (4), 2 washers (24) and 2 curved washers (3) as shown.



Step 3
Attach the stationery handlebar (40) to the front post (32) with 2 screws M8×16 (4) and 2 washers (24). Connect the upper computer cable (41) and the hand pulse cables (48) to the computer (46) accordingly.
Then fix the computer (46) on the upper bracket of the front post (32) with 4 screws M5×10 (45, premounted on the back of the computer).

Step 4
Attach the left pedal tube (8) to the run disc (66) using a washer (16), a washer (9), a washer (10), a cover (11) and an Allen screw M8×20 (12).
Slide the left lower handlebar tube (26) into the left pedal tube (8).
Align the holes and insert the sleeve (14). Then tighten with a set of washer (17), nut (18) and hex bolt (15). Fit a cover (29L) and a cover (29R) to the left pedal tube (8) with 3 screws (31, pre-mounted on the cover and pedal tube respectively).
Repeat the procedure for the right pedal tube (51) and the right lower handlebar tube (49).


Step 5
The left and right top handlebar tubes (36 & 47) are marked ^ and ^ respectively. Insert the left top handlebar tube (36) into the left bottom handlebar tube (26) and secure the connection with 2 screws 8 × 20 (34) and M6 × 12 (35).
Repeat the procedure for the right top handlebar tube (47) accordingly.

Step 6
Mount the left pedal (7) to the left pedal tube (8) with 2 screws M8×45 (6), spacers (6) and locks (13) each.
Repeat the procedure for the right pedal (50) accordingly.

Step 7
Connect the adapter to the connector at the back of the unit.

CHECK IF ALL BOLTS AND NUTS ARE TIGHTENED BEFORE USING THE DEVICE!

TIME
Computer shows actual exercise time (max. 99:59 Min.). Preset a target time: You may preset a target time (max. 99:00) before starting a workout. The time will then count down and multiple sound beeps will be emitted when reaching 0:00.
SPEED
The computer shows the current speed in the display (0 - 99.9km / h)
RPM
The computer shows the current rounds/min.in the display (0 - 999).
DISTANCE
The workout distance is displayed here. Preset a target distance: You may preset a target distance (max. 99.9 km) before starting a workout. The distance will then count down and multiple sound beeps will be emitted when reaching 0.
CALORIES
The currently burned calories are displayed here (max. 9999 kcal). The calorie consumption values registered and displayed with this computer merely serve as indicative values for a person of medium stature with medium resistance setting, and can deviate considerably from the actual medically precise calorie consumption.
PULSE
The computer is showing the user's heart rate in beats per minute. For a correct display please ensure that you fully grasp the hand sensors. It may last up to 2 minutes before the pulse frequency will be measured correctly. Presetting a pulse frequency: You may enter a pulse frequency (30 - 230 beats per minute) - if the entered value will be exceeded, the computer will beep. If you use a breast strap, the measured frequency will also be displayed here.
WATTS
Computer shows actual watt value (0 - 999).
MANUAL: Manual mode
BEGINNER: 4 programmes for beginners.
ADVANCE: 4 programmes for advanced.
SPORTY: 4 programmes for athletes.
CARDIO: You can do an automatically steered training depending on your pulse frequency.
WATT PROGRAM: Watt-controlled training mode.
The meaning of the buttons
Up (Auf)
Increase the resistance during exercise / Adjust values.
Down (Ab)
Decrease the resistance during exercise / Adjust values.
Mode/Enter
Confirm setting or selection.
Reset
Press & hold this button for approx. 2 seconds to reset all values to 0. Press this button in a training pause to return to the initial display.
Start/Stop
Start or stop a workout.
Recovery
Press this button to start the heart recovery measurement.
Body fat (Körperfett)
Press this button to start the body fat measurement.
Power on:
Plug in power supply. Computer will power on and full display will be shown for approx. 2 seconds (figure 1).

Fig.1
Exercise Selection
Select the workout mode with "UP", "DOWN" and "MODE/ENTER" to confirm:
Manual (figure 2) -> Beginner (figure 3) -> Advance (figure 4) -> Sporty (figure 5) -> Cardio (figure 6) -> Watt (figure 7).

Fig. 2

Fig. 3

Fig. 4

Fig. 5

Fig. 6

Fig. 7
Manual Mode
In manual mode you can adjust the load manually. After selecting ^ (confirm with "MODE/ENTER"-button) you can select the initial tension level (use "UP", "DOWN" and "MODE/ENTER" to select). Press "START/ STOP". You may change the tension level at any time during exercise with "UP" and "DOWN".
You may also input target values for the following function values:
a. TIME (figure 8)
b. DISTANCE (figure 9)
c. CALORIES (figure 10)
d. PULSE (figure 11)
To input a target value, do not press "Start/Stop" after selecting the initial tension level, but instead use "UP", "DOWN" and "MODE/ENTER" to input the target values. After your input, press "START/STOP" to start the workout. To pause your workout, press the _START/STOP "-button again. Press "RESET" to return to main menu.

Fig. 8

Fig. 9

Fig. 10

Fig. 11

Fig. 12
Beginner Mode
Within this mode you can exercise with a program profile (preset). Mountain- and valley courses for beginners: After selecting BEGINNER mode and "MODE/ENTER"-button for confirmation, _BEGINNER 1" appears on the display (figure 13). Choose one of the 4 programs (1 to 4) and press "MODE/ENTER" to confirm. You may now preset a target value for "TIME" by using "UP", "DOWN" and "MODE/ENTER". Press "START/STOP" to start workout. You may change the tension level at any time during exercise with "UP" and "DOWN". To pause your workout, press the _START/STOP "-button again. Press "RESET" to return to main menu.

Fig. 13
Advance Mode
Within this mode you can exercise with a program profile (preset). Mountain- and valley courses for advanced users: After selecting ADVANCED mode and "MODE/ENTER"-button for confirmation, _ADVANCE 1" appears on the display (figure 14). Choose one of the 4 programs (1 to 4) and press "MODE/ENTER" to confirm. You may now preset a target value for "TIME" by using "UP", "DOWN" and "MODE/ENTER". Press "START/STOP" to start workout. You may change the tension level at any time during exercise with "UP" and "DOWN". To pause your workout, press the ,START/STOP "-button again. Press "RESET" to return to main menu.

Fig. 14
Sporty Mode
Within this mode you can exercise with a program profile (preset). Mountain- and valley courses for sporty users: After selecting SPORTY mode and "MODE/ENTER"-button for confirmation, "SPORTY 1" appears on the display (figure 15). Choose one of the 4 programs (1 to 4) and press "MODE/ENTER" to confirm. You may now preset a target value for "TIME" by using "UP", "DOWN" and "MODE/ENTER". Press "START/STOP" to start workout. You may change the tension level at any time during exercise with "UP" and "DOWN". To pause your workout, press the ,START/STOP "-button again. Press "RESET" to return to main menu.

Fig. 15
Cardio mode (H.R.C.)
After selecting this mode (press "MODE/ENTER" to confirm) you are in the heart frequency controlled mode. You can run an automatically steered training depending on your pulse frequency. Use "UP", "DOWN" and "MODE/ENTER" to set your age (figure 16). Then press "UP" or "DOWN" to select one of the following alternatives:
(figure 17) = 55% Max H.R.C. -- Target H.R. = (220 - AGE) x 55%
75% Max H.R.C. -- Target H.R. = (220 - AGE) x 75%
90% Max H.R.C. -- Target H.R. = (220 - AGE) x 90%
TAG = Target H.R.C. -- Workout by your target heart rate value.
In "TAG" mode, use ,UP/DOWN"-buttons for direct input of the target pulse value (default: 100). You may now preset a target value for "TIME" by using "UP", "DOWN" and "MODE/ENTER". Press "START/STOP" to start workout. To pause your workout, press the ,START/STOP "-button again. Press "RESET" to return to main menu.

Fig. 16

Fig. 17
Watt mode
With this mode you can exercise according to the preset Watt value. After selecting "W", press "MODE/ENTER" to enter this mode. The default value for the WATT preset value is 120 (figure 18), which you may change with "UP"/"DOWN" and "MODE/ENTER". You may now preset a target value for "TIME" by using "UP", "DOWN" and "MODE/ENTER". Press "START/STOP" to start workout. The computer will automatically control the resistance. You may change the watt level at any time during exercise with "UP" and "DOWN". To pause your workout, press the ,START/STOP "-button again. Press "RESET" to return to main menu.

Fig. 18
Recovery
With this special function, you can check your hearts recovery rate after a training session. This is a very important indication for the physical condition of your body. Try to improve your recovery rate with regular training sessions. The aim is, to calm down to a normal pulse frequency (frequency, when you are not in motion) as quickly as possible. To check your recovery rate, you need to keep your hands onto the hand pulse-sensors (or keep wearing a chest belt) after your exercise. Now press the button "RECOVERY". The computer will start to countdown 60 seconds (figure 19). During this period the computer will constantly measure your heart rate through the hand sensors. After this minute, your recovery rate will be displayed on the display. The range is F1.0 to F6.0 (figure 20), whereby F1.0 is very good and F6.0 is insufficient. Improve your value by intense and regular training!
After the recovery function is finished, press "RECOVERY" again to return to normal operation mode.

Fig 19

Fig. 20
Body fat
Press this button to start the body fat measurement.
Enter your gender (figure 21), age, height and weight. Hold both hands on the handsensors during measurement (figure 22). It will last about 8 seconds until the measurement is finished. After the measurement, the fat advice symbol, the fat % (figure 23) and BMI (figure 24) will be displayed for approx. 30 seconds.
Error messages
= = ” = = ” (figure 25) means, that the contact to the handpulse sensors (or the chest belt) was not sufficiently for a measurement. The reason for this can be that you have not grasped the two sensors correctly. Start a new measurement with correctly placed hands resp. correctly placed chest belt.
"E-1" means, that no heart rate signal has been detected.
"E-4" appears (figure 26), if the fat % or BMI values are too low (<5) or too high (>50).

Fig. 21

Fig. 22

Fig. 23

Fig. 24

Fig. 25

Fig. 26
Notes:
1) This computer has an automatic on/off function so that it switches on when the pedals move or when any button is pressed, and turns into stand-by mode automatically if no signal has been received for approx. 4 minutes.
2) In case of any abnormal functions, disconnect the device from power source and reconnect after some minutes
Using a chest-belt
The computer is equipped with a built-in receiver for the wireless receipt of the pulse frequency with a compatible SKANDIKA chest-belt (frequency: 5.3 kHz, not included in the scope of delivery). Recommended range: 100 - 150 cm.
If you want to transmit your pulse frequency via chest-belt, follow these instructions:
- Make sure, the correct battery is inserted into the chest belt (button cell of type CR-2032, 3 volts). Battery replacement: Open the battery case cover on the back side of your transmitter (you may use a coin for easier handling) and replace the old battery by a fitting new one. The "+" symbol should point upwards. Make sure, the sealing ring ist correctly placed. Close the case cover properly.
- The transmitter needs to be attached to the belt with the 2 buttons. Moisten the electrodes slightly before wearing the belt. This increases the contact sensibility and enables a better wireless signal transmitting.
- Put on the chest belt and make sure the electrodes are touching your breast directly. You may adjust the belt to a comfortable length. However, the electrodes must have contact with your skin in order to measure your heart rate correctly.
- The 5.3kHz -chest-belt communicates with the computer via the built-in receiver. It may last up to one minute before a correct display can be seen.
Safety hint:
Do not use the chest-belt if you have a pacemaker, unless you double-checked with the producer of the pacemaker and with your doctor!
Battery-Disposal:
Batteries should not be considered as regular garbage. As consumer you are obliged to return finished batteries. The finished batteries can be returned to a collection base at your residential area or at places, where batteries can be bought.
Cleaning and care
- Before cleaning the appliance, make sure that the appliance is switched off.
- Clean the device with a slightly damp cloth only. Never use brushes, aggressive cleaning agents, petrol, thinners or alcohol. Rub the device dry with a clean dry cloth.
- Wait until the device is completely dry before using it again.
Using the apps „iConsole+“ & „KinoMap“
The computer can be connected via Bluetooth to communicate with the apps iConsole+ or KinoMap. Bluetooth frequency: 5.3 kHz.
1) iConsole+
Activate Bluetooth on your mobile device, download the app „iConsole+“ an install on your iOS- or Android device. You may use the app search function of your mobile device or the following QR code to find the app:

iConsole Global

System requirements:
Android 5.0 or newer with Bluetooth® 4.0 iOS 10 or newer with Bluetooth® 4.0
For Android devices, „unknown sources“ need to be accepted in the device security settings („Settings -> Device security)).
After starting the app, the connection with the training device need to be established via Bluetooth® - therefore select „Quick Start“, „Interval“, „Map“:


Once console is connected to smart device via Bluetooth® , the console will power off .
2) Kinomap
The free KinoMap app turns your device into a powerful and fun fitness product! Choose from the geotagged video on Kinomap and go! Your position is shown in the video and as icon on the map. Download the Kinomap Fitness app in the app or play store by searching for 'Kinomap Fitness' or follow one of the links below. Install and open the app and register resp. log in. Activate Bluetooth. Now add the training device as follows:






1.2.Tapon ^ 一 + ^ 一 3.Crosstrainer

4. Select Skandika

5. Tap on the device
Now tap on OK and return to main menu. You can now choose a course for your exercise (depending on your type of KinoMap account maybe only some free courses). Press Start and begin to exercise!

A successful exercise program consists of a warm-up, aerobic exercise and a cool-down. Exercise for at least two or preferably three times a week, resting for a day between workouts. After several months, you may increase the frequency to four or five times per week.
WARM-UP
This stage helps to improve the blood circulation and prepares the muscles for your workout. It additionally helps to reduce the risk of injury or cramps. It is recommended to do some stretching exercises as shown here below. Hold each stretching position for approximately 30 seconds. Never force or jerk yourself into a stretching position – if you feel pain, STOP immediately. Warm-up exercises may also include brisk walking, jogging, jumping jacks, jump rope exercises or running in place.
STRETCHING
Muscles can be stretched more easily when these are warm. This reduces the risk of injury. DO NOT BOUNCE.

Lateral stretch

Toe Touch

Inner Thigh Stretch


Leg extension
Remember always to check with your physician before starting any exercise program.
COOL-DOWN
This stage helps to soothe your muscles and your cardiovascular system after your workout. At the end of your workout, reduce the speed and exercise for approximately 5 minutes at this lower speed level. Afterwards, repeat the warm-up exercises as described above.
GUARANTEE CONDITIONS
For our devices we provide a warranty as defined below.
- In accordance with the following conditions (numbers 2-5) we repair defect or damage to the device free of charge, if the cause is a manufacturing defect. Therefore, these defects / damages need to be reported to us without delay after appearance and within the warranty period of 24 months after delivery to the end user. The warranty does not cover parts, which easily break (e.g. glass or plastic). The warranty does not cover slight deviations of the product, which are insignificant for usability and value of the device and damage caused by chemical or electrochemical effects and damages caused by penetration of water or generally force majeure damage.
- The warranty achievement is the replacement or repair of defective parts, depending on our decision. The cost of material and labor will be borne by us. Repairs at customer site cannot be demanded. The proof of purchase along with the date of purchase and / or delivery is required. Replaced parts become our property.
- The warranty is void if repairs or adjustments are made,
which are not authorized by us or if our devices are equipped with additional parts or accessories that are not adapted to our devices. Furthermore, the warranty is void if the device is damaged or destroyed by force majeure or due to environmental influences and in case of improper handling / maintenance (e.g. due to non-observation of the instruction manual) or mechanical damages. The customer service may authorize you to replace or repair defective parts after telephone consultation. In this case, the warranty is not void.
- Warranty services do not extend the warranty period nor do they initiate a new warranty period.
- Further demands, especially claims for damages which occurred outside the device, are excluded as long as a liability is not obligatory legal.
- Our warranty terms - which cover the requirements and scope of our warranty conditions - do not affect the contractual warranty obligations of the seller.
- Parts of wear and tear are not included in the warranty.
- The warranty is void if not used properly or if used in gyms, rehabilitation centers and hotels. Even if most of our units are suitable for a professional use, this requires a separate agreement.

ENVIRONMENTAL PROTECTION
The symbol of the crossed-out dustbin on batteries or accumulators indicates that they must not be disposed of in household waste at the end of their life. If batteries or accumulators contain mercury (Hg), cadmium (Cd) or lead (Pb), you will find the respective chemical symbol below the symbol of the crossed-out dustbin. You are legally obliged to return old batteries and accumulators after use. You can do this free of charge at a retail outlet or at another collection point near you. You can obtain addresses of suitable collection points from your
city or local government. Batteries may contain substances that are harmful to the environment and human health. Particular care should be taken when handling batteries containing lithium because of the special risks involved. The separate collection and recycling of old batteries and accumulators is intended to avoid negative impacts on the environment and human health. Please avoid the generation of waste from old batteries as far as possible, e.g. by giving preference to batteries with a longer life or rechargeable batteries. Please avoid littering public spaces by not carelessly leaving batteries or electrical and electronic equipment containing batteries. Please consider ways to reuse a battery instead of disposing of it, for example by reconditioning or repairing the battery.
In accordance with our policy of continual product improvement, we reserve the right to make technical and visual changes without notice.
For spare parts please contact: service@skandika.de
M (manuel, figure 2) -> Beginner (figure 3) -> Advance (figure 4) -> Sporty (figure 5) -> Cardio (figure 6) -> Watt (figure 7).

Fig. 2

Fig. 3

Fig. 4

Fig. 5

Fig. 6

Fig. 7
EasyManual