BHB6602X - Basket BRANDT - Free user manual and instructions
Find the device manual for free BHB6602X BRANDT in PDF.
Download the instructions for your Basket in PDF format for free! Find your manual BHB6602X - BRANDT and take your electronic device back in hand. On this page are published all the documents necessary for the use of your device. BHB6602X by BRANDT.
USER MANUAL BHB6602X BRANDT
Attention Decconnect
1- RELATIONS CONSOMMATEURS FRANCE
- Evacuation exterior
- Safety recommendations 48
- Environmental protection 53
- Description of your appliance 54
2 / INSTALLING YOUR APPLIANCE
- Using the evacuation mode 55
- Using the recycling mode 55
- Electrical connections 56
- Assembling the hood 57
- Assembling the ventilation shaft
- Outdoor evacuation 59
° Outdoor evacuation 59
^ Recycling 60
3 / USING YOUR APPLIANCE
- Description of control panel 61
4 / CARING FOR AND CLEANING YOUR APPLIANCE
- Cleaning the filter cartridges 62
- Changing the carbon filter 62
- Cleaning the outer surfaces 63
- Changing the light bulb 63
- Maintaining your appliance 64
5/TROUBLESHOOTING 65
6/ AFTER-SALES SERVICE 66
As part of our commitment to constantly improving our products, we reserve the right to make changes to them based on technical advances to their technical and functional features and appearance.
Warning: Before ins
Before installing and using your appliance, please carefully read this Guide to Installation and Use, which will allow you to quickly familiarise yourself with its operation.
EN 1 /NOTICES TO THE USER
Attention
Keep this user guide with your appliance. If the appliance is ever sold or transferred to another person, ensure that the new owner receives the user guide. Please become familiar with these recommendations before installing and using your oven. They were written for your safety and the safety of others.
Safety and important precautions

These instructions are also available on the Brandt web site.
Please take heed of this advice when installing and using your appliance. These instructions are intended to protect your safety and the safety of others. Keep this manual with your appliance. If you sell or give the appliance to anyone else, make sure that you also give them this manual.
- In order to constantly improve our products, we reserve the right to make changes to their technical, functional or aesthetic characteristics in line with technological progress.
- Make a note of the references of your appliance on the "Consumer Service" page so that you can readily find them in future.
Important precautions
- This appliance is designed for use by consumers in the home. Do not use it for commercial or industrial purposes or for any other purpose for which it is not intended.
- Unpack the appliance as soon as you receive it. Check its general appearance. Make a note of any reservations on the delivery slip and keep a copy.
- This appliance can be used by children aged under 8 and by persons with diminished physical, sensory or mental capacities, or persons without any experience or knowledge, provided that they are properly attended to or are given the instructions on how to use the appliance in complete safety and that any potential risks are anticipated. Children must not play with this appliance. The appliance must not be cleaned and maintained by unattended children.
- Caution: The accessible parts of this appliance may become hot when used with cooking equipment.
Electrical risks
- All the power supply circuits must be disconnected before touching the connection terminals. If the power cord is damaged, it must be replaced by the manufacturer, its after-sales service or a similarly qualified person in order to avoid any danger.
- The appliance can be disconnected by using an accessible power outlet or by incorporating a switch in the fixed lines, in accordance with the installation rules.
- Do not change or attempt to change the characteristics of this appliance. Doing so can be dangerous.
- The appliance must only be repaired by an approved specialist.
- Always disconnect the hood before cleaning or maintaining it.
- Never use steam or high-pressure tools to clean your appliance (for the purposes of electrical safety).
-
The appliance can be disconnected by using an accessible power outlet or by incorporating a switch in the fixed lines, in accordance with the installation rules.
-
Do not change or attempt to change the characteristics of this appliance. Doing so can be dangerous.
- The appliance must only be repaired by an approved specialist.
- Always disconnect the the hood before cleaning or maintaining it.
- Never use steam or high-pressure tools to clean your appliance (for the purposes of electrical safety).
Risk of asphyxiation
- The regulations applying to the evacuation of air must be obeyed. The air must not be sent into a duct used to evacuate fumes from appliances that use gas or other fuels (this does not apply to appliances that only emit air into the room).
- The room must be suitably ventilated when the range hood is used at the same time as appliances that use gas or other fuels (this does not apply to appliances that only emit air into the room).
Risk of fire
- It is forbidden to flambé food or to turn on gas rings that are not covered by a cooking recipient beneath the hood, as the flames may sucked in and damage the appliance.
- Keep a constant eye on fryers used beneath the hood. When heated to very high temperatures, oil and fat can catch fire.
- Clean the appliance and replace the filters at the recommended frequency. Accumulated deposits of grease can cause a fire.
- It is forbidden to use the hood above a fuel fire (wood, coal, etc.).
- If the hood is installed above a gas-fired appliance, leave at least 70~cm between the top of the range and the underside of the hood. If the instructions of the range installed under the hood specify a distance greater than 70~cm , then this distance must be respected.
Warning In the case
In the case of a kitchen heated by a device connected to a chimney (a stove, for example) the "recycling" version of the hood should be installed. Do not use the hood without metal filters.
Suitable ventilation should be provided in the room when the hood is used at the same time as appliances operated by gas or another combustible fuel.
ENVIRONMENTAL PROTECTION
- This appliance's packaging material is recyclable. Help recycle it and protect the environment by dropping it off in the municipal receptacles provided for this purpose.
- Your appliance also contains a great amount of recyclable material. It is marked with this label to indicate the used appliances that should not be mixed with other waste. This way, the appli

ance recycling organised by your manufacturer will be done under the best possible conditions, in compliance with European Directive 2002/96/EC on Waste Electrical and Electronic Equipment. Contact your town hall or your retailer for the used appliance collection points closest to your home.
- We thank you doing your part to protect the environment.

Warning
Installation should only be performed by installers and qualified technicians.

Warning
Remove the protective film from the cartridge filter before use.
EN 1 /NOTICES TO THE USER
DESCRIPTION OF YOUR APPLIANCE

- The appliance must be unplugged during installation or when any repairs or maintenance work is being performed.
- Ensure that the network voltage corresponds to the voltage noted on the identification plate located inside the hood.
- If the electrical installation at your residence requires any changes in order to hook up your Appliance, call upon a professional electrician.
- If the hood is being used in evacuation mode, do not connect the appliance to a combustion gas exhaust duct (boiler, chimney, etc.) or to a CMV (controlled mechanical ventilation) system.
- Under no circumstances should the exhaust duct empty into the attic.
- Install the hood at a safe distance of at least 70~cm from an electric, gas or combined cooking hob.
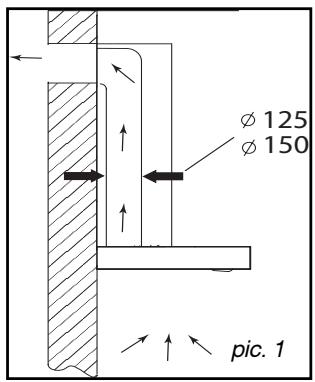
- USING THE EVACUATION MODE
If you possess an outlet to the exterior (pic. 1)
Your hood can be connected to this outlet using a flue (minimum diameter 0mm that is enamelled, in aluminium, flexible or made of inflammable material). If your flue is less than 125~mm in diameter, you must use the recycling mode.

- USING THE RECYCLING MODE
If you do not possess an outlet to the exterior
(pic. 2)
All of our appliances can be used in recycling mode.
In this case, you should add an active carbon filter which will keep in odours.
(See Chapter 4: Changing the carbon filter.)

Advice on how to save energy
To make optimal use of your appliance, keep the length of the duct and the number of bends in the duct to a strict minimum.
EN
2 / INSTALLING YOUR APPLIANCE
ELECTRICAL CONNECTIONS
During installation and maintenance operations, the appliance must be unplugged from the electrical grid; fuses must be cut off or removed.
The electrical connections are made before the appliance is installed in its housing.
Ensure that:
- the electrical installation has sufficient voltage,
- the electrical wires are in good condition,
- the diameter of the wires complies with the installation requirements.

Warning
This appliance is delivered with a H 05 VVF power cord that has three- 0.75mm^2 conductors (neutral, phase and ground). It must be connected to the main power supply (which should be a 220-240 V single phase current) via a CE160083 standardised socket that should remain accessible after installation, in keeping with installation guidelines.
We cannot be held responsible for any accident resulting from an inexistent, defective or incorrect ground lead. The fuse for your installation must be 10 or 16A. If the power cable is damaged, call the after-sales service department in order to avoid danger.

Warning
If the electrical installation at your residence requires any changes in order to hook up your appliance, call upon a professional electrician.

Warning
If the hood displays any malfunctions, unplug the appliance or remove the fuse corresponding to the electrical socket where your appliance is plugged in.
ASSEMBLING THE HOOD

Warning
The hood must be installed in compliance with all applicable regulations concerning the ventilation of premises. In France these regulations are described in DTU 61.1 from the CSTB. In particular, the evacuated air should never be conveyed to a duct used to evacuate smoke from appliances that use gas or other combustible fuels. Unused ducts may only be used after approval from a competent specialist.
The minimum distance between the cooking surface and the lowest part of the hood must be 70~cm at least. If the instructions for the hob installed under the hood specify a distance of more than 70~cm , this requirement must be respected.
Fixing to the wall:
-Draw a vertical line on the wall centered on the cook top.
-In a suitable position, drill 3 holes and Insert the 3 wall plugs for the hook. Drill 2 holes and insert the 2 wall plugs for the inside chimney bracket (Pic 3)
-Screw the hook to the wall with 3 screws. Screw the inside chimney bracket to the wall with 2 screws. Ensure they are perfectly leveled. (Pic 3)
-Use 4 screws to fix the air outlet onto the motor unit and insert the extension tube. (Pic 4)
- Hang the motor unit in the hook (Pic 5) and fix the motor unit with 2 safety screws (Pic 6)

inside chimney bracket
Pic 3


Pic 4
Pic 5

Pic 6
EN 2 / INSTALLING YOUR APPLIANCE
-Lift the hood body and slide it into the motor unit (Pic 7) then fasten it with 5 screws.(Pic 8)

Pic 7
-Remove the Aluminum filters and connect the cable (Pic 8)

Pic 8
-Fix the outside chimney bracket into the outside chimney, ensuring the inside chimney can move up and down freely. (Pic 9)

Pic 9
- Then put the chimneys onto the hood and fix the inside chimney with the bracket by 2 screws.(Pic 10)

Pic 10
ASSEMBLING THE VENTILATION SHAFT
- Outdoor evacuation
- Calculate the final height for fixing the duct support U-bracket (Pic 3).
- Mark the two holes accordingly
- Drill 8 mm diameter holes and secure the duct support bracket, ensuring that it is fixed on the same axis as the hood (Pic 3).
- Fix the flat bracket behind the lower duct (Pic 11).
-Fix the two ducts to the hood (Pic 12). - Connect the sleeve to the air outlet to the outside. (Pic 13).
- Make the electrical connection to the hood using the mains supply cable.
- Lift the upper duct up to the ceiling and fix it to the bracket using the screws. (Pic 14).

Pic. 11
Pic. 12

Pic. 13

Pic. 14
EN 2 / INSTALLING YOUR APPLIANCE
Recycling
-Calculate the final height for fixing the duct support U-bracket (Pic 3).
-Mark the two holes.
-Drill 8 mm diameter holes and secure the duct support bracket, ensuring that it is fixed in the same axis as the hood (Pic 3).
-Fix the flat bracket behind the lower duct (Pic 11).
-Fit the sleeve adapter on the deflector (Pic 15).
-Connect the extendable sleeve to the deflector.
-Fit the two parts of the duct on to the hood (Pic 12).
-Fit the deflector (Pic 15) into the upper duct by the ventilation inlets (Pic 16).
-Make the electrical connection to the hood using the mains supply cable.
-Lift the upper duct up to the ceiling and fix it to the bracket using the two screws. (Pic 14).

Pic 15


Tip
For optimal use of your appliance, we recommend that you connect the hood to a 150 mm-diameter flue (not delivered with the appliance). Minimise the number of angles and bends and the lengths of the flue. In the event that the hood will be operated using outdoor evacuation, you should ensure a sufficient inflow of fresh air to avoid a pressure deficiency in the room.

Warning
Do not use tools to remove the safety film of hood
DESCRIPTION OF CONTROL PANEL
Push button
1.Push stop button, and the motor will stop
2.Push the Low button, and the motor runs at low speed.
3.Push the Mid button, and the motor runs at mid speed.
4.Push the High button, and the motor runs at high speed.
5.Push the light button and the two lights will come on. Push it again and the light will turn off.

Stop
Low
Mid
High
Light

Advice on how to save energy
Adjust the speed to the cooking method and the number of pans in use. It is preferable to use the rings at the back of the range.
EN
4 / CARING FOR AND CLEANING YOUR APPLIANCE
Warning
Always unplug the hood before cleaning it or performing other maintenance acts. Regular maintenance of your appliance is a guarantee of proper functioning, good performance and durability.
Warning
Failure to respect the guidelines for cleaning the appliance and filters may cause fires. Please carefully adhere to the maintenance recommendations.
- CLEANING THE FILTER CARTRIDGES
They must be cleaned after approximately 30 hours of use or at least once a month. These filters can be cleaned in a vertical position in your dishwasher.
Use a brush, hot water and mild detergent. Rinse and dry them thoroughly before returning them to the hood.
- Dismantling the filter cartridge
-
Turn the built-in filter cartridge handle.
-
Tilt the filter cartridge downward.

- CHANGING THE CARBON FILTER (optional)
Replace it after approximately 120 hours of use.
- Remove the filter cartridges
- Turn the carbon filter to remove it
- Do the operation in the reverse order to put a new filter back
- Put the filter cartridges back.

- CLEANING THE OUTER SURFACES
To clean the outside of your hood, use soapy water, but never use abrasive creams, corrosive detergents, scrubbing sponges or brushes. Wipe down with a soft, damp cloth.
- CHANGING THE LIGHT BULB

Warning
The power supply must be turned off before changing the light bulb, either by removing the plug or by using the circuit breaker switch.
Model with LED
- Remove the lighting port
- Change the LED
- Replace the bulb by repeating these steps in reverse order.

EN
4 / CARING FOR AND CLEANING YOUR APPLIANCE

Warning
Before carrying out any work, the power supply to the hood must be turned off, either by unplugging it or by using the circuit breaker switch.
MAINTAINING YOUR APPLIANCE
| MAINTENANCE | WHAT TO DO | PRODUCTS/ACCESSORIES TO USE |
| Top surface and accessories | Never use metal scouring pads, abrasive products or excessively stiff brushes. | To clean the body and the light-ing port, you should use only commercial household cleaning products diluted in water and then rinse using clean water, drying with a soft cloth. |
| Filter cartridge | This filter traps fatty vapours and dust. This component plays an important role in ensuring the effectiveness of your hood. In the event of tough stains, use a non-abrasive cream, then rinse with clean water. | Use a commercial household cleaning product then rinse abundantly and dry. These filters can be cleaned in a vertical position in your dishwasher. (Do not allow them to touch dirty dishes or silverware.) |
| Activated carbon filter | This filter traps odours and must be changed at least once a year depending on your level of use. You should order these filters from your dealer (quoting the reference shown on the identification plate located inside the hood) and note the date the filter was changed. |
| SYMPTOMS | SOLUTIONS |
| The hood is not working... | Ensure that: · The power is not cut off. · A speed has been selected. |
| The hood is not operating effectively... | Ensure that: · The selected motor speed is sufficient for the quantity of smoke and vapours to be cleared. · The kitchen is sufficiently ventilated to allow for fresh air intake. · The carbon filter is not worn (hood operating in recycling mode). |
| The hood stopped work- ing | Ensure that: · The power is not cut off. · The single-pole cut-off device was not activated. |
EN 6/ AFTER-SALES SERVICE
Any maintenance on your equipment should be undertaken by :
-
either your dealer,
-
or another qualified mechanic who is an authorized agent for the brand appliances.
When making an appointment, state the full reference of your equipment (model, type and serial number). This information appears on the manufacturer's nameplate attached to your equipment.
This device complies with the delegated regulations (EU) 65/2014 and 66/2014 of the European Commission on the eco design requirements and energy labeling of household hoods.
symbol Value Unit
| Brand | Brandt | ||
| Model number | BHB6602X | ||
| Annual energy consumption | AEC | 56.8 | kWh/annum |
| Energy efficiency index | EEi | 62.2 | - |
| Fluid dynamic efficiency index | FDE | 24.8 | - |
| Lighting efficiency index | LE | 50.8 | - |
| Grease filtering efficiency | GFE | 82.7 | - |
| Time increase factor | f | 1.1 | - |
| Maximum volumetric airflow of the cooker hood | Qmax | 620.7 | m³/h |
| Volumetric airflow at best efficiency point | QBEP | 329.0 | m³/h |
| Static pressure at the best efficiency point | P BEP | 364 | P |
| Power consumption at the best efficiency point | W BEP | 134.2 | W |
| Nominal power consumption of lighting system | WL | 4.0 | W |
| Average illumination of the lighting system | Emiddle | 203 | Lux/W |
| Power consumption in off mode | Po | 0.00 | W |
| Power consumption in standby mode | Ps | -- | W |
| Volumetric airflow at the highest speed setting in normal use | - | 593.4 | m³/h |
| Volumetric airflow at the lowest speed setting in normal use | - | 352.2 | m³/h |
| Volumetric airflow in intensive or boost mode | - | -- | m³/h |
| Sound power emissions at the highest speed setting in normal use | - | 68 | dB(LwA) |
| Sound power emissions at the lowest speed setting in normal use | - | 58 | dB(LwA) |
| Sound power emissions in intensive / boost mode | - | -- | dB(LwA) |
EN
7 / Ecodesign information / Technical product fiche
symbol Value Unit
| Brand | Brandt | ||
| Model number | BHB6902X | ||
| Annual energy consumption | AEC | 57.5 | kWh/annum |
| Energy efficiency index | EEi | 62.3 | - |
| Fluid dynamic efficiency index | FDE | 23.7 | - |
| Lighting efficiency index | LE | 40.3 | - |
| Grease filtering efficiency | GFE | 81.5 | - |
| Time increase factor | f | 1.1 | - |
| Maximum volumetric airflow of the cooker hood | Qmax | 633.7 | m³/h |
| Volumetric airflow at best efficiency point | QBEP | 336.6 | m³/h |
| Static pressure at the best efficiency point | P BEP | 344 | P |
| Power consumption at the best efficiency point | W BEP | 136.0 | W |
| Nominal power consumption of lighting system | WL | 4.0 | W |
| Average illumination of the lighting system | Emiddle | 161 | Lux/W |
| Power consumption in off mode | Po | 0.00 | W |
| Power consumption in standby mode | Ps | -- | W |
| Volumetric airflow at the highest speed setting in normal use | - | 606.0 | m³/h |
| Volumetric airflow at the lowest speed setting in normal use | - | 358.8 | m³/h |
| Volumetric airflow in intensive or boost mode | - | -- | m³/h |
| Sound power emissions at the highest speed setting in normal use | - | 70 | dB(LWA) |
| Sound power emissions at the lowest speed setting in normal use | - | 59 | dB(LWA) |
| Sound power emissions in intensive / boost mode | - | -- | dB(LWA) |
OBSAH
CZ
1/PROUZIVATELE
2 / INSTALLATION AF APPARATET
2 / INSTALLATION AF APPARATET
DK
VEDLIGEHOLDELSFAPPPARATET
ManualGo.com