BHB6602X - Capucha BRANDT - Manual de uso y guía de instrucciones gratis
Encuentra gratis el manual del aparato BHB6602X BRANDT en formato PDF.
| Título | Detalles |
|---|---|
| Tipo de producto | Campana extractora |
| Características técnicas principales | Campana decorativa de pared, extracción o reciclaje |
| Alimentación eléctrica | 230 V, 50 Hz |
| Dimensiones aproximadas | Anchura: 60 cm, Profundidad: 50 cm, Altura: 90 cm |
| Peso | Alrededor de 10 kg |
| Compatibilidades | Compatible con sistemas de ventilación estándar |
| Tipo de filtro | Filtro de carbón y filtro metálico |
| Tensión | 230 V |
| Potencia | Máx 300 W |
| Funciones principales | Iluminación LED, varios niveles de potencia de succión |
| Mantenimiento y limpieza | Filtros lavables en lavavajillas, limpieza regular de la superficie |
| Piezas de repuesto y reparabilidad | Disponibilidad de piezas de repuesto a través del servicio postventa |
| Seguridad | Protección contra sobrecargas, conforme a las normas de seguridad |
| Información general | Garantía de 2 años, instalación recomendada por un profesional |
Descarga las instrucciones para tu Capucha en formato PDF gratis! Encuentra tus instrucciones BHB6602X - BRANDT y toma tu dispositivo electrónico nuevamente en la mano. En esta página están publicados todos los documentos necesarios para el uso de su dispositivo. BHB6602X de la marca BRANDT.
MANUAL DE USUARIO BHB6602X BRANDT
1 / A LA ATENCIón DEL USUARIO
- Consignas de seguridad 25
- Conservación del medio ambiente 31
- Descripción del aparato 32
2 / INSTALLACION DEL APARATO
- Utilización en version evacuación 33
- Utilización en version reciclaje 33
- Conexión electrica 34
Montaje de la campana extractor 35
Montaje de la chimenea Evacuacion exterior 37
Evacuación exterior 37
^ Reciclaje 38
3 / UTILIZACION DEL APARATO
- Descripción de los mandos 39
4 / MANTENIMIENTO Y LIMPIEZA DEL APARATO
Limpieza de los filtros modulares 40
- Ambio del filtro de carbono 40
- Limpieza de la superficie exterior 41
- Ambio de la bombilla 41
- Mantenimiento del aparato 42
1 / A LA ATENCIón DEL USUARIO
Importante Conserve este manual con el aparato. Si debe vender o ceder el aparato a othera persona,aseguesre de que elmanual deutilizacion va con el.Porfavor,lea these consejos antes de instalar yutilizar el aparato.Han sido redactados pensando en su seguidad y la de los demas.
Seguidad y precauciones importantes

Este manual también está disponible en el situ Internet de lamarca Brandt.
Por favor lea这些东西 consejos antes de instalar y utiliser su aparato. Han sido redactados para su seguridad y la de los demás. Conserve estemanual de utilizesión con su aparato. Si el aparato tuviera que vendderse o cederse a otra persona, cercórese de que el manual deutilización lo accompanies.
- Con el的对象 de una mejor constante de nuestros productos, nos reservamos el Derecho a aportar a sus caracteristicas sociales, sociales o estéticas cuales squiera modificaciones de sus caracteristicas vinculadas a la evolución技术水平ica.
- Con el fin de encontrar fácilmente en el futuro las referencias de su aparato, le acontejos anotarlos en la頁a "Servicio Consumadores".
Precauciones importantes
- Este aparato ha sido disnado para ser utilisé por particulares en su lugar de vivienda. No lo utilise con fines commerciales o industriales o parathers objetivos distinctos a aquellos para los que ha sido disnado.
- En el momento de la Reception del aparato,(desmbalelo o hagalodesembalar inmediamente. Verifique su aspecto general. Realice las eventuales reservas por escrito en laorden de entrega de la que conserva un ejemplar.
- Este aparato pueda ser utilisé por niños de al menos 8 años y por personas que tengan capacities físicas, sensoriales o mentales reducidas o privadas de experiencia o de conocimiento, si son correctamente supervisas o si se les has proportionsioned instrucciones relativas a la utilización del aparato en total seguridad y si se han comprehindo los riesgos que se corre. Los niños no deben usar con el aparato. La limpieza y el mantenimiento por el usuario no deben ser efectuados por los niños sin supervisión.
ES
1 / A LA ATENCIón DEL USUARIO
- Atencion: Las partes accesibles de este aparato peuvent calentarse cuando se utilizes con aparatos de coccción.
Riesgos éléctricos
- Antes de acceder a los bornes de connexion, deben desconnectarse todos los circuitos de alimentacion. Si el cable de alimentacion está dañado, se le debe hacer reemplazar por el fabricante, su serviceo de postventa o una persona queonga una calidadacion similar, para evaporar un riesgo de peligro.
- La desconexión可以选择 Obtenersepreviando un enchufe de toma de corriente accesible o incorporando un interruptor en las canalizaciones fijas de acuerdo con las reglas de instalación.
- No modifique o no intente modifier lascharacteristicas de este aparato. Estorepresentaría un peligro para usted.
- Las reparaciones deben ser efectuadas exclusivamente por un especialista autorizzato.
-
Siempre desconecte la campana extractora antes de proceber a su limpieza o a su mantenimiento.
-
Nunca utilise aparatos de vape o de alta presión para limpar su aparato (exigencias relativas a la seguridad electrica).
- La desconexión可以选择 Obtenersepreviando un enchufe de toma de corriente accesible o incorporando un interruptor en las canalizaciones fijas de acuerdo con las reglas de instalación.
- No modifique o no intente modifier las caracteristicas de este aparato. Esto representaria un peligro para usted.
- Las reparaciones deben ser efectuadas exclusivamente por un especialista autorizado.
- Siempre desconecte la campana extractora antes de proceber a su limpieza o a su mantenimiento.
- Nunca utilise aparatos de vape o de alta presión para limpar su aparato (exigencias relativas a la seguridad electrica).
Riesgo de asfixia
- Deben respetarse las reglamentaciones concernrientes a la evacuacion del aire. El aire no debe enviarse por un conductor utilizado para evacuar los humos de aparatos queutilicen gas u other combustible (no se aplica a los aparatos que expulsan unicolemente aire en la estancia).
ES
1 / A LA ATENCIón DEL USUARIO
- Debe preverse una ventilación adecuada de la estancia cuando se usa simultáneamente una campana extractor de comida con aparatos que'utilizan gas u otro combustible (no se aplica a los aparatos que expulsion an únicamente aire en la estancia).
Riesgos de incendio
-forked hogs, and the pigs were killed.
- Este prohibited flamear alimentos o hacer functional hogares a gas sin recipientes de cocccion debajo de la campana extractor (las llamas aspiradas correrian el riesgo de deteriorar el aparato).
- Las frituras efectuadas debajo del aparato deben ser objeto de una vigilancia constante. Los aceites y grasasledge a muy alto temperatasueneden incendiarse.
- Respete la Frequencia de limpieza y reemplazo de los filtros. La acumulación de depósitos de grasa corre el riesgo de causar un incendio.
- El funciona encima de un hogar de combustible (madera, carbón...) no está autorizado.
- Cuando la campana extractor de cocina se coloca encima de un aparato a gas, la distancia minima entre la parte de la encimera y la parte inferior de la campana extractor debe ser de al menos 70 cm. Si las instrucciones de la encimera instalada bajo de la campana extractor especified una distancia mayor a 70 cm, esta debe tenerse en@cuentamantenimiento.
Atencion Si la cocina
Si la cucina calienta con un aparato connectado a una chimenea (por exemple, una estu-fa), se debe instalar la campana en version reciclaje. No utilise la campana sin los filtros modulares.
Hay que prever una ventilación adecuada cuando se usa una campana extractora de cocina al mesmo tiempo que otros aparatos que funciona con gas u other combustible.
ES
1 / A LA ATENCIón DEL USUARIO
PROTECCION DEL MEDIO AMBIENTE
-
Los materiales realizados para el embalaje de este aparato son reciclables. Participe en su reciclaje y contribuya asi a conservar el medio ambiente tirandolos a los contenedores municipales previstos para ellos.
-Su aparato también contiene materiales reciclables, por lo que está marcado con este logoti- po que le indica que los aparatos desechados no deben mezclarse conOthers residuos.Actuando asi, el reciclaje de los aparatos que organize su fabricante se efectuara en las meores conditiones posibles, de acuerdo con la directiva europea 2002/96/CE sobre los residuos de equipos electricos y electronicos.Consulte en su ayuntamento o a su vendedor para poderononde se encontrarlos+puntos de recogida de aparatos desechados más cercanos a su domicilio. -
Le damos las gratías por su的合作ación en la protección del medio ambiente.
Atencion
La instalación está reservada a los instaladores y技术和uales.
Atencion Antes de ul
Antes de utiliser por primera vez el filtro modular, retire lapellicula protectora.
DESCRIPCION DEL APARATO

ES 2 / INSTALLACION DEL APARATO
- El aparato debe estar desconectado al instalarlo o al realizarrialquier intervencion en el.
- Compruebe que la tension de la red corresponde a la tension indicada en la placac de caracte-risticas que se enquiryra en el interior de la campana.
- Si la instalacion electrica de su campana obliga a efectuar una modificacion para poder connectar el aparato, llame a un electricistariallicado.
- Si la campana se usa en version evacuacion, no conecte el aparato a un conductor de evacuacion de humos de combustion (caldera, chimenea, etc.) o a una VMC (ventilacion mecanca controlada.
- El conductor de evacuation, searialsea, no debe desembocar en los bajos del tejado.
- Instale la campana a una distancia de seguridad de al menos 70cm de la plac de coccyon electrica, de gas o mixta.
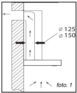
- UTILIZACION EN VERSIONEN VACUACION
Si tiene una calidad hacía el exterior
(foto 1)
Su campana se pueda conectar a ella mediana un conducto de evacuationo (O minimo 125 mm, esmaltado, de aluminio o de material iniflammable). Si el conductoiene un diametro inferior a 125~mm ,pase obligatoriamente al modo reciclaje.

- UTILIZACION EN VERSION RECLAJE
Si no Tiene una calidad al exterior
(foto. 2)
Todoos nuestros aparatospresentan la posibili-dadefuncionar enmode reciclaje.
En este caso,añada un filtro de carbono activo que retendra los olores.
(verbapitulo4:Cambiodelfiltrodecarbono)

Consejo para economizar energia
Para que su aparato funciona en las mejoras conditiones, reduzca al minimum el numero de codos y la longitud del conductor.
- CONEXION ELECTRICA
Al efectuar la instalacion y las operaciones de mantenimiento, el aparato deben estar desconectado de la red electrica y los fusibles estarán cortados y quitados.
La connexion électrique se deben realizar antes de colocar el aparato en el mueble.
Compruebe que:
- la potencia de la instalacion es suficiente,
- las lineas de alimentacion estan en buena。,
- el diametro de los cables es conforme con las normas de instalacion.
Atencion Este apar
Este aparato se suministra con un cable de alimentacion H 05 VVF a 3 conductores de 0,75mm^2 (neutro, fase y tierra) que se debe conectar a la red de 220 - 240 V -monofasia mediana una toma de corriente normalizada CEI 60083 que deben estar accesible una vez efectuada la instalacion, de acuerdo con las normas de instalacion.
No asumiremos ninguna responsabilidad en caso de producirse un accidente debido a una toma de tierra inexistente o Incorrecta. El fusible de su instalacion deben ser de 10 o 16 A. Si el cable de alimentacion estuviera dañado, llama al serviceo posventa para evitar todo peligro.
Atencion Si,,cesit
Si necessities modifier la instalacion electrica de su habitacion para poder connectar el aparato, llama a un electricista综合素质.
Atencion Si la camp
Si la campana tieneequalquier anomalía,desconecte el aparato oquite el fusible correspondiente a la linea de conexión del aparato.
ES 2 / INSTALLACION DEL APARATO
MONTAJE DE LA CAMPANA EXTRACTORA
Atencion La instalaci
La instalación debe ser conforme a las normativas vigentes para la ventilación de los locales. En Francía, dichas normativasienen indicadas en el DTU 61.1 del CSTB. En particular, el aire evacuado no debe ser enviado un conductor utilisé para evacuar el humo de aparatos queutilicen gas u other combustible. Los conductos en desuso soloueneden serutilizados con el acuerdo de un especialista competente.
La distancia minima entre la zona de cocción y la parte más baja de la campana debe ser por lo menos de 70 cm. Si las instruciones de la placía instalada bajo la campana indicaran una distancia mayor que 70 cm, es esta la que se deben tener en*cuenta.

Interior de soporte de conducjo
Imag. 3

Imag. 4
Fijación en la pared
-Trace una linea vertical en la pared en la posicion central de la parte superior del gancho. (Imag. 3)
- A la alta adecuada, perfore 3 orificios e inserte los 3 taquetes para el gancho. Perfore 2 orificios e inserte los 2 taquetes para el soporte de conductor interno (Imag. 3)
- Atornille el gancho a la pared con los 3 tornillos. Atornille el soporte de conductor interno a la pared con los 2 tornillos. Asegúrese de que estén instalados en posición horizontal. (Imag. 3)
- Use 4 tornillos para fjjar la salute de aire en la unidad de motor e inserte el tubo de extension. (Imag. 4)
- Cuelgue la unidad del motor en el gancho (Imag. 5) y fije la unidad del motor con los 2 tornillos de seguridad (Imag. 6)

Imag. 5

Imag. 6
- Sujete el cuerpo de la campana y deslícelo en la unidad del motor y a continuación(Imag.7), sujételo con los 5 tornillos. (Imag. 8)

Imag. 7
- Quite los filtros de aluminio y conecte el cable (Imag. 8)


Imag. 8
- Instale el soporte del conducto externoen el conducto externo, asegurándose deque el conducto interno pueda moversehacia arriba y hacía abajo libremente. (Imag. 9)

- Coloque los conductos en el campanay fije el conducto interno con el soporte con los 2 tornillos. (Imag. 10)

Imag. 10
ES 2 / INSTALLACION DEL APARATO
MONTAJE DE LA CHIMENEA
-Calcule la ultura final para enroscar el estribo en U del soporte de la chimenea (Imag. 3)
- Marque 2 agujeros en el lugar adecuado
-Taladre los 2 agujeros de 8 mm y enrosque la brida de soporte de la chimenea prestando atencion para que este bien en el eje de la campana (Imag. 3)
- Enrosque la horquilla plana a la parte trasera de la parte inferior de la chimenea (Imag. 11)
-Coloque las 2 chimeneas sobre la campana (Imag.12)
- Conecte lafunda a la salute del aire hacia el exterior (Imag.13)
- Realice la connexion électrique de la campana por medio del cable de alimentacion
- Levante la chimenea superior hasta el limite maxi-mo y fjela a la horquilla con la ayud de los tornillos (Imag. 14)

Imag. 11
Imag. 12

Imag.13

Imag. 14
2 / INSTALLACION DEL APARATO
ES
Reciclaje
- Calcule la alta final para insertar la brida de soporte de la chimenea (Imag. 3)
- Marque 2 agujeros en un lugarADECUIDO
-Taladre los 2 agujeros de 8mm y enrosque la brida de soporte de la chimenea prestando atencion para que este bien en el eje de la campana (fig.3)
- Enrosque la horquilla plana a la parte trase-ra de la parte inferior de la chimenea (Imag. 11)
-Instale el adaptor defundasobreel deflector (Imag.15) - Conecte la funda extensible al deflector
- Coloque la chimenea compuesta por 2 partes sobre la campana (Imag. 12)
- Instale el deflector (Imag. 15) en la chimenea superior al nivel de las aberturas de ventilacion (Imag. 16)
- Realice la connexion electrica de la campana por medio del cable de alimentacion
- Levante la chimenea superior hasta el limite maximo y la fije a la horquilla con la ayud de 2 tornillos (Imag. 14)

Imag. 15

Consejo Porto e Porto
Para encontrar una utilizacion optima del aparato, le aconsejamos conectarlo a un conductor de 150~mm de diametro (no suministrado). Limitar al maximum el numero de codos y la longitud del conductor. Si la campana funciona en evacuation exterior, es conveniente asegurarde que Ilegue aire suficiente para que no se cre depresion en la habitacion.
Atencion Noutilizar|
No/utilizarherramentaspararetirarelfilm protector
ES 3/UTILIZACION DEL APARATO
- DESCRIPCION DE LOS MANDOS
- PARA USAR SU CAMPANA DE COCINA
como usar el panel de control.
a. Pulse el botón “Baja” El motor está的功能ando a baja velocidad. Pulse nevamente el botón y el motor se detendra.
b. Pulse el botón "Media" El motor está的功能化。
Pulse neutramente el botón y el motor se detendra.
c. Pulse el botón "Alta" El motor está的功能化。Pulse neutramente el botón y el motor de detendrá.
d. Pulse el botón "Luz" Pulse nuevomente el botón y las luces se apagarán.


Consejo para economizar energia
Adapte la velocidad al modo de cocccion y al numero de utensilios de cocina. Utilice, de preferencia, los fuegos posteriores de su tabla de cocccion.
Atencion Descornet
7:3 Desconecte el aparato antes de proceder al mantenimiento y limpieza del aparato. Un mantenimiento periodico es una garantía de buen funciona, bien rendimiento y duración.
Atencion No. respert
No Respectar las instrucciones de limpieza del aparato y los filtros可以更好ocasionar incendios. Respete estrectamente las instrucciones deostenimiento.
- LIMPIEZA DE LOS FILTROS MODULARES
Se deben limpar cada 30 horas de uso o aproximamente una vez al mes como是最imo. La limpieza se pueda hacer en el lavavajillas, en posicion vertical.
Utilice un cepillo, agua caliente y un detergente suave. Aclarélos y sequelos con cuidado antes de volverlos a colocar.
- Desmontaje del filtro modular
-Gire el asa integrada del filtro modular.
-Inclineelfiltrmodularhaciaabajo.

- CÁMBIO DEL FILTRO DE CARBONO (en.option)
Cambiolo cada 120 horas de uso a prioriamente.
- Quite los filtros modulares
- Gire el filtro de carbono para retirarlo
- Haga la operation contraria para colocar un nuevo filtro
-Vuelva a poner los filtros modulares

ES 4 / MANTENIMIENTO Y LIMPIEZA DEL APARATO
- LIMPIEZA DE LA SUPERFICIE EXTERIOR
Para limpiar el exterior de la campana extractora utilise agua con jabón; no utilise cremas para fregar, ni detergentes corrosivos, ni estropajos o cepillos. Séquela con un trapo humedo y suave.
CAMBIO DE LA BOMBILLA
Atencion Atras de re
Antes de realizarrialquier intervencion,debera dejar la campana sin tension,bien desenchufandola o bien actionando el disyuntor.
Modelo con bombilla LED
-
Quite la tulipa
-
Bombilla LED
-Vuela a colocar el Conjunto realizando las operaciones en sentido inverso.


Antes de realizar cualquier intervención, deben estar la campana sin tensión, bien desenchufándola o bien actionando el disyuntor.
MANTENIMIENTO DEL APARATO
| MANTENIMIENTO | QUÉ DEBE HACER | PRODUCTOS/ACCESORIOS A EMPLEAR |
| Carcasa y accesorios | No utilise nunca estropajos metáli-cos, productos abrasivos o cepi-los demasiadouros. | Para limpiar el chasis y ojo de buey de iluminación, utilise exclusi-vamente products de limpieza del commercio diluidos en agua, aclare después con agua ySEQe con un trapo suave. |
| Filtro modular | Este filtreo retiene los vapeores gra-sos y el polvo. Es el elemento que garantiza una parte importante de la eficacia de la campana. Si hubiera manchas persistentes, utilise una crema no abrasiva y aclare con agua limpia. | Límpielo con un producto de lim- pieza del commercio, aclárela abun-dantamente y séquela. La limpieza se pueda hacer en el lavavajillas, en posición vertical (Noponer encontacto con la vajilla sucía o con cubiertos de plata) |
| Filtro carbono activo | Este filtreo retiene los olores y se debeCambiar al menos una vez al año, enfunciónde su uso.Pida這些 filtros a su vendedor (con la referencia indicada en la placá de caractéristicas que se encontrar en el interior de la cam-pana) y anote la Fecha del cambio. |
ES
| SINTOMAS | SOLUTIONES |
| La campana no funciona… | Compruebe que : • no hay un corte de corriente. • se ha selección una velocidad. |
| El rendimiento de la campana es insufiente… | Compruebe que : • la velocidad del motor que ha selecciónado es suficiente para la calidad de humo y el vapor de agua producido. • la cucina esta suficientamente ventilada para que pueda entrada aire. • el filtro de carbono no esta gastado (campana en version reciclaje). |
| La campana se ha parado@msteadas estarafunctio-nando. | Compruebe que : • no hay un corte de corriente. • no se ha activado el dispositivo de corte omnipolar. |
6 / SERVICIO TECNICO
ES
Las intervenciones que requiera laquinadeferan ser efectuadas:
-
por el revendedor,
-
o porrialquier profesionalevaluificado depositario de la marca
Al llamar, Mentione la referencia completa de laquina (modelo, tipo y numero de series).
Estos datos figuran en la plaza de identificacion situada en laquina.
ES
7 / Información sobre diseño ecológico/Ficha技术水平 de producto
Este dispositivo cumple con los regimientos delegados (UE) 65/2014 y 66/2014 de la Comisión Europea sobre los requisitos de Diseño ecologico y etiquetado energetico de las campanas extractoras.
Simbolo Valor Unidad
| Marca | Brandt | ||
| Número de modelo | BHB6602X | ||
| Consumo de energia anual | AEC | 56.8 | kWh/annum |
| Índice de eficiencia energetico | EEi | 62.2 | - |
| Índice de eficiencia de dinámica de fluidos | FDE | 24.8 | - |
| Índice de eficiencia de iluminación | LE | 50.8 | - |
| Eficiency de filtración de grasa | GFE | 82.7 | - |
| Factor de aumento de tiempo | f | 1.1 | - |
| Flujo de aire volumétrico máximo de la campana | Qmax | 620.7 | m3/h |
| Flujo de aire volumétrico en el mejor punto de eficiency | QBEP | 329.0 | m3/h |
| Presión estática en el mejor punto de eficiency | PBEP | 364 | P |
| Consumo de energia en el mejor punto de eficiency | W BEP | 134.2 | W |
| Consumo de energia nominal delsystema de iluminación | WL | 4.0 | W |
| Illuminación media delsystema de iluminación | EMiddle | 203 | Lux/W |
| Consumo de energia en modo apagado | Po | 0.00 | W |
| Consumo de energia en modo de esper | Ps | -- | W |
| Flujo de aire volumétrico en el ajuste de velocidadmaximum en modo normal | - | 593.4 | m3/h |
| Flujo de aire volumétrico en el ajuste de velocidadminimo en modo normal | - | 352.2 | m3/h |
| Flujo de aire volumétrico en modo intensivo/propulsor | - | -- | m3/h |
| Emissiones de potencia acústica en el ajuste de velocidadmaxima en el modo normal | - | 68 | dB(LwA) |
| Emissiones de potencia acústica en el ajuste de velocidadminima en el modo normal | - | 58 | dB(LwA) |
| Emissiones de potencia acústica en modo intensivo/propulsor | - | -- | dB(LwA) |
Este dispositivo cumple con los regimientos delegados (UE) 65/2014 y 66/2014 de la Comisión Europea sobre los requisitos de Diseño ecologico y etiquetado energetico de las campanas extractoras.
| Marca | Brandt | ||
| Número de modelo | BHB6902X | ||
| Consumo de energia anual | AEC | 57.5 | kWh/annum |
| Índice de eficiencia energetico | EEi | 62.3 | - |
| Índice de eficiencia de dinámica de fluidos | FDE | 23.7 | - |
| Índice de eficiencia de iluminación | LE | 40.3 | - |
| Eficiency de filtración de grasa | GFE | 81.5 | - |
| Factor de aumento de tiempo | f | 1.1 | - |
| Flujo de aire volumétrico máximo de la campana | Qmax | 633.7 | m³/h |
| Fluo de aire volumétrico en el mejor punto de eficiency | QBEP | 336.6 | m³/h |
| Presión estática en el mejor punto de eficiency | P BEP | 344 | P |
| Consumo de energia en el mejor punto de eficiency | W BEP | 136.0 | W |
| Consumo de energia nominal delsystema de iluminación | WL | 4.0 | W |
| Illuminación media delsystema de iluminación | Emiddle | 161 | Lux/W |
| Consumo de energia en modo apagado | Po | 0.00 | W |
| Consumo de energia en modo de espera | Ps | -- | W |
| Fluo de aire volumétrico en el ajuste de velocidadmaximum en modo normal | - | 606.0 | m³/h |
| Fluo de aire volumétrico en el ajuste de velocidadminimo en modo normal | - | 358.8 | m³/h |
| Fluo de aire volumétrico en modo intensivo/propulsor | - | -- | m³/h |
| Emissiones de potencia acústica en el ajuste de velocidadmaxima en el modo normal | - | 70 | dB(LWA) |
| Emissiones de potencia acústica en el ajuste de velocidadminima en el modo normal | - | 59 | dB(LWA) |
| Emissiones de potencia acústica en modo intensivo/propulsor | - | -- | dB(LWA) |
TABLE OF CONTENTS
EN
1 / NOTICES TO THE USER
Vip filterelementet nedad.

ManualFacil