BHB6602X - Emhætte BRANDT - Gratis brugsanvisning og manual
Find enhedens vejledning gratis BHB6602X BRANDT i PDF-format.
Download vejledningen til din Emhætte i PDF-format gratis! Find din vejledning BHB6602X - BRANDT og tag din elektroniske enhed tilbage i hånden. På denne side er alle dokumenter nødvendige for brugen af din enhed offentliggjort. BHB6602X af mærket BRANDT.
BRUGSANVISNING BHB6602X BRANDT
- Brug med udsugningsversionen 99
- Brug med recirculeringsversionen 99
Elektriske tilslutninger 100
Samling af emhaeten 101
Samling af ventilationsskakten Udsugning til det fri 103
^ Recirculering 104
3 / BRUG AF APPARATET
- Beskrivelse af knapper 105
4 / PLEJE OG RENGØRING AF APPARATET
- Udskiftning af filtrerelementerne 106
- Udskiftning af kulfiltret 106
Rengoring af de udvendige overflader 107 - Udskiftning af paaren 107
Vedligeholdelse of apparatus 108
5/FEJLFINDING 109
6/EFTERSALGSSERVICE 110
DK
1 / MÄRKNINGER TIL BRUGER

Vigtigt
Gem davon brugsanvisning sammen med apparatet. Hvis apparatet på noget tidspunkt sælges eller videregives til andere, skal du sorge for, at den nye ejer fär davon brugsanvisning. Gör dig venligstbekendt med disse anbefalinger inden du installerer og bruger emhæften. Anbefalingerne er udarbebdet for atærne om din og andres sikkerhed.
Sikkerhed og vigtige forsigtighedsregler!
Denne vejledning vindes øgså på Brandt mærkets hjemmeside.
Læs venligstgressive anvisninger, før du installerer og bruger dit apparat. De er brevet udarbejdet af hensyn til din egen og andres sikkerhed. Opbevar这几个vejledningammen med dit apparat. Hvis apparatet sælges til en,anden person, skal du sorge for at这部分vejledning følger med.
- Da vi konstant ønsker at forbredre voresprodukter, forbeholder vi os ret til at foretageændringer af deres tekniske, Funktionelle eller æstetiske egenskaber i forbindelse med den tekniske udvikling.
Vi anbefaler at skrive dit apparats varenummer op på sider "Kundeservice", sä du let kan finden det, hvis du fär brug for det.
Vigtige forsigtighedsregler
-
Dette apparat er designet til at blive brugt i en almindelig husholdning. Det pågressive anvendes til en erhvervsmaessig aller industriel brug eller til andre formål end det, det er beregnet til.
-
Når dette apparat modtages, skal det straks pakkes ud. Kontroller apparatets generelle fremtoning. Formuler eventuelle forbehold skriftligt på fragtsedlen og behold et eksemplar af den.
-
Dette apparat kan bruges af børn på mindst 8år og af personer med et fysisk, sensorisk erller mentalt handicap eller manglende kendskab, hvis de er under korrekt opsyn eller hvis de har modtaget instrukser om sikker brug af apparat og hvis der er taget højde for derisici, de udsætter sig for. Børnmökke lege med apparatet. Brugerens rengøring og vedligeholdelse af apparatetmökke udføres af børn ut den opsyn.
-
OBS: De dele, der er tilgängelige på这部分 emhætte, kan blive meget varme, nagemehætten bruges over et komfur.
DK
1 / MAERKNINGER TIL BRUGER
Elektriske risici
- Alle strømkredsløb skal afbrydes, før man fær adgang til tilslutningsklemmerne. Hvis el-kablet er beskadiget, skal det udskiftes af producenten, dennes aftersalgsservice eller en person med lignende kvalificering for at undgå enhver fare.
- For at afbryde strømmen kan man forudse at tilslutte apparatet ved en tilgængelig stikkkontakt eller indskyde en afbryder i kredsløbet i overensstemmelse med installationsreglerne.
- Forsøg ikke atændre eller foretag ikkeændringer af dette apparats egenskaber. Det kan[vare farligt for brugeren.
- Reparationer må udelukkende udføres af en autoriseret tekniker.
- Tag altid emhættens stik ud for rengøring eller vedligeholdelse.
- Rengør aldrig apparat ved hjælp af dampspuling eller højtryksspuling (krav i forbindelse med elektrisk sikkerhed).
- For at afbryde strømmen kan man forudse at tilslutte apparatet ved en tilgængelig stikkontakt eller indskyde en afbryder i kredsløbet i overensstemmelse med
Installationsreglerne.
- Forsøg ikke atændre eller foretag ikkeændringer af dette apparats egenskaber. Det kan,vare farligt for brugeren.
- Reparationer på udelukkende udføres af en autoriseret tekniker.
- Tag altid emhættens stik ud for rengøring eller vedligeholdelse.
- Rengør aldrig apparat ved hjælp af dampspuling eller højtryksspuling (krav i forbindelse med elektrisk sikkerhed).
Risiko for kvælning
- Bestemmelsene vedrørende udledning af luft skal overholds. Luftten på ikke fores ind i kanaler, der bruges til at udlede røg fra apparater, som fungerer med gas eller et andet brændstof (gælder ikke for apparater, som udelukkende færer luften tilbage i rummet).
- Der skal forudses passende ventilation af rummet,ningar en emhætte bruges samtidig med apparater, der fungerer med gas eller et andet brændstof (gælder ikke for apparater, som udelukkende fær luften tilbage i rummet).
DK
1 / MAERKNINGER TIL BRUGER
Risiko for antændelse
- Det er forbidt at flambere fødevarer eller lade gasblus fungere under emhætten,uden gryde eller pande (flammerne, som suges op, risikerer at beskadige apparatet).
- Hvis der laves friturestepninger under emhætten, skal det ske under konstant opsyn. Meget verm olie og fedt kan antænde.
- Overhold intervallerne mellem rengøring og udskiftning af filtre. Ophobning af fedtdepoter indebærer en risiko for antændelse.
- Det er ikke tilladt at bruge emhætten ovenover et ildsted (træ, kul m.m.).
- Når emhætten er placeret ovenover et gaskomfur, skal den minimale afstand mellem komfurets overflade og den nederste del af emhætten ære på mindst 70 cm. Hvis brugsanvisningen til det installerede komfur under emhætten specificerer en større afstand end 70 cm, skal davon afstand overholds.

Advarsel
Hvis dit kokken er opvarmet af en anordning, som er tilsluttet en skorsten (for eksempel en brandeovn skal "recirkulerings-" versionen af emhaeten installereres. Brug/DDke emhaeten.uden metalfiltrene.
Der bør sorges for hensigtsmaessig ventilering i lokaler, hvor emhaeten bruges samtidigt med apparater, som bruger gas uller et andet brandbart drivmiddel.
1 / MAERKNINGER TIL BRUGER
DK
MILJØBESKYTTALSE
— Dette apparats emballagematerialie er genbrugeligt. Hjælp med at genbruge det og beskyt miljoet ved at aflevere det på et kommunalt genbrugscenter til dette formål.
- En stor del af apparatets materiale er och genbrugeligt. Det er mærket med denne etiket for at indikere de brugte dele af apparatet, som ikke bør blandes med andet affald.

Således vil genanvendelsen af apparatet, der organiseres af fabrikanten, blive udført under de bedst mulige forhold, i henhold til EU-direktivet 2002/96/EF om Affald af elektrisk og elektronisk udstyr. Kontakt dinCOMMUNE eller din forhandler for at blive oplyst om genbrugscentraler i nærheden af, hvor du bor.
-Vitakkerdigfor,atdu gordittil atbeskyttemiljoet.

Advarsel
Installationen bør kun udfores af installerør og kvalificerede teknikere.

Advarsel
Fjern beskyttelsesfolien fra filtret inden brug.
DK 1 / MAERKNINGER TIL BRUGER
BESKRIVELSE AF APPARATET

- Dette apparats stik skal vare taget ud af stikkontakten under installation, somt nr der udfores reparatoner og vedligeholdelse.
Du skal sikre dig at nettets spending svarer til spendingen på identifikationsskilt, som findes på indersiden auf emhætten.
— Hvis el-installationerne i din bolig kræver nogen form forændringer for at kinne tilslutte apparatet, skal du tilkalde en professionnel elektriker.
— Hvis emhaettens bruges med udsugningsversionen, på apparatet ikke til Sluttes en afktraekskanal til brændbare gasser (fyrkedel, storsten, osv) eller til et kontROLLERet mekanisk ventilierungssystem.
— Aftrækskanalen må under ingen omstændigheder udledes til et loftsrum. - Installer emhætten med en forsvarlig afstand på mindst 70 cm fra et elektrisk kogeblus, et gaskogeblus eller et kombineret kogeblus.
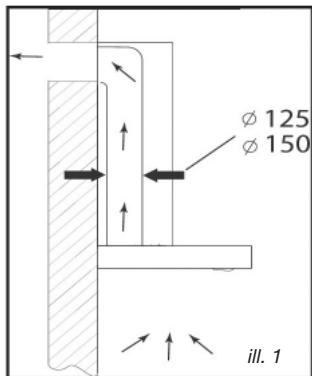
- BRUG MED UDSUGNINGSVERSIONEN
Hvis du har et udtag til det fri
(III. 1)
Kan emhætten tilsluttes dette udtag med et aftræksrør (diameter pám mindst 0 mm, som er emaljeret, af aluminium, fleksibeltller lavet af ubrandbart materiale). Hvis aftræskanalener minde end 125 mm i diameter, skal dbruge recirkuleringsversionen.

- BRUG MED RECIRKULERINGSVERSIONEN
Hvis du ikke har et udtag til det fri
(iII. 2)
Kan alle apparaterne bruges med recirkuleringsversionen.
I sa fald skal du pasaete et aktivt kulfilter, som vil holde pa lugte.
(Se kapitel 4: Udskiftning af kulfiltret.)


Gode rad om energibesparelse
For optimal brug af dit apparat skal du begaemse antallet af knær or og rrolangden mest muligt
DK 2 / INSTALLATION AF APPARATET
ELEKTRISKE TILSLUTNINGER
— den elektriske installation har tilstrækkelig spænding,
— elkablerne er i god stand,
- kablernes diameter overholder installationskravene.
Advarsel Apparatet 1
Apparatet leveres med en elledning til H 05 VVF, som har tre 0,75mm^2 ledere (nul, fase og jord). Det skal tilsluttes el-nettet (som skal have en spending pa 220-240 V) via et godkendt strmudtag, som skal vare tilgengeligt after installationen i henhold til retningslinjerne for installation.
Fabrikanten kan ikke stilles til ansvar for eventuelle ulykker forarsaget af en ikke-eksisterende, defekt aller forkert jordledning. Sikringen til installationen skal��e på 10 eller 16A. Hvis elledningen er beskadiget, skal du kontakte afdelingen for eftersalgsservice for at undgå farer.
Adversel Hvis den e
Hvis den elektriske installation i din bolig kræverændringer for at dit apparat kan tilsluttes, skal en professionnel elektriker tilkaldes.
Adversel Hvis emha
Hvis emhaeten udviser nogen form for defekter, skal du tage stikket ud aller fjerne den sikring, som horer til det elektriske uudtag, hvor apparatet er isat.
- SAMLING AF EMHAETTEN

Advarsel
Emhaeten skal installereres i overensstemmelse med alle geldende regler for ventilering og aftrakskanaler. I Frankrig er disse regler beskrevet i DTU 61.1 fra CSTB. I sverigeleshed ma den udsugede luft aldrig ledes ud igennem en kanal, som bruges til at udsuge rog fra apparater, som bruger gas aller andre brandbare drivmidler. Kanaler som ikke er i brug ma kun bruges after godkendelse fra en kompetent specialist.
Minimumsafstandemmellemkomfurets overkant og emhættens nederste del skal vare mindst 70~cm .Hvis anvisningerne til det blus som er installereret under emhætten foreskriver en afstand pa over 70~cm ,skal dette krav respekteres.
Fastgorelse pa væggen:
-Tegn en lodret linje på væggen i den midterste position fra komfurets top. (Figur 3)
-Bor 3 huller en passende hoge, og indsæt de 3 rawplugs til krogen. Bor 2 huller og indsæt de 2 rawplugs til den indvendige skorstens beslag (Figur 3)
-Skru paa vaeggen med 3 skruer. Skru den indvendige skorstens beslag paa vaeggen med 2 skruer.Sorg for at de er installerer et i en vandret position.(Figur 3)
-Brug 4 skruer til at fastgore luftudtaget pà motorenheden, og indsæt forlængerrøret. (Figur 4)
-Haeng motorenheden pa krogen (Figur 5) og fastgør motorenheden med 2 sikkerhedsskruer (Figur 6)

indvendige skorstens beslag
Figur. 3

Figur. 4

Figur. 5

Figur. 6
DK 2 / INSTALLATION AF APPARATET
- Hold fast i emhætten, og skub den ind i motorenheden (Figur 7), og fastgør den derefter med 5 skruer. (Figur 8)

Figur. 7
- Installer det udvendige skorstensbeslag i den udvendige skorsten, der sikrer den indvendige skorsten kan frit kan bevæge sig op og ned. (Figur 9)

Figur. 9
- Placer skorstenene på hætten og fastgør den indvendige skorsten med beslaget med 2 skruer. (Figur 10)

Figur. 10
- SAMLING AF VENTILATIONSKAKTEN
- Udsugning til det fri
— Beregn den endelige højde, hvor aftrækskanalens u-beslag skal fastgøres (Figur. 3)
— Afmærk de to huller herefter.
Bor hullerne med en diameter pa 8 mm og fastgor kanalens stottebeslag, sorg for at det er fastgjort pa samse akse som emhætten (Figur. 3)
Fastgor det flade beslag bag pa kanalens nedre del. (Figur. 11)
Fastgordeto kanaler til emhaeten.(Figur.12)
Tilslut flexlangen til luftudtaget til det fri. (Figur. 13)
- Foretag den elektriske tilslutning til emhaeten med kablet fra el-nettet.
- Loft den øvre kanal op til loftet og fastgør den til beslaget med skruerne. (Figur. 14)

Figur. 11
Figur. 12

Figur. 13

Figur. 14
DK 2 / INSTALLATION AF APPARATET
Recirculering
— Beregn den endelige hojde, hvor aftrækskanalens U-beslag skal fastgores.
(Figur. 3)
- Afmærk de to huller.
Bor hullerne med en diameter pa 8 mm og fastgor kanalens stottebeslag, sorg for at det er fastgjort pa samme akse som emhætten. (Figur. 3)
Fastgor det flade beslag bagpakanalens nedre del. (Figur. 11) - Monter slange-tilpasningsstykket pà deflektoren(Figur. 15)
Tilslut flexlangen til deflektoren. - Monter kanalens to dele pâ emhætten (Figur. 12)
- Monter deflektoren (Figur. 15) på kanalens øvre del ved ventilationsindtagene (Figur. 16)
- Foretag den elektriske tilslutning til emhætten med kablet fra el-nettet.
- Loft den øvre kanal op til loftet og fastgør den til beslaget med de to skruer. (Figur. 14)

Figur. 15

Figur. 16

Råd
For at udnytte apparatet optimalt, anbefaler vi, at du tilslutter emhaeten til et aftraeksrør med en diameter pa 150 mm(medfolger ikke). Reducer antallet af vinkler og knæk samt aftraeksrørets længe. Hvis emhaeten skal bruges med udsugning til det fri, bør du sorge for tilstrækkelig tilforsel af frisk luft for at undgå undertryk i lokalet.

Vigtigt
Fjern不应该在任何情况下使用。
- BRUG AF EMHAETTEN
Sādan bruger du knapperne
a. Tryk på knappen "Lav" i midten af knappen begynder at lyse. Motoren arbejder nu ved lav hastighed. Tryk igen på knappen og motoren stopper.
b. Tryk på knappen "Middel" Motoren arbejder nu ved middel hastighed. Trykigen på knappen og motoren stopper.
c. Tryk på knappen "Hoj" Motoren arbejder nu ved høj hastighed. Tryk对其进行 knappen og motoren stopper.
d. Tryk på knappen "Lys" og begge lys tændes. Tryk iven på knappen og lysene slukkes.


Godrdd om energibesparelse
Reguler tilberedningshestigheden after tilberednignsmåden og antallet af gryder. Brug forst og fremmest de bagerste blus pa kogeapparatet
DK
4 / PLEJE OG RENGØRING AF APPARATET

Advarsel
Stikket skal alto tages ud inden emhætten rengøres, og inden der foretages andre er for vedligeholdelse. Regelmaessig vedligeholdelse af apparatet er en garanti for akt Funktion, god ydeevne og levetid.

Advarsel
Respekteres retningslinjerne for rengoring af apparat og filtre ikke, kan de forårsager med. Følg omhyggeligt anbefalingerne vedrærende vedligeholdelse.
- RENGØRING AF - FILTERELEMENTERNE
Filtrene skal rengøres after cirka 30 timers
brug eller mindst en gang om maneden.
Disse filtrkan vaskes i opretstaende stilling
i opvaskemaskinen.
Brug en børste, varmt vand og opvaskemiddel. Skyl og tør filtrene grundigt inden de saettes tilbage i emhætten.
- Aftagning af filterelement
— Drej det indbyggede greb til filterelementet.
— Fjern filterelementet.
— Drej kuliftret for at kinne fjerne det.
Udfor forlobet i omvendt rækkefolge, nardet nye filter skal saettes paigen.
Saat filterelementerne tilbage.

DK 4/PLEJE OG RENGØRING AF APPARATET
- RENGÖRING AF DE YDRE OVERFLADER
Brug saebevand til rengoring af emhaettens ydre flader, men brug aldrig slibemidler, aetsende rengoringsmidler, skrubbesvame per er børster. Torres af med en blod fugtig klud.
- UDSKIFNING AF PAEREN

Advarsel
Inden der udfores nogen form for opgaver, skal stromforsyninger til emhaeten slas fra, enten ved at tage emhaettens stik ud ell er ved hjaelp af kredsafbryderen.
Model med LED
— Fjern skærmen
Udskift LED.
— Sæt delene på plads ved at gentage disse trin i omvendt rækkefolge.


Advarsel
7! Inden der udfores nogen form for opgaver, skal strormforsyningen til emhætten slås fra, enten ved at tage emhætten stik ud eller ved hjælp af hovedafbryderen.
| VEDLIGEHOLDELS | DET SKAL DU GÖRE | PRODUKTER/TILBEHØR SOM SKAL BRUGES |
| Øvre overflader og tilbehør | Brug aldrig metal-skrubbésvampe, slide-produkter eller meget härde børster. | Til rengöring af hoveddelen og lysdelen, brør der kun brugesprodukter fortyndet med vand og som fjernes med rent vand og tørres med en blød fugtig klud. |
| Filterelementer | Dette filter opfanger fedtdampe og støv. Denne component spiller en vigtg rolle i emhættens effektivitet. Hvis der opstår genstridge pletter, kan du bruge en ikke-slibende creme og skylle after med rent vand. | Brug et rengøringsprodukt som kan købes i en almindelig han- del, skyl med rigeligt vand og tør. Disse filtre kan vaskes i opretstå- Ende stilling i opvaskemaskinen. (De på ikkekommen til atøre beskidt service aller solvtoj.) |
| Aktiveret kulfilter | Dette filter opfanger lugte og skal udskiftes mindst en gang om Året afhængig af brugsintensiteten. Disse filtre brør bestilles hos forhandleren (opgiv referencen på indentitetsskittet, som sidder på emhættens anderside) og noter datoen, hvor filtret brev skiftet. |
DK
5/FEJLFINDING
| SYMPTOMER | LØSNINGER |
| Emhætten virker ikke... | Kontroller at: • Strømmen ikke er/slået fra. • En hastighed er valgt. |
| Emhættens præstation er utilizestrækkelig... | Kontroller at: • Den valgte motorhastighed et tilstrækkelig for den mængde af mados og damp som skal suges ud. • Køkkenet er tilstrækkeligt ventileret for at tillade indtag af frisk luft. • Kulfiltret ikke er opbrugt (emhætte som fungerer med recirkuleringsversionen. |
| Emhætten er=gæt i stå | Kontroller at: • Strømmen ikke er/slået fra. • De enpolede automatiskringer ikke er blevet aktiveret. |
6 / EFTERSALGSSERVICE
DK
Al vedligeholdelse pa dit udstyr bør foretages af:
-
enten din forhandler,
-
aller en,anden kvalificeret mekaniker, som er autorisert til reparation af apparater af dette mærke.
När du laver aftale med ovenstående, skal du opgive hele dit udstyrs reference (model, type og serienummer). Disse oplysninger findes på fabrikantens navneskilt päsat dit udstyr.
Denne enhed overholder de delegerede regulativer (EU) 65/2014 og 66/2014 for Europakommissionen om de økologiske designkrav or energimærkning af husholdningsemhætters.
Symbol Vaeudi Enhed
| Mærke | Brandt | ||
| Modelummer | BHB6602X | ||
| Ärligt energiforbrug | AEC | 56.8 | kWh/annum |
| Energieeffektivitetindeks | EEi | 62.2 | - |
| Dynamisk væske effektivitetindeks | FDE | 24.8 | - |
| Belysnings effektivitetindeks | LE | 50.8 | - |
| Fedt filtreringseffektivitet | GFE | 82.7 | - |
| Tids stigningsfaktor | f | 1.1 | - |
| Emhættens maksimale volumetriske luftstrøm | Qmax | 620.7 | m3/h |
| Volumetrisk luftstrøm ved det bedste effektivitetspunkt | QBEP | 329.0 | m3/h |
| Statisk tryk ved det bedste effektivitetspunkt | P BEP | 364 | P |
| Strømforbrug ved det bedste effektivitetspunkt | W BEP | 134.2 | W |
| Belysningsystemets nominelle strømforbrug | WL | 4.0 | W |
| Belysningsystemets gennemsnitlige oplysning | E middle | 203 | Lux/W |
| Strømforbrug i slukket tilstand | Po | 0.00 | W |
| Strømforbrug i slumretilstand | Ps | -- | W |
| Volumetrisk luftstrøm ved maksimal hastighedindstilling i normal tilstand | - | 593.4 | m3/h |
| Volumetrisk luftstrøm ved minimal hastighedsindstilling i normal tilstand | - | 352.2 | m3/h |
| Volumetrisk luftstrøm i intensiv/orstærket tilstand | - | -- | m3/h |
| Lydeffektemissioner ved maksimal hastighedsindstilling i normal tilstand | - | 68 | dB(LWA) |
| Lydeffektemissioner ved minimal hastighedindstilling i normal tilstand | - | 58 | dB(LWA) |
| Lydeffektemissioner i intensiv/orstærket tilstand | - | -- | dB(LWA) |
| Mærke | Brandt | ||
| Modelnummer | BHB6902X | ||
| Ärligt energiforbrug | AEC | 57.5 | kWh/annum |
| Energieeffektivitetindeks | EEi | 62.3 | - |
| Dynamisk væske effektivitetindeks | FDE | 23.7 | - |
| Belysnings effektivitetindeks | LE | 40.3 | - |
| Fedt filteringseffektivitet | GFE | 81.5 | - |
| Tids stigningsfaktor | f | 1.1 | - |
| Emhættens(Maximale volumetriske luftstrøm) | Qmax | 633.7 | m3/h |
| Volumetrisk luftstrøm ved det bedste effektivitetspunkt | QBEP | 336.6 | m3/h |
| Statisk tryk ved det bedste effektivitetspunkt | P BEP | 344 | P |
| Strømforbrug ved det bedste effektivitetspunkt | W BEP | 136.0 | W |
| Belynsingssystemets nominelle strømforbrug | WL | 4.0 | W |
| Belynsingssystemets gennemsnitlige oplysning | EMiddle | 161 | Lux/W |
| Strømforbrug i slukket tilstand | Po | 0.00 | W |
| Strømforbrug i slumretilstand | Ps | -- | W |
| Volumetrisk luftstrøm ved(Maximal hastighedindstilling i normal tilstand) | - | 606.0 | m3/h |
| Volumetrisk luftstrøm ved Minimal hastighedsindstilling i normal tilstand | - | 358.8 | m3/h |
| Volumetrisk luftstrøm i intensiv/forstækket tilstand | - | -- | m3/h |
| Lydeffektemissioner ved(Maximal hastighedsindstilling i normal tilstand) | - | 70 | dB(LwA) |
| Lydeffektemissioner ved Minimal hastighedindstilling i normal tilstand | - | 59 | dB(LwA) |
| Lydeffektemissioner i intensiv/forstækket tilstand | - | -- | dB(LwA) |
Notice-Facile