BHB6602X - Kuchyňská digestoř BRANDT - Bezplatný návod k obsluze
Najděte návod k zařízení zdarma BHB6602X BRANDT ve formátu PDF.
Stáhněte si návod pro váš Kuchyňská digestoř ve formátu PDF zdarma! Najděte svůj návod BHB6602X - BRANDT a vezměte svůj elektronický přístroj zpět do rukou. Na této stránce jsou zveřejněny všechny dokumenty potřebné k používání vašeho zařízení. BHB6602X značky BRANDT.
NÁVOD K OBSLUZE BHB6602X BRANDT
-Bezpečnostní udaje 70
Ochrana zivotnino prostref 75
·Popis pfiastroje 76
2/INSTALLACE PRISTROJE
·Pouzitivevakuačnímzpúsobu 77
·Pouzitivrecyklacnimzpusobu 77
·Elektrické zapojení 78
Montaz extrakcnio zvonu 79
Montáž komína 75
° Evakuace ven 81
Recyclkace 82
3 /POUZITI PRISTROJE
·Popis ovladacu 83
4/UDRZBA A CISTENI PRISTROJE
·Cisteni modulamich filtru 84
Vymena uhlikového filtru 84
·Cisteni vnejsiho povrchu 85
·Vymena zarovky 85
·Udrzba pfiastroje 86
5/ZAVADYVEFUNGOVANI 87
6/TECHNICKY SERVIS 88
CZ
1/PROUZIVATELE

Duležité
7 Uschovejte tutu prirucku spelu s pristrojem. Pokud prodate nebo prenechaste tento pristroj jiné osobe, ujistete se, ze jste k nemu prilozili tento navod k pouziti. Prosime, prcctete si tyto rady drieve, neznainstalujete a zacnete pouzivat tento pristroj. Byly sepsané za ucelem zajisteni bezpecnosti vaši i vaseho okoli.
Düležité bezpečnostní pokyny

Tento námod je rovněž k dispozici ke staženi na internetovych stránkachers značky Brandt.
seznamte se s těmito radami, než prístroj nainstalujete a použijete. Jsou sestaveny pro vaši bezpečnost a bezpečnost dalsich osob. Tento námod k použití uskladněte u prístroje. Pokud prístroj prodáte nebo prědáte jiné osobě, zajistěte, aby s prístrojem obdržěla i námod k použití.
- Ve snaze neustále zlepšovat naše vyrobky si vyhrazujeme pravo provadět v souvislosti s technickým vyvojem změny technických, funkčních nebo vzhledovych vlastností.
- Abyste v budoucnu snadno našli reference vašeho prístroje, doporučujeme vám zaznamenat je na stránku “Poprodejné servis”.
Duležité bezpečnostní poukyny
- Tento spotřebič je určen pro použití v domácnosti. Nepoužívejte ji ke komerčním nebo průmyslovým učelům nebo pro jiné učely, než pro jaké byl navržen.
- Po previzeti prístroje jej vybalte nebo nechte okamžitě vybalit. Zkontrolujte obecný vzhled. Prípadné vyhrady formulujte písemné do dodacího listu, jehoz jeder vytisk si necháte.
- Tento prístroj mohou používat děti ve věku nejmény 8 let a osoby, jejichž tělesné, smyslovie āi duševné schopnosti jsou sníženy nebo které mají nedostatečné zkušenosti nebo znalosti,Pokud mají dostatečné dohled a byly vybaveny pokyny k bezpečnému používání tohoto prístroje a seznámeny s možnými rizíky. Děti si nesmějí hrát s prístrojem. Děti nesmějí provádet Čišěné a údržbu zařizení bez dohledu.
- Duležité upozorněni: Dostupné Časti tohoto prístroje mohou byt horké, používají-li se s varnými prístroji.
CZ
1/PRO UZIVATELE
Elektrická rizika
- Před pristupem ke svorkám pro elektrické zapojení je nutno odpojit vsechny napajecí obvody. Pokud je poškozen napajecí kabel, musí jej vyměnit vyrobce, jeho záručné serviced nebo osoba s podobnou kvalifikaci, aby se vyloučilo jakékoli riziko.
- Odpojení lze provést pomoci dostupné zástrécky nebo pomoci jistece ve stálych rozkvodech v souladu s pravidly pro instalaci.
- Neupravujte a nemeinte parametry tohoto prístroje. Bylo by to pro vás nebezpećné.
- Opravy musí provádet pouze autorizovany odborník.
- Pred Čištením a údržbou odsavač vždy odpojte od napájení.
- K Čišění prístroje nikdy nepoužívejte parní Či vysokotlake prístroje (pokyny týkajćí se bezpečnosti práce s elektrickými prístroji).
- Odpojení lze provést pomoci dostupné zástrécky nebo pomoci jisteče ve stálych rozkodech v souladu s pravidly pro instalaci.
- Neupravujte a nemeinte parametry tohoto prístroje. Bylo by to pro vás nebezpećné.
1/PROUZIVATELE
CZ
- Opravy musí provadět pouze autorizovany odborník.
- Pred Čištením a údržbou odsavač vždy odpoje od napájení.
- K Čišěnéři prístroje nikdy nepoužívejte parní Či vysokotlake prístroje (pokyny týkajćí se bezpečnosti práce s elektrickými prístroji).
Nebezpečić udušeni
- Je nutno dodržovat pokyny tykajć se odvodu vzduchu. Vzduch nesmí byt veden do potrubí odvádejćí kouř z prístrojure používajćích plyn Či jiné palivo (neplatí proprístroje odvádejćí pouze vzduch domistnosti).
- Pri použití kuchyneyského odsavače spolu s prístroji používajícimi plyn ājné palivo je nutno zajistit vchodné větrání mistrnosti (neplatí pro prístroje odvádející pouze vzduch domístnosti).
Nebezpeci požáru
- Pod odsavačem je zakázáno flambovatPokrmy nebo nechat běžet plynové hořaky beznámob k vařeni (nasáté plameny by mohly prístroj poškodit).
CZ
1/PRO UZIVATELE
- Pri smaženi pod prístrojem je nutné nepretržitý dohled. Oleje a tuky zahráté na vysokou teplotu se mohou vznítit.
- Dodržujte frekvenci Čištení a výměny filtrů. Nahromaděné mastných usazenin může zpùsobit požár.
- Provoz nad topeništěm na tuhá paliva (dřevo, uhlí...) není povolen.
- Pri umistěné kuchyneyského odsavače nad plynovým prístrojem je minimálné vzdálenost mezi deskou a spodní stranou odsavače nejményě 70 cm. Pokud pokyny k varné beschinstalované pod odsavačem uvádejí vzdálenost větůné 70 cm, je třeba ji dodržet.
- OCHRANA ZIVOTNIHO PROSTREDA
- Materiały použité pri baleni tohoto pristroje jsou recyklovatelné. Podílejte se na jejich recyklovány
a pomáhejte zachovávatživotní prostředí jejich vyhozením do obecních kontejnerú, určenychk těmto učelum.


— Vás Štrístoj také obsahuje recykovatelné materiały, proto je označeny tímto logem, které oznamuje, ze použité Štrístroje se nesmí michat mezi ostatné odpad. Tímto způsobem se recyklace Štrístroů, kterou organizuje vás Žyrobce, uskutečné v nejlepsích možněch podminkách, v souladu s evropskou směrnici
2002/96/CE o opadech elektrickych a elektronickych vybaveni. Informujte se na vašem obecní uradě nebo u vašeho prodejce, aby jste se dozveděli, kde se nacházeji zberná mista pro použité prístroje, ktera jsounejblíze vašemu bydlišti.
— Děkujeme Vám za vaši spolupráci pri ochraněživotné prostředí.

Pozor
Instalace musí být provedená kvalifikoványmi instalacnimi techniky.

Pozor
DriVe, nez poprve pouzijete modularni filtr, odstrahte z nej ochranny film.
CZ
1/PROUZIVATELE
- POPIS PRISTROJE

2 / INSTALACE PRISTROJE
CZ
- Prístroj je třeba odpjit prěd instalaci a prěd provedením jakéhokoliv zákroku na něm.
- Zkontrolujte, zda napétí sítě odpovídá napétí, uvedenému na štítku s charakteristikami, který se nachází uvnitř vzonu.
— Pokud je pro nainstalování vaseho zvonu třeba provést nějaké změny, aby jste mohlí prípojit prístroj, pověřte tím kvalifikovaného elektrikáře.
— Pokud používáte zvon v evakuačním zpùsobu, nezapojujte prístroj na vyvod pro evakuáci dýmu ze spalováné (kotel, komín, atd.) nebo na VMC (mechanická kontrolovaná ventilace).
Evakuačni vývod, a'je jakýkoliv, nesmí vyustit pod střechou.
Nainstalujte zvon do bezpečnostní vzdálenosti alespř 70 cm od desky elektrického, plynového nebo smíšeného vařice.
POUZITI V EVAKUAÇNÍM ZPUSOBU
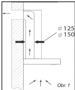
Pokud disponujete vývodem ven (Obr. 1)
Müzete k němu pripojit vás zvon pomoci evakuačniho vyvodu (minimálné Ø 125 mm, smaltovaný, hliníkový nebo nehořlavý material). Pokud má vyvod prümér mensí, než 125 mm, prejdete povinne do recyklačniho zpúsobu.

POUZITI V RECYKLACNIM ZPUSOBU
Pokud nedisponujete vývodem ven (Obr. 2)
Vsechny nae pristroje jsou uzpuusobene pro moznost fungovani v recyklachnim zpu sobu. V toto pripade pridejte filtr s aktivnim uhlim, ktery zachycuje pachy.
(viz. kapitola 4: Vyměna uhlíkového filtru).


Doporucen pro usporu energie
Pro optimánlí yužití zařizení se snažte co nejvice omezit počet ohybú a otáček objímky.
CZ 2/INSTALLACE PRISTROJE
ELEKTRICKÉ ZAPOJENI
Pri prováděné instalace a udržbářskych operaci musí být prístroj odpojený z elektrické sítě a pojistky musí být vypnuté a odstraněné.
Elektrické zapojeni je tbreba provest préd umisténím pristroje do nábytku.
Zkontrolujte, zda:
- je dostatečný vykon instalace,
jsounapajeclinkyvdobrémstavu, - je prümér káblu v souladu s normami instalace.
! Pozor Tento
Tento pristroj je dodávaný spolu s napájecím káblem H 05 VVF s 3 vodičić o 0,75mm^2 (nulák, fáze a zem), ktery je třeba napojit na Jednofázovou sít's 220 - 240 V prostřednictvím normalizované zásuvky CEI 60083, ta musí být pristupné i po provedeni instalace, v souladu s instalacníniimi normami.
Nebudemena sebeprébiratzodpovednost za nehody zpusobene neexistujici nebo nespravnou zasuvkou.
Pojistka ve vaši instalaci musi mit 10 nebo 16 A. Pokud by byl napajeci kabel poskozený, kontaktujte zákaznické centrum, aby jste predešli jakémukoliv nebezpečí.
Pozor Pokud
Pokud potrebujete upravit elektrickou instalaci vaseho pokoje, aby bylo mozné zapojit pristroj, privvolejte kvalifikovaného elektríkáre.
Pozor Pokud
Pokud se na zvonu objevi jakakoliv anomalie, odpojtne pristroj nebo vyndejtpe pojistku opovidajici lince zapojeni pristroje.
2 / INSTALACE PRISTROJE
CZ
- MONTÁZ EXTRAKČNIHO ZVONU

Pozor
Instalace musí byt v souladu s platnymi normami pro ventilaci mistrosti. Ve Francii jsou tyto normy popsané v DTU 61.1, CSTB. Předevšim by vypoustěný vžduch neměl proudit stejnymi prúduchy jako dým z pristrojú, které používaji plyn nebo jiné spalování.
Neuzivané vývody se mohou znovu použit pouze se souhlasem kompetentního odborníka.
Minimálni vzdálenost mezi varnou zónou a nejniží ástí zvonu musí byt alespón 70 cm. Pokud by instrukce na štītu, instalovaném pod zvonem, uvádeły vzdálenost vyší než 70 cm, je třeba ji brát v úvahu.
Uchycení na zed":
-Nad sporákem v mistě jejho středu nakreslete na zed' svislou Čáru. (Obr. 3)
-Ve vhodné yvšce vyvrtejte 3 otvory a vložte do nich 3 hmoždinky pro hák. Vyvrtejte 2 otvory a vložte do nich 2 hmoždinky pro držák vnitřinho komínu. (Obr. 3)
-Pomoci 3 sroubu piri sroubujte na zed hak. Pomoci 2 sroubu piri sroubujte na zed drzak vnitriho komiu. Ujistete se, ze jsou naintalovany ve vodorovné poloze. (Obr. 3)
-Pomoci 4 sroubu pripevnete yvstup vzduchu na motorovou Jednotku a vlozte prodlužovaci trabku. (Obr. 4)
-Zavěste motorovou Jednotku na hák (Obr. 5)
a upevněte motorovou Jednotku pomoci
2 pojistných šroubů. (Obr. 6).

inside chimney bracket
Obr. 3

Obr. 4

Obr.5

Obr. 6
CZ
2 / INSTALACE PRISTROJE
- Pridržte těleso digestoře, vsuťe ho do motorové (Obr. 7) Jednotky a pak ho pomocić 5 šroubů připevněte. (Obr. 8)

Obr. 7
-Vyjměte hliníkové filtry a pripojte kabel. (Obr. 8)


Obr.8
- Do vnějsího komínu nainstalujte držák vnějsího komínu a ujistěte se, ze se vnitří komín muže volné pohybovat nahoru a dolú. (Obr. 9)

Obr.9
- Umistěte komíny na digestoř a spojte vnitřné komín s držákem pomoci 2 šroubů. (Obr. 10)

Obr. 10
2 / INSTALACE PRISTROJE
CZ
- MONTÁŽ KOMÍNA
Vypousténi ven
Vypocitejte konecnou vysku pro naśrouboványí vybežku ve tvaru U na držáku komina (obr. 3).
Vyznačte 2 otvory na adekvátnim mîstě.
Vyvrtejte oba 2 otvory o 8 mm, naśroubujte prírubu držaku komina a věnujte pozornost tomu, aby byla dobre ulożená v hřídeli zvonu (obr.3).
- Naśroubujte plochou vidlici dozadu, na spodní cást komína. (obr. 11).
Umistete oba 2 kominy na zvon (obr. 12).
Napojte pouzdro na v'yvod vzduchu ven.
Provedte elektrické zapojeni zvonu prostřednictvim napajecho kabele.(obr. 13).
Zvednete horní komín az do maximálné výška upevněte ho na vidlici pomoci dvou šroubú. (obr. 14).

Obr. 11
Obr. 12

Obr. 13

Obr. 14
CZ 2/INSTALLACE PRISTROJE
Recyklování
Vypočitejte konečnou výšku pro vložení príruby držák ukomána.
Vyznačte 2 otvory na adekvátnim mîstě.
— Vyvrtejte oba 2 otvory o 8 mm a naśroubujte prirubu na držák komína, dbejte na to, aby byla dobre ulożená v hřideli zvonu.
- Našroubujte plochou vidlici dozadu na spodní Čast komína.
Umistete oba 2 kominy na zvon.
Napojte pouzdro na vydov zduchu ven.
Provedte elektrické zapojeni zvonu postřednictvim napajeciho kábele.-Zvedněte horní komín až na maximum upevněte jej na vidlici pomoci šroubů.


Obr. 16

Rada
Pro dosaženi optimániho použivani pristroje vám doporučujeme jej napojit na vedení s prüměrem 150 mm (nepřiložné). Omezit na maximum počet kolen a délku vedení. Pokud zvon funguje pro evakuaci ven, je třeba se ujistit, zda vchází dostatek vžduchu, aby se nevytrovil v mistnosti podtlak.

Pozor
Na odstraněni ochranného filu nepoužívejte zádné nástroje.
3 /POUZITI VASEHO PRISTROJE
CZ
PROPOUZITI VASEHO KUCHYNSKEHO ZVONU
Jak používat kontrolní panel.
a. Stisknéte tlačitko “Nízká”
Motor bude fungovat pri nízké rychlosti.
Stiskněte znovu tlacítko a motor se zastaví.
b. Stisknéte tlacítko "Střední"
Motor bude fungovat pri stredni rychlosti. Stisknete znovu tlacitko a motor se zastavi.
c. Stisknéte tlacítko "Vysoká"
Motor bude fungovat pri vysokérychlosti. Stiskněte znovu tlacítko a motor se zastaví.
d. Stiskněte tlacítro "Světlo" a obě světla začnou svítit. Stiskněte znovu tlacítro a světla zhasnou.

zastavit Nízká Střední Vysoká Světlo

Doporucn pro usporu energie
Upravte rychlost rezimu va reni a poctu hrncu. Pouzeveje co nejvice zdni plotny varne desky.
CZ
4/ UDRZBA A CISTENI PRISTROJE

Pozor
Odpojte priestroj drive, nez pristoupite k jeho udrzbé a ciisteni. Pravidelná udrzbara zaručí dobre fungoványí, vykon aŽivotnost.

Pozor
7 Nerespektovani instrukci pro cisteni pristroje a filtru muze vyvolat požar. Dodržujte présne instrukce pro udžbu.
- CISTENI MODULÁRNICH FILTRU
Musé se Čistit po kazdych 30 hodinách používáné nebo minimálné Jednou za měsic. Čištěni lze provadět v myčce, ve vertikálné poloze.
Použijte karťac, teplou vodu a jemný Čistíci prostředek. Opatrně je opláchněte a usušte, než je opět nasadíte.
- Demontáž modulárního filtru
- Otočte integrovaným držadlem modulárního filtru.
Naklonte modularni filtr smreem dolu.
VYMENA UHLIKOVHO FILTRU (moznost)
Vyměnte jej príblízně po kázdych 120
hodinách použití.
- Odstrańte modularní filtry.
- Otočte uhlíkovým filtrém, aby jste jej mohli odstranit.
Postupute opacne pro nasazení nového filtru.
Opét nasadte modulární filtry.


4/ UDRZBA A CISTENI PRISTROJE
CZ
- CISTENI VNEJŠIHO POVRCHU
Na vycistěnévnějsku extrakcního zvonu použijte vodu s mydlem; nepoužívejte cistící krémy, Žiravé cistící prostředky, ani dratěnky nebo kartáče. Vysušte jemnou a vlhkou hadřickou.
VYMENA ZAROVKY

Pozor
! Pred provedenim jakéhokoliv zásahu musite nechat zvon bez napétí jeho odpojením ze zásuvky nebo stisknutím jističe.
Model s LED zárovkou
- Odstraţe stinţko.
Vyměnte LEDžárovku.
Opět sadu nasadte provedením stejných operaci v opacné mpo(radí.

CZ
4/ UDRZBA A CISTENI PRISTROJE

Pozor
7: Pred provedením jakéhokoliv zásahu musité nechat zvon bez napétí jeho odpojením ze zásuvky nebo stisknutím jistice.
- UDRŽBA PRISTROJE
| ÁDRŽBA | CO DěLAT | PRODUKTY/PRÍSLUŠENSTVÍ |
| Kostra a príslušenství | Nikdy nepoužívejte kovové drátěnky, abrazivné výrobky nebo prěliš tvrdé kartáče. | Na yvcistěné rámu a okěnka pro osvětlení používejte výhradné Čistící komerčné výrobky Rozpuštěné ve vodě, následné oplachnétevodou a vysuSTE suchým hadříkem. |
| Modulární filtr | Tento filtr zachycuje mastné výpary a prach. Jedné se oolest, která zaručuje Účinnost zvonu.Pokud se vyskytnou odolné skvrny, použijte neabrazivné krém a oplachnéte Čistouvodou. | Vycistěte pomocí komerčného Čisticího výrobku, pořádné oplachnéte a vysuSTE.Cistěné lze provadět v myčce, ve vertikálné poloze.(Nedávejte do styku se špinavým námobím nebo střibrnými príbory). |
| Filtr s aktivním uhím | Tento filtr zachycuje pachy a musí se vyměnit alespojnednou ročné, v závislosti na používání.Objednejte tyto filtruy uvašeho prodejce (s referencingci, která je uvedená na štítku s charakteristikami, umistěnémuvnitř zhovun) a poznamenejtesi datum vyměny. |
5/ZAVADPYPRI FUNGOVÁNÍ
CZ
| PRIZNAKY | REŠENÍ |
| Zvon nefunguje ... | Zkontrolujte, zda : • se nepřerušila dodávka proudu. • byla zvolená rychlost. |
| Výkon zvonu je nedostatečný ... | Zkontrolujte, zda : • vámí zvolená rychlost motoru je dostatečná pro množství vzniklého kouřa vodné páry. • je kuchyně dostatečně ventilovaná, aby mohl vcházet vzduch. • není opotřebovaný uhlíkový filtr (zvon v recyklačním způsobu). |
| Zvon se během fungování zastavil | Zkontrolujte, zda : • nebyla přerušné dodávka proudu. • nebyl aktivovaný mnohopólový vypínač. |
CZ
6 / TECHNNICKY SERVIS
Nezbyné zásahy na stroji musi provést:
—prodejce,
nebo jakykoliv kvalifikovany odborník, který je držitelem značky.
Pri telefonim kontaku uvedte kompletní referenci stroje (model, typ a sériové cislo).
Tyto udaje se nacházeji na identifikacin Štítku, umisténém na stroji.
Toto zarizeni splnjue prenesená nafrizeni Evropské komice (EU) 65/2014 a 66/2014 o požadavcích na ekodesign a energetické stitky u digestoří pro domácnost.
Symbol Hodnota Jednotka
| Značka | Brandt | ||
| Číso modelu | BHB6602X | ||
| Ročné spotřeba energia | AEC | 56.8 | kWh/annum |
| Index energetické účinnosti | EEi | 62.2 | - |
| Index účinnosti prouděné tekutin | FDE | 24.8 | - |
| Index účinnosti osvětlení | LE | 50.8 | - |
| Účinnost filtrovány mastnoty | GFE | 82.7 | - |
| Faktor navýšeni Času | f | 1.1 | - |
| Maximálné objemový průtok vžduchu digestoří | Qmax | 620.7 | m3/h |
| Objemový průtok vžduchu v bodě nejvyšé účinnosti | QBEP | 329.0 | m3/h |
| Statický tlak v bodu nejlepší účinnosti | P BEP | 364 | P |
| Spotřeba energia v bodu nejlepší účinnosti | W BEP | 134.2 | W |
| Nominálné spotřeba energia osvětlovacího systému | WL | 4.0 | W |
| Prúměrná intenzita osvětlovacího systému | E middle | 203 | Lux/W |
| Spotřeba energia v režimu vypnutí | Po | 0.00 | W |
| Spotřeba energia v pohotovostním režimu | Ps | -- | W |
| Objemový průtok vžduchu pri maximálné rychlosti v normálné režimu | - | 593.4 | m3/h |
| Objemový průtok vžduchu pri minimálné rychlosti v normálné režimu | - | 352.2 | m3/h |
| Objemový průtok vžduchu v intensznivním režimu/boost | - | -- | m3/h |
| Emise akustického výkonu pri maximálné rychlosti v normálné režimu | - | 68 | dB(Lwa) |
| Emise akustického výkonu pri minimálné rychlosti v normálné režimu | - | 58 | dB(Lwa) |
| Emise akustického výkonu v intensznivní režimu/Boost | - | -- | dB(Lwa) |
CZ
Toto zařizení splnjupe prěnesená nařizení Evropské komice (EU) 65/2014 a 66/2014 o požadavcích na ekodesign a energetické štítky u digestoří pro domácnost.
Symbol Hodgnota Jednotka
| Značka | Brandt | ||
| Číslo modelu | BHB6902X | ||
| Ročné spotřeba energia | AEC | 57.5 | kWh/annum |
| Index energetické účinnosti | EEi | 62.3 | - |
| Index účinnosti prouděné tekutin | FDE | 23.7 | - |
| Index účinnosti osvětlení | LE | 40.3 | - |
| Účinnost filtroványí mastnoty | GFE | 81.5 | - |
| Faktor navýšení Času | f | 1.1 | - |
| Maximálné objemový průtok vžduchu digestoří | Qmax | 633.7 | m³/h |
| Objemový průtok vžduchu v bodě nejvyšé účinnosti | QBEP | 336.6 | m³/h |
| Statický tlak v bodu nejlepší účinnosti | P BEP | 344 | P |
| Spotřeba energia v bodu nejlepší účinnosti | W BEP | 136.0 | W |
| Nominálné spotřeba energia osvětlovacího systému | WL | 4.0 | W |
| Prúměrná intenzita osvětlovacího systému | E middle | 161 | Lux/W |
| Spotřeba energia v režimu vypnutí | Po | 0.00 | W |
| Spotřeba energia v pohotovostním režimu | Ps | -- | W |
| Objemový průtok vžduchu pri maximálné rychlosti v normálné režimu | - | 606.0 | m³/h |
| Objemový průtok vžduchu pri minimálné rychlosti v normálné režimu | - | 358.8 | m³/h |
| Objemový průtok vžduchu v intensznivním režimu/boost | - | -- | m³/h |
| Emise akustického výkonu pri maximálné rychlosti v normálné režimu | - | 70 | dB(LWA) |
| Emise akustického výkonu pri minimálné rychlosti v normálné režimu | - | 59 | dB(LWA) |
| Emise akustického výkonu v intensznivní režimu/Boost | - | -- | dB(LWA) |
INDHOLDSFORTEGNELSE
DK
1/BEMAERKNINGER TIL BRUGEREN
- Sikkherhedsanbefalinger 92
·Miljobeskyttelse 97 - Beskrivelse of apparatus 98
Notice-Facile