BHB6602X - Hotte BRANDT - Notice d'utilisation et mode d'emploi gratuit
Retrouvez gratuitement la notice de l'appareil BHB6602X BRANDT au format PDF.
| Intitulé | Détails |
|---|---|
| Type de produit | Hotte aspirante |
| Caractéristiques techniques principales | Hotte décorative murale, extraction ou recyclage |
| Alimentation électrique | 230 V, 50 Hz |
| Dimensions approximatives | Largeur : 60 cm, Profondeur : 50 cm, Hauteur : 90 cm |
| Poids | Environ 10 kg |
| Compatibilités | Compatible avec les systèmes de ventilation standard |
| Type de filtre | Filtre à charbon et filtre métallique |
| Tension | 230 V |
| Puissance | Max 300 W |
| Fonctions principales | Éclairage LED, plusieurs niveaux de puissance d'aspiration |
| Entretien et nettoyage | Filtres lavables au lave-vaisselle, nettoyage régulier de la surface |
| Pièces détachées et réparabilité | Disponibilité de pièces détachées via le service après-vente |
| Sécurité | Protection contre les surcharges, conforme aux normes de sécurité |
| Informations générales | Garantie de 2 ans, installation recommandée par un professionnel |
FOIRE AUX QUESTIONS - BHB6602X BRANDT
Téléchargez la notice de votre Hotte au format PDF gratuitement ! Retrouvez votre notice BHB6602X - BRANDT et reprennez votre appareil électronique en main. Sur cette page sont publiés tous les documents nécessaires à l'utilisation de votre appareil BHB6602X de la marque BRANDT.
MODE D'EMPLOI BHB6602X BRANDT
Voues venez d'acquerir un produit BRANDT et nous vous remercions de la confiance que vous nous accordez.
Nous avons conçu et fabriqué ce produit en pensant à vous, à votre mode de vie, à vos besoin, pour qu'il réponde au mieux à vos attentes. Nous y avons mis notre savoir-faire, notre esprit d'innovation et toute la passion qui nous anime depuis plus de 60 ans.
Dans un souci permanent de toujours mistrés satisfaire vos exigences, notre service consommateurs est à votre disposition et à votre écoute pour répondre à toutes vos questions ou suggestions.
Connectez-vous aussi sur notre site www.brandt.com où vous trouvrez nos dernières innovations, ainsi que des informations utiles et complémentaires.
BRANDT est heures de vous accompagner au quotidien et vous souhaite de profiter pleinement de votre achat.

Important: Avant demettrevoirerappareil en marche,veuillez lire attentivementceguide d'installation etd'utilisationafindevous familiariser plusrapidementavecsonfonctionnement
SOMMAIRE
FR
1 / A L'ATTENTION DE L'UTILISATEUR
- Consignes de sécurité 3
- Respect de l'environnement 8
Description de votre apparéil 9
2 / INSTALLATION DE VOTRE APPAREIL
Utilisation en version évacuation 10
Utilisation en version recyclage 10
Raccordementelectrique 11
Montage de la hotte 12
Montage de la cheminée Evacuation extérieure 14
^ Recyclage 15
3 / UTILISATION DE VOTRE APPAREIL
Description des commandes 16
4 / ENTRETIEN ET NETTOYAGE DE VOTRE APPAREIL
Nettoyage des filtres cassettes 17
- Changement du filtré charbon 17
- Nettoyage de la surface extérieure 18
- Changement de la lampe 18
- Entretenir votre apparéil 19
5/ANOMALIES DE FONCTIONNEMENT 20
6 / SERVICE APRES-VENTE
Interventions 21
- Relations consommateurs 21
FR 1 / A L'ATTENTION DE L'UTILISATEUR
Important
Conserve cette notice d'utilisation avec votre apparéil. Si l' apparéil devait être vendu ou cédé à une autre personne, assurez-vous que la notice d'utilisation l'accompagne. Merci de prendre connaissance de ces conseils avant d'installer et d'utiliser votre apparéil. Ils ont été rédigés pour votre sécurité et celle d'autrui.
Sécurité et précautions importantes

Cette notice est également disponible sur le site internet de la marque De Dietrich. Merci de prendre connaissance de ces conseils avant d'installer et d'utiliser votre apparéil. Ils ont été rédigés pour leur sécurité et celle d'autrui. Conservez cette notice d'utilisation avec votre apparéil. Si l' apparéil avait été vendu ou cédé à une autre personne, assurez-vous que la notice d'utilisation l'accompagne.
- Dans le souci d'une amélioration constante de nos produits, nous nous réservons le droit d'apporter à leurs caractéristiques techniques, fonctionnelles ou esthétiques toutes modifications de leurs caractéristiques liées à l'évolution technique.
- Afin de retrouver aisément les références de votre apparéil, nous vous conseillons de les notes en page "Service et Relations Consommateurs".
Précautions importantes
- Cet apparéil a été créé pour être utilisé par des particuliers dans leur lieu d'habitation. Ne l'utilisez pas à des fins commerciales ou industriielles ou pour d'autres buts que celui pour lequel il a été créé.
- A la réception de l'appareil, déballez-le ou faites le déballer immédiatement. Vérifiez son aspect général. Faites les éventuelles réserves par écrit sur le bon de livraison dont vous gardez un exemplaire.
-
Cet apparéil peut être utilisé par des enfants d'au moins 8 ans et par des personnes ayant des capacité physiques, sensorielles, ou mentales réduites ou dénuées d'expérience ou de connaissance, s'ils (si elles) sont correctement surveillée(e)s ou si des instructions relatives à l'utilisation de l' apparéil en toute sécurité leur ont été données et si les risques encourus ont été appréhendés. Les enfants ne doivent pas jouer avec l' apparéil. Le nettoyage et l'entretien par l'usage ne doivent pas être effectuels par les enfants sans surveillance.
-
Attention: Les parties accessibles de cet apparéil peuvent开发商chaudes lorsqu'il est utilisé avec des apparéils de cuisson.
Risques électriques
- Avant d'acceder aux bornes de raccordement, tous les circuits d'alimentation doivent être déconnectés. Si le cable d'alimentation est endomagé, il doit être remplace par le fabricant, son service après-vente ou une personne de qualificaction similaire afin d'eviter un danger.
- La déconnexion peut être obtenue en prévoyant une fiche de prise de courant accessible ou en incorporent un interrupteur dans les canalisations fixes conformément aux règes d'installation.
- Ne modifies pas ou n'essayer pas de modifier les caractéristiques de cet appariel. Cela représentait un danger pour vous.
- Les réparations doivent être exclusivement effectuees par un spécialiste agreé.
- Débranchetzousjoursla hotteavant deprocéder àson nettoyageouàson entretien.
- N'utilisez jamais d'appareils à vapeur ou à haute pression pour nettoyer votre apparéil
(exigences relatives à la sécurité électrique).
Risques d'asphyxie
-
Les réglementations concernant l'évacuation de l'air doivent être respectées. L'air ne doit pas être envoyé dans un conduit utilisé pour evacuer les fumées d'appareils utilisant du gaz ou un autre combustible (ne s'applique pas aux-appareils qui renvoieient uniquement l'air dans la piece).
-
Une ventilation convenable de la pierce doit être prévue lorsqu'une hotte de cuisine est utilisée simultanément avec des apparciels utilisant du gaz ou un autre combustible (ne s'applique pas aux apparciels qui renvoie uniquement l'air dans la pierce).
Risques d'incendie
-
Il est interdit de flamber des alimentés ou de faire fonctionner des foyers gaz sans récipients de cuisson, au dessous de la hotte (les flames aspirées risqueraient de détériorer l'appareil).
-
Les fritures effectuees sous l'appareil doivent faire l'objet d'une surveillance constante. Les huiles et graisses portées à très haute température peuvent prendre feu.
FR 1 / A L'ATTENTION DE L'UTILISATEUR
-
Respectez la fréquence de nettoyage et de remplacement des filtrés. L'accumulation de dépôts deGRAisse risque d'occasionner un incendie.
-
Le fonctionnement au dessus d'un foyer à combustible (bois, charbon...) n'est pas autorisé.
- Lorsque la hotte de cuisine est placee au dessus d'un appeareil a gaz, la distance minimale entre le dessus de la table et le dessous de la hotte doit etre d'au moins 70 cm. Si les instructions de la table de cuisson installee sous la hotte specifieune distance plus grande que 70 cm, celle-ci doit etre prise en compte.
Attention:
Dans le cas d'une cuisine chauffée avec un apparéil raccordé à une cheminée (ex : poële), il faut installer la hotte en version recyclage. Ne pas utilisez la hotte sans les filtres cassettes. Une ventilation convenable de la pièce doit être prévue lorsqu'une hotte de cuisine est utilisée simultanément avec des apparéils utilisants du gaz ou un autre combustible.
- RESPECT DE L'ENVIRONMENT
- Les matériaux d'emballage de cet apparéil sont recyclables. Participez à leur recyclage et contribuez ainsi à la protection de l'environnement en les déposant dans les conteneurs Municipaux prévus à cet effet.

-
Notre apparéil contient également de nombreux matériaux recyclables. Il est donc marqué de ce logo afin de vous indiquer que les apparéils usages ne doivent pas être mélangés avec d'autres déchets. Le recyclage des apparéils qu'organise votre fabricant sera ainsi réalisé dans les valeurs conditions, conformément à la directive française 2002/96/CE sur les déchets d'équipements électriques et Electroniques. Adressez vous à votre mairie ou à votre revendeur pour connaître les points de collecte des apparéils usages les plus proches de votre domicile.
-
Nous vous remercions pour votre collaboration à la protection de l'environnement.

Attention
L'installation est réservée aux installateurs et techniciens qualifiés.

Attention
Avant la première utilisation du filtre cassette, retirez le film de protection.
FR 1 / A L'ATTENTION DE L'UTILISATEUR
- DESCRIPTION DE VOTRE APPAREIL

2 / INSTALLATION DE VOTRE APPAREIL
FR
- L'appareil doit être débranché pendant l'installation ou dans l'eventualité d'une intervention.
- Vérifiez que la tension du réseau correspond à la tension mentionnée sur la plaque signalétique située à l'intérieur de la hotte.
- Si l'installation électrique de votre habitation nécessite une modification pour le branchement de votre apparéil, faites appel à un électricien qualifié.
- Si la hotte est utilisée en version évacuation, ne raccordez pas l'appareil à un conduit d'évacuation de fumées de combustion (chaudière, cheminée, etc...) ou à une VMC (ventilation mecanique contrôle).
- Le conduit d'évacuation, quel qu'il soit ne doit pas déboucher dans les combles.
- Installéz la hotte à une distance de sécurité d'au moins 70cm d'un plan de cuisson électrique, gaz ou mixte.
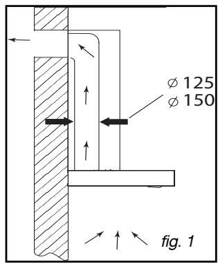
- UTILISATION EN VERSION EVACUATION
Vous possedez une sortie vers l'extérieur
(fig. 1)
Votre hotte peut etre raccordee sur celle-ci par Iintermedaire d'une gaine d'evacuation (minimum 125 mm, émaillee, en alu, flexible ou en matière inflammable). Si voitre gaine est infereure a 125 mm de diametre, passez obligatioirement en mode recyclage.

- UTILISATION EN VERSION RECYCLAGE
You ne possedez pas de sortie vers l'extérieur
fig.2)
Tous nos apparèils ont la possibilité de fonctionner en mode recyclage.
Dans ce cas, ajoutez un filtré à charbon actif qui retiendra les odeurs.
(voir Chapitre 4: Changement du filtrre charbon)


Conseill d'économie d'énergie
Pour une utilisation optimale de votre apparéil, limiter au maximum le nombre de coude et la longueur de la gaine.
FR 2 / INSTALLATION DE VOTRE APPAREIL
RACCORDEMENT ELECTRIQUE
Lors de l'installation et des opérations d'entretien, l'appareil doit être débranché du réseau électrique, les fusibles doivent être coupés ou retires.
Le raccordement électrique est à réaliser avant la mise en place de l'appareil dans le meuble.
Verifiez que:
- la puissance de l'installation est suffisante,
- les lignes d'alimentation sont en bon état
- le diamètre des fils est conforme aux règles d'installation.
Attention Cet apparel
Cet apparéil est livré avec un cable d'alimentation H 05 VVF à 3 conducteurs de 0,75 mm2 (neutre, phase et terre). Il doit être branché sur réseau 220-240 V monophasé par l'intémidaire d'une prise de courant normalisée CEI 60083 qui doit rester accessible après installation, conformément aux règles d'installation.
Notre responsabilité ne saurait etre engagée en cas d'accident consecutif a une mise à la terre inexistante ou Incorrecte. Le fusible de votre installation doit etre de 10 ou 16 A. Si le cable d'alimentation est endommaged, faites appel au service après afin d'eviter un danger.
Attention
Si l'installation électrique de votre habitation nécessite une modification pour le branchement de votre apparéil, faites appel à un électricien qualifié.
Attention Si la hotte
Si la hotte presente unequelconque anomalie, debranchez l'appareil ou enlevez le fusible correspondant à la ligne de branchement de l'appareil.
MONTAGE DE LA HOTTE
Attention
L'installation doit être conforme aux règlements en vigueur pour la ventilation des locaux. En France, ces règlements sont indiqués dans le DTU 61.1 du CSTB. En particulier, l'air evacué ne doit pas être envoyés dans un conduit utilisé pour evacuer les fumées d'appareils utilisant du gaz ou autre combustible. L'utilisation de conduits désfactés ne peut se faire qu'après accord d'un spécialiste compétent.
La distance minimale entre le plan de cuisson et la partie la plus BASSE de la hotte doit etre de 70 cm au moins. Si les instructions de la table de cuisson installee sous la hotte specifie nune distance plus grande que 70 cm, celle-ci doit etre prise en compte.
Fixation au mur :
-
Tracez une ligne verticale sur le mur au centre de la surface de cuisson. (Image 3)
-
À une hauteur convenable, percez 3 troughs et insérez 3 chevilles pour le crochet.
Percez 2 troughs et insérez 2 chevilles pour le support de cheminée interieure (image 3).
- Vissez le crochet au mur avec 3 vis.
- Vissez le support de cheminée interieure au mur avec 2 vis. Assurez-vous qu'ils sont installés en position horizontale. (Image 3)
- Utilisez 4 vis pour fixer la sortie d'air sur le bloc moteur et insérez le tube d'extension. (Image 4)
- Accrochez le bloc moteur sur le crochet (image 5) et fixez-le avec 2 vis de sécurité (image 6)

Support de cheminée interieure



Image. 6
FR 2 / INSTALLATION DE VOTRE APPAREIL
- Tenez le corps de la hotte et faites-le glisser dans le bloc moteur (Image 7), puis fixez-le avec 5 vis. (Image 8)

Image. 7
- Retirez les filtres en aluminium et connectez le cable (image 8).

Image. 8
- Installé le support de cheminée extérieure dans la cheminée extérieure en veillant à ce que l'intérieur de la cheminée puisse monter et descendre librement. (Image 9)

- Mettez les cheminées sur la hotte et fixez la cheminée à l'intérieur avec le support avec 2 vis. (Image 10)

Image. 10
MONTAGE DE LA CHEMINEE
Evacuation extérieure
- Calculez la hauteur finale pour fixer l'étrier en U de support de la cheminée (Image.3).
-
Tracez les 2 trous à l'endroit adapté
-
Percez les 2 trouss de 8mm et fixez l'étrier de support de la cheminée en faisant attention qu'il soit bien dans l'axe de la hotte (Image.3).
Fixez l'etrier plat à l'arrière de la cheminée inférieure (Image.11). - Posez les 2 cheminées sur la hotte (Image.12).
- Raccordez la gaine à la sortie de l'air vers l'extérieur (Image.13).
- Effectuez le raccordement électrique de la hotte au moyen du cable d'alimentation
-Soulever la cheminée supérieure jusqu'au plafond et la fixer à l'étrier à l'aide des vis.(Image.14).

Image. 11

Image. 13

Image. 14
FR 2 / INSTALLATION DE VOTRE APPAREIL
Recyclage
- Calculez la hauteur finale pour fixer l'étrier de support de la cheminée (Image.3).
- Tracez les 2 trough à l'endetroit adapté
- Percez les 2 trouss de 8mm et fixez l'etrider de support de la cheminée en faisant attention qu'il soit bien dans l'axe de la hotte (Image.3).
- Fixez l'étrier plat à l'arrière de la cheminée inférieure (Image.11).
- Installer l'adaptateur de gaine sur le déflecteur (Image.15).
-Raccordez la gaine extensible au deflecteur (Image.13). - Posez la cheminée composée de 2 parties sur la hotte (Image.12).
- Installer le déflecteur (Image.15) dans la cheminée supérieure au niveau des ouïes d'ération (Image.16).
- Effectuez le raccordement électrique de la hotte au moyen du cable d'alimentation
- Soulevez la cheminée supérieure jusqu'au plafond et la fixer à l'étrier à l'aide des 2 vis (Image.14).

Image. 15


Conseil
Pour une utilisation optimale de votre apparéil, nous vous conseillons le raccordement à une gaine diamètre 150 mm (non livrée). Limiter au maximum le nombre de coude et la longueur de la gaine. Dans le cas où la hotte fonctionne en évacuation extérieure, il convient d'assurer une arrivée d'air frais suffisante pour éciter demettre la piece en dépression.

Attention
Ne pas utiliser d'outils pour enlever le film de protection transparent sur les parois,
- DESCRIPTION DES COMMANDES
- UTILISATION DE LA HOTTE ASPIRANTE
Bandeau de commande.
a. Appuyez sur la touche « Petité » vitesse
Appuyez à nouveau sur cette même touche pour arrêté le moteur.
b. Appuyez sur la touche « Moyenne » vitesse
Appuyez à nouveau sur cette même touche pour arrêté le moteur.
c. Appuyez sur la touche « Grande » vitesse Appuyez à nouveau sur cette même touche pour arrêté le moteur.
d. Appuyez sur la touche « Éclairage » et les lampes s'allumeront. Appuyez à nouveau sur cette même touche pour l'éteindre l'éclairage.

Arrêt Petité Moyenne Grande Éclairage

Consell d'économie d'énergie
AjusterYOURvitesseau mode de cuisson et au nombre de cassetoles.Privilégierlesfoyersarrièresdevourappeilde cuisson.
FR 4 / ENTRETIEN ET NETTOYAGE DE VOTRE APPAREIL
Attention
Débranchez l'appareil avant de procéder à l'entretien et au nettoyage de l'appareil. Un entretien régulier de votre apparéil est une garantie de bon fonctionnement, de bon rendement et de durabilité.
Attention
Le non-respect des instructions de nettoyage de l'appareil et des filtres peut occasionner des incendies. Veuillez respecter strictement les consignes d'entretien.
- NETTOYAGE DES FILTRES CASSETTES
Ils doivent être nettoyés toutes les 30 heures d'utilisation environ ou une fois par mois minimum. Ce nettoyage peut être effectué dans votre lave-vaisse en position verticale.
Utilisez une Brosse, de I'eau chaude et un détengent doux. Rincez-les et séchez-les soignement avant de les remettre en place.
- Démontage du filtré cassette
- Pivotez la poignée intégrée du filtré cassette.
- Basculez le filtrer cassette vers le bas.

- CHANGEMENT DU FILTRE CHARBON
Remplacez-le toutes les 120 heures d'utilisation environ.
- Retirez les filtres cassettes
- Tourner le filtré charbon pour le retirer
- Faire l'opération inverse pour remettre un nouveau filtré
- Remetre les filtres cassettes.

- NETTOYAGE DE LA SURFACE EXTERIEURE
Pour nettoyer l'extérieure de votre hotte utilisez de I'eau savonneuse, mais n'utilise jamais de crèmes à récurer, de détergents corrosif, ni d'éponge grattoir ou Brosse. Essuyez avec un chiffon humide et doux.
CHANGEMENT DE LAMPE
7:3 Déconnecter l'appareil lors du changement de l'ampoule, soit en退还 la prise, soit en actionnant le disjoncteur.
Modèle avec lampe LED
- Retirez le hublot
- Changez la lampe LED
- Replacez l'ensemble en effectuant les opérations en sens inverse.

FR 4 / ENTRETIEN ET NETTOYAGE DE VOTRE APPAREIL

Avant toute intervention, la hotte doit être mise hors tension, soit en退还 la prise, soit en actionnant le disjoncteur.
ENTRETENIR VOTRE APPAREIL
| ENTRETIEN... | COMMENT PROCEDER ? | PRODUITS/ACCESSOIRESA UTILISER |
| Enveloppe et accessoires | N'utilisez jamais de tampons métalliques, de produits abrasifs ou de brosses trop dures. | Pour nettoyer la carrosserie et le hublot d'éclairage, utilisez exclu-sivement des nettoyants mena-gers du commerce dilués dans de l'eau, puis rincez à l'eau claire et essuyez avec un chiffon doux. |
| Filtre cassette | Ce filtre retient les vapeurs gras-ses et les poussières. Il est l'élé-ment assurant une part importante de l'efficacité de votre hotte. Dans le cas de taches persistan-tes, utilisez une crème non abra-sive, puis rincez à l'eau claire. | Avec un nettoyant menager du commerce, puis rincez abondam-ment et séchez. Ce nettoyage peut être effectué dans votre lave-vaissele en position verticalne (ne pasmettre en contact avec de la vaissele sale ou des cou-verts en argent). |
| Filtre charbon actif | Ce filtre retient les odeurs et doit être changé au moins tous les ans en fonction de votre utili-sation.Commandez ces filtres chez votre revendeur (sous la référen-ce indiquée sur la plaque signa-létique située à l'intérieur de la hotte) et notez la date de chan-gement. |
| SYMPTOMES | SOLUTIONS |
| La hotte ne fonctionne pas... | Vérifiez que: • il n'y a pas de coupure de courant. • une vitesse a été effectivement sélectionnée. |
| La hotte a un rendement insuffisant... | Vérifiez que: • la vitesse moteur sélectionnée est suffisante pour la quantité de fumée et de vapeur dégagée. • la cuisine est suffisamment aérée pour permettre une prise d'air. • le filtré à charbon n'est pas usage (hotte en version recyclage) |
| La hotte s'est arrêtée au cours du fonctionnement | Vérifiez que: • il n'y a pas de coupure de courant. • le dispositif à coupure omnipolaire ne s'est pas enclenché. |
FR 6 / SERVICE APRES-VENTE ET RELATIONS CONSOMMATEURS
Pour en savoir plus sur nos produits ou nous contacter, vous pouvez:
consulter notre site: www.brandt.fr
nous écrire à l'adresse postale suivant: Service Consommateurs BRANDT 5 avenue des Béthunes
CS69526 SAINT OUEN L'AUMONE 95060 CERGY PONTOISE CEDEX
nous appeler du lundi au vendredi de 8h30 à 18h00 au:
0 892 02 88 01
Service 0,50 € / min + prix appel
Service fourni par Brandt France, S.A.S. au capital social de 100.000.000 euros RCS Nanterre 801 250 531.
2-INTERVENTIONS FRANCE
Les évientuelles interventions sur votre apparéil doivent être effectuées par un professionneliel qualifié dépositaire de la marque. Lors de votre appel, afin de faciliter la prise en charge de votre demande, munissez-vous des références complètes de votre apparéil (référence commerciale, référence service, numéro de série). Ces renseignements figurent sur la plaque signalétique.


ou

B:Référence commerciale
C:Référence service
H:Numéro de série
Vous pouvez nous contacter du lundi au samedi de 8h00 à 20h00 au :
09 69 39 25 25
Service gratuite + prix appel
Pièces d'origine :
Lors d'une intervention, demandez l'utilisation exclusive de pieces détachées certifiées d'origine.

7 / Information Eco Design / Fiche technique produit
FR
Cet apparéil est conforme aux règlements délégués (UE) 65/2014 et 66/2014 de la Commission Européenne, concernant les exigences d'écoconception et d'étiquetage énergétique des hôtes domestiques.
| Marque | Brandt | ||
| Référence du produit | BHB6602X | ||
| Consommation annuelle d'énergie | AEC | 56.8 | kWh/annum |
| Index d'efficacité énergétique | EEi | 62.2 | - |
| Index d'efficacité fluidodynamique | FDE | 24.8 | - |
| Index d'efficacité lumineuse | LE | 50.8 | - |
| Index d'efficacité de filtration | GFE | 82.7 | - |
| Facteur d'accroissement dans le temps | f | 1.1 | - |
| Débit d'air maximum de la hotte | Q_max | 620.7 | m³/h |
| Débit d'air au point de rendement maximal | Q_BEP | 329.0 | m³/h |
| Pression d'air au point de rendement maximal | P_BEP | 364 | P |
| Consommation d'énergie au point de rendement maximal | W_BEP | 134.2 | W |
| Consommation d'énergie du système d'éclairage | W_L | 4.0 | W |
| Eclairement moyen du système d'éclairage | E_middle | 203 | Lux/W |
| Consommation d'énergie à l'arrêt | P_o | 0.00 | W |
| Consommation d'énergie en veille | P_s | -- | W |
| Débit d'air à la vitesse maximale en usage normal | - | 593.4 | m³/h |
| Débit d'air à la vitesse minimale en usage normal | - | 352.2 | m³/h |
| Débit d'air en mode intensif ou boost | - | -- | m³/h |
| Emission acoustique à la vitesse maximale en usage normal | - | 68 | dB(Lwa) |
| Emission acoustique à la vitesse minimale en usage normal | - | 58 | dB(Lwa) |
| Emission acoustique en mode intensif | - | -- | dB(Lwa) |
FR
7 / Information Eco Design / Fiche technique produit
Cet apparéil est conforme aux règlements délégués (UE) 65/2014 et 66/2014 de la Commission Européenne, concernant les exigences d'écoconception et d'étiquetage énergétique des hôtes domestiques.
Symbole Valeur Unité
| Marque | Brandt | ||
| Référence du produit | BHB6902X | ||
| Consommation annuelle d'énergie | AEC | 57.5 | kWh/annum |
| Index d'efficacité énergétique | EEi | 62.3 | - |
| Index d'efficacité fluidodynamique | FDE | 23.7 | - |
| Index d'efficacité lumineuse | LE | 40.3 | - |
| Index d'efficacité de filtration | GFE | 81.5 | - |
| Facteur d'accroissement dans le temps | f | 1.1 | - |
| Débit d'air maximum de la hotte | Qmax | 633.7 | m³/h |
| Débit d'air au point de rendement maximal | QBEP | 336.6 | m3/h |
| Pression d'air au point de rendement maximal | P BEP | 344 | P |
| Consommation d'énergie au point de rendement maximal | W BEP | 136.0 | W |
| Consommation d'énergie du système d'éclairage | WL | 4.0 | W |
| Eclairement moyen du système d'éclairage | Emiddle | 161 | Lux/W |
| Consommation d'énergie à l'arrêt | Po | 0.00 | W |
| Consommation d'énergie en veille | Ps | -- | W |
| Débit d'air à la vitesse maximale en usage normal | - | 606.0 | m³/h |
| Débit d'air à la vitesse minimale en usage normal | - | 358.8 | m³/h |
| Débit d'air en mode intensif ou boost | - | -- | m³/h |
| Emission acoustique à la vitesse maximale en usage normal | - | 70 | dB(LwA) |
| Emission acoustique à la vitesse minimale en usage normal | - | 59 | dB(LwA) |
| Emission acoustique en mode intensif | - | -- | dB(LwA) |
Notice Facile