ENCEINTE HIFI 1000W - Audio EDIFIER - Free user manual and instructions
Find the device manual for free ENCEINTE HIFI 1000W EDIFIER in PDF.
User questions about ENCEINTE HIFI 1000W EDIFIER
0 question about this device. Answer the ones you know or ask your own.
Ask a new question about this device
Download the instructions for your Audio in PDF format for free! Find your manual ENCEINTE HIFI 1000W - EDIFIER and take your electronic device back in hand. On this page are published all the documents necessary for the use of your device. ENCEINTE HIFI 1000W by EDIFIER.
USER MANUAL ENCEINTE HIFI 1000W EDIFIER
Wi-Fi Bookshelf Speaker
- Please read the instructions carefully. Keep it in safe place for future reference.
- Use only accessories approved by the manufacturer.
- Install the instrument properly by following the instructions in the device connection section.
- Using the product in a 0 - 35^ environment is recommended. Shipping and storing the product in a 0 - 35^ environment is recommended.
- To reduce the risk of fire and electric shock, do not expose the product to rain or moisture.
- Do not use this product near water. Do not immerse the product into any liquid or have it exposed to dripping or splashing.
- Do not install or use this product near any heat source (e.g. radiator, heater, stove, or other devices that generate heat).
- Do not place any object filled with liquids, such as vases on the product; neither should any open fire, such as lighted candles be placed on the product.
- Do not block any ventilation openings. Do not insert any object into ventilation openings or slots. It may cause fire or electric shock.
- Keep sufficient clearance around the product to maintain good ventilation (minimum 5cm is recommended).
- Do not force a plug into the jack. Before connection, check for blockage in the jack and whether the plug matches the jack and is oriented to the right direction.
- Keep the provided accessories and parts (such as screws) away from children to prevent from being swallowed by mistake.
- Do not open or remove the housing yourself. It may expose you to dangerous voltage or other hazardous risks. Regardless the cause of damage (such as damaged wire or plug, exposure to liquid splash or foreign object falling in, exposure to rain or moisture, product not working or being dropped, etc.), the repair has to be performed by an authorized service professional immediately.
- Before cleaning the product with dry cloth, always turn off the product and disconnect the power plug first.
- Never use strong acid, alkali, gasoline, alcohol, or other chemical solvents to clean the product surface. Use only neutral solvent or clear water for cleaning.
- Switching between different countries on the App, the product will automatically sync to local Wi-Fi operating frequency bands.
- The product must be used at an altitude of lower than 2000m .


Excessively loud music may lead to hearing loss. Please keep the volume in a safe range.
Correct Disposal of this product. This marking indicates that this product should not be disposed with other household wastes throughout the EU. To prevent possible harm to the environment or human health from uncontrolled waste disposal, recycle it responsibly to promote the sustainable reuse of material resources. To return your used device, please use the return and collection systems or contact the retailer where the product was purchased. They can take this product for environmental safe recycling.

Use only with the cart, stand, tripod, bracket, or table specified by the manufacturer, or sold with the apparatus. When a cart is used, use caution when moving the cart/apparatus combination to avoid injury from tip-over.
Power warning:
- Place the product near the power outlet for easy use.
- Before use, make sure that the operating voltage is the same as your local power supply. Correct operating voltage can be found on the product plate.
- For safety purpose, unplug the product during lightning storms or when unused for extended periods of time.
- Under normal conditions, the power supply may get hot. Please keep good ventilation in the area and exercise caution.
- Product nameplate and safety warning labels on the housing or bottom of the product or power adaptor.

This symbol is to alert the user to the presence of un-insulated dangerous voltage within the product's enclosure that may be of sufficient magnitude to constitute a risk of electric shock to persons.

This symbol is to warn the user not to disassemble the enclosure of the product and there is no user-replaceable part inside. Take the product to an authorized service center for repair.

This symbol indicates that the product is for indoor use only.

This symbol indicates that the product is a CLASS II or double insulated electrical device with no earth requirement.
The MAINS plug is used as the disconnect device, the disconnect device shall remain readily operable.
For wireless product:
- Wireless product may generate shortwave radio frequencies and interfere with the normal use of other electronic devices or medical equipment.
- Turn off the product when it's disallowed. Do not use the product in medical facilities, on airplane, at gas stations, near automatic gates, automatic fire alarm system or other automated devices.
- Do not use the product in the vicinity of a pacemaker within a 20cm range. The radio waves may affect the normal operation of the pacemaker or other medical devices.

Passive speaker

Active speaker

Remote control

AAA batteries x2

User manual

3.5mm-RCA audio cable

RCA-RCA audio cable

Fiber optic audio cable

Speaker connecting cable

Power cable
Note: Images are for illustrative purposes only and may differ from the actual product.


11

⑫
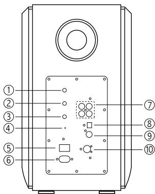
- Master volume control/input selection
Rotate: master volume control
Press: ① wake (sleep mode)
② input selection (when not in sleep mode)
(Wi-Fi Bluetooth Line In 1 Line In 2
Optical Coaxial)
Press and hold: standby
- Treble dial
- Bass dial
- Reset
Press: disconnect Bluetooth and clear Bluetooth pairing records
(Bluetooth mode);
enter Wi-Fi network connection (Wi-Fi mode)
Press and hold for 3s: reset
- Power switch
- Power cable
- Line In input
- Optical input
- Coaxial input
- Connect to passive speaker
- Connect to active speaker
- Display window
Wi-Fi mode: white LED
Bluetooth mode: blue LED
Line In 1 mode: green LED flashes once
Line In 2 mode: green LED flashes twice
Optical mode: red LED flashes once
Coaxial mode: red LED flashes twice

- Power on/off
- Mute
- Remote control indicator
- Optical mode
- Coaxial mode
- Previous track/next track (Bluetooth/Wi-Fi mode)
- Volume up/volume down
- Pause/play (Bluetooth/Wi-Fi mode)
Press and hold for 6s: reset
- Line In 1 mode
- Line In 2 mode
- Wi-Fi mode
Press and hold: Wi-Fi network connection
- Bluetooth mode
Press and hold: disconnect Bluetooth

- As the illustration shows, press remote control batteries cover downwards with thumb and follow the arrow direction to remove cover, uses two AAA batteries (note the "+" and "-" pole).
- The batteries life are normally about 6 months; please replace them when the remote control is not sensitive or the control distance is shortened.
- Never use old and new batteries together.
Note:
- Do not place the remote control in places that are hot and humid.
- Do not charge the batteries.
- Remove the batteries when unused for a long period of time to avoid batteries leakage.
- The batteries should not be exposed to excessive heat such as direct sun, fire or similar.
- Danger of explosion if batteries are incorrectly replaced. Replace only with the same or equivalent type.

* This plug type is meant for illustration purpose only.


1. Line In 1/Line In 2 mode
- Press the "Volume/Input" button on the active speaker, or press the "LINE 1" or "LINE 2" button on the remote control to switch to Line In 1/Line In 2 mode (the green indicator will blink and then will be steady lit);
- Connect audio source (mobile phone, tablet, etc.) to the "Line In 1" or "Line In 2" input port (note color matching) on the rear panel of the active speaker using audio cable;
- Play music on the connected device and adjust the settings to a desired level.
2. Optical mode
- Press the "Volume/Input" button on the active speaker, or press the "OPT" button on the remote control to switch to optical mode (the red indicator will blink once and then will be steady lit);
- Connect audio source (DVD, Set Top Box, etc.) to the "OPT" input port on the rear panel of the active speaker using fiber optic audio cable;
- Play music on the connected device and adjust the settings to a desired level.
Audio Inputs
3. Coaxial mode
- Press the "Volume/Input" button on the active speaker, or press the "COAX" button on the remote control to switch to coaxial mode (the red indicator will blink twice and then will be steady lit);
- Connect audio source to the "COAX" input port on the rear panel of the active speaker using coaxial cable (coaxial cable not included);
- Play music on the connected device and adjust the settings to a desired level.
4. Bluetooth mode
- It is Bluetooth mode by default when the product is turned on for the first time; You can also press the "Volume/Input" button on the active speaker, or press the "B" button on the remote control to switch to Bluetooth mode (the blue indicator will blink rapidly);
- Select "EDIFIER S1000W" in your device setting to connect, after pairing is successful, the blue indicator will be steady lit.
- Play music on the connected device and adjust the settings to a desired level.
Note:
- To enjoy all Bluetooth functions of this product, please ensure your audio source device has A2DP and AVRCP profiles.
- Bluetooth connectivity and compatibility may differ amongst different source devices, depending on the software versions of source devices.
- Only the standard PCM audio signals (44.1kHz/48kHz/96kHz/192kHz) function in optical/coaxial mode.
Scan the QR code to download Edifier Home app.
Note:
To enjoy full features, make sure that the language and region settings on your smartphone or tablet fit your actual location.

Download on the App Store

GETITON GooglePlay






Please enable Wi-Fi and Bluetooth functions on your device, and open the Edifier Home App. Then follow the instructions to connect S1000W to your Wi-Fi Network.

Connect to Wi-Fi Network
1. Add device

2. Select device model for network connection

3. This device enters network setup mode

4. Please select a device to add

5. Enter Wi-Fi password

6. Connecting to Wi-Fi

- Configuring audio network...

- Network configuration is successful

- Link your speaker to your Amazon account

- Add Alexa for more functions

-
Change name
-
Click the setting button to enter the setting interface

- Change name

Apple AirPlay
Compatible Apple product models:
- iPhone, iPad, and iPod touch with iOS 11.4 or later
- Apple TV 4K or Apple TV (4th Generation) with tvOS 11.4 or later
Mac or PC with iTunes 12.8 or later
Works with Alexa
This feature is available in the following countries.
The United States
Canada
- More countries and regions will be supported with this feature.
Go to www.edifier.com to check the list on the product webpage if needed.
Other Compatible Apps

T IDAL connect

Spotify

Power Output: R/L (Treble): 25W+25W
R/L (Treble): 25W+25W
R/L (Mid-Range and Bass): 35W+35W
Frequency Response: 45Hz-40kHz
Audio Inputs: Wi-Fi, Bluetooth, Line In, Optical, Coaxial
Declaration for EU
Frequency Band (Bluetooth): 2.402GHz ~ 2.480GHz
Frequency Band (Wi-Fi): 2.400GHz 2.4835GHz, 5.15GHz 5.35GHz, 5.47GHz 5.725GHz, 5.725GHz 5.85GHz
RF Power Output: ≤ 20 dBm (EIRP) (5.725GHz~5.850GHz excluded)
RF Power Output: ≤ 14 dBm (EIRP) (5.725GHz~5.850GHz)
This device may be restricted for use, depending on the local network.
Restrictions in the 5GHz band:
According to 10(10) of Directive 2014/53/EU, the packaging shows that this radio equipment will be subject to some restrictions when placed on the market in Belgium (BE), Bulgaria (BG), Czech Republic (CZ), Denmark (DK), Germany (DE), Estonia (EE), Ireland (IE), Greece (EL), Spain (ES), France (FR), Croatia (HR), Italy (IT), Cyprus (CY), Latvia (LV), Lithuania (LT),
Luxembourg (LU), Hungary (HU), Malta (MT), Netherlands (NL), Austria (AT), Poland (PL), Portugal (PT), Romania (RO),
Slovenia (SI), Slovakia (SK), Finland (FI), Sweden (SE), Norway (NO), the United Kingdom in respect of Northern Ireland (UK(NI)), Iceland (IS), Liechtenstein (LI), Switzerland (CH) and Turkey (TR).
The WLAN function for this device is restricted to indoor use due to its operation in the 5.15 to 5.35 GHz frequency range
No sound
- Check if the speaker is ON.
- Try to turn up the volume using the volume control or remote control.
- Ensure the audio cables are firmly connected and the input is set correctly on the speaker.
- Check if there is a signal output from the audio source.
Cannot connect via Bluetooth
- Make sure the speaker is switched to Bluetooth input. If it is in other audio input modes, Bluetooth will not connect. Disconnect from any Bluetooth device by pressing and holding the " × " button, then try again.
- Effective Bluetooth transmission range is 10 meters; please ensure that operation is within that range.
- Try another Bluetooth device for connection.
The S1000W does not turn on
- Check if main power is connected, or if the wall outlet is switched on.
Noise coming from speakers
- EDIFIER speakers generate little noise, while the background noise of some audio devices are too high. Please unplug audio cables and turn the volume up, if no sound can be heard at 1 meter away from the speaker, then there is no problem with this product.
To learn more about EDIFIER, please visit www.edifier.com
For EDIFIER warranty queries, please visit the relevant country page on www.edifier.com and review the section titled Warranty Terms.
USA and Canada: service@edifier.ca
South America: Please visit www.edifier.com (English) or www.edifierla.com (Spanish/Portuguese) for local contact information.
For more information, please visit our website:
www.edifier.com


@Editiferglobal

@EditerGLOBAL

@EditerGLOBAL
Model: EDF100027
Edifier International Limited
P.O.Box 6264
General Post Office
Hong Kong
Tel: +852 2522 6989
Fax: +852 2522 1989
www.edifier.com
© 2022 Edifier International Limited. All rights reserved.
Printed in China
NOTICE:
For the need of technical improvement and system upgrade, information contained herein may be subject to change from time to time without prior notice.
Products of EDIFIER will be customized for different applications. Pictures and illustrations shown on this manual may be slightly different from actual product. If any difference is found, the actual product prevails.
Download on the App Store

GET IT ON Google Play






Connect to Wi-Fi Network
R/L (Hochtone): 25W+25W
R/L (Agudos): 25W+25W
R/L (Medio Alcance e Graves): 35W+35W
EasyManual