STV 945 B - εστία κουζίνας SAUTER - Δωρεάν εγχειρίδιο χρήσης
Βρείτε δωρεάν το εγχειρίδιο της συσκευής STV 945 B SAUTER σε μορφή PDF.
Ερωτήσεις χρηστών για STV 945 B SAUTER
0 ερώτηση για αυτή τη συσκευή. Απαντήστε σε αυτές που γνωρίζετε ή κάντε τη δική σας.
Κάντε μια νέα ερώτηση σχετικά με αυτή τη συσκευή
Κατεβάστε τις οδηγίες για το εστία κουζίνας σε μορφή PDF δωρεάν! Βρείτε το εγχειρίδιό σας STV 945 B - SAUTER και πάρτε ξανά την ηλεκτρονική σας συσκευή στα χέρια σας. Σε αυτή τη σελίδα δημοσιεύονται όλα τα έγγραφα που απαιτούνται για τη χρήση της συσκευής σας. STV 945 B της μάρκας SAUTER.
ΕΓΧΕΙΡΊΔΙΟ ΧΡΉΣΗΣ STV 945 B SAUTER
Σας ευχαριστούμε που αγοράσατε τις εσπίες αερίου BRANDT.
EN 39
XpouoovTc Tnv TExvoywoia , Dnoupyoae Tn oukeun auTne uepakipokevou va avtanokpivetai Pnpooc Tcavayec osc. O xediaooc mC oukeunoc aocuvduzEi Tnv Kaivotomia kai Tnv aouykpiTn antodoon me Tv Eukolia oTxpnon.
PT 57
H npoiovw mC BRANDT eianc mia n Tniklia afovpw uKpokuataWv, aToppoepntipwv, nEKTPIKW KOUZIW, PAAVTnpiw PiATW, OTeyvwtnpiow poxw, yuyeiWkai kataauktwv Tov mTopeite vα ouvduoetε μe TM vεa εσια σaC BRANDT.
Eπιοκεφθειτε έπιοης τη δικτυακή μας σελίδα www.Brandt.com προκεμένουν αν ευημερωθειτε για τα προίόντα μας καθώς και για αντλήσετε χροσμες επιπλέουν πληροφόρίες.
BRANDT
www.brandt.com
Mepuuvvtauayia n ouveyn baeliow twpv npoiovw uac, eunuasaosouaote Tavrc dikawmuotc oxetik a mTv pontoinon twv texvikw, aeitoupyikw v aiothnukov xapakntpiotikwv tou nou utayopeveta tno mv texvoayikn
A Irhoosoo:
Piv oesTe m oukeun oe aeitoupyia npapakaleote va diaaose Te ppoektikac utec Tc odnyie c wte vxa eokwthetaite nio yprnyopa mT ae tleitoupyia ms.
EL έπεριχOMENA
Kavovc aocphialeic 23
- PpOoTaoia Tou TepiBaaovtoC 24
- Iepiypaxn msc ouokevuig oac 25
1 / EΓΚATAΣΤΑΣΗ ΘΗ ΣΥΣΚΕYΣΗ ΣΑΣ
- Eπλογή του σημειου τοποθέτησς 26
·EvtoiXioo 26 - Σμβολες εντοιχισμου 27
Hektpkouv8eon 27 - v 1e to diKTuO aepiou 28
AlambdayEiouc aepiou 30
2 / XPHΣH TH Σ YΣKEYH Σ ΣA Σ
- Iepiyrhoqnt mSc Epiavw oyns 34
- Λειουργία των εστιών αερίου 35
- 36
3 / BAZIKH ΣYNTHPHΣH THΣ YΣKEYHΣAΔ
- 37
4 / MIKPEΣ BΛABEΣ KAI ΛΑΣΑΕΙΟΥΡΙΕΣ
·Kata m xipom ms ouokevn 38
5 / EΣTIEΣ AΕPIOY
-ObnyieC yia ayeipεμα e aepio 38
6 / YNHPESIA EÉYNHPETH∑ ΠΕΛΑTΩN
76
KANONEZA∑ΦAΛEIA
EL
KANONEA A EIA
-H eotia oac exi oxediaoet iia xpnoouitai aTTO lWTEc OTOV TOTKOtaikiac Touc.
-Autn Ouakeun TpTei va Eykcoiota C umuovvaE touc loxovtecs Kavovioou Ckva Xpnoioutoieitau movo e npn kaoeepaO. DiaBcote TpoeKtka Tc oanyic auTc Tpv Mv EyKatotam KAtm XpOnm ocukeanoc
-To πpεTTI vα TpαγμαTOnIOεια TAVTα UTo TmV Eπiβλεψη σας.
-Autc oEOTIE TPOOPIoVTau ATOKLeIOTk yia TO mayeipema TPOimuW KAI afeuHAtwv KAI DEV TEPiExovu KAVeva SuotatkoEbaonTov auiavto.
-Autn n ouokueun dev ouvdeetai u deiaatg Ekkevwnc Twv Pioovtwv kaoung. PpETe va eykataaotaei kai va ouvdetheta ioumwva e Toussxuovte c Kovovioouc. PpETe va dothe idiatepn poooxn otic oxuouoe diataxioc xetik aevtov exepioo.
-Mnv fuAooTe eo a oTtio Tou Bpioketai kTuO aTo mTv eoia oTPOIOVTA SYNTHPHsE n EYFAEKTA IPOIONTA (yeKaotnpaC h doxio uTo TIeOn, xapria, BiBlaia ouvtayw..
-Eav xpooiotoiite eva ouptapu tototheveo kato mv eotia, mnu pfalaoote o autov avtkeieva nou dev eivacvthetaikoc uynlcs eepokpoe (TAAOTKcAVTKEIeVA, xaptia, doxieua TIO TIEO, k.
- Piv OTOIAOHTIOTE TAPeβaON OTNv EOTi, BεβaIωθεIe Θι δεν εIVa Ouvδδεμενη με TnV TpoΦoOio (ηλεκτρική αερiou).
-OTav Ouvodete ηeKtpikec oukeuec μe iα Kovtivn Tapoxn pEuAcoTc, βeaiwthei eOTo Kaawio Tpofoobooia cEv Epxetai oE eTalpha mEePcaivovvec EtiΦaveies.
- Ia loyouc aocaaiaic, eTa cto Kcoe Xpnoi, mnu Exyvate vKaivete m yevikn TApoxn aepiou n mnu npoxn uypexpiou Boutaviou/tnpoTaviou mSphiAaNc.
-Oi eotiec fepouv Tn oun OuaatomrAC CE.
-H 2yKατασαση πρεπει vα
TpaaymuToTOIEiTaI cTOKAIOTKa CTO 8E1dikuEvouc TeVkoUc.
- IVyEYKAToTOnBepaiWTeiTe oI ou OuvTheKc Tou ToTikou DkTuou aepiou (foon kai Tiieon aepiou) evoi SuuβaTeC μe TICpuOmuieic mS ouKeun.
-Autn n eotia eivai ouuphiwn u e TpotaTO EN 60335-2-6 avxphiopka u e Tn 8epuavon twv npaekieuvw ETTAW Kau u v katoia 3 oov aphiap Tnv EYkataoan (ouuphiwa u e To TpotaTO EN 30-1-1).
Ppoooxo Oouvtheta
avaypaoovra oynv eta nou
bpoketau meo aon thn kno onwoc enionc
kai eaxw
i
PpokieevovvaavtpexeMEukolia
oTouckwduocvaaphopac Tns
Ouokuneoac,ocapntoeivoumeva Touc
Oneiwotn oElaia "Ympoeia
Evtmpetno nEaTow" (oE auin m
Oeia uToDekuvvTeiionc To Omuio
oToOnio avaypcoovra EAnaw Otn
Ouokuneoac).
EL IPOZTAIA TOY IEPIBAAMONTO
- IPOSTAZIA TOY IEPIBALONTO
-Ta uliko oukevuaiaoc autis Tc
oukeunc evai avakukawuia.MTOpTe
va oumuetaoxete ot diaikacia
avakukwongc, evatooetovtac ta ulik
oukauiaoc touc iokouc kdouc Tou
thetai ot diaxoon oac o denooc ac, ka v
oubetaalete KAT' autov tov tpotno mtv
tpoataia tou nepiaalovtoc.

-H ouokevun oac Tepiexei Etnionc TOnAa avakukwouuikα. H ouokevn fpei ouveTtOc auto loyotutto Tpokelévou vaooc UToBdEi
Xpnoioumnevec oukeuec dev
Pnptei vEvantotiEvtau aZi me aAa
atoppiuata. O kataoekuaotns Tov
oukeuw opaywvei, UTO TIC KAUTepecs
ouvTheKc, mV avakukawon Touc,
oumuwva ME mTv eupwniaikn obnyia
2002/96/EK oxetikau ta atoblaeta EIDW
nEektipoukai nEktropivou Egontiaou.
ATeuuvtheta oTo dmoosn otov
eTIPIOOAC vVTIpOswTO TTPOKEIevou
VA Evnpewite Oxetikae Ta onmeia
Tepoulloync Tov Xpnoioumnevevow
oukeuw, TOU Bpiokovta KovTa OTNV
katoikaoc.
- EUXAPIOUme yia m OuMBoaI nOAC oTmV PPOoTAOIA Tou TepiAALovTOc.
- ΠΕΡΑΦH TΩN ΕΣΤΙΝ


Kαλμμα εσιας

Σπινθηπροτής

OTeYavOTnTac

Kefaai n eotias

OeipuOzEuvoc (ouvtloe aocfoaio)

TpOΦVyα

Akpocuoio yxuom

PiotpfoEvoc diKOTTt

Euvoula
Autec o odnyie c ykataoanc kai xnoi oxuovyia diaphopmaovtea. Evexetau v a npatnpoe t eepke diophiopoonoeic oov apn m aeitoupyia kau tov eoio mc oukeunc oac oe xeon me npiypaoe nou npouoiocovra.
EL 1/ EKATAZTAZH THZ YZKEYHZ ZAZ

| ΣΥΣKEYH | |||
| Φάρδος | Βαθος | Πάχος | |
| Κανονικό ανογιμα επιπλου | 56 εκ. | 49 εκ. | ανώλουγα μέ TO επιπλο |
| Ανογιμα επιπλου Συμιστώμενο | 56 εκ. | 48 εκ. | ανώλουγα μέ TO επιπλο |
| Διαστάσεις επιχω ατήο του πήγκο εργασίας | 71 εκ. | 52,2 εκ. | 5,5 εκ. |
| Διαστάσεις κάτω απήο του πήγκο εργασίας | 55,4 εκ. | 47 εκ. | 3,4 εκ. |
- EΠΑΟΓH TOY ΣΗΜΕΙΟΥΤΟΝΟΕTHΣΗ
H ouakeun oac npetnei va evtoixotei oynv etiapveia (taoxouc toulaxiotov 3 ek.) evoc etiilou aTO uKo avThetaKO e Uynle c Thepokpaoies nTo OTIO EeXeIeKALUm aTO TAPoMoIuKo.
Ppokémuevou va xeiipzoeTe me eukolia ta mayeipikakceun, 0v 0a TpETeI VA toTtoeTmEi kaveva etinllo n EtniΦavla o Ae aTTO TaouAxAIOToV 30 ek. dExiα n apiotepa msotiaq.
Eav kaw aTn Tnv eTia uTAPxEv axoiovtio wipia, auTo 0a TpETeI vaoTTOOteiAIO 10 EwC 15 EK. OE oxenmu To KATW TMJMA Tc EOTiAc. ZkAe TEPiTTwo, mnu fUAAOeTE YEAOTIpEc n DoXeiA UTO TIEON OTO TMJMA TOU EvEXeTAu VuaTAPxEi KATW ATO Tnv eTia (Bλ. Kefalaaio "Kavovcs aOphiAeic).
ENTOIXIEMO
Iα vα διασφαλοετη Μ Θ Εγανότηα μεταξύ TMS επιας και του πάγκου εργασίας, πριν TIV Εγκατοσαθή TNS, κολλησετο T TAPΕμβυσμα Που βριδεται Μθήκη:
Σμφωνα με το σχέδιο (Eik. 01).
-AIOUaKpuVETcOxApEcTou OmpiQouv TaOKEUn, taKaUmuTaTswEOTwKai TIG
keaies twv eotiw, EvottiOvTc Tn Theouc.
-
TupioTe avAntoTa mTv eotia PpooeovTac va mnu TpokaloeTe BAn OTOUC TepiTpepoEvouc diakottc kai OTouc OTIVnptoiTeC.
-
_ va e Tn OTeyavotnta
muTou EeWTEpIKOU KALUmuATOC KAI TOU
Taykou Epyaic, KOaIIOTe TO
TAPeMuuaOg OTN V TepluETPO TO
EeWTEpIKOU KAUmuATOC (Eik.02).

1/ ERKATAZTAZH THE ΣΥΣKEYHΣ ΣA
EL
- SYMBOYAE ΕΝΤΟΙΧΙΜΟΥ



Egapmua oTepeewom
Tortotheimote mv eotia oTo ovolua Tou etinilou omipnC, povvtocvac tpaeete mv eotia tipoc to mepoc oc.
-TOTTOETNTE TIC KEPAEcs TOW EOTIWV TA KALUmuata KAI TIC OXApEc OTNIpIgNs TOW SKEUVW.
Συνδεστη Μν εσια σας με το δικτυο αερίου (ανατρεξτε στο κεφαλαιο “Συνδεση με το δικτυο αερίου”) και με το ηλεκτρικό δικτυο (ανατρεξτε στο κεφαλαιο “Hλεκτρική συνδεση”).
Mtopeite va oTaeponoTe, eav
etiuyie, mv eTia me m Bontheia TwV
Teaoapwv Eaaptmawv Otepeowntou ooc
Tapeoxovta uad me Tc Bioc sec (Eik.02) Kau
Ta otioia oTepeewovtro nC Teoepic ywies
tou ExTEpOKU KAUmuATOC
Xpaouotoutote OTwoothnote tC otec TIOU
exouv TpoBaeheia yA to kOktto auto
oupwxaue To TApatwosyedio (Euk.01).
-∑αμεπησεναβδωνετεοτανtoεΦρμασ Θερεωπκαργειλνταρομρδωνετα.
Mn xpoaortoierte nAektpko katoaobl.
HAEKTPIKH SYNNEESH
To kawio tropooooiac mE stiaac aC TpETeV aouvdeTea ie uovocaoKo dktuo 220-240 V\~eaw cie nEKTpuKt
Tpofooioic 2 TIOLOUC KAI YEICOWI
OuMooVAe To TPOPTU OCEI60083 n eo
MIAC dAIOACNc eauTOAUTo DIAKOTTN
OuMooVAe TEOUCTIOXUVOTECKAVOVIOUOC.
Φροντισενα ἐχετε πρόσβαση στο φις τροφδοσίας μετα Μυ εγκατασταση.
AIATOMH KAANAOY IPOX XPHSH
| 220-240 V~ - 50 Hz | |
| Kαλωδιο H05V2V2F - T90 Kωδ.Εξμπ. Πελ.: 77x9060 | 3 αγωγοι εκ των στοιων 1 γειωση |
| Διατομή αγωγών σε mm² | 1 |
| Ασφάλεια | 10 A |

Pooox
To kαλωδιo προσταοίας (πρασιν/kitpivo) συνδεται με τον ακροδεκηγειωης Φης συμκεύης καλ πρεπεινα συνδεται με τον ακροδεκηγειωης Φης εγκατασταοής. H αφαλείας εκαγκαείας εγκατασταοής πρεπεινα ενικα 10 αμιπέρ. Eαν το kαλωδιo τροφδοσιας εχει φθαρεί, πρεπεινα αντικατασταθει με ενα καλωδιοήμε μία εδική διαταξηου διαθέται η κατασκεύσατρια εταρεία η μιπρεσία εξυμπρετηός πελατών Μς.

Euβouλ
OraivmuayepveTe ME fuuokocepio,
Meyalec TnooTnec 0epmuotnac Kau
Uypaoic Ekliovtau OTOV npiipiaovrta
Xoo. Povriote N couvxaos v diaeetra
Kaoa egaepuo: duaatnpntae aovxra ta
avoiymata fouuknc 0eapwnc n
tonoertne Mia uynxavkn diataeN (mxaovkoc atoppofo npac).Mia Evrovn
Kau npaateranevm xonan mC oukeunc
Evdeextau va anataei tnnAev eoepuio,
P.x.To avoiuMa Tou npacdupou, N evav mo
AnotleEoumko 0eepuo n.x.Tnv
augnon ts IOxuoc tou nuXavkuou
Egapiou, evv unxpcei. (aataetira
napoxn cepa Toulaixiotov 2 m/h avx kW
IOxuoc epiou).
Paxpoxyμα:70εκ-4εσπες αεpiou + 1 ηλεκτρικη
Euvoaui oixuc:
0.85 + 1.5 + 2.4 + 3.3 = 8.05 kW
8.05 kW x 2 = 16.1 m/h ελαχιστης
παροχις αερος
EL 1 / ERKATAZTAZH THZ SYZKEYHZ ZAZ
- ΣYNΔEΣH ME TO ΔIKTYO AEPIOY
Eioxywykec npxnpnoic
Eav n eotia aac evaiykeatoTne TAVW aio Eva foovo n KOTa 0e 0epuaivouve o wata ta otioia evdextai va utpebepauovuvm t ouvdeon, autn 0a pTei uttoxpewtka va pacyuatoTOnIe i e oakno ayyo.
Eav xpoaotooie EAV EUKaUMTO awyo n oawlvaa (e TepiTTwam Uypaeipou Boutaviou)
foviote v am npextal eTtAOTuNTTO tntnau kai v amnu
eTNDCTA tto aaXkeIeva.
H ouvdoen m To aepio PpTei va Tpaayatotoine i uuwoa u Touc Kavoviaouc Tn oXouv Otn Xwpa EYkataoanC.
-Φuσικό αέριο μεδω γενικής παροχής,υγραερίο προτα- viou,υγραερίο βουτανiou
TnV aocaxiaox, pTeTc va EIIaEeTe aTOKLeOTiKa mia aTO TIC TApKaKATOW ouvdeoeic:
- EuVbEoN mE oKApO xAkkv OwAnx
m E uXavikouc biowouc dakTuiaouc
ovuaia kata to npotuio aepiou G1/2).
PpaymuTooiote m ouVbEoN aTeuTheiaoc
ayn akn mG evwns Tuv oWAnvW
ms oukeunC.
-Euvb0n Eukamro Kmuatoeio nEaakooi Owai (avovxiio) uoxuouc ouoouc (ouuphi wvua e to npoturo NF D 36-121), uε aTepiopomdiapkeia zwnc (Eik.A).
-EuvdeoemEukacmTo oWJv aTTO EVIOXUeVO KAOUTOouk E mNxavikouc Bldowouc ouvdeouoc (ouufoovma To TPOTuTO NF D 36-103), e diapkeia Zwng 10 Etov (Euk.B).

Npoooxn
Kata mdiapkeia mscovdeoans mc
eotiac oae to aepio, evdexetau va
Xpeiaotei va aalaxete mV kateuvon
mnc Evwong twv oawhvwv otoukeun
oc
Aλαξτe to δακτιλιο στεγανότητας.
BldowrTo naxmuadI mC evwOncTwv oWnov, uE pOtnou vA uNv unepbaive 17 N.m.
1/ ERKATAZTAZH THE ΣΥΣKEYHΣ ΣA
EL
- Yypaxepio oε φιαλη ἡ δεξαμενη (βούτανιο/προπανιο)
TnV aOaXeIaOaC, TpETe Vx EITIeEeTe aTOKAeOTiKa Mi aATTO Tc TApKcTOW ouvdeoeic:
-
EuVbEoN eKApO xAaKiv OwIvX aMxavIOUc BiDwTOUc dakTuIouc (ovuOia KATa TO TPOTuTIO aepiou G1/2). PpaYmuToTouNTe m ouVbEoN aTeuTheiaoc OTNV aKpN mC evwnC Twv oWAnvWmS oukeun.
-
o KUmaToeIdn 0wLnVα (avOεiδωTo) με x vikouc BiodWouc Ouvodouc
(ouμΦwvaμεTOπpOTuTO NF D 36-125),με
aTepiopiomdiapkeiaZomega (Eik.01).
-Euvdeon EukamTTO oWnva cTIO EVIOXUevo KAOUTOouK Mxavkoouc BiodoTouc OUVdEouc (ouufoova uTo TPOJTOXPD36-112),ue diapkeia Zwn 10 Etov (Eku.02).
Σε μia nôn utápxouσα εykaṭaσtaση, μπopei va xροσμοτοιηθεi εvας εukαμtttoc σωλνας Εξοπλισενος με δακτυλiouς Σωφιξης (συφωνα με το προτινό XP D 36-110), με διαρκεια ζωης 5 ετών. Eivai απαραίπτο σε αυτήν τηριπτωσν va xροσμοτοιηθετε ενα καροφύοι χωρις va πραρβλέψετε va τοτοθετησετε ενα δακτúλio στέγανότητας αναμεσα στο ακροφύοι και τὴν ευωσι τουν σωλήνων της εστίας (Eik. 03).

Euβovλ
To aKpOfoio Kai o dAkrTuioc yavotntac diAriOeVra cno mv npEoi aEvmpemon n eAtoWv.

Npoooxn
BiodowTe To aKpOfoio potn nouuyn uTepaive 25 N.m.


(δεν παρεχεται)

Akpofoioo (Eev TApexetai)

AakTuaioc uophiEgC (Eev TApEeXeTal)

Pooox
Oloi eukamntoi owlnevcs kai aywoi e anepiopiotn diapkeia zwnc npentv ax exouv mknoc toulaaxiotov 2 mtpa kva evia npoobauoi o o lo t nkoos Touc. Ppenei vavukataotaoov npiv mny napelaeuon Tns mepounviax pnonc (avypapetai eanw sto wlny).Onoiodnote rpoio ouvoeongk aev enuilegete, eelyte m oteyavotma ts, metaxto my Ekyataoant, me osannovopeo. Tn fllia, npentv ax xnooutonoiote evaxolnuax nyawyo nov va fepei to onma NF Gaz

EL 1/ EKATAZTAZH THZ YZKEYHZ ZAZ
- AʌʌAfH EɪdOYs AEPIoy
Ppoooxn Huaas
H ouokevun oac _ npo-puotetviα nouvdoen μe φuokα epiio.
Ppokémuevou n oukeun yα npooaepoetoi oTo boutavio/npontvio, xonoumountoe ta aKpOFOua eYxuOnc Tnou BpIOKovra oTn OkNn Tnou pEpiExc cavEc tic odnyieC.
EuvouA
Etn Fclaiia, aun n eoia npooaoocetra enionc oro meiyua npontavio n boutaviou. H hkn n e ta eapnta oopooayocn dciTtce aon Tnu umpeoi xumnpenpnncn neaovv.
Σε καθε αλλayη ειδούς αερίου, πρετιν απροβειτο διαδoxuκα στις εξης ευργεις:
- Ppooaepo0e Tm ouv6oyn e To aepio
-Aλαξτετακροφνσια ὀγχυοης
-PuOoTe Touc Epiβpaδuvτε C TOW σρoφiyyωv.
-
Ppooaepoote m ouvdoem u e to aepio: auvtpeTe OTNV TApaypafo "uovdoem u e to aepio".
-
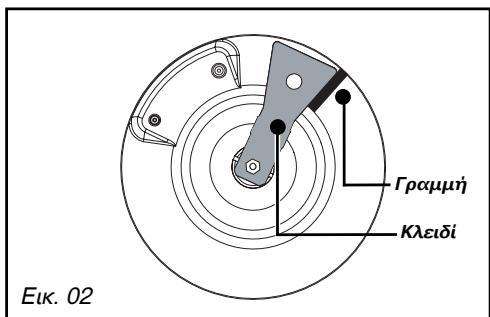
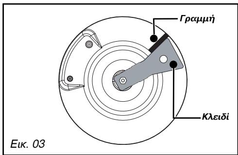
Aλλαβετα ακροφύσια εγχύης κατα Tòv ακόλουθo τρότο:
-AIIOAOKpuVETe TcOxApEc, Ta KALUmuTa KAI Tc KEoAeC OAWv ToV EOTWv.
-εβδωτεμ Μ βοήθεια του κλεδιοι του ασς τραχεται τα καροφύιαί εγχυοις στό βαθος καθε σετίας και ανασηκωτε τα (Euc.01).
ToTIOtheTne ta aKPOphiia ExyuOns Tou auTioaou aeipou, oMv avaoyn Theoouwva uTou Tov IVaKa xapaktniOtuKow ceipoi Tou TTAPaTIeTaI OTO TELOc Tou Kefaaiou kai OTn ouvexla:
-Bidowotc apxikr tov akpofoio Eyyuonsc Eeipokivto rpoTTOEoTou oocaioi.
ToTIOEeTnOTe To KLeoiI TAnwO StO aKpOoFouio EyyuOnC.
-Me Tn BOnTheia Evoc moAunou TpaBnE Te mia ypaum nTo UToDekvuoEv oOnmu Euc.02).
-FugioTe To KLeiDi TPOc TM opa TOW deKtWv Tou POAOviou EwC N ypaum vε μeΦaViOTe OTV AλN TlεuPα Tou KLeiDiou (Eik.03).
Ppoooy
Myn utepseite auto to opio kaohc evdoexuva npokaoeote bαβη oto pioiv.
-TOTTOEHTOE EAVA TIG KEPALEG TOWEOTWV, TAI KAUUMATKAI TIG OXAPEC OTNIPING TOWKKEUW.
Sigmaβouλη
MTea aTnKoKeE aAlambda yIouc
aepiou, oTneWOTe OTNV EIKETa, TOU
Bpioketai MeOa OTN OTKN, TO PAAIOIO
Tou aVNIOToiXei OTO EINIEBO aepiou.
AvatpeTe OTNV aVNIOToiXn TAPApYpAo
"UvDoeon Me To aepio".



1/ EKATAZTAH THE ΣYΣKEYHΣA
EL
Pouiote Touc Etnbpovte TOW Opoiyw: autoi Biokovtai Kxw cTTO Tou TEPiOtepeoEvouc dKoTTTEc (Eik.04).
- Puθμiortε διαδοχικα καθε στροφιγγα.
-AtoakpuveTOUc TEPiOTpeoEvouc
biokOTTc,TOUs DaKtUiouS OTeyavotmTACs
TpaBwTcTOUs TPOC TA ETTAVW.
- Iépασμα απο το φυσικό αεριο ἡτο μειγμα προπανίου/βούτανίου στο γραεριο βούτανίου/προπανίου.
-Me m Bontheia evoc mkpou katoaibou, Biowte kaA m xkavn Bida puthetaansTwv etiipaouvtw (Ktpivn) (Euk. 05), TpoC m fopaxw dektow tou pooyou.
-ETavatoTTOeTIOte Touc daKtuAious OTeyavotmTAC KAI Touc TEPiOTpeoEvouc BiakOTTEC, EEyxovTAC Mv KAteuHuvon TTPOOavatoAIOu Touc KAI m Owotn TToTOnTOEtmon Touc.
- Pερασμα απο το ηραεριο βουτανιου/προτανιου στο φυοικό εριο ἡ στο μειγμα προτανιου/βουτανιου
-Me m Bointheix evoc u Katoaibou, Eeioote kata duo oToPOe ts xakivn BiOa puoanstow tpiipaouvw (Kitpvn) (Euk.05), poc mV ovriem kateuohvon twv deikovtou pooyiou.
- ETTAVXOTTOEETNOTE TO TEPIOPTPEOeVO dlakkotm.
-AvotE mV eotia ommuoiom Theon, kai om ouvexia Tepioppeuue To diakottn om xanl n Theon.
-AIOaKpUVEEKVEOuTPOIOTpeoEv oiaKoTTM,OMouExia TPEIOTpeyTe m Bida pOthoun TPOCmΦopA TOW DEKTov Tou poayou EwTmV TIO xAmnθEon,TPIV TO 0hnao ms Oλoyac.
-ETAVATOTTOEITOTE TO dakTuO OTeyavOTNTc KAt Tov TEPIOTpeoEvO diKotTM.
- Ppaymuotouote TOnaEs φopcs Tov Tponyouévo xepiouo yia va puθmuete Touc Etnbpaduvte: n λooya δev πpeel va oBno. Επeipittwn Tou n λooya βnoε, Eβiodote m Biδa puθμons kατα πoTTO wOTE n λooya va Tpauevei avaeyn kατα m dixpkeia twyepiouwv.
-TorToeTnOte EaV Tc KefaAec Tov Eotiw, ta KaUmuTa Kau Tc OxApes OtnPiEgnc Tov OKeuWv.


EL 1 / ERKATAZTAZH THZ YZKEYHZ ZAZ
Toonotmontwvakpofuoiwvexxun
TOnoEThsH TQN AKPOΦYzION EFXyIe
O TAPAKaT W TIVAKaC UTODeIKVUEI Ta O nmuia ToToeTeNOns Twv AkpofoiWv ExyuOnc OTn SuokEun oac Avaloya e To EidoC aepiou Tou xpnooToieite.
Kαθε αριθμος αναγραφεται στο ακροφύσιο ἀγχυούς.

-αραδεγμα:
too0eTm0n ako
fuoiou 95
MONTEANO 5 EΣTIE Σ AEPIOY*

Quikó aepio

Yypctepio Bourtav./Ppontav.

Metyma Iponov./Bourav.
1 / ERKATAZTAZH THE ΣYKEYHΣAΣ
EL
XcpaxktnpioTikαεpiou
| FR - GBGR - PT | FR - GBGR - PT | FR - GBGR - PT | FR | FR | |
| Συοκεη προς εγκατάσαση σε: | Boutrávio | Προπάνο | Φιακό Αέριο | Φιακό Αέριο | Mély. προτ. Mély, βόμ. |
| FR..............................................................Kατ.: III1C2E+3+GB - GR - PT..............................................................Kατ.: II2H3+ | G30 | G31 | G20 | G25 | |
| Poή ανά χρα: | 28-30 | 37 mbar | 20 mbar | 25 mbar | 8 mbar |
| στους 15°C μτό 1013 mbar | mbar | ||||
| ΓΥΡΗΝΗ ΕΙΤΑ | |||||
| Σύμανη πάνω στο ακροφύσω ἀχυσός | 78 | 78 | 121 | 121 | 215 |
| Ονομαστίκη θερμογόος δύναμη | ( Kw) | 2,25 | 2,25 | 2,25 | 2,30 |
| Μεωμεδήν θερμογόος δύναμη | ( Kw) | 0,850 | 0,850 | 0,650 | |
| Ωριαία ρή | (g/h) | 164 | 161 | 214 | 322 |
| Ωριαία ρή | (I/h) | ||||
| ΠΟΥ ΓΥΡΗΝΗ ΕΙΤΑ | |||||
| Σύμανη πάνω στο ακροφύσω ἀχυσός | 88 | 88 | 137 | 137 | 340 |
| Ονομαστίκη θερμογόος δύναμη | ( Kw) | 3,00 | 3,00 | 3,10 | 2,90 |
| Μεωμεδήν θερμογ. δύναμη (με ασφάλεια)( Kw) | ( Kw) | 0,850 | 0,850 | 0,780 | |
| Ωριαία ρή | (g/h) | 218 | 214 | 295 | 343 |
| Ωριαία ρή | (I/h) | ||||
| ΕΣΙΑ ME ΔΙΝΑH ΣΤΕΦΑΝΗ | |||||
| Σύμανη πάνω στο ακροφύσω ἀχυσός | 95 | 95 | 147 | 147 | 370 |
| Ονομαστίκη θερμογόος δύναμη | ( Kw) | 3,40 | 3,40 | 3,80 | 3,10 |
| Μεωμεδήν θερμογ. δύναμη (με ασφάλεια)( Kw) | ( Kw) | 1,450 | 1,400 | 1,300 | |
| Ωριαία ρή | (g/h) | 247 | 243 | 362 | 421 |
| Ωριαία ρή | (I/h) | ||||
| ΕΣΙΑ ME ΜΕΙΑΟ TÁXYΤΗ Λ | |||||
| Σύμανη πάνω στο ακροφύσω ἀχυσός | 62 | 62 | 94 | 94 | 165 |
| Ονομαστίκη θερμογόος δύναμη | ( Kw) | 1,50 | 1,50 | 1,50 | 1,40 |
| Μεωμεδήν θερμογ. δύναμη (με ασφάλεια)( Kw) | ( Kw) | 0,700 | 0,650 | 0,550 | |
| Ωριαία ρή | (g/h) | 109 | 107 | 143 | 166 |
| Ωριαία ρή | (I/h) | ||||
| ΒΟΗΤΗ ΕΙΤΑ | |||||
| Σύμανη πάνω στο ακροφύσω ἀχυσός | 50 | 50 | 63 | 63 | C12 |
| Ονομαστίκη θερμογόος δύναμη | ( Kw) | 0,90 | 0,90 | 0,85 | 1,00 |
| Μεωμεδήν θερμογόος δύναμη | ( Kw) | 0,350 | 0,300 | 0,350 | |
| Ωριαία ρή | (g/h) | 65 | 64 | 81 | 94 |
| Ωριαία ρή | (I/h) | ||||
| ΠΑΚΑ 5 ΕΙΤΙΟ N E ΔΙΝΑH ΣΤΕΦΑΝΗ | |||||
| Συνομίκη θερμογόος δύναμη | ( Kw) | 11,05 | 11,05 | 11,50 | 10,70 |
| Mέγιστη δύναμη | (g/h) | 803 | 789 | 1095 | 1273 |
EL 2/XPHSHTHZSYKEYHZA
- ΠΕΡΙΡΑΦΗ ΘΣ ΕΠΑΝΟ ΟΨΗΣ

TE 270^ / ^ - TE 576^ / ^
Eotia i taXuTmTaC 1,50kW ()
B Bonθητική εοτία 0,85 kW ()
Eotia duiAns oTcAvoNs 3,80 kW ()
Eotia μεγαλης ταχύτητας 2,25 kW ()
Eotia nolu taxumrac 3,10 kW (*)
(*) Mε φισικό αέριο G20
2 / XPHSEHTHEZYKEYHZA
EL
AEIOTOYPria TON EETION AEPIOY
Kaθε εσια τροφδοτειαι από μίαστρόφιγγα, Μης Αποία το ἀνογμαπραγματοῦτειαι πέζουντας κατεριστρέφοντας Μστρόφιγγα προς την αυτιθεμ φόρα των δεικτών του ρολούιου.
To o nueio "I" avtioxei 0to kiaiou mC oTPOphiyyac.
-EmaleTe mV eotia Tou eTtoumuitee M Boonthea twv ouuBoiokovtau diIaa oToUc TepiotpeoEvouc dikottte (π.x.: aipote np Eptpoc eotia
H eotia diaotei ouoTma avaumato tsw eotiwv, evoWmuTwEvO oTOUC kOTTEc.
- _ va aovape _i eotia, Tnnote to
duakottm kai tepiotpeyTe Tov npoc mV
avritheta opax ToW deiktow Tou poLoyoiou expl eyiom thoan
-Kpactote TATnueo To diakottnyia vε μαvioTouov oTIVθηpec kai va αvαe i n eotia.
Tia u eevn aTdooon 0a TpeTe v a puoiEeT m 0eon Tou dakottnm eTaEvTuWv ouuolw kai
- EΣTIA ME AΣΦAΛEIA AEPIOY (αναλογα μετο μοντελo)
H aocxaleia twv eotwv npaymuatoioieta
meow evoc meataalkou oTeXouc, Tou
Bpioketai biIaa oTphioya.
Ko3e oioia eeyxetai aTo mia 0pOphiyya e
ouotma aocfaaleiac, to otioo 0
Tepittwn aTPOoBokntou 0bnoiuataos m
floya (Eeexiioa, pueu aepoc,...)
Otaua ta aoeaa kai autouata mV npoxn
aepiou kai emtobizm diappon tou.
Tua uwoevn aToboo n 0 npTe vpuoiaeTe m Eon Tou oakottnmuTaGvTuWoumbolw
Ppoooxn -KpOaTn
περιστρεφόμενο διακόπηγία μερικάδευτρόλεπτα μετά Μν εμφάνιοη της φλόγας γίαν αθέσετε σε λειουργία τούσημα ασφαλείας.

Euoula
Eaocouotoue va cavbetae TmV
EOTiA otTnC oTEpAVnC PIV
TOnOeTeJooTe TO OKEUoC, PPOKeyEvov
VA i e oT N EOTi Exe
AvyEi OwTo.
Eav duokalev taepiotpeyete to diakottn, mnu axoetae nien. Znntote Tnu aeeon npaeuon tou texvikou EYkataoans
επεππωη απροδόκητουσβησιματος ης φλόγας, ανάψτε εκνέουπν εσία σύμφωνα με πς δόηγες.
EL 2 / XPHSH THZ YZKEYHZ ZAZ
- ΣKEYH ΓΙΑ TΙΣ ΕΞΤΙΕΣ ΑΕPIOY
- Noiα εοτια πρέπεινα χρησιμοποιησετε ανάλογα με το σκεύος σας
| Διάμετρος του σκεύους | Διάμετρος του σκεύους | Xρήση |
| 20 εως 30 εκ. | Διπλή στέφάνη | |
| 18 εως 28 εκ. | Πολύ μεγάλης ταχύμτας | Τηγάνισμα - Βράσμο |
| 16 εως 22 εκ. | Μεγάλης ταχύμτας | Τηγάρισμα τροφήμων |
| 12 εως 20 εκ. | Μεσαλίας ταχύμτας | Σλλτοες - Zέσαμα |
| 8 εως 14 εκ. | Βοήθημή | Σγανό βράσμο |
Opioue5 eiovov aepiou evai
Eoioueue 5 eioia oxapao npiigns edikni
yia okeun "WOK" (Eik.01) n otoia
xpoaotoiietai movo on kevpiok eotia
"diIaqoTefavnc".Aumn oxpaa tuou
"WOK" eITpETei m xpnon okeuwv me koiIo
TATO.2e ouvduaoo mTv eotia "diIaqoTefavnc", eITpETei TIV KAUTEPN
KataovuHmC fOyac yupw aTO ta eYALa
oKeun OTWC TA OKEUN WOK KA Tc OKEUN YIA
TAtEyia eeyaxn diAetpo.
Ipooox
Puroiote motephiavn mcsloyac KAta TpoTOnoWotE nfoyva VAs TepiopiZeTa OTov nato Tou okeouc (Eik.02).
-Mv xpoouoieE okeun e Koilo n Kupto nato Xomegaic mV kaTaaaIaon oxcpcox npxi (Euk.03).
-Mv xpoiouoiTe okeun Tou KauTTouv Evmuepiouc dixkotTEc (Eik.04).
-OTav TO okeuoc evau adEio, mnu avmuevmTnu eioaepiou.




3 / BAZIKH ΣYNTHPHΣH THE ΣYZKEYHΣAΣ
EL
- SYNTHPHSH THE ΣΥΚEΗΣ ΣΑΣ
| ΣYNTHPHEH...... | TI ΘΑ ΠΡΕΝΙ ΛΑ ΚΑΝΕΤΕ | ΠΡΟΙΝΤΑ/ΕΞAPTHMATA ΠΡΟΣ ΚΡΕΗ |
| Σπινθηριοτές και ακροφύσια έγχυούς | Σε περιπτωπ λερώματος των στινθηριοτών, καθαρίσε τους με τη βοήθελι μιας βουρτος με σκληρές τρίες (δόχι μεταλλικη). To ακροφύσιο ἀγχυούς αερίου βρίακεται στο κεγρο της εστίας. Φροντίσεν αν μην το φράξετε κατατον καθαρίσου, καθως ενδεχεταιν επηρεδασετε Μν ατιδόση τς εστίας σας. Εαντίθετη περιπτωπη, χροσμωτοῦστε μία παραμόνα γίαν ζεβουλώσετο ακροφύσια ἀγχυούς. | Μικρή βουρτος με σκληρές trixες Παραμάνα |
| Σχάρες και εστίες αερίου | Σε περιπτωπ επιμονων λεκέδων, χροσμωτοῦστε μία μη ατιδέστικη κρέμα καιξηλινετε στη συνέχεια με νερό. Στέγνωσετο προσεκτικα καθε τμήμα τς εστίας πριν χροσμωτοῦσετε εκ ένου τήν εστίας. | Κρέμα καθαρίσου Σφουγγάρι |
| Σμάλτο και ανοξείδωτο ατοςλι | Πραγματοῦστε Μουντήροση Μς εστίας εύω εἰναι ακόμα ζεοή γία μεγαλίσερη ευκόλία. Γίαννακθαρίσετε ομάλτο Μς εστίας, χροσμωτοῦστε μία κρέμα καθαρίσου. Γιαλίσε Μν επιφάνεια με στέγνο πανί. Μγν αφήνετε γία πολύ ωρα επάνω στο σμάλτο Εξύνα ηρά Οπως χμός λεμονίου, Μύδι, κλπί... | Κρέμα καθαρίσου Προίουν καθαρίσουγια ανοξείδωτο ατοςλι. |
Npooox
Mny Kαθεριετη ποτή Μουκευή σας ενώ βρίσκεται Ελειαύργια.
Anevepyonoujote oles nIeKtpke c aeitoupyie kai nIc aeitoupyie aepiou.
Svumovn
Eumoula
- Ipnunotvα καθαρiετe τα εξαρπματa Μεσιας σος Κέρι και ὑχι στο
πλυνηρο πιατων.
-Mv xnpouoioeTe oKnpo ofouyyapix vX KcOpiEe mV eTic oc.
-Mv xpoouoie t e ookue n kaoapioou u aTuó.
EL 4/MIKPEΣ BΛABEΣ KAI ΔYΣΑΕΙTOΥΡΙΕΣ
KATA TH XPHEH THE Σ Σ KEYH
| ΠAPATHPEITE OTI: | TI ΠΡΕΝΙ NA KANETE: |
| • Katα to ὄναμμα τουν εοτιών; Δεν Πραγόνται στινθήρες κατα to πάτημα του διακότηπ. | • Ελέξετη μὴν Λεκτρολογίκη συνδεση Μς συακεύπς. • Ελέξετη σήιοι Αντινθηριατε εἰνα καβθαροι. • Ελέξετη σήιοι συτηκείς εἰνα καβαβαρες καλ σήτουν συναρμολογηθει σωτα. • Εαν η εἰσια εἰνα Αντοχιαμένησι Οτον Μαγκο εργαίας, Ελέξετη σήτοι τα • ελαρματα στηραίης δεν ενανν Φθαρει. • Ελέξετη σήτοι Ακατιλίοι στεγανόντητας κατω ατό τους διακόΤΙΕς εἰνα καλα τοῦθετημένοι. |
| • Katα to Πάτημα τουν διακότηπ, εμφανίζονται στινθήρες σε λόες τις εοτιες ταυτόχονα. | Eναι φυμολούγικο. To συστημα αυαφλεξης εἰναι κεντρικο καλ ελέχει λόες τις εοτιες ταυτόχονα. |
| • Σε σίγανη φωπια, Ν εστία σβήνει έι ο φλόγες Παραμένουν δυνατές. | • Ατοφέψεγετα πα ρεμματα αέρα στο δωμάτι. • Ελέξετη Μυνιστοχία μεταξίου του εἰδούς αερίουι κα τουν ευκατοτημένων ακρορμαίων εύχυιας (βλ. τοτοβετημαν του ακρορμαίων εύχυιας (βλ. τοτοθετημαν καρορμαίων εύχυιας στο Κεφάλειo "Aλλαγή εἰδους αερίου"). Yτένθύμμαση: Αντιες παραδίδονται μρθμαμένες για συνδεημε εύρειρο δικτύου (φυακό σερίου). • Ελέξετη σήτοι Αβδες επιβράδυνος της φλόγας ενα μρθμαμένες σωτα (βλ παραγραφο "Aλλαγή εἰδους αερίου") |
| • Βι φλόγες εἰναι ακανόνισες. | • Ελέξετη σήτοι Αετοίας κα τα ακρορμαίαν εύχυιας κατω ατό τις εοτιες εἰνα καθαρας, ελέξετη μη συναρμαλοδύηνην του ευπούν, κλτ... • Ελέξετη σήτοι πιτάρχει αρκετό έυραέριο στη φύλη. |
| • Katα τη διαρκεία του μαγερίρματος Ι διακότιτες θερμαίνονται. | • Xρημαστομείτη μμρες καταραβόλες πανω σεις εοτιες του βριακονται κοντα σους διακότιτες. • Tα μεγλλα σκεύπι πρετεινα τοτο Εθτθεύτουνται σις μεγαλινερες εἰστεις του ευκατομακραβαβενες ατό τους διακόΤΙΕς. Tοτοθετηρε μγ καταραρλα στο Κέντρο Μς εοτιας. Δεν πρετεινα τιν Πρετημεχει πιροεξει πιροεξει πιροεξει πιροεξει πιροεξει πιροεξει πιροεξει πιροεξει πιροεξει πιροεξει πιροεξει πιροεξει πιροεξει πίαν. |
| Eáν η εἰστία εἰναι εξόπλιαμένην, με ασφάλεία αερίου: katα to ἀναμμα, Α φλόγες αὐβουν κα οτη συνεχία, στέν πάμετενα πία Πετία Θεντει Ταν πάμενου. | • Παπόπα ΚλΑ οὐτιδικόπετε κα κρατησετοι του πατημένους για μερικα δευτεροδελείτημα εύριν αυμανισουν φλόγεκ. • Ελέξετη σήτοι λόλα τα εξαρτηματα της εοτιας ενα καλα τοτοθετημένα. • Ελέξετη σήτοι αδακτιλίοι στεγανόντητας κατω ατό τους διακόΤΙΕς εἰνα καλα τοτοθετημένοι. • Aποφέψεγετα πε μμματα εάρα στο δμμάτι. • Αναμτηνου. |
5 / EΣTIEΣ AEPIOY
- OΔHΓΕΣ ΓΙΑ MΑΓΕIPEMA ME AEPIO
| ΠΑΡΑΚΕΥΑΜΑΤΑ | XΡΟΝΙΣ | ΔΙΝΑΗΣ ΣΤΕΦΑΝΗ | ΠΟΥ ΜΕΓ.TAXΥΤΗ | ΜΕΓΑΗΣ TAXΥΤΗ | ΜΕΞΑΙΣ TAXΥΤΗ | BOHΘΗΤΗ | |
| ΣΟΥΠΕΣ | Zωμοι Παχύρευστες σουύπες | 8-10 λεττία | X | X | X | ||
| ΨΑΡΑΙ | Zωμός Μαγείρεμα | 8-10 λεττία | X | X | |||
| 8-10 λεττία | X | ||||||
| ΣΑΛΤΙΣΕΣ | Ολαντές, μιτεαρνέζ ΜΤΕΩαμέλ, σρόρ | 10 λεττία | X X | X X | |||
| ΛΑΧΑΝΙΚΑ | Αντίδια, στανάκι Μαγειρεμένος αρακάς | 25-30 λεττία | X | X | X | ||
| Τομάτες προβενσάλ | 15-20 λεττία | X | X | ||||
| Ταγίριαμα τητατών | X | X | X | X | |||
| Zυμαρικά | |||||||
| KPEATA | Φιλέτο ΜΤΙλακέτ, ὄσο μιτούκο | 90 λεττία | X | X | |||
| Φιλέτο στο ηγάνι | 10-12 λεττία | X | |||||
| ΜΤριζόλα | 10 λεττία | X | X | ||||
| THΓΑΝΙΣΜΑ | Πατάτες Θηγανίτες | X | X | ||||
| X | X | ||||||
| ΕΝΙΔΟΡΙΑ | Ριζόγαλο Καμιτόστες φρούτων | 25 λεττία | X | X | X | ||
| Κρετίες | 3-4 λεττία | X | X | ||||
| Σακολάτα | 3-4 λεττία | X | |||||
| Κρέμα | 10 λεττία | X | X | ||||
| Καφές (μκρή καφετιέρα) |
Brandt
FR 02
Dear Customer,

EL 6/Tεχνικήντοστήριξη:
OvexoeeC Tnaw Ooukeun oac 0a pTeTVAepeoyuvtai:
- 21EaTOV pOuHgUmOsc,
EITE cTTO KA tA TOTTouC EGSUIOOto mEvo oepic.
Σε περιπτωπ Που Μλεφωνησετ, θα πρεπειν αναφέρετε ὅλα τοιχεία τς συοκεύης (μοντέλο, τὸῦ και αριθόμο σεράς).Τα στοιχεία αυτα αναγραφονται στήν ετικέται των χαρακτριστικών του κατασκεύαστη Που βρισκεται πάνω στή.
ΕύκολοΕγχειρίδιο