STV 945 B - Placa de cozinha SAUTER - Manual de utilização gratuito
Encontre gratuitamente o manual do aparelho STV 945 B SAUTER em formato PDF.
Perguntas dos utilizadores sobre STV 945 B SAUTER
0 pergunta sobre este aparelho. Responda às que conhece ou faça a sua.
Faça uma nova pergunta sobre este aparelho
Baixe as instruções para o seu Placa de cozinha em formato PDF gratuitamente! Encontre o seu manual STV 945 B - SAUTER e retome o controlo do seu dispositivo eletrónico. Nesta página estão publicados todos os documentos necessários para a utilização do seu dispositivo. STV 945 B da marca SAUTER.
MANUAL DE UTILIZADOR STV 945 B SAUTER
Acabou de adquirir una plac de cozinha BRANDT e gostariamos de lhe agradecer desde ja a sua preferencia

Toda a)nossa paixão e onoxso saber-fazer foram dedicados a este aparelho, de maneira a que ele possa satisfazer o melhor possivel as suas necessidades. Inovador e eficiente, concebemo-lo a pensar na sua permanente faculdade de utilizesao.

Na gama de produits BRANDT encontrará también uma vasta escolha de fornos, fornos microondas, exaustores, fogões, miguias de lavar louça, miguias de lavar roupa, miguias de secar roupa, frigoríficos e congeladores, que poderá combinar com a sua nova placar BRANDT.
Para mais informações de(CC) é complementar, bem como para encontrar todos os��ros produits, consulte o loro site www.brandt.com.
BRANDT
www.brandt.com
Com a preocupaçao de melhorar constanmente os outros produits, reservamo nos o direito de modifier as respectivas caractécticas tíqnicas, functonais ou estéticas por motivos ligados à sua evoluçao.

Important:
Antes de pôr o aparecido a funcional, leia este guía de instalação e de'utilização atençao para se familiarizar mais rapidamente com o seu funciona.
PTÍNDICE
- Instruções de seguranca 59
- Protecao do ambiente 60
- Descrição do aparecido 61
1 /INSTALACÇÃO DO APARELHO
- Escolha do local de instalação 62
- Encastramento 62
- Conselho para o encastramento 63
- Líguação eletrica 63
Ligao do gas 64 - Mudança de gás 66
2 / UTILIZACHO DO APARELHO
- Descrição da parte de cima 70
- Acendimento dos bicos de gás 71
Recipientes adaptados aos bicos de gás 72
3 / MANUTENÇÃO CORRENTE DO APARELHO
- Limpar o aparelho 73
4 / MENSAGENS ESPECÍFICASE INCIDENTES
- Durante a utilização 74
5 / TABELA DE COZEDURAS
- Guia de cozedura a gás 74
6/SERVIçoPOS-VENDA 76
INSTRUÇÉS DE SEGURANÇA
PT
INSTRUÇÉS DE SEGURANÇA
-Esta placadecozinhafoiconcebidaparaumautilização porparticularuesumahabitação.
-Esta placadeve ser instalada em conformidade com a leiislaço em vigor eutilizada unicamente em locais bem ventilados.Consulte this guia antede instalar e deutilizar o seu aparelho.
-
As cozeduras devem ser realizadas sob a sua vigilancia.
-
Estas placas de cozinha destinam-se exclusivamente à cozedura de bebidas e geleiros alimentícos e não contentem qualquer componente à base de amIENT.
-
Este aparecido não está ligado a nenhum dispositivo de evacuação de produits de combustão. devendo ser instalado e ligado de acordo com os regulamentos em vigor. Dedicar especial atençao as dispositions aplicáveis em materia de ventilação.
-
Não guarde no molev situado sob a placar de cozinha produits de LIMPEZA ou PRODutos INFLAMÁVEIS (pulverizadores ou recipientes sob pressão, papés, livros de receitas, etc.)
-
Se utilizes alguma gaveta situada por baixo da plac, é conveniente não guardar objectos sensíveis ao calor (plácicos, papeis, bombas de aerosós, etc...).
-
Antes de qualquer intervencao, desligea a plac da alimentacao (elcctrica e gas).
-
Se ligar apareiros electricos a uma tomada situada perto da plac, assegure-se de que o cabo de alimentacao não entra em contacto com as zonas quentes.
-
Por quostoes de seguranca,deois de cada
utilização,nao se esqueça de fechar a valvula
de commando geral do gás canalizo ou a
valvula da botija de gás butano/propano. -
Estas placas está assinaladas com a marca de conformidade CE.
-A instalacao da placaré reservada aos instaladores e&Tecnicosqualitys.
- Antes da instalacao, certificque-se da compatibilidade das condições de distribuição local (natureza e pressao do gás) e da regulação da plac.
-Esta placadecozinha cumpresos requisitos da norma EN 60335-2-6 relativa ao aquecimento dos moveis e da classe 3 no respectante a instalacao (conforme normal EN 30-1-1).
Atença As concido
inscritas não so na etiqueta existente na sola, mas también na embalagem.
Para no futuro encontrar fácilmente as referências do aparelho, aconsehamos a que as aponte na网页 "Serviço PóS-Venda e Relações com o Consumidor" (this pagsina también lhe indica onede encontrar as referencia no aparelho).
PT PROTEÇÃO DO AMBIENTE
PROTEÇÃO DO AMBIENTE
- Os materiais de embalagem deste aparelho são recicláveis. Por也是如此, participe na reciclagem dos mesmos e contribua, assim, para a proteção do ambiente, depositando-os nos contentores municipais previstos para este efeito.

- O seu aparelho contentemente inúnumeros materiais recicláveis. Por esta razão, está marcado com este símbolo a fim de lhe indicar que os aparehos usados não devem ser misturados com os restantes resíduos. A reciclagem
dos aparelhos organizepeelo fabricante sera,pois,efectuada nas melhores condições,de acordo com a directiva europeia 2002/96/CE sobre os resíduos de equipamentos electricos e electrónicos. Dirija-se à-camera municipal da sua residência ou ao seu revendedor para conhecer os pontos de recolha de aparelhos usados,localizados mais perto da sua residência.
- Agradecemos, desde ja,a sua的合作acao na protecao do ambiente.
- DESCRIÇÃO DA PLACA DE COZINHA

Conselho Este guia d
Este guia de instalacao e de utilicao é valido para diversos modelos,elo que esposivel que constate algumas��enias diferencas entre a sua plac e as presentes descriacoes.
PT 1 / INSTALLação DO APARELHO

| APARELHO | |||
| Largura | Profundidade | Espessura | |
| Corte armário padrão | 56 cm | 49 cm | segundo|móvel |
| Corte armário recomendado | 56 cm | 48 cm | segundo Móvel |
| Dimensores totais por cima da bancada de trabalho | 71 cm | 52,2 cm | 5,5 cm |
| Dimensores totais por baixo da bancada de trabalho | 55,4 cm | 47 cm | 3,4 cm |
- ESCOLHA DO LOCAL DE INSTALLação
A plac de cozinha deve ser encastrada no tempo de um móvel de suporte com uma espessura minima de 3 cm, fabricado com materiais resistentes ao calor, ou então revestido com materiais que possuem esse tipo de caracteristicas.
Para não dificultar o manuseamento dos utensílios de cozinha, evite colocar, quer à direita quer à esquerda da placá, um|móvel ou uma parede a menos de 30 cm这其中.
Se colocar uma divisória horizontal por baixo da plac, esta deve situar-se imperativamente entre 10 cm e 15 cm em relaçao à parte superior da bancada de trabalho. Em todos os casos, não arrume pulverizadores nem recipientes sob pressão no compartmento que possa eventualmente existir por baixo da plac (ver capítulo "Instruções de segurarca").
- ENCASTRAMENTO
De modo a garantir a estanquidade entre a placá e a bancada de trabalho, cole a junta fornecida na bolsa antes da instalação da placá:
Respeitar as indentações do esquema (Fig. 01).
- Retire as grelhas de suporte das panelas, os chapéus dos bicos e as cabecas dos bicos, sem se esquecer de anotar as respectivas posições.
- Vire a plac e coloque-a com precauacao em cima da abertura do mover para nao danificar os botoes nem as velas de acendimento.
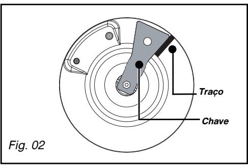
- Para garantir a boaVEDaçaoentre o carter e a bancada de trabalho,cole a junta de espuma no contorno exterior do carter (Fig.02).

1 / INSTALLação DO APARELHO
PT
CONSELHOS PARA O ENCASTRAMENTO


Patilha de fixação

-
Coloque a placá de cozinha na abertura do molevel de suporte, tendo o cuidado de puxar a placá para si.
-
Instale as cabecas dos bicos, os chapéus e as grelhas de suporte para as panelas.
Ligue a placarao systemadegas (ver capitulo "Ligacao de gás")e a corrente electrica (ver capitulo "Ligacao electrica).
-
Se desejar, poderá imobilizar a placar com as quatro patilhas e os parafusos fornecidos (Fig. 02), que se fixam acos quatro cantos do carter. Utilize obligatoriamente os orificios previstos para este efetu, conforme indicado na imagem acima (Fig. 01).
-
Pare de enroscar quando a patilha começar a deformar-se.
Não utilizes aparafusadora.
LIGAÇAO ELECTRICA
A placà delve ser ligada à rede 220-240 V~ monofásica atraves de una tomada electrica de 2 pólos + terra) normalizada CEI 60083 ou de um dispositivo de corte omnipolar, em conformidade com as regulamenteções em vigor.
A ficha da tomada de corrente deve ficar acessivel antes a instalacao.
| SECCÇÃO DO CABO A UTILizar | |
| 220-240 V~ - 50 Hz | |
| Cabo H05V2V2F -T90 Ref. SPV: 77x9060 | 3 condutores entre os quais 1 para a terra |
| Secção dos condutores em mm2 | 1 |
| Fusível | 10 A |

Atença
O fio de protecao (verde/amarelo) é ligado ao borne de terra 12 do aparelho e deve ser ligado ao borne de terra 12 da instalacao. O fusivel da instalacao deve ser de 10 amperes. Se estiver danificado, o cabo de alimentacao devera ser substituido por um cabo ou por um Conjunto especial, que podera ser adquirido muito do fabricante ou do seu Servico Pós-Venda.

A utilização de um fogão a gás occasiona a redução de calor e de humidade no local de ventilação. Por lsso, certificado-se de que a sua senha tem um bomsystemadeventilacao: a tenha abertos os orificios de ventilação, rural da sua residência ou instale um positivo de ventilação mecânia (exaustora de ventilação mecânia). O uso intensivo es longado do aparecido pode necessitar de um ventilação complementar, comoAbrir a ia oucriarumaventilação mais eficaz,ou可以使 fazer a potência da ventilação meânia,se estaexistir.(é necessario um o minimo de ar de 2m^3 /h por kW de ventencia de gás).
Exemplo:70 cm-4 bicos de gás +1 disco electrico
Potência total: 0,85 + 1,5 + 2,4 + 3,3 = 8,05 kW
8.05 kW x 2 = 16.1 m³/H de
débito minimo.
PT
1 / INSTALLação DO APARELHO
LIGACAO DO GAS
- Notas preliminares
Se a placá de cozinha estiver instalada por cima de um forno ou se a proximidade de outros apareiros produtores de calor, pode provocar um risco de aquecimento da ligação, é obligatório uma ligation com tubos rígidos.
No caso de se'utilizar um tubo flexivel ou um tubo malevel (como é o caso do gás butano), este não deverá entrada em contacto com partesMOVEDos armario nem passar em zonas que possam ser obstruções.
A ligação do gás deve ser realizada em conformidade com a legisção em vigor no País da instalação.
Gás distribuído por canalização de gás natural, ar propano ou ar butano
Por quostoes de seguranca, outilizador devera escolher exclusivamente una das 3 segunte ligações:
Ligação com tubo rígidom cobre com encaixes mecânicos aparafusáveis (apelacao da norma de gás G1/2).Efectue a ligação directamente na extremidade do cotovelo montado no aparelho.
- Ligação com tubo flexível metalico (inox) ondulado com encaixes mecânicos aparafusáveis (em conformidade com a norma NF D 36-121), cujo tempo de vida é ilimitado (Fig. A).
Ligaço com tubo flexivel em borracha reforçada, com encaixes mecânicos aparafusáveis (em conformidade com a norma NF D 36-103), cujo tempo de vida é de 10 anos (Fig. B).

Atença So quando
Se quando efectuar a ligação de gás da placá, tiver de mudar o sentido do cotovelo montado na mesma:
① Substitua a anilha de estanquidade.
② Aperte a porca do cotovelo, semultrapassar o binario de aperto de 17 N.m.
1 / INSTALLação DO APARELHO
PT
- Gás distribuído em botija ou reservatório (gás butano/propano)
Por quostoes de segurancaa, outilizador devera escolher exclusivamenteuma das 3 seguintes ligaoces:
-
Ligação com tubo rígidom cobre com encaixes mecânicos aparafusáveis (apelação da norma de gás G1/2). Effectue a Ligação directamente na extremidade do cotovelo montado no aparelho.
-
Ligação com tubo flexível metalico (inox) ondulado com encaixes mecânicos aparafusaveis (em conformidade com a norma NF D 36-125), cujo tempo de vida é ilimitado (Fig. 01).
-
Ligação com tubo flexível em borracha reforçada, com encaixes mecânicos aparafusáveis (em conformidade com a norma XP D 36-112), cujo tempo de vida é de 10 anos (Fig. 02).
Nas instalações já existentes, é possível utilizear um tubo flexível equipado com braçadeiras de aperto (em conformidade com a norma XP D 36-110) cujo tempo de vida é de 5 anos. Nesse caso, é necessário utilizear uma extremidade, sem esquecer de colocar uma anilha de estanquidade entre a referida extremidade e o cotovelo da placá (Fig. 03).
Conselho A extremado
A extremidade e a anilha de estanquidade podem ser adquiridas muito do Servico Pós-Venda.
Atençao
Aperte a extremidade sem ultrapassar um binário de 25 N.m.

Anilha de estanquidade (não inclua)
B Extremidade (não inclua)
C Braçadeira de aperto (não incluída)
Atencao
Todos os canos maleaveis e tubos flexiveis bajo tempo de vida é limitado devem ter um comprimento máximo de 2 metros e estar acessveis em todo o seu comprimento. A substituição dosleasedochevefectuar-se antes de atingida a data limite deutilização (indicada no tubo).Aposa instalacao, e independenteamento do meio de ligação escolhido,verifique a estanquidade da ligação,usandouma solucao deágua e sabão.
Em Franca, devem ser'utilizados canos ou tubos assinalados com a marcae NF Gaz

PT
1 / INSTALLação DO APARELHO
MUDANÇA DE GÁS
Atença Estaplaces
Esta placacdecozinhaefornecida
previamente regulada para o gás natural.
Os injectores necessários para a adaptação aos gases butano/propano encontrar-se na Bolsa que contente this guia.
Conselho Em Franca.
Em Franca, esta placarlemayser adaptada ao ar propanado/butanado.A saqueta de adaptação é fornecida mediante pedidoleo seu Servico Pós-Venda.
Em cada mudança de gás,deerasuccessivamente:
-Adaptar a ligaçao do gás
- Substituir os injectores
- Regular os redutores das valvulas.
-
Adapte a ligação do tipo de gás: consulte o parágrafo "Ligação de gás".
-
Substitua os injectores, procedendo como seooter:
Retire as grelhas, os chapéus e as cabecas de todos os bicos.
-Com a chave fornecida, desaperte os injectores situados no fundo de cada vaso e(depis retire-os (Fig. 01).
-Instale os injectores do gás correspondente no lugar dos anteriores, colocando-os de acordo com as indications dos injectores e daabela das caracteristicas do gás; para tal: - Aperte-os primeiro manualmente até bloquear o injector.
—Depois,aperte bem os injectores com a chave.
-Com um lápis, fora umtraço na placade formalha,tal como indicado(Fig.02). - Rode a chave no sentido dos ponteiros do relógio até otraço aparecer no outras lado (Fig. 03).
! Atença Não ultrap
Não ultrapassar este limite para não
correr o risco de danificar o produto.
- Montar novamente as cabecas dos bicos, os chapéus e as grelhas de suporte das panelas.
Conselho
Ver parágrafo "Ligação de gás"
correspondente.



1 / INSTALLação DO APARELHO
PT
-
Regular os reductores das valvulas: estes encontrar-se por boaixo dos botões (Fig. 04).
Proceda valvula por valvula.
Retire os botões e os anéis de estanquidade, puxando-os para cima. -
Passagem do gás natural ou ar propanado/butanado para o gás butano/propano
-
Com uma chave de fendas pouco, aperte aAGO o parafuso de regULAÇÃO dos redutores de latão (amarelo) (Fig. 05), no sentido dos ponteiros do relógio.
- Volte a instalar os anéis de estanquidade e os botões, colocando-os de acordo com o seu sentido de orientação. Verifique se os botões está devidamente inseridos.

Botão

Anel de estanquidade

Válvula
Passagem do gás butano/propano para gás natural ou para ar butanado/propanado
- Com uma chave de fendas pouco, desaperte o parafuso de regulacao dos redutores de latao (amarelo) (Fig. 05), desaparafusando 2 voltas no sentido contrario ao dos ponteiros do relógio.
- Volte a instalar o botão.
- Acenda o bico no máximo e passe para a posicao minima.
- Retire novamente o botão e rode o parafuso de regulação no sentido dos ponteiros do relógio até obter a posicao mais baixa antes de as chamas se extinguirem.
- Volte a instalar o anel de estanquidade e o botão.
- Faça various exercéricos de passagem de débito máximo para ominimum: a chama não deve apagar-se; se isso suceder, desaperte o parafuso de regulacao até a chama ter umaforcadequada durante estes exercéricios.
-Montar nowamente as cabecas dos bicos, os chapéus e as grelhas de suporte das panelas.

Fig. 04
Parafuso de regulacao dos redutores

Fig. 05

PT
1 / INSTALLação DO APARELHO
- Localização dos injectores
O quadro abaixo indica as implantacoes dos injectores na placar de cozinha, em funcao do gasutilizzato.
O número está assinalado noproprio injector.

Exemplo:
indicação do injector 95
MODELO COM 5 BICOS GÁS*

Gás Natural

Gás Butano/Propano

Ar propanado/Ar Butanado
- Ver capítulo “Descrição da parte de cima da placar.
1 / INSTALLação DO APARELHO
PT
- Characterística do gás
| FR - GBGR - PT | FR - GBGR - PT | FR - GBGR - PT | FR | FR | |
| Aparelho destinado a ser instalado em: | Butano | Propano | GásNatural | GásNatural | Ar propanadoAr Butanado |
| FR.....................cat.: III1C2E+3+GB - GR - PT.....................cat.: II2H3+Fluxo horário abaixoa:a 15°C sob 1013 mbar | G30 | G31 | G20 | G25 | G130 |
| 28-30 mbar | 37 mbar | 20 mbar | 25 mbar | 8 mbar | |
| BICO RAPIDO | |||||
| Indicacao marcada no injector | 78 | 78 | 121 | 121 | 215 |
| Débito calorifico nominal(kW) | 2,25 | 2,25 | 2,25 | 2,25 | 2,30 |
| Débito calorifico reduzido(kW) | 0,850 | 0,850 | 0,850 | 0,650 | |
| Débito horário(G/H) | 164 | 161 | |||
| Débito horário(I/h) | 214 | 249 | 322 | ||
| BICO GRANDE RAPIDO | |||||
| Indicacao marcada no injector | 88 | 88 | 137 | 137 | 340 |
| Débito calorifico nominal(kW) | 3,00 | 3,00 | 3,10 | 3,10 | 2,90 |
| Fluxo calorifico reduzido (com segurança)(kW) | (kW) | 0,850 | 0,850 | 0,850 | 0,780 |
| Débito horário(G/H) | 218 | 214 | |||
| Débito horário(I/h) | 295 | 343 | 406 | ||
| BICO COROA DUPLA | |||||
| Indicacao marcada no injector | 95 | 95 | 147 | 147 | 370 |
| Débito calorifico nominal(kW) | 3,40 | 3,40 | 3,80 | 3,80 | 3,10 |
| Fluxo calorifico reduzido (com segurança)(kW) | (kW) | 1,450 | 1,400 | 1,400 | 1,300 |
| Débito horário(G/H) | 247 | 243 | |||
| Débito horário(I/h) | 362 | 421 | 434 | ||
| BICO SEMI-RAPIDO | |||||
| Indicacao marcada no injector | 62 | 62 | 94 | 94 | 165 |
| Débito calorifico nominal(kW) | 1,50 | 1,50 | 1,50 | 1,50 | 1,40 |
| Fluxo calorifico reduzido (com segurança)(kW) | 0,700 | 0,650 | 0,650 | 0,550 | |
| Débito horário(G/H) | 109 | 107 | |||
| Débito horário(I/h) | 143 | 166 | 196 | ||
| BICO AUXILIAR | |||||
| Indicacao marcada no injector | 50 | 50 | 63 | 63 | C12 |
| Débito calorifico nominal(kW) | 0,90 | 0,90 | 0,85 | 0,85 | 1,00 |
| Débito calorifico reduzido(kW) | 0,350 | 0,300 | 0,300 | 0,350 | |
| Débito horário(G/H) | 65 | 64 | |||
| Débito horário(I/h) | 81 | 94 | 140 | ||
| PLACA COM 5 BICOS DE GÁS COM COROA DUPLA | |||||
| Débito calorifico total(kW) | 11,05 | 11,05 | 11,50 | 11,50 | 10,70 |
| Débito maior(G/H) | 803 | 789 | |||
| 1095 | 1273 | 1498 | |||
- DESCRIÇÃO DA PARTE DE CIMA

TE 270*/- TE 576*/
Bico semi-rápido 1,50 kW ()
B Bico auxiliar 0,85kW()
Bico com coroa dupla 3,80 kW ()
Bico rápido 2,25 kW ()
Bico grande rápido 3,10 kW ()
() Potências obtidas com gás natural G20
2 / UTILIZACAO DO APARELHO
PT
- ACENDIMENO DOS BICOS DE GÁS
Cada bico é alimentado por una valvula cuja abertura é feita, correngando e girando no sentido invenso ao dos ponteiros do relógio.
O punto "●" corresponde ao和地区 yálvula.
- Escolha o bico que pretende usar com o auxílio dos símbolos situados perto dos botões (ex.: Bico dianteiro esquerdo ).
Esta placapossui umsystemade acendimento dos bicos integrado nos botoes.
-
Para acender um bico, corregue no botão e rode-o no sentido inverno ao dos ponteiros do relógio conducindo-o para o Tmaximo
-
Continue aregar no botão para desencadear uma série de faíças até o bico se acender.
Para reduzir o débito, orientar o botão entre o símbolo e o símbolo.
A segurarca dos bicos é materializada por uma barra metalica, situada directamente unto da chama.
Cada bico é controlado por uma valvula equipada com um disposito de segurarque, em caso de extinção acidental da chama (derrame, correntes de ar, etc.), corta rápida e automaticamente a alimentação de gás e impede que este se escape.
Para reduzir o débito, orientar o botão entre o symbolo e o symbolo
Atença - Continua
- Continuar a corregar bem no botão
Para garantir o bom acendimento do bico de coroa dupla, aconselhamos a que o agenda antes de colocar os recipientes.
Quando um botão ficar dificil de rodar, não o force. Solicite com urgência a intervenção do instalador.
Em caso de extinção acidental da chama, basta acender de novo normalmente, seguido as instruções de acendimento.
PT
2 / UTILIZACAO DO APARELHO
- RECIPIENTES ADAPTADOS AOS BICOS DE GÁS
- Que bico utiliser em funcao do recipiente?
| Diàmetro do recipiente | Diàmetro do recipiente | Uso |
| 20 a 30 cm | Coroa dupla | |
| 18 a 28 cm | Grande rápido | Fritos - Fervura |
| 16 a 22 cm | Rápido | Alimentos a fritar rapidamente |
| 12 a 20 cm | Semi-rápido | Molhos - Aquecidonto |
| 8 a 14 cm | Auxiliar | Apurar |
Algumas placas de 5 bicos de gás está equipadas de uma grelha de suporte especialica tipo "WOK" (Fig. 01) apenasutilizando no bico central "Coroa dupla".Esta grelha tipo "WOK" permite a utilização de recipientes de fundocconcavo. Combinada com o bico de "coroa dupla", esta grelha permite uma melhor reparação da chama nos recipientes de grande dimensão, como os woks e os recipientes para arroz à valenciana.


Atença -Ajuste a
a que estas não exceedam o contorno do recipienthe (Fig. 02).
-
Não utilize recipientes de fundo concavo ou convexo sem o suporte adequado (Fig. 03).
-
Não utilize recipientes que cubram parcialmente os botões (Fig. 04).
-
Não deixe funciona os bicos de gás com recipientes vazios.


3 / MANUTENÇÃO CORREnte DO APARELHO
PT
LIMPAR O APARELHO
| LIMPEZA | COMO LIMPAR? | PRODutos/ACCESSÓRIOS A UTILizar |
| Das velas e dos injectores | Em caso de engorduramento das velas de acendimento, limpe-as com uma escovinha de pêlo duro (não metálica). O injector de gás encontrar-se no centro do bico em forma de vaso. Durante a limpeza, tente não obstrui-lo,.POIS ISSO perturbaria o desempinho da plac. Em caso de entupimento, utilize um alfinete para desobstruir o injector. | . Escovinha de pêlo duro. . Alfinete |
| Das grelhas e dos bicos de gás | Em caso de manchas persistentes, utilize um detergente em creme não abrasivo e(depais enxague com água limpa. Limpe cuidadosamente as diversas peças do bico antes de voltar a utilizes a plac de cozinha. | . Detergente suave em creme para esfregar. . Esponja sanitária. |
| Do esmalte ou do aço inoxidável | A limpeza da plac torna-se mais fácil se for feita antes do arrefecimento total da mesma. Para limpar o esmalte da plac, utilize um detergente de limpeza em creme e dê e. dê brilho com um pano seco. Não deixe permanecer liquidos acidos, tais como sumo de limão, vinagre, etc. durante muito tempo no esmalte. Para limpar as partes de aço inoxidável da plac, utilize uma esponja molhada em água dilúida com um detergente suave ou um produits do comércio especial para aço inoxidável. | . Detergente suave em creme para esfregar. . Produto especial para aço inoxidável à vendna no comércio. |

Atença
Nunca limpe a placapenquanto esta estivera funcionar.Deslige todos os comandos electricos e todos os comandos de gás.

Conselho
Lave, de preferencia, os elementos da placà a mão em vez de os lavar na máquina de lavar louça.
- Não utilize o esfregão das esponjas para limpar a placá de cozinha.
- Não utilizeirasinaes delimpeza a vapor.
PT
4 / MENSAGENS ESPECÍFICAS E INCIDENTES
DURANTE A UTILIZACAO
| SE CONSTATAR QUE: | O QUE SE DEVE FAZER: |
| · Acendimento dos bicos Não há falcas ao se correbar nos botões. | Veríque a ligaçao eletrica da placac de cozinha. Veríque se as velas de acendimento está limpas. Veríque se os bicos estoadimpos e bem montados. Se a placac estiver encravada na bancada de trabalho, veríque se as patiñhas de fixação não está deformadas. Veríque se os anéis de estanquidade situados por baixo dos botões não está para do siteio. |
| · Quando se carrega num botão, há producao de falcas em todos os bicos ao mesmo tempo. | É normal. A funcção de acendimento é centralizada e comanda todos os bicos em simultâneo. |
| · No minimo, o bico apaga-se ou então as chamas são importantes. | Evite fortes correntes de ar na cozinha. Veríque se os injectores instalados correspondem ao gásutilizando (ver localização dos injectores no capítulo "Mudança de gás"). Nota: as placas de cozinha vém predefinidas da fábrica para o gás canalizando (gás natural). Veríque se os parafusos está devidamente regulados no minimo (ver parágrafro "Mudança de gás"). |
| · As chamas tém um aspecto irregular. | Veríque o estado de limpeza dos bicos e dos injectores situados por baixo dos bicos, a montagem dosleasedmos, etc... Veríque se a botija tem gás suficiente. |
| · Durante a cozedura, os botões ficam quentes. | Utilize panelas preocupas nos bicos situados perto dos botões. Os grandes)."recipientés devem ser colocados nos bicos maiorres, os mais afastados dos botões. Colocar as panelas bem no centro do bico, sem que estas=qiquem em cima dos botões. |
| Se a placac estiver providao do dispositivo de seguranca do gás: quando se acumbe a placac, as chamas acendem-se e,deois, apagam-se de imeditado assim que se deixa de premir o botão. | Carregue bem nos botões eutenha a pressão durante algumas segundos après o aparecido das chamas. Veríque se as peças do bico está bem instaladas. Veríque se os anéis de estanquidade situados por baixo dos botões não está para do siteio. Evite fortes correntes de ar na cozinha. Acenda o bico antes de colocar a panela. |
5 / TABELA DE COZEDURAS
GUIA DE COZEDURA A GÁS
| PREPARACOÉS | TEMPO | COROA DUPLA | GRANDE RAPIDO | RÁPIDO | SEMI- RAPIDO | AUXILIAR | |
| SOPA | Caldos | 8-10关键时刻 | X | X | X | ||
| Sopas espessas | |||||||
| PEXE | Cozido | 8-10关键时刻 | X | X | |||
| Grelhado | 8-10关键时刻 | X | |||||
| MOLHOS | Holandés, Bearnês | 10关键时刻 | X | X | |||
| Bechamel, aureô | X | X | |||||
| LEGUMES | Endívias, espinações | 25-30关键时刻 | X | X | |||
| Ervilhas cozinhadas | X | X | |||||
| Tomates à moda provençal | 15-20关键时刻 | X | X | ||||
| Batatas alouradas | X | X | |||||
| Massas | X | X | |||||
| CARNE | Bife | 90关键时刻 | X | X | |||
| Guisados de carne branca, | X | ||||||
| Osso-bucco | |||||||
| Escalopes frutos | 10-12关键时刻 | X | |||||
| Tournados | 10关键时刻 | X | X | ||||
| FRITOS | Batata fritta | 90关键时刻 | X | X | |||
| Rissóis | X | X | |||||
| SOBREMESAS | Arroz-doce | 25关键时刻 | X | X | |||
| Compotas de fruta | X | X | |||||
| Crepes | 3-4关键时刻 | X | X | ||||
| Chocolate | 3-4关键时刻 | X | |||||
| Leite-creme | 10关键时刻 | X | |||||
| Café (cafeteira pequena) | X |
NOTES
PT
Qualquer intervenção no seu aparecido deve ser realizada:
-querpelo seurevendedor,
-quer por otheroprofessional qualificado autorizzato pela marca.
Ao chamá-los, indique a referencia completeness do seu(AParalho (modelo, tipo e numero de série).Estas informacoes figuram na placacde identificacao fixada no aparelho.
ManualFácil