STV944B - εστία κουζίνας SAUTER - Δωρεάν εγχειρίδιο χρήσης
Βρείτε δωρεάν το εγχειρίδιο της συσκευής STV944B SAUTER σε μορφή PDF.
Ερωτήσεις χρηστών για STV944B SAUTER
0 ερώτηση για αυτή τη συσκευή. Απαντήστε σε αυτές που γνωρίζετε ή κάντε τη δική σας.
Κάντε μια νέα ερώτηση σχετικά με αυτή τη συσκευή
Κατεβάστε τις οδηγίες για το εστία κουζίνας σε μορφή PDF δωρεάν! Βρείτε το εγχειρίδιό σας STV944B - SAUTER και πάρτε ξανά την ηλεκτρονική σας συσκευή στα χέρια σας. Σε αυτή τη σελίδα δημοσιεύονται όλα τα έγγραφα που απαιτούνται για τη χρήση της συσκευής σας. STV944B της μάρκας SAUTER.
ΕΓΧΕΙΡΊΔΙΟ ΧΡΉΣΗΣ STV944B SAUTER
Σας ευχαριστούμε που αγοράσατε τις εσπίες αερίου BRANDT.
EN 39
XpouoovTc Tnv TExvoywoia , Dnoupyoae Tn oukeun auTne uepakipokivotai Pnpooc Tcavayecosac. O xediaooc nC oukeunoc auvduzEi Tnv Kaivotoia kai Tnv aouykpiTn antodoon me Tv Eukolia oT npohn.
PT 57
H npoiovw mC BRANDT eianc mia n Tniklia afovpw uKpokuataWv, aToppoepntipwv, nEKTPIKW KOUZIW, PAAVTnpiw PiATW, OTeyvwtnpiow poxw, yuyeiWkai kataauktwv Tov mTopeite vα ouvduoetε μe TM vεa εσια σaC BRANDT.
Eπιοκεφθειτε έπιοης τη δικτυακή μας σελίδα www.Brandt.com προκεμένουν αν ευημερωθειτε για τα προίόντα μας καθώς και για αντλήσετε χροσμες επιπλέουν πληροφόρίες.
BRANDT
www.brandt.com
Mepuuvvtauayia n ouveyn baeliow twpv npoiovw uac, eunuasaosouaote Tavrc dikawmuotc oxetik a mTv pontoinon twv texvikw, aeitoupyikw v aiothnukov xapakntpiotikwv tou nou utayopeveta tno mv texvoayikn
A Irhoosoo:
Piv oesTe m oukeun oe aeitoupyia npapakaleote va diaaote pnoektikac utec Tc odnyie c wte vxa eokwthetaite nio ynpyopa mT ae tleitoupyia ms.
EL έπεριχOMENA
Kavovc aocphialeic 23
- PpOoTaoia Tou TepiBaaovtoC 24
- Iepiypaoi n ts ouokevuig oac 25
1 / EΓΚATAΣΤΑΣΗ ΘΗ ΣΥΣΚΕYΣΗ ΣΑΣ
- Eπλογή του σημειου τοποθέτησς 26
·EvtoiXioo 26 - Σμβολες εντοιχισμου 27
Hektpkouv8eon 27 - v 1e to diKTuO aepiou 28
AlambdayEiδoucαεpiou 30
2 / XPHΣH ΘΣ ΣYΣKEYHΣ ΣAΣ
- Iepiyrhoqnt mcs Epiavw oyns 34
- Λειουργία των εστιών αερίου 35
- 36
3 / BAZIKH ΣYNTHPHΣH THΣ YΣKEYHΣAΔ
- 37
4 / MIKPEΣ BΛABEΣ KAI ΛΑΣΑΕΙΟΥΡΙΕΣ
·Kata m xipom mS ouokevnC 38
5 / EΣTIEΣ AΕPIOY
-ObnyieC yia ayeipεμα με αεpio 38
6 / YNHPESIA EYINHPETHSH ΠEΛATΩN
76
KANONEZA∑ΦAΛEIA
EL
KANONEA AAEIA
-H eotia oac exi oxediaoet iia xpnoouitai aTTO lWTEc OTOV TOTKOtaikiac Touc.
-Autn Ouakeun TpTei va EykcoiotaoumuovvaE touc loxovtecs KavoviooucKai va Xpnoioutoieitau movo e npn kao 2eepaO. DiaBcote TpooeKTkaTcOnyie c uotec Tpv mV EyKatOtaon KaTmXpOn mC ouakeunoc
-To ip πpεTTI vα TpαγμαTOnIOεiα TAVTα UTo TmV Eπiβλεησα.
-Autc oEOTIE TPOOPIoVTau ATOKLeIOTk yia TO mayeipema TPOimuW KAI afeuHAtwv KAI DEV TEpiexov KavEv a SuOTaIKo e BaoTov auiavTo.
-Autn Ooakeun dev ouvdeetai e diatae Ekkewwnc Twv Pioovtwv kaoung. PpETe va EykataaTaei kai va ouvdetheta i ufoowu a e Toussxuovte c Kavovioouc. PpETe va 0dothe idiatepn Ppooxn otic oXuouoe diataeic oxetik aevtov Eeepioo.
-Mnv fuAooTe eo a oTtio Tou Bpioketai kTuO aTo mTv eoia oTPOIOVTA SYNTHPHsE n EYFAEKTA IPOIONTA (yeKaotnpaC h doxio uto trien, xapria, BiBlaia ouvtayw..
-Eav xpoiooioite eva ouptapoi ToTIOeTNUEVO kATOWA TO MV EOTIA, mV u OE ATOA vTKEIeVA TOU EV eivai AVeKTiOa OE uynAEg Eepokpaoie (TIAOTKAc vTKEIeVA, XAPTA, DOXEA UTO TIEOM, K.AT...
- Piv OTOIAOHTIOTE TAPeβaON OTNv EOTi, BεβaIωθεIe Θι δεν εIVα Ouvδδεμενη με TnV TpoΦoδoia (nλεκτρική αερiou).
-OTav Ouvodete ηeKtpikec oukeuec μe iα Kovtivn Tapoxn pEuAcoTc, βeaiwthei eOTo Kaawio Tpofoobooia cEv Epxetai oE eTalpha mEePcaivovvec ETTaivec.
- Ia loyouc aocaaiaic, eTAcTo KcOe XpOn, mV ExVATE vKAEivTe m YeviKn TApoxn aepiou n mV TApoxn Uypaepiou Boutaviou/PToTaviov tsphiAaNc.
-Oi eotiec fepouv Tn oun OuaBcTmTcC CE.
-H 2yKατασαση πρεπει vα
TpaaymuToTOIEiTaI cTOKAIOTKa CTO 8E1dikuEvouc TeVkoUc.
- IVyEYKAToTOnBepaiWTeiTe oI ou ovTheKc Tou ToTKou DkTuou aepiou (foon kai Tiieon aepiou) evoi OuaβaTeC μe Tic puOmuiei ts oukeu.
-Autn n eotia eivai ouuphiwn u e T PpOTUTo EN 60335-2-6 avxphiipka u e T hepuavon tow T apekieuev w ETTAW K a u e Tnv kATnyopia 3 oov aphiop a T N V EYKATaOtaon (ouuphiwva u e T PpOTUTo EN 30-1-1).
Ppoooxo Oouvtheta
avaypaoovra otnv etekta nou
bpiokeia eoa otn thn knt woc emionc
kai eTavw
i
PpokieevovvaavtpexeMEukolia
oTouckwduocvaaphopac Tns
Ouokuneoac,ocapntoeivoumeva Touc
Oneiwotn oelia "Ympoeia
Evtmpentno nelaatow" (oaeunm
oelia uToDekuvvctai enionc to onmuio
oToOnio avaypaoovraeNAnw otn
Ouokuneoac).
EL IPOZTAIA TOY IEPIBAAMONTO
- IPOSTAZIA TOY IEPIBAMONTO
-Ta uliko oukevuaiaoc autis Tc
oukeunc evai avakukawuia.MTOpTe
va oumuetaoxete ot diaikacia
avakukwongc, evantohtovtac ta ulik
oukauiaoc touc iokouc kdouc Tou
thetai ot diaxoon oac o denooc ac, ka v
oubetaalete katov topTo Otv
TPOTAIA TOIeipalovtoC.

-H ouokevun oac Tepiexei Etnionc TOnAa avakukwouuKα H ouokevn fepel ouveTtOu loyotutto Tpokemevou vaooc UToBxi
XpnooTOnIeVS OuaKeVc6ev
πPéTEi va evAnTiEvTa iαzi με αλλa
aToppipmuata. O kataoKeuAoTns Tov
ouakeuow opayawvei, uTo Tc KaLutepecs
ouvθke, Tny avakukwot Touc,
ouphiwa μe Tny eupwntaikn obnyia
2002/96/EK oxetikα με Ta aTtobλntα εδωv
nλektpkou kai nλektpovikou EgoTIAOuO
AteuOuvTeite oTo dnmo oac n otov
eUtopiko oac cvtnpOswTO pPokeμevou
va evnepwoite oxetikα με ta onmuia
TIepoulloyngTwv xpooiTOnIeVw
ouakeuw, Tou βpiokovtai KovTa OTNV
katoikia oac.
- EUXAPIOUme yia m OuMBoaI nOAC oTmV PPOoTAOIA Tou TepiAALovTOc.
- ΠΕΡΑΦH TΩN EΣΤΙΩN


Kαλμμα εσιας

Σπινθηπροτής

OTeYavOTnTac

Kefaai n eotias

OeipuOzEuvoc (ouvtloe aocfoaio)

TpOΦVyα

Akpocuoio yxuom

PiotpfoEvoc diKOTTt

Euvoula
Autec oI odnyiec EYkataoans Kau Xpnois loxouuv yia diaphopa movtela.
Evexetua napatnpnoe Tepkeic diofoptouoie oov apop m aeitoupyia kau
Tov Eonlaioo nC ouokueiC oac e oxeon e Tc npouoiocovra.
EL 1/ EKATAZTAZH THZ YZKEYHZ ZAZ

| ΣΥΣKEYH | |||
| Φάρδος | Βάθος | Πάχος | |
| Κανονικό ανογιμα επιπλου | 56 εκ. | 49 εκ. | ανώλουγα μέ TO επιπλο |
| Ανογιμα επιπλου Συμιστώμενο | 56 εκ. | 48 εκ. | ανώλουγα μέ TO επιπλο |
| Διαστάσεις επιλω ατήο του πήγκο εργασίας | 71 εκ. | 52,2 εκ. | 5,5 εκ. |
| Διαστάσεις κάτω απήο του πήγκο εργασίας | 55,4 εκ. | 47 εκ. | 3,4 εκ. |
- ENIANOHT TOY ΣHMEIOY TONTOETHΣH
H oukeun oac npertie va evtoixotei otnv Etniaea (Taouc Touaxiotov 3 ek.) Evoc Ettoua tio uko avthetakiok eynlae epuokpaoies n to oio exEitikauum aTo Tapopoilo uko.
Ppokkeevou va xepieeote eukolia ta
maeyepika oekun, 0v 0a TpeTc i va
totothtei kaveva etinlo n etiiaea 0e
aioToaon TouAixotov 30 ek. dEgia n
apiotepa mSc eotiac.
Eav kawto mv eotia utapxel eva opioovtro wipua, auto thpietie va tototheiota 10 EwC 15 ek. oxeon me to kawu tmua ts eotias. 2e kaTe npittwn, mnu pfuaosote yekootpoc n doxieia uTo pieon oTo tmua Tou vdoexetai va utapxel kawto tvn eotix (Bλ. kefaalao "Kavovec caphialeic).
ENTOIXIEMO
Ia viaoaoaioeTe n oteyavotnTa eTu TcEOTIC Kau Tou PAtkou Epyaoiac, Tpv MV EYKATOaTn Tc, KOaHOTe To Taepuuaa Tpu Bioketai Otnhkn:
Σμφωνα με το σχδιο (Eik. 01).
-AIOJauKpuVETcOxApEcTou OmpiQuv TcOKEun, ta KaUmuTaTswEOTW KAI TIC
keaies twv eotiw, Evotitioovtac n Theon Touc.
-
TupioTe avAntoTa mTv eotia PpooeovTac va mnu TpokaloeTe BAn OTOUC TepiTpepoEvouc diakottc kai OTouc OTIVnptoiTeC.
-
_ va e Tn OTeyavotnta
muTuO EeWTEpIKoK KALUUMACOTc KAI TOU
Taykou Epyaic, KOANOTe TO
TAPeMuuaOa OTNV TEplIETPO TO
EeWTEpIKoKaaluMACOTc (Eik.02).

1/ ERKATAZTAZH THE ΣΥΣKEYHΣ ΣA
EL
- ΣYMBOYΛE Σ ENTOIXΙΣMOY



Egapmua oTepeewom
Tortotheimote mv eotia oTo ovolua Tou etinilou omipnC, povvtocvac tpaeete mv eotia tipoc to mepoc oc.
-TOTTOETNTE TIC KEPAEcs TOW EOTIWV Tc KALUmuata KAI TIC OXApEc OTnIpEnS TOW SKEUVW.
Συνδεστη Μν εσια σας με το δικτυο αερίου (ανατρεξτε στο κεφαλαιο “Συνδεση με το δικτυο αερίου”) και με το ηλεκτρικό δικτυο (ανατρεξτε στο κεφαλαιο “Hλεκτρική συνδεση”).
Mtopeite va oTaeponoTe, eav
etiuyie, mv eTia me m Bontheia TwV
Teaoapwv Eaaptmawv Otepeowntou ooc
Tapeoxovta uadmu Tc BicceTou (Eik.02)Kai
Ta otioa stepeewovtro nC Teoepic ywies
tou ExTEpOKU KALumuTOc
Xpaouotoutote OTwoothnote tOtEs Tou
exouv TpoBaeheia xu To kOtTO auto
oupwxa Me to TApatwos Oxedio (Eik.01).
-∑αμεπησεναβδωνετεοτανtoεΦρμασ Θερεωπκαργειλνταρομρδωνετα.
Mn xpoaortoierte nAektpko katoaobl.
HAEKTPIKH SYNNEESH
To kawio troofoooiaoc mEotiac aC TpETeIvaouvdeTeaiePoeoaoKdoBkTuO 220-240V\~eouw diNkptuKns
Tpofooioic 2 TIOLOUC KAI YEICOWI
OuMooVAe To TPOPTU OCEI60083 n eo
MIAC dAIOACNc eauTOAUTO DIAKOTTN
OuMooVAe TEOUCTIOXUVOTECKAVOVIOUOC.
Φροντισενα ἐχετε πρόσβαση στο φις τροφδοσίας μετα Μυ εγκατασταση.
AIATOMH KAANAOY IPOX XPHSH
| 220-240 V~ -50 Hz | |
| Kαλωδιο H05V2V2F - T90 Kωδ.Εξμι. Πελ.: 77x9060 | 3 αγωγοι εκ των στοιών 1 γειώη |
| Διατομή αγωγών σε mm² | 1 |
| Ασφάλεια | 10 A |

Pooox
To kαλωδιo προσταοίας (πρασιν/kitpivo) συνδεται με τον ακροδεκηγειωης Φης συμκεύης καλ πρεπεινα συνδεται με τον ακροδεκηγειωης Φης εγκατασταοής. H αφαλείας εκαγκαείας εγκατασταοής πρεπεινα ενικα 10 αμιπέρ. Eαν το kαλωδιo τροφδοσιας εχει φθαρεί, πρεπεινα αντικατασταθει με ενα καλωδιοήμε μία εἰδική διαταξηου διαθέται η κατασκεύσατρια εταρεία η μιπρεσία εξυμπρετηός πελατών Μς.

EuouA
OraivmuayepveTe ME fuuokocepio,
Meyalec TnooTnec 0epmuotnac Kau
Uypaoic Ekliovtau OTOV npiipalovr
Xoo. Povriote N couvax wiaodetra
Kaoa egaepuo: duaqtnore aoxtar
avoiymata fouuknc Egepwong n
tonoertone Mia uynxavkn diataeN (mxaovkoc atoppofo npac).Mia EvroN
Kau npaateranevm xonon mC oukeunc
Evdeexerva aonateE tnnAev eoepuio,
π.x.To avoiuMa Tou npacthupou, N evav mo
anotleoeumtuok Egeepioo n.x.Tnv
augnon ts IOxuc, Tou nuXavkuO
Egapeiou, evv unapxei. (atantetira
npoxh cepa Toulaixiotov 2 m/h avx kW
IOxuoc epiou).
Paxpoxyμα:70εκ-4εσπες αεpiou + 1 ηλεκτρικη
Euvoaui oixuc:
0.85 + 1,5 + 2,4 + 3,3 = 8.05 kW
8.05 kW x 2 = 16,1 m/h ελαχιστης
παροχις αερος
EL 1 / ERKATAZTAZH THZ SYZKEYHZ ZAZ
- ΣYNΔEΣH ME TO ΔIKTYO AEPIOY
Eioxywykec npxnpnoeic
Eav n eotia aac evaiykeatoTne TAVW aio Eva foovo n KOTa 0e 0epuaivouve o wuata ta otioia evdextai va utpebepauovuvm t ouvdoan, uun th a pTei uttoxpewtka va pacymuatotnntei m eo sakno ayyo.
Eav xpoaiotoeite evakutmaTTO aywyo n oawlva (e TepiTTWan Uypaeipou Boutaviou)
foviote v am npextal e Ttto kntto tntnau kai v amnu
eTIOIcTeA to Axx AAVKEIeva.
H ouvdoen m To aepio PpTei va Tpaayatotoine i uuwoa u Touc Kavoviaouc Tn oXouv Otn Xwpa EYkataoanC.
-Φuσικό αέριο μεδω γενικής παροχής,υγραερίο προτα-νιου,υγραερίο βουτανίου
TnV aocaxiaox, pTeTc va EIIaEeTe aTOKIAOTiKa mia aTO TIC TAPAKATOW ouvdeoeic:
- EuVbEoN mE oKApO xAkkv OwAnx
m Eynaxivkouc biowtoC dakTuiaouc
ovmuia kata to npotuTO aepiou G1/2).
PpaymuTOnIOnte m ouVbEoN anTeuTheiaC
omv akn mG evwnc Tuv oWAnvW
mG oukeunC.
-Euvb0n Eukamro Kmuatoeio nEaakooi Owai (avovxiio) uoxuouc ouoouc (ouuΦwvuae to npoturo NF D 36-121), uε aTepiopiomdiapkeia zwiC (Eik.A).
-EuvdeoemEukacmTo oWJv aTTO EVIOXUeVO KAOUTOouk E mXavikouc Bldowouc ouvdeouoc (ouufoova e TO TPOTuTO NF D 36-103), uE diapkeia Zwng 10 Etov (Euk.B).

Npoooxn
Kata mdiapkeia mscovdeoans mc
eotiac oae to aepio, evdxetau va
xpeiaotei va aalaxete mvtateuvon
mnc evomega tsvownhywovtmyoukeun
oc
Aλαξτe to δακτιλιο στεγανότητας.
BldowrTo naxmuadI mC evwOncTwv oWnov, uE pOtnou vA uNv unepbaive 17 N.m.
1/ ERKATAZTAZH THE ΣΥΣKEYHΣ ΣA
EL
- Yypaxepio oε φιαλη ἡ δεξαμενη (βούτανιο/προπανιο)
TnV aOaXeIaOaC, TpETe Vx EITIeEeTe aTOKAOTIKa Mi aATTO Tc TApKaKcTu Ouvdeoeic:
-
EuVbEoN eKApO xAaKiv OwIvX aMxavIOUc BiDwTOUc dakTuIouc (ovuOia KATa TO TPOTuTIO Aepiou G1/2). PpaYmuToTouNTe m ouVbEoN aTeuTheiaoc OTNV aKpN mC EvwnC Twv oWAnV WmS OuaKeUns.
-
T KUmaToeIdn 0wLnVα (avOεiδωT0) με x vikouc BiodWouc Ouvodouc
(σuφωναμε to προτιTO NF D 36-125),με
aTepiopiomdiapkeiaζωns (Eik.01).
-Euvdeon EukamTTO oWAnva cTIO EVIOXUevo KAOUTOouK Mxavkoouc BiodoTouc OUVdeouc (ouufoova uTo TPOJTOXPD36-112),ue diapkeia ZwnC 10 Etov (Eku.02).
Σε μia nôn utápxouσα εykaṭaσtaση, μπopei va xροσμοτοιηθεi εvας εukαμtttoc σωλνας Εξοπλισενος με δακτυλiouς Σωφιξης (συφωνα με το προτινό XP D 36-110), με διαρκεια ζωης 5 ετών. Eivai απαραίπτο σε αυτήν τηριπτωσν va xροσμοτοιηθετε ενα καροφύοι χωρις va πραρβλέψετε va τοτοθετησετε ενα δακτúλio στέγανότητac αναμεσα στο ακροφύοι και τὴν ευωσι τουν σωλήνων της εστίας (Eik. 03).

Euβovλ
To aKpOfoio Kai o dAkrTuioc yavotntac diAriOeVra cno mv npEoi aEvmpemon n eAtoWv.

Npoooxn
EL 1/ EΓΚΑΤΑΣΤΑΣΗ ΘΗ ΣΥΣKEYHΣ ΣΑΣ
- AʌʌʌΓH EΙΔΟΥ Σ AEPIOY
Ppoooxn
H ouokevun oac _ npo-puotetviα nouvdoen μe φuokα epiio.
Ppokémuevou n oukeun yα npooaepoetri oTo boutavio/npontvio, xonoumountoe ta akofouia eYxuonc nou ploikovtca oTn oKn nn PnEpiexcuatcns odnyieC.
EuvouA
Etn Fclaiia, aun n eoia npooaoocetra enionc oro meiyua npontaviov n boutaviou. H hkn n e ta eapnta oopooaoync diatriotaxn tov umpeoiia egumnpentponncnne
Σε καθε αλλayη ειδούς αερίου, πρετιν απροβειτο διαδoxuκα στις εξης ευργεις:
- Ppooaepo0e Tm ouv6oyn e To aepio
-Aλαξτετακροφύσια ὑγχυοης
-PuOoTe Touc Epiβpaδuvτε C TOW σρoφiyyωv.
-
Ppooaepoote m ouvdoem u e to aepio: auvtpeTe OTNV TApaypafo "uovdoem u e to aepio".
-
Aλλαβετα ακροφύσια εγχύης κατα Tòv ακόλουθo τρότο:
-AIIOAOKpuVETe TcOxApEc, Ta KALUmuTa KAI Tc KEoAeC OAWv ToV EOTWv.
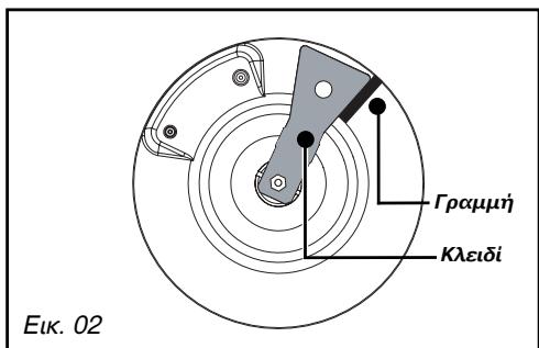
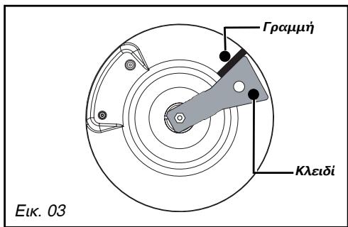
-εβδωτεμ Μ βοήθεια του κλεδιοι του σας τραχεται τα ακροφιοία εγχυσης στο βαθος καθε σετίας και ανασηκωτε τα (Euc.01).
ToTIOtheTne ta aKPOphiia ExyuOns Tou auTioaou aeipou, oMv avaoyn Theoouwva uTou Tov IVaKa xapaktniOtuKow ceipou TnTAPaTiOTetai TTO TELOc Tou Kefaaiou kA OTN ouVexla:
-Bidowotc apxikr tov akpofoio Eyyuonsc Eeipokivto rpoitno eos otou aofoaioi.
ToTIOEeTmTe To KLeiOI TAnwO StO aKpOoFouIo EyyuOnC.
-Me Tn BOnTheia Evoc moAunou TpaBnE Te mia ypaum nTo UToDekvuoEv oOnmu Euc.02
-FugioTe To KLeiDi TPOc TM opa TOW deKtWToTPOAOviou EwC N ypaumv EaΦaViOTe Otv AAnN PIAeupa Tou KLeiDiou (Eik.03).
Ppoooy
Myn utepseite auto to opio kaohc evdoexuva npokaoeote bαβη oto pioiv.
-TOTTOETIOE GAVX TIG KEPOAEC TWV EOTIWV, TA KALUUMATAKAI TIG OXAPES OTNIPIENCS TWV OKUW.
Sigmaβouλη
MTea aTnKoKeAaLaynEiOouc
aepiou,Onmuewote Otnv Euketra,Tou
Bpioketai Meoc oTn OTKN,TO PAAIOIO
TouavntoiXeiOTo EINIEdo aepiou.
AvatpeTe OTNV avtiotoiyn npapypcfo "Uuvoeon eTo aepio".



1/ EKATAZTAH THE ΣYΣKEYHΣA
EL
Pouiote Touc Etnbpovte TOW Opoiyw: autoi Biokovtai Kxw cTTO Tou TEPiOtepeoEvouc dKoTTeC (Eik.04).
- PuθμioTe δixδoxuKα κxθε σtpoΦiyyα.
-AtoakpuveTOUc TEPiOTpeoEvouc
biokOTTc,TOUs DaKtUiouS OTeyavotmTACs
TpaBwTcTOUs TPOC TA ETTAVW.
- Iépασμα απο το φυσικό αεριο ἡτο μειγμα προπανίου/βούτανίου στο γραεριο βούτανίου/προπανίου.
-Me m Bontheia evoc mkpou katoaibou, Biowte kaA m xkavn Bida puthetaansTwv etiipaouvtw (Ktpivn) (Euk. 05), TpoC m fopaxw dektow tou pooyou.
-ETavatoTTOeTIOte Touc daKtuAious OTeyavotmTAC KAI Touc TEPiOTpeoEvouc BiakOTTEC, EEyxovTAC Mv KAteuHuvon TTPOoavatoAiouou Touc KAI m Owotn TToTOnTOeTmon Touc.
- Pερασμα απο το Uγραεριο βουτανίου/προτανίου στο φυοικό εριο ἡ στο μειγμα προτανίου/βουτανίου
-Me m Bointheix evoc u Katoaibou, Eeioote kata duo oToPOe ts xakivn BiOa puoanstow tpiipaouvw (Kitpvn) (Euk.05), poc mV ovriem kateuohvon twv deikovtou pooyiou.
- ETTAVXOTTOEETNOTE TO TEPIOPTPEOeVO dlakkotm.
-AvotE mV eotia ommuoiom Theon, kai om ouvexia Tepioppeuue To diakottn om xanl n Theon.
- ATOUKpVETEKVEOuTVPeIOTpeoEv OIAKOITM,OTOUVEXIA TEPIOTpeYTE M BIDa PUthetaG TPOC m FOpA TOW DEKTov Tou POAOU EWC mTV TIO Xaunn Theon, TPIV TO 0Hnmo ms fOyac.
-ETAVATOTTOEITOTE TO dakTuO OTeyavOTNTc KAt Tov TEpiOTpeoEvO diKotTM.
- Ppaymuotouote TOnaEs φopcs Tov Tponyouévo xepiouo yia va puθmuete Touc Etnbpaduvte: n λooya δev πpeel va oBno. Επeipittwn Tou n λooya βnoε, Eβiodote m Biδa puθμons kατα πoTTO wOTE n λooya va Tpauevei avaeyn kατα m diapkeia twyepiouwv.
-TorToeTnOte EaV Tc KefaAec Tov Eotiw, ta KaUmuTa Kau Tc OxApes OtnPiEgnc Tov OKeuWv.


EL 1 / ERKATAZTAZH THZ YZKEYHZ ZAZ
Toonotmontwvakpofuoiwvexxunc
Kαθε αριθμος αναγραφεται στο ακροφύσιο ἀγχυούς.

-αραδεγμα:
tootheTnOaKpo
fuoiou 95
MONTEANO 5 EΣTIE Σ AEPIOY*

Quikó aepio

Ypctepio Bourtav./PporTav.

Metyma Iponov./Bourav.
1 / ERKATAZTAZH THE ΣYKEYHΣAΣ
EL
XapaxktnpioTikαεpiou
| FR - GBGR - PT | FR - GBGR - PT | FR - GBGR - PT | FR | FR | |
| Συοκεη προς εγκατάσαση σε: | Boutrávio | Προπάνο | Φιακό Αέριο | Φιακό Αέριο | Mély. προτ. Mély, βόμ. |
| FR..............................................................Kατ.: III1C2E+3+GB - GR - PT..............................................................Kατ.: II2H3+ | G30 | G31 | G20 | G25 | |
| Poή ανά χρα: | 28-30 | 37 mbar | 20 mbar | 25 mbar | 8 mbar |
| στους 15°C μτό 1013 mbar | mbar | ||||
| ΓΥΡΗΝΗ ΕΙΤΑ | |||||
| Σύμανη πάνω στο ακροφύσω ἀχυσός | 78 | 78 | 121 | 121 | 215 |
| Ονομαστίκη θερμογόος δύναμη | ( Kw) | 2,25 | 2,25 | 2,25 | 2,30 |
| Μεωμεδήν θερμογόος δύναμη | ( Kw) | 0,850 | 0,850 | 0,650 | |
| Ωριαία ρή | (g/h) | 164 | 161 | 214 | 249 |
| Ωριαία ρή | (I/h) | ||||
| ΠΟΥ ΓΥΡΗΝΗ ΕΙΤΑ | |||||
| Σύμανη πάνω στο ακροφύσω ἀχυσός | 88 | 88 | 137 | 137 | 340 |
| Ονομαστίκη θερμογόος δύναμη | ( Kw) | 3,00 | 3,00 | 3,10 | 2,90 |
| Μεωμεδήν θερμογ. δύναμη (με ασφάλεια)( Kw) | ( Kw) | 0,850 | 0,850 | 0,780 | |
| Ωριαία ρή | (g/h) | 218 | 214 | 295 | 343 |
| Ωριαία ρή | (I/h) | ||||
| ΕΣΙΑ ME ΔΙΝΑH ΣΤΕΦΑΝΗ | |||||
| Σύμανη πάνω στο ακροφύσω ἀχυσός | 95 | 95 | 147 | 147 | 370 |
| Ονομαστίκη θερμογόος δύναμη | ( Kw) | 3,40 | 3,40 | 3,80 | 3,10 |
| Μεωμεδήν θερμογ. δύναμη (με ασφάλεια)( Kw) | ( Kw) | 1,450 | 1,400 | 1,300 | |
| Ωριαία ρή | (g/h) | 247 | 243 | 362 | 421 |
| Ωριαία ρή | (I/h) | ||||
| ΕΣΙΑ ME ΜΕΙΑΟ TÁXYΤΗ Λ | |||||
| Σύμανη πάνω στο ακροφύσω ἀχυσός | 62 | 62 | 94 | 94 | 165 |
| Ονομαστίκη θερμογόος δύναμη | ( Kw) | 1,50 | 1,50 | 1,50 | 1,40 |
| Μεωμεδήν θερμογ. δύναμη (με ασφάλεια)( Kw) | ( Kw) | 0,700 | 0,650 | 0,550 | |
| Ωριαία ρή | (g/h) | 109 | 107 | 143 | 166 |
| Ωριαία ρή | (I/h) | ||||
| ΒΟΗΤΗ ΕΙΤΑ | |||||
| Σύμανη πάνω στο ακροφύσω ἀχυσός | 50 | 50 | 63 | 63 | C12 |
| Ονομαστίκη θερμογόος δύναμη | ( Kw) | 0,90 | 0,90 | 0,85 | 1,00 |
| Μεωμεδήν θερμογόος δύναμη | ( Kw) | 0,350 | 0,300 | 0,350 | |
| Ωριαία ρή | (g/h) | 65 | 64 | 81 | 94 |
| Ωριαία ρή | (I/h) | ||||
| ΠΑΚΑ 5 ΕΙΤΙΟ N E ΔΙΝΑH ΣΤΕΦΑΝΗ | |||||
| Συνομίκη θερμογόος δύναμη | ( Kw) | 11,05 | 11,05 | 11,50 | 10,70 |
| Mέγιστη δύναμη | (g/h) | 803 | 789 | 1095 | 1273 |
EL 2/XPHSHTHZSYKEYHZA
- ΠΕΡΙΡΑΦΗ ΘΣ ΕΠΑΝΟ ΟΨΗΣ

TE 270^ / ^ - TE 576^ / ^
Eotia i taXuTmTaC 1,50kW ()
B Bonθητική εοτία 0,85 kW ()
Eotia duiAns oTefavns 3,80 kW ()
Eotia μεγαλης ταχύτητας 2,25 kW ()
Eotia nolu taxumrac 3,10 kW (*)
(*) Mε φισικό αέριο G20
2 / XPHSEHTHEZYKEYHZA
EL
AEIOTOYPria TON EETION AEPIOY
Kaθε εσια τροφδοτειαι από μίαστρόφιγγα, Μης Αποία το ἀνογμαπραγματοῦτειαι πέζουντας κατεριστρέφοντας Μστρόφιγγα προς την αυτιθεμ φόρα των δεικτών του ρολούιου.
To o nueio "I" avtioxei 0to kiaiou mC oTPOphiyyac.
-EmaleTe mV eotia Tou Etnoueite Me T Boontheia twv ouuBoovnBpiokovtau diTtA oToUs nepoiTppeoEvouc dikokntec (π.x.: aipote np eptpoc eotia
H eotia diaotei ouoTma avaumato tsw eotiwv, evoWmuTwEvO oTOUC kOTTEc.
- _ va vəxεTE μia εoTia, παπθe TO diakokotn KAI TEPiOtpéwTe Tov TPOC mV avriθetm φopα ToW δeiktow Tou poLoyoiou μexpi TM eviom θeon
-Kpactote TATnueo To diakottn yia va emuavotouov oTivthetaKai vaoaevi n eoia.
Tia u eevn aTdooon 0a TpeTe vα puoiεTe m θeON Tou dkaKOTm μeTaEu Tωv ouμβλωv kαi
- EΣTIA ME AΣΦAΛEIA AEPIOY (αναλογα με το μοντέλo)
H aocxaleia twv eotwv npaymuatoioieta
meow evoc meataalkou oTelexouc, TOU
Bpioketai biIaa oTphioya.
Ko3e 0tia eIeyxetai aTo mia oTpOphiyya Me
ouTnma aOphiAeiac, To otioo 0e
TepiTTwOn aTPOoBokntou ObaoiuatoC ms
floyac (EeXeiIOma, PeuMa aEpooc,...)
OtaUaTc aMeoKa aTuOuTa mv npoxn
aepiou kEmuOdiZm diappon tou.
Tua uWevn aToboo n 0 npTe vpuoiaeTe m Eon Tou oakottnmuTaGvTuV ouuOw
Ppoooxn -KpOaTn
περιστρεφόμενο διακόπηγία μερικάδευτρόλεπτα μετά Μν εμφάνιοη της φλόγας γίαν αθέσετε σε λειουργία τούσημα ασφαλείας.

Euoula
Eaoc ouviotoume va avcbeTe mTv EOTiA otIaNc OTePavnc npv TOToTetnoTe To oKEuoc, PpokEmuEvou va ere on n eoia exi avwseI Owot.
Ecv duokolev taepotpetye to diakottn, mnu axoetae nien. Znntote Tnu aoeon npaeuon tou texvikou Eykataoans
επεππωη απροδόκητουσβησιματος ης φλόγας, αναψτε εκ νέουπν εσια σύμφωνα με πς δόηγες.
EL 2 / XPHSH THZ YZKEYHZ ZAZ
- ΣKEYH ΓΙΑ TΙΣ ΕΞΤΙΕΣ ΑΕPIOY
- Noiα εοτια πρέπεινα χρησιμοποιήσετε ανάλογα με το σκεύος σας
| Διάμετρος του σκεύους | Διάμετρος του σκεύους | Xρήση |
| 20 εως 30 εκ. | Διπλή στέφάνη | |
| 18 εως 28 εκ. | Πολύ μεγάλης ταχύμτας | Τηγάνισμα - Βράσμο |
| 16 εως 22 εκ. | Μεγάλης ταχύμτας | Τηγάρισμα τροφήμων |
| 12 εως 20 εκ. | Μεσαλίας ταχύμτας | Σδλτοες - Zέσαμα |
| 8 εως 14 εκ. | Βοήθημή | Σγανό βράσμο |
Opioue5 eiovv aeipou evai
Eoioue 5 eia oxapoeipigns edikni
yia okeun "WOK" (Eik.01) n otoia
xpoaotoiietai mov otn kevtipknt otia
"diIaqoTefpavnc".Aumn oxpaa tuTou
"WOK" eITPepTEi m xpnon okeuwv me koiio
TATO.2e ouvduaoMo e mTv eotia "diIaqoTefpavnc", eITPepTEi Tm V KAUTEPN
KataovuHmCfloyaC yupw aTO ta eYALa
oKeUn OTWC TA OKEUN WOK KAI TA OKEUN YIA
TTeYIA ME eYAcN diaetpo.
Ipooox
Puroiote motephiavn mcsloyac KAta TpoTOnoWotE nfoyac VAs TepiopiZeTa OTov nato Tou okeouc (Eik.02).
-Mv xpoouoieE okeun e Koilo n Kupto nato Xomegaic mV kaTaaaIaon oxcpcox npxi (Euk.03).
-Mv xpoiouoiTe okeun Tou KauTTouv Evmuepiouc dixkotTEc (Eik.04).
-OTav TO okeuoc evau ad8io, myn avmuevm Tnv eotia aepiou.




3 / BAZIKH ΣYNTHPHΣH THE ΣYZKEYHΣAΣ
EL
- SYNTHPHSH THE ΣΥΕΚEΗΣ ΕΑΣ
| ΣYNTHPHEH...... | TI ΘΑ ΠΡΕΝΙ ΛΑ ΚΑΝΕΤΕ | ΠΡΟΙΝΤΑ/ΕΞAPTHMATA ΠΡΟΣ ΚΡΕΗ |
| Σπινθηριοτές και ακροφύσια έγχυούς | Σε περιπτωπ λερώματος των στινθηριοτών, καθαρίσε τους με τη βοήθεια μιας βουρτος με σκληρές τρίες (δόχι μεταλλικη). To ακροφύσιο ἀγχυούς αερίου βρίακεται στο κεγρο της εστίας. Φροντίσεν αν μην το φράξετε κατατον καθαρίσου, καθως ενδεχεταιν επηρεδασετην ατιδόση τς εστίας σας. Εε αντίθετη περιπτωπη, χροσμωτοῦστε μία παραμόνα γίαν ζεβουλώσετο ακροφύσια ἀγχυούς. | Μικρή βουρτος με σκληρές trixες Παραμάνα |
| Σχάρες και εστίες αερίου | Σε περιπτωπ επιμονων λεκέδων, χροσμωτοῦστε μία μη αποξεστική κρέμα καιξηλύνετε στη συνέχεια με νερό. Στέγνωσετη προσεκτικά καθε τμήμα τς εστίας πριν χροσμωτοῦσετε εκ ένου την εστία. | Κρέμα καθαρίσου Σφουγγάρι |
| Σμάλτο και ανοξείδωτο ατοςλι | Πραγματοῦστε Μουντήροση Μις εστίας εύω εἰναι ακόμα ζεοή γία μεγαλίσερη ευκόλία. Γίαννα καθαρίσετη Μις εστίας, χροσμωτοῦστε μία κρέμα καθαρίσου. Γιαλίσετην επιφάνεια με στέγνο πανί. Mγν αφήνετε γία πολύ ωρα επάνω στο σμάλτο Εξύνα ηρά Οπως χμός λεμονίου, Μύδι, κλπί... Γίαννα καθαρίσετη τις ανοξείδωτες επιφάνειες Μις εστίας, χροσμωτοῦστε Ενα σφουγγάρι και σατιουνόνεροή ευκ ειδύκό προίν γία τον καθαρίσου του ανοξείδωτου ατοςλίου. | Κρέμα καθαρίσου Προίνακαθαρίσου γία ανοξείδωτο ατοςλί. |
Npooox
Mny Kαθεριετη ποτή Μουκευή σας ενώ βρίσκεται Ελειαύργια.
Anevepyonoujote oles nIeKtpke c aeitoupyie kai nIc aeitoupyie aepiou.
Svmboum
Eumoula
- Ipnunotvα καθαρiετe τα εξαρπματa Μεσιας σος Κέρι και ὑχι στο
πλυνηρο πιατων.
-Mv xnpouoioeTe oKnpo ofouyyapix vX KcOpiEe mV eTic oc.
-Mv xpoouoie t e ookeun kαθαριομu με ατμó.
EL 4/MIKPEΣ BΛABEΣ KAI ΔYΣΑΕΙTOΥΡΙΕΣ
KATA TH XPHEH THE Σ Σ KEYH
| ΠAPATHPEITE OTI: | TI ΠΡΕΝΙ NA KANETE: | |
| • Katα to ὄναμμα τουν εοτιών; Δεν Πραγόνται στινθήρες κατα to πάτημα του διακότηπ. | • Ελέξετη μὴν Λεκτρολογίκη συνδεση Μς συακεύπς. • Ελέξετη σήιοι Αντινθηριοτε εἰνα καβθαροι. • Ελέξετη σήιοι σετιες εἰνα καθαβαρες καλ σήτουν συναρμολογηθει σωτα. • Εαν η εἰσια εἰνα Αντοχιαμένην στον Μαγκο εργαίας, Ελέξετη σήτοι τα • ελαρματα στηραίης δεν ενανν Φθαρει. • Ελέξετη σήτοι Ανακτιλιοι στεγανόντητας κατω ατό τους διακόΤΙΕς εἰνα καλα τοῦθετημένοι. | |
| • Katα to Πάτημα τουν διακότηπ, εμφανίζονται στινθήρες σε λόες τις εοτιες ταυτόχρονα. | Eναι φυμολούγικο. To συστημα αυαφλεξης εἰναι κεντρικο καλ ελέχει λόες τις εοτιες ταυτόχρονα. | |
| • Σε στιχήν φωπια, Ν ετίσια σβήνει έι ο φλόγες Παραμένουν δυνατές. | • Ατοφέψεγετα πα ρεύματα αέρα στο δωμάτι. • Ελέξετη Μυνιστοχία μεταδύτου του εἰδούς αερίουι κα τουν ευκατοτημένων ακρορμαίων εύχύμις (βλ. τοτιθέτημην χργαίων εύχύμις στο Κεφάλειo "Aλλαγή εἰδους αερίου"). Yπενθύμιημα: σι επιες παραδίδονται μρθμαμένες για συνδεημε σε ερίου δικτύου (φυμίκο αέρίου). • Ελέξετη σήτοι σβόες επιβράδύνος τις φλόγας ενιρθμαμένες σωτα (βλ παραγραφο "Aλλαγή εἰδους αερίου") | |
| • Βι φλόγες εἰναι ακανόνισες. | • Ελέξετη σήτοι Αετοίας κα τα ακρορμαίαν εύχύμις κατω ατό τις εοτιες εἰναι καθαρα, ελέξετη μη συναρμολονηθιν του ευπούν, κλπ... • Ελέξετη σήτοι πιταρχει αρκετό έυραέριο στη φύλη. | |
| • Katα τη διαρκεία του μαγερίρματος Ι διακότητες θερμαίνονται. | • Xρηαμοτοίειτη μμρες καταραδόλες πανω στις εοτιες του βριακονται κοντα σιους διακότητες. • Tα μεγλα σκεύπι πρετεινα τοτο Εθαβθεύντουται σις • μεγαλινερες εἰσιειου του εἰτιμακαραμαβενες ατό τους διακόΤΙΕς. Tοτοθεπότη Μν καταραδόλα στο Κέντρο Μς εοτιας. Δεν πρετεινα τιν Πρετημενη με ασφάλεία αερίου: katα to ἀναμμα, σι φλόγες αναβουν κα οτι συνεχία, στο πάμετενν αλείς τι πείζετε Φιδικόπεις. αβήνουν. | • Παποπα Κλά touς διακότητες κα κρατηθίοτouς τις πατημένους για εμερία δευτεροδείτητα μέχριν ευμανιονιν φλόγες. • Ελέξετη σήτοι σλατα εξαρτηματα τις εοτιας ενια καλα τοτοθετημένα. • Ελέξετη σήτοι σαδιλιοι στεγανόντητας κατω ατό τους διακόΤΙΕς εἰναι καλα Tοτοθεπότηνοι. • Aποφέψεγετα περμαίατα εάρα στο διαμάτι. • Αναμτητην Μείριν τοτιοβεμησετε πανω Μης το σκεύς. |
5 / EΣTIEΣ AEPIOY
- OΔHΓΕΣ ΓΙΑ MΑΓΕIPEMA ME AEPIO
| ΠΑΡΑΚΕΥΑΜΑΤΑ | XΡΟΝΙΣ | ΔΙΝΑΗΣ ΣΤΕΦΑΝΗ | ΠΟΥ ΜΕΓ.TAXΥΤΗ | ΜΕΓΑΗΣ TAXΥΤΗ | ΜΕΞΑΙΣ TAXΥΤΗ | BOHΘΗΤΗ | |
| ΣΟΥΠΕΣ | Zωμοι Παχύρευστες σουύπες | 8-10 λεττία | X | X | X | ||
| ΨΑΡΑΙ | Zωμός Μαγείρεμα | 8-10 λεττία | X | X | |||
| 8-10 λεττία | X | ||||||
| ΣΑΛΤΙΣΕΣ | Ολαντές, μιτεαρνέζ ΜΤΕΩαμέλ, σρόρ | 10 λεττία | X X | X X | |||
| ΛΑΧΑΝΙΚΑ | Αντίδια, στηανάκι Μαγειρεμένος αρακάς | 25-30 λεττία | X | X | X | ||
| Τομάτες προβενσάλ | 15-20 λεττία | X | X | ||||
| Ταγίριαμα τατατών | X | X | X | X | |||
| Zυμαρικά | |||||||
| KPEATA | Φιλέτο ΜΤΙλακέτ, ὄσο μτήουκο | 90 λεττία | X | X | |||
| Φιλέτο στο ηγάνι | 10-12 λεττία | X | |||||
| ΜΤριζόλα | 10 λεττία | X | X | ||||
| THΓΑΝΙΣΜΑ | Πατάτες Θηγανίτες | X | X | ||||
| X | X | ||||||
| ΕΝΙΔΟΡΙΑ | Ρύγόγαλο Καμιτόστες φρούτων | 25 λεττία | X | X | X | ||
| Κρέτιες | 3-4 λεττία | X | X | ||||
| Σακολάτα | 3-4 λεττία | X | |||||
| Κρέμα | 10 λεττία | X | X | ||||
| Καφές (μκρή καφετιέρα) |
Brandt
FR 02
Dear Customer,

EL 6/Tεχνικήντοστήριξη:
Ovexoeec Tnaw stoukeun oac _ npetel va dEvpyovtai:
- 21EaTOV pOuHgUmOsc,
EITE cTTO KA tA TOTTouC EGSUIOOto mEvo oepic.
Σε περιπτωη που Μλεφωνησε, θα πρεπεν αναφερετολα τα στοιχείας Μς Σουκεύης (μοντέλo, τὸν και αριθμό σερά). Ta στοιχεία αυτα αυγραφονται στην ετικέτα των χαρακηπρισικων του κατασκεύασηπιου βρισκεται πανω στη.
ΕύκολοΕγχειρίδιο