HCX 10D6 DAB - Hifi-system Trevi - Kostenlose Bedienungsanleitung
Finden Sie kostenlos die Bedienungsanleitung des Geräts HCX 10D6 DAB Trevi als PDF.
Benutzerfragen zu HCX 10D6 DAB Trevi
0 Frage zu diesem Gerät. Beantworten Sie die, die Sie kennen, oder stellen Sie Ihre eigene.
Eine neue Frage zu diesem Gerät stellen
Laden Sie die Anleitung für Ihr Hifi-system kostenlos im PDF-Format! Finden Sie Ihr Handbuch HCX 10D6 DAB - Trevi und nehmen Sie Ihr elektronisches Gerät wieder in die Hand. Auf dieser Seite sind alle Dokumente veröffentlicht, die für die Verwendung Ihres Geräts notwendig sind. HCX 10D6 DAB von der Marke Trevi.
BEDIENUNGSANLEITUNG HCX 10D6 DAB Trevi
MINI HIFI-ANLAGE MIT DAB+/CD/MP3/USB/AUX-IN UND BLUETOOTH®-VERBINDUNG Bedienungsanleitung und Anschluss

ACHTUNG
GEFAHR ELEKTRISCHER SCHLAGE
NICT DER FEUCHTIGKEIT UND DEM REGEN AUSSETZEN

UK PLUG ONLY
WIRES CONNECTIONS TO A UK THREE-PIN PLUG
ACHTUNG: DAS GERAT NICTOFFNEN. IM INNERN BEFINDEN SICH KEINE VOM BENUTZER SELBST INSTANDSETZBARENTEILE UND AUCH KEINE ERSATZEILE. FÜR JEGLiche SERVICEARBEITEN, WENDEN SIE SICH BITTE AN EINE TREVI AUTORISIERENT KUNDENDIENSTSTELLE.
SAUT DE TRACE ET RECHERCHE RAPIDE
| GEFÄHRLICHPANNUGEN | ACHTUNG | HINWEISE IN BEZUGAUF DEN LASER |
| Dieses Symbol, das auf der Rückseite des Gerätes und auf thisem Handbuch abgebildet ist, weist den Benutzer auf das Vorhandsein von mit Hochspannung beziebenen Bauteilen im Innern des Geräteshin. Um elektrische Schläge zu vermeiden, muß das Gerät nicht geöffnet werden. | Dieses Symbol, das auf der Rückseite des Gerätes und auf thisem Handbuch abgebildet ist, weist den Benutzer auf wichtige Anweisungen zum sicheren Gebrauch hin. Bevor das Gerät in Betrieb genommen wird, müssen diese Anweisungen aufmerksam gelesen werden. | Dieses Gerät ist mit einem Laser-Lesesy-tem versehen. Der Laser verfügt über eine niedrige Leistung und ist mit einer Sicherheitsvorrichtung versehen, die den Betrieb bei geöffneter Klappe verhindert. Halten Sie sich trotzdem sorgfällig an folgende Hinweise:bei geöffnetem gerät, das auge nicht an die linse des lasers nähern. es besteht die gefahr, dass die netzhaut damit verletzt wird. versuchen sie nicht, die lasereinheit abzumontieren oder unsachgemäß zu behandeln. es besteht die gefahr, daß strahlen damit absorbiert werden. |
HINWEISE
ANWEISUNGEN ZUM GEBRAUCH
Dieses Gerat ist ein elektronisches Instrument hochster Prazision; vermeiden Sie deshalb, das Gerat in folgenden Fallen zu benutzen:
In der Nae von Magnetfeldern.
- In der Höhe von Wärmequellen wie Heizungen und Heizungen.
- In sehr feuchten Räumen wie Badezimmern, Schwimmbadern usw.
Ansehr staubigen Orten.
An Orten, die starken Vibrationen ausgesetzt sind.
- Platzieren Sie Ihr Ohr während der Einstellungen- und Lautstärkeinstellungspasen nicht in der Höhe des Laufsprechers und halten Sie insbesondere die Lautstärke während der Zündphase auf einem Minimum.
- Stellen Sie das Gerät so auf, dass an den Seiten genügend Platz für eine frei Luftzirkulation (mindestens 5 cm) ist.
- Wenn Flüssigkeiten in das Gerät gelangen,ziehen Sie sofort den Stecker aus der Steckdose und bringen Sie das Gerät zum nachsten autorisierten TREVI-Kundendienstzentrum.
- Wenn das System nicht ordnungsgemäß Funktioniert,ziehen Sie das Netzkabel aus der Steckdose. Schlieben Sie das Netzkabel wieder an und schalten Sie das System ein.
- Keine offenen Flammenquellen, wie z. B. brennende Kerzen, sollenen auf dem Gerät platziert werden.
Das Gerat darf nicht tropfendem oder spritzendem Wasser ausgesetzt werden, und es durren keine mit Flüssigkeiten gefuIten Gegenstände wie Vasen auf dem Gerat aufgestellt werden.
Bewahren Sie theses Handbuch zum späteren Nachschlagen auf.
PFLEGE UND WARTUNG
Zum Reinigen benutzen Sie einen leicht angefeuchteten, weichen Lappen. Verwenden Sie keine Lösungsmittel oder Scheuermittel.
WICHTIG
Die gute Bauweise des Gerats gewährleistet den einwandfrei Betrieb auf langere Zeit hin. Sollen trotzdem irgendwelche Störungen auftreten, wenden Sie sich an die nachstgelegene TREVI- autorisierte Kundendienstelle.
Die Firma TREVI ist für die ständige Forschung und Entwicklung seiner Produkte engagiert. Auf Grund dieser Tatsache können die Produkte andere Merkmale als die beschrieben aufweisen.

Um Hörschäden zu vermeiden, begrenzen Sie die Zeit bei hoher Lautstärke zu horen.
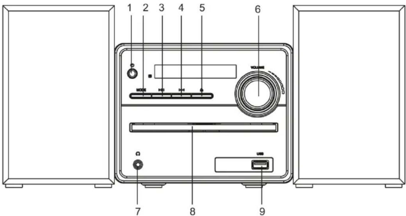
VORDERE EINHEIT ANSICHT

RÜCKSEITE

BESCHREIBUNG DER KONTROLLEN
- Hauptschalter
- STANDBY/MODE-Taste
- Taste, vorheriger Titel/ Radiosender
- Taste, nachster Titel/Radiosender
5.aste,CD-Fach offnen/schlieBen - Lautstärkeregelung/ II /ENTER.
-
Kopfhorerbuchse
-
CD-Fach
- USB-Eingang.
- Antenne
- Audioeingang (AUX IN)
- R/L Laatsprecheranschlussbuchsen
13.Netzkabel

FERNBEDIENUNG
BESCHREIBUNG DER KONTROLSLEN
- Standby-Taste
- FUNC-Taste, Quellenauswahl
- RPT-Taste
- MUTE-Taste, Geräteschallausschluss
- EQ-Taste, Auswahl verschiedener voreingestellter Klangmodi
- II, Play/Pause/Ausbwahl bestätigen
- -Taste, vorheriger Titel/ Radiosender
- MENU-Tasten
- Stop-Tasten
- INFO-Taste
24.PROG-Taste - VOL +/- Tasten, Lautstärkeregelung
- -Taste, nachster Titel / Radiosender
27 F-/CH- Taste, vorheriger Ordner im CD- oder USB-Modus/ voreingestelter Radiosender - F+/CH+ -Taste, nachster Ordner im CD- oder USB-Modus/ voreingestelter Radiosender
- ENTER-Taste
AKTIVIERUNG UND AUSTAUSCH DER FERNBEDIENUNG

Auf der Fernbedienung ist bereits eine Zellenbatterie installiert. Entfern den Sie zum Aktivieren des Akkus die transparente Lasche unter an der Fernbedienung. Die Fernbedienung Die Steuerung ist jetzt einsatzbereit.
So ersetzen Sie die Batterie:
- Entfernen Sie den Batteriefachdeckel gemäß der Abbildung rechts.
- Achten Sie auf die richtige Polarität und installmenten Sie eine3V tumm-batterie (CR2025).
- SchlieBen Sie die Abdeckung.
LIEFERN
Schlieben Sie das Netzkabel (13) an eine 100-240V Steckdose mit 50/60 Hz an.
SchlieBen Sie das Gerät nicht an andere als die angegebenen Steckdosen an.
Beim ersten Start scantt das Gerat die vorhandenen DAB-Stationen, auf dem Display wird das Wort SCANNING angezeigt. Warten Sie, bis auf dem Display die aktuelle Uhrzeit angezeigt wird.
Hinweis: Sofern nicht anders angegeben, gelten die Beschreibungen der Befehle sowohl für das Gerät als auch für die Fernbedienung.
AN AUS
- Drücken Sie den Hauptschalter (1) am Gerät, um das Gerät in den Standby-Modus zu versetzen (Uhrzeit und Datum werden auf dem Display angezeigt);
- Um den STAND-BY-Modus zu aktivieren/deaktivieren, drucken Sie die STANDBY-Taste (14) auf der Fernbedienung;
- Wenn Sie das Gerät vollständig ausschalten möchten, drücken Sie den Hauptschalter (1) am Gerät.
Hinweis: Wenn bei einer CD-, USB- oder AUX-Quelle innerhalb von 10 Minuten keine Operation ausgeführrt wird, wechselt das Gerät automatisch in den STANDBY-Modus.
VOLUMENSTEUERUNG UND AUSGLEICHSFUNKTION
- Drehen Sie den Lautstärkeregler (6) am Gerät oder drücken Sie die Tasten VOL +/- (25) auf der Fernbedienung, um die Lautstärke zu erhöhen oder zu verringn;
- Drücken Sie mehrmals die EQ-Taste (18) auf der Fernbedienung, um eine der voreingestellenten Audiodynamiken (Classic, Rock, Pop, Jazz, Flat) auszuwahlen.
RADIO DAB/DAB + BETRIEB
- Schalten Sie das Gerä ein und drücken Sie mehrmals die Taste FUNC (15) auf der Fernbedienung, bis die Anzeige DAB auf dem Display angezeigt wird;
Beim ersten Einschalten des Radios werden alle verfügbaren DAB-Sender automatisch gescannot und gespeichert. - Wenn Sie den Vorgang der Scanstation wiederholen möchten, halten Sie II (19) auf der Fernbedienung eine Sekunden lang gedrückt, um das Scannen der DAB-Stationen zu starten, oder drücken Sie die Taste MENU (21) auf der Fernbedienung, um auf die zuzugreifen DAB-MENU. Suchen Sie und wahlen Sie das Wort "Full scan";
- Drücken Sie die Taste (4) oder (3) am Gerät oder die Taste (26) oder (20) auf der Fernbedienung, um durch die verschiedene eingestellten DAB-Sender zu blättern;
- Drücken Sie die Taste VOLUME/ENTER (6) am Gerät oder die Taste II (19) auf der Fernbedienung der gewürschten DAB-Station, um die Wiedergabe zu starten;
- Drücken Sie mehrmals die INFO-Taste (23) auf der Fernbedienung, um alle Informationen über den empfangenen Sender anzuzeigen.
RADIOSTATIONEN LAGERN
Gehen Sie wie folgt vor, um einen Radiosender zu speichern:
- Stellen Sie den gewünschten Radiosender ein;
- Halten Sie die PROG-Taste (24) einige Sekunden lang gedrückt. Auf dem Display wird das Wort "PRESET STORE" angezeigt;
- Verwenden Sie die Tasten (26) und (20) um einen Speicherort auszuwahlen;
- Drucken Sie die Taste II (19) um den Radiosender zu bestätigen und zu speichern;
Wiederholen Sie diesen Vorgang fur jedem Radiosender, den Sie speichern mochten. Es stehen 30 Speicherplätze zur Verfugung.
5. Um einen gespeicherten Radiosender abzurufen, verwenden Sie die Tasten F+/CH+ (28) und F-/CH- (27).
DAB/DAB+ MENU
- Drücken Sie die MENU-Taste (21) der Fernbedienung, um das DAB-MENU aufzurufen;
- Drücken Sie die Taste (4) oder (3) am Gerät oder die Tasten (26) oder (20) auf der Fernbedienung, um die verschieden DAB-Menüpunkte anzuzeigen;
- Drücken Sie die Taste VOLUME/ENTER (6) am Gerät oder die Taste II (19) auf der Fernbedienung, um den angezeiteten Menupunkt auszuwahlen:
Full scan: Ermoglicht das Scannen des gesamten DAB/DAB + -Bands und das automatische Speichern der gefundenen Sender. Manual tune: rmoglicht das manuelle Scannen einer einzelnen DAB / DAB + -Frequenz. Drucken Sie die Tasten (26) oder (20) um die Kanalnummer für die zu scannende Frequenz auszuwahlen, und drucken Sie dann die Taste II (19) um den Scanvorgang zu starten. Die gefundenen Stationen werden automatisch gespeichert.
DRC: Ermoght das Aktivieren / Deaktivieren der DRC-Funktion, um den Klang beim Horen in lauten Umgebungen zu verbessern. Der DRC-Pegel kann up (hoch), low (niedrig) or OFF (aus) sein.
Prune: Ermoglicht das Löschen aller gefundenen, aber nicht verfugbaren Funkgeräte aus der Liste der gespeicherten Sender (schlechtes Signal). Bewegen Sie sich mit den Tasten (26) und (20) zu Y (YES) und bestätigen Sie den Löschvorgang mit II (19).
System: Ermöglicht den Zugriff auf das System-Untermenu:
Time: Hier können Sie die aktuelle Uhrzeit/das aktuelle Datum einstellen.
Set Time/Date: Stellen Sie die aktuelle Uhrzeit und das aktuelle Datum ein.
Auto Update: Wahlen Sie aus, aus welcher Quelle Uhrzeit und Datum automatisch eingestellt werden sollen,
falls verfugbar.
Set 12/24 Hour: Stellen Sie das Zeitformat 12/24H ein.
Set Date Format: Legen Sie das Datumformat fest.
Back light: Mit dieser Option konnen Sie die Zeit und die Helligkeit des Displays einstellen:
Timeout: Einstellung der Beleuchtungszeit (10sek, 20sek, 30sek., 45sek, 60sek, 90sek, 120sek, 180sek, ON).
On level: Einstellung des Beleuchungsgrades des Displays bei laufendem Gerät (High, Medium, Low).
Dim level: Einstellung der Beleuchungsstärke des Displays im Standby-Modus (High, Medium, Low).
Language: Es ist möglich, die Sprache der Menü zu wahlen. Italienisch, Englisch (Standard), Deutsch, Italienisch, Französische sind verfügbar.
Factory Reset: Ermoglicht das Zurücksetzen des Gerats auf die Werkseinstellungen. Am Ende des Zurücksetzens wird ein automatischer Scan der DAB/DAB+ -Stationen durchgefuhrt. Bewegen Sie sich mit den Tasten (26) und (20) zu Y (YES) und bestätigten Sie mit II (19).
Software upgrade: Mit dieser Option können Sie einen Scan durchführren, um nach für das Gerät verfügbarbaren Updates zuuchen.
SW version: Mit dieser Option können Sie die Softwareversion des Geräts anziegen.
DAB/DAB+DISPLAY-MODUS
Jedes Mal, when Sie die INFO-Taste (23) auf der Fernbedienung drücken, wechselt die Anzeige durch die folgenden Anzeigemodi.
DLS: Dynamisches Etikettensegment ist eine Bildlaufnachtrecht, die der Sender möglicherweise in seine Übertragungen einbezieht.
These Nachricht enthalt normalerweise Informationen wie Programmdetails usw.
Program Type: Dies beschreibt den "Style" oder das "Kind" der Musik, die gesendet wird, z. "Rock "oder Classical".
Channel Frequency: Zeigt den aktuell verwendeten DAB-Multiplex an.
Signal error index: Zeigt Informationen zum Pegel der Signalfehler und zur Intensität an, mit der sie empfangen werden.
Bit Rate: Zeigt Informationen zum Komprimierungsverhältnis der aktuellen Übertragung an.
Time: Zeigt das vom Radiosender empfangene Zeitsignal an.
Date: Zeigt Informationen zum Datum an.
FM-FUNKBETRIEB
-
Schalten Sie das Gerät ein und drücken Sie wiederholt die FUNC-Taste (15) auf der Fernbedienung, bis die FM-Anzeige auf dem Display erscheint;
-
Drucken Sie wiederholt die Tasten (4) und 卡 (3) am Gerat oder die Tasten (26) und 卡 (20) auf der Fernbedienung, um die Frequenz von 0,05 MHz zu erhöhen oder zu verringn und eine schrittweise Durchführung durchzufahren Schrittsuche;
-
Halten Sie die Tasten (4) und (3) am Gerät oder die Tasten (26) und (20) auf der Fernbedienung eine Sekunden lang gedrückt, um den nachsten oder vorherigen Radiosender mit einzustellen das Beste empfangene Signal;
-
Um die automatische Suehe und Speicherung von Radiosendern (SCAN) zu aktivieren, drücken Sie die Taste II (19) auf der Fernbedienung oder die Taste MENU (21), um auf das FM-MENU zuzugreifen. Suchen Sie nach dem Wort "Scan setting" und wahlen Sie es aus;
Von thisem Punkt aus konnen Sie die Art der automatischen Sueche auswahlen: Wahlen Sie STRONG (Sender mit starkem Signal) oder ALL (alle Sender), und bestätigen Sie mit II (19) auf der Fernbedienung.
Das Gerät kann bis zu 30 Stationen speichern.
-
So speichern Sie einen Radiosender:
-
Gehen Sie zu der zu speichernden Frequenz und halten Sie die PROG-Taste (24) eine Sekunden lang gedrück. Auf dem Display wird der Wortlaut "PRESET STORE" angezeigt;
Verwenden Sie die Tasten (26) und (20) um einen Speicherort auszuwahlen;
-
Drucken Sie zur Bestätigung II (19).
-
Um einen gespeicherten Radiosender aufzurufen, verwenden Sie die Tasten F+/CH+(28) und F-/CH-(27).
Hinweis: Um den besten FM-Empfang zu erzielen, muss die Antenne angeschlossen und ausgerichtet werden. Wenn der Empfang nicht gut ist, versuchen Sie, die Länge und Ausrichtung der Antenne unterscheidlich einzustellen. Die Qualität des FM-Empfangs hangt jedoch stark vom Ort ab, an dem sich das Gerät befindet.
CD-MP3-SPIELERBETRIEB
- Schalten Sie das Gerät ein und drücken Sie mehrmals die Taste FUNC (15) auf der Fernbedienung, bis die CD im Display erscheint. Wenn keine Disc vorhanden ist, wird auf dem Display die Anzeige "NO DISC" angezeigt;
- Offnen Sie das CD-Fach (8) durch Drucken der Taste (29) auf der Fernbedienung und legen Sie die Disc mit der beschrifteten Seite nach oben ein. Schlieben Sie das Fach vorsichtig;
- Nach einigen Sekunden zeigt das Display die Anzahl der Titel auf der Disc an. Drücken Sie die Taste II (19) auf der Fernbedienung, um die Musikwiedergabe zu starten;
- Drucken Sie die Taste II (19) auf der Fernbedienung erneut, um die Pause zu aktivieren. Die verstrichene Zeit der Spur beginnnt zu blinken. Drucken Sie erneut, um die normale Wiedergabe zu starten;
- Drücken Sie die Tast 2) auf der Fernbedienung, um die Wiedergabe dauerhaft zu stoppen.
SPURSPUR UNDSCHNELLE SUCHE
- Drücken Sie (4) und (3) am Gerät oder die Tasten (26) und (20) auf der Fernbedienung, um zum vorherigen oder nachsten Titel zu wechseln;
- Halten Sie (4) und (3) am Gerät oder die Tasten (26) und (20) auf der Fernbedienung während der Wiedergabe gedrückt, um schnell nach einer bestimmen Musikpassage zuuchen. Lassen Sie die Taste los, um zur normalen Wiedergabe zurückzukehren.
WIEDERHOLEN
- Drücken Sie die RPT-Taste (16) auf der Fernbedienung. Die Anzeige REP-1 erscheint auf dem Display, um dieselbe Spur kon-tinuierlich wiederzugegeben.
- Drücken Sie die RPT-Taste (16) auf der Fernbedienung. Die Anzeige RPT-DIR wird auf dem Display angezeigt, um kontinuierlich alle Titel im ausgewählten Ordner abzuspielen (nur für MP3-CDs mit Ordernern).
- Drücken Sie die RPT-Taste (16) auf der Fernbedienung. Die Anzeige RPT ALL erscheidt auf dem Display, um alle vorhandenen Titel kontinuierlich wiederzugegeben.
- Drücken Sie die RPT-Taste (16) auf der Fernbedienung. Die Anzeige RANDOM wird auf dem Display angezeigt, um alle vorhänden Titel zufällig wiederzugeben.
- Drucken Sie die RPT-Taste (16) auf der Fernbedienung, bis die Anzeige INTRO auf dem Display angezeigt wird, um die ersten 10 Sekunden abzuspielen. von jedem Lied.
- Drücken Sie die Taste RPT (16) auf der Fernbedienung, bis die Anzeige DISC auf dem Display angezeigt wird, um alle Titel auf der Disc kontinuierlich abzuspielen.
ALBUM-FUNKTION
HINWEIS: Funktion nur gültig für MP3-CDs mit Ordnern.
- Wenn Sie eine MP3-CD oder USB mit mehreren Ordnern abspielen, drücken Sie die Tasten F+/CH+ (28) und F-/CH- (27), um den Ordner auszuwahlen, den Sie abspielen möchten.
PROGRAMMIERUNG
Sie konnen die Reihenfolge auswahlen, in der die Titel abgeschweit werden.
- Drucken Sie die Taste 22) auf der Fernbedienung, um die Wiedergabe zu stoppen;
- Drucken Sie die PROG-Taste (24) auf der Fernbedienung. Die Meldung P01 erscheint auf dem Display;
- Wahlen Sie den Titel, den Sie zuerst playen mochten, mit den Tasten (4) und (3) am Gerat oder den Tasten (26) und (20) auf der Fernbedienung aus;
- Drucken Sie zur Bestätigung die PROG-Taste (24) auf der Fernbedienung;
- Wiederholen Sie die Schritte 3 und 4, um die gewünschten Songs zu speichern und abzuspielen. Bei Audio-CDs konnen maximal 20 Titel gespeichert werden, während bei MP3/USB-CDs maximal 99 Titel gespeichert werden konnen;
- Drücken Sie die VOLUME/ENTER-Taste (6) am Gerät oder die Taste II (19) auf der Fernbedienung, um die Wiedergabe zu starten;
- Drucken Sie zweimal die Taste 22) auf der Fernbedienung, um die Programmierung abzubrechen.
USB-EINGANGSBETRIEB
- Schlieben Sie ein USB-Speichergerät an den USB-Eingang (9) an;
- Schalten Sie das Gerät ein und drücken Sie mehrmals die FUNC-Taste (15) auf der Fernbedienung, bis die USB-Anzeige auf dem Display angezeigt wird. Wenn kein USB-Gerät vorhanden ist, zeigt das Display "NO USB" an;
Hinweis: Das Gerät Unterstützung möglicherweise einige USB-Geräte nicht. Dies liegt an der Inkompatibilität einiger Prozessoren.
- Weitere Informationen zu den Funktionen finden Sie im Abschnitt "BETRIEB DES CD-MP3-PLAYERS".
BLUETOOTH-BETRIEB
- Schalten Sie das Gerä ein und drücken Sie mehrmals die FUNC-Taste (15) auf der Fernbedienung, bis die BT-Anzeige auf dem Display angezeigt wird:
- Das Wort "Not Connected" beginnt auf dem Display zu blinken und das System ruft automatisch die Suche auf:
- Aktivieren Sie die Bluetooth-Funktion auf dem zu koppelnden externen Gerät und machen Sie es sightbar:
- Starten Sie die Gerätesuche. Suchen Sie am Ende nach dem Gerät "HCX 10D6 DAB":
- Geben Sie ggf. das Password "0000" ein:
- Nach dem Pairing gibt das Gerät einen Benachrichtigungston aus und das Wort "Connected" bleibt auf dem Display:
-
Starten Sie die Audiowiedergabe von Ihr Gemät aus:
-
Drücken Sie (4) und (3) am Gerät oder die Tasten (26) und (20) auf der Fernbedienung, um zum vorherigen oder nachsten Titel zu wechseln;
- Drücken Sie die Taste II (19) auf der Fernbedienung, um die Pause zu aktivieren. Drücken Sie erneut, um die Pause zu deaktivieren;
- Halten Sie die Taste II (19) bauf der Fernbedienung gedrückt, um die Kupplung zu entfernen.
EINGABEA AUX IN
- Schalten Sie das Gerät ein und drücken Sie mehrmals die FUNC-Taste (15) auf der Fernbedienung, bis die Anzeige Enter Aux auf dem Display angezeigt wird;
- Verbinden Sie每日经济 ausgang über das entspruchende Kabel mit dem AUX-IN (11) -Eingang;
- Befehlen Sie die externe Einheit über ihre Befehle;
- Stellen Sie die Lautstärke mit der Steuerung (6) am Gerät oder mit den Tasten VOL +/- (25) auf der Fernbedienung ein.
KOPFHÖRER
- Stecken Sie die Kopfhörer in die Kopfhörerbuchse (7);
- Starten Sie die gewünschte Wiedergabe und stellen Sie die Lautstärke ein.

VORSICHTSMASSNAHMEN FÜR DIE RICHTIGE ENTSORGUNG DES PRODUKTS.
Das auf dem Gerät angezeigte Symbol weist daraufhin, dass Abfälle in einer „getrennten Sammlung" entsorgt werden müssen und das Produkt dazu nicht zusammen mit Siedlungsabfallen entsorgt werden damit.
Der Benutzer muss das Produkt zu speziellen „separaten Abfallsammelstellen“ bringen, die von der ortlichen Regelung bereitgestellt werden, oder es gegen den Kauf eines neuen Produkts an den Einzelhändler liefern.
Die getrennte Sammlung von Abfallen und die anschliebende Behandlung, das Recycling und die Entsorgung fordern die Herstellung von Geräten mit recyclaten Materialien und begrenz den negative Auswirkungen auf die Umwelt und die Gesundheit, die durch unsachgemessen Umgang mit Abfallen verursacht werden.
Die illegale Entsorgung des Produkts führt zur Durchsetzung von Verwaltungsstrafen.
TREVI verfolgt eine Politik der kontinuierlichen Forschung und Entwicklung. Die Produkte können andere Merkmale aufweisen als die beschriebenen.
TECHNISCHE SPEZIFIKATIONEN
Leistung und Verbrauch: 110-240V 50/60Hz - 22W
Absorption im Standby: <0.5W
Power Audio 20W
UKW-Bandempfang: 87,5 - 108 MHz
DAB/DAB+ -Bandempfang: 174-240 MHz
Bluetooth-Sendeleitung: 2.5 mW
Bluetooth-Übertragungsfrequency: 2,4 GHz
Leser: CD/CD-R-RW/MP3
Unterstutzte Bitrate: MP3 (32 ~ 320 kbps)
Geräteabmessungen: 140 x 210 x 170 mm
Lautsprecherabmessungen: 130 x 125 x 170 mm
DE Wenn Sie Ihr Sprache auf die Bedienungsanleitung nicht finden, gehen Sieitte auf unsere Webseite www.trevi. it zu finden
EinfachAnleitung