SDMN80 - Andere Computerzubehör SONY - Kostenlose Bedienungsanleitung
Finden Sie kostenlos die Bedienungsanleitung des Geräts SDMN80 SONY als PDF.
Questions des utilisateurs sur SDMN80 SONY
0 question sur cet appareil. Repondez a celles que vous connaissez ou posez la votre.
Poser une nouvelle question sur cet appareil
Laden Sie die Anleitung für Ihr Andere Computerzubehör kostenlos im PDF-Format! Finden Sie Ihr Handbuch SDMN80 - SONY und nehmen Sie Ihr elektronisches Gerät wieder in die Hand. Auf dieser Seite sind alle Dokumente veröffentlicht, die für die Verwendung Ihres Geräts notwendig sind. SDMN80 von der Marke SONY.
BEDIENUNGSANLEITUNG SDMN80 SONY
Bedienungsanleitung DE
Sicherheitsmaßnahmen 4
Lage und Funktion der Teile und Bedienelemente 5
Installation 7
Schritt 1: Anschlieben der Media-Engine an den Computer . . . . . . 7
Schritt 2: Überprüfen des Digital/Analog-Wahlschalters 7
Schnitt 3: Anschlieben des Bildschirms und der Media-Engine. 8
Schritt 4: Anschliebenes Audiokabels
Schritt 5: AnschliebendesNetzkabels. 8
Schritt 6: Einschaltenvon Monitorund Computer.
Anschlieben von USB-kompatiblen Peripheriegeräten
(USB-UniversellerSeriellerBus)
Die Stereolautsprecher. 9
Auswahlen des Eingangssignals
EinstellenvonNeigungundHöhe 1
EinstellendesMonitors.
Navigiereninden Menus. 11
Einstellendes Kontrasts (KONTRAST)
Einstellen des Schwarzwerts eines Bildes (HELLIGKEIT) 13
Korrigieren eines flimmernden oder verschwommenen Bildes
(PHASE/PITCH)(nuranalogeRGB-Signale)
Einstellen der Bildposition (H CENTER/V CENTER)
(nuranalogeRGB-Signale) 15
Einstellender Farbtemperatur (FARBE)
Ändernde Bildgroßejenach Signal(ZOOM)
GliattendesBildes(SMOOTHING) 1
Ändernde Menüposition (POSITIONMENÜ)
Zurücksetzen der Einstellungen (ZURUCKSETZEN) 17
WeitereEinstellungen 17
Macintosh ist ein Warenzeichen der Apple Computer, Inc., in den USA und anderen Ländern.
- Windows ^II ist ein eingetragenes Warenzeichen der Microsoft Corporationinden US Ländern.
- IBM PC/AT und VGA sind eingetragene Warenzeichen der IBM Corporationinden USA.
VESA und DDC sind Warenzeichen der Video Electronics Standards Association.
- ENERGY STAR ist ein eingetragens Warenzeichen in den USA.
- Alle anderen in diesen Handbuch erwähnten Produktnamen konnen Warenzeichen oder eingetragene Warenzeichen der jeweiligen Eigentümer sein.
- Im Handbuch sind die Warenzeichen und eingetragenen Warenzeichen nicht in jedem Fall ausdrücklich durch "I" bzw. "I" gekennzeichnet.
Technische Merkmale. 1
Die Stromsparfungkion (Benutzersensor/Stromsparfungkction) 19
Wenn der Benutzersensor nicht ordnungsgemäß Funktioniert . . . 19
Automatische Helligkeitseinstellung (Lichtsensor) 21
Automatische Einstellung der Bildqualität (nur analoge RGB-Signale)..21
Storungsbehebung 22
Bildschirmeldungen 22
FehlersymptomeundAbhilfemaBnahmen.
Selbstdiagnosefungkction. 2
Technische Daten 26
Anhang(Appendix)
Presetmodetimingtable
TCO'99 Eco-document
Sicherheitsmaßnahmen
Warnhinweis zum Netzanschluß
- Verwenden Sie ausschließlich das mitgelieferte Netzkabel. Wenn Sie ein anderes Netzkabel verwenden,chten Sie daraufauf, daß es für die Stromversorgung in Ihr dem Land geeignet ist.
FürKundenindenUSA
Wenn Sie kein geeignetes Netzkabel verwenden, entspricht dieser Monitor nicht den obligatorischen FCC-Standards.
Für Kunden in Großbritannien
Wenn Sie den Monitor in Großbritannien verwenden, benutzen Sieitte das Kabel mit dem fur Großbritannien geeigneten Stecker.
Beispiele für Steckertypeen

fur 100 bis 120 V Wechselstrom

fur 200 bis 240 V Wechselstrom

nur fur 240 V Wechselstrom
Die Netzsteckdose sollte sich in der Näre des Geräts befinden und kein zugänglich sein.
Aufstellort
Achten Sie darauf, daß der Monitor am Aufstell- oder Lagerort vor folgenden Bedingungen geschützt ist:
- Vor extremen Temperatures, wie sie zum Beispiel in der Nähe eines Heizkörpers, eines Warmluftauslasses oder in direktem Sonnenlicht auftreten. Extreme Temperatures, zum Beispiel in einem in der Sonne geparkten Auto oder in der Nähe eines Warmluftauslasses, können bei dem Monitor zu einer Verformung des Gehäuses oder zu Fehlfunktionen führen.
Vor mechanischen Vibrationen oder Stöben. - Vor starken Magnetfeldern. Stellen Sie den Monitor daher nicht in der Nähe von Geräten auf, die solche Magnetfelder erzeugen, zum Beispiel Fernsehgeräten oder Haushaltsgeräten.
- Vor übermäßig viel Staub, Schmutz oder Sand, wie sie zum Beispiel an einem offen den Fenster oder einer Tur ins Freie auftreten können. Wenn Sie den Monitor vorübergehend im Freien benutzten müssen, treffen Sie geeignete Vorsorgemaßnahmen gegenStaub- und Schmutzpartikelin der Luft. Andernfalls kann es zu irreparablen Schäden am Gerät kommt.
Hinweise zum LCD-Bildschirm
- Stellen Sie das Gerät nicht so auf, daß der LCD-Bildschirm auf die Sonne gerichtet ist. Anderfalls könnte der LCD-Bildschirm beschädigt werden. Achten Sie darauf auf besonders, wenn Sie den Monitor in der Nähe eines Fensters aufstellen.
- Stoßen Sie nicht gegen den LCD-Bildschirm, und zerkratzen Sieihn nicht. Stellen Sie keine schweren Gegenstände auf den LCD-Bildschirm. Dadurch konnte die Gleichmäßigkeit des Bildes beeintrachtigt werden, oder am LCD-Bildschirm konnten Fehlfunktionen auftreten.
- Wenn Sie den Monitor in einer kalten Umgebung benutzen, kann ein Nachbild auf dem LCD-Bildschirm zu sehen sein. Dies ist keine Fehlfunktion. Das Phenomen verschwindet, sobald wieder cinc normale Umgebungstemperatur erreicht ist.
- Wenn Sie über langere Zeit ein Standbild aneigen让他们, kann eine Zeit lang ein Nachbild zu sehen sein. Dieses Nachbild verschwindet nach einer Weile weiter.
- Der LCD-Bildschirm erwartt sich bei Betrieb. Dies ist keine Fehlfunktion.
Hinweis zu den integrierten Stereolautsprechern
Die Laatsprecher erzeugen ein Magnetfeld. Halten Sie Bänder/ Disketten und andere magnetische Datenträger von den Öffnungen der Laatsprecher fern. Das Magnetfeld der
Lautsprecher kann magnetische Datenträger wie Magnetbänder oder Disketten beschädigen.
Hinweis zum LCD-Bildschirm (Flüssigkristallbildschirm)
Bitte beachten Sie, daß der LCD-Bildschirm in einer Hochpräzisionstechnologie hergestellt wird. Schwarze oder helle Lichtpunkte (rot, blau oder grün) können jedoch permanent auf dem LCD-Bildschirm zu sehen sein, und unregelmäßige Farbstreifen oder helle Bereiche können auf dem LCD-Bildschirm erschieren. Dies ist keine Fehlfunktion. (Effektive Bildpunkte: über 99,99%)
Austauschen der Leuchtstoffrähe
Eine spezielle Leuchtstoffhre dient in dieser Monitor als Lichtquelle. Wenn die Anzeige auf dem Bildschirm dunkel oder instabil wird oder gar nicht mehr erscheint, muß die Leuchtstoffhre gegen eine neue ausgetauscht werden. Wenden Sie sich dazu an ihren Sony-Handler.
Wartung
- Trennen Sie unbedingt das Netzkabel von der Netzsteckdose, bevor Sie den Monitor reinigen.
- Reinigen Sie den LCD-Bildschirm mit einem weichen Tuch. Wenn Sie ein Glasreinigungsmittel verwenden,chten Sie daraufauf, daß es keine Antistatik-Lösung oder ähnliche Zusätze enthalt, da diese zu Kratzern auf der Beschichtung des LCD-Bildschirms führen können.
- Reinigen Sie Gehäuse, Bedienfeld und Bedienelemente mit einem weichen Tuch, das Sie leicht mit einer milden Reinigungslösung angefeucht haben. Verwenden Sie keine Scheuermittel, Scheuerschwämme oder Lösungsmittel wie Alkohol oder Benzin.
- Berühren Sie die Bildschirmoberfläche nicht mit scharfen, rauhen oder spitzen Gegenständen wie zum Beispiel Kugelschreibenbern oder Schraubenzichern. Andernfalls können die Bildschirmoberfläche zerkratzt werden.
- Beachten Sieitte, daß es zu Materialschäden oder zu Schäden an der LCD-Bildschirmbeschichtungkommen kann, wenn der Monitor fluchtigen Lösungsmitteln wie zum Beispiel Insektiziden ausgesetzt ist oder wenn er langere Zeit mit Gummi- oder Vinylmaterialien in Berühung kommt.
Transport
- Wenn Sie den Monitor transportieren müssen, loseen Sie zunchast alle Kabel. Um den Bildschirm zu tragen, fassen Sie den Fuß des Bildschirmständers fest mit beiden Händen. Wenn Sie die Media-Engine tragen, fassen Sie auch diese mit beiden Händen. Wenn Sie den Monitor fallenlassen, konnen Sie sich verletzen, und der Monitor konnte beschädigt werden.
- Wenn Sie den Monitor zur Reparatur oder bei einem Umzug transportieren müssen, verpacken Sie ihn mit Hilfe der Originalverpackungsmaterialien wieder im Originalkarton.
Entsorgen des Monitors
- Entsorgen Sie den Monitor nicht im normalen Hausmull.
Die Leuchtstoffhre in thisem Monitor enthalt Quecksilber. Der Monitor muß in Übereinstimmung mit den Vorschriften der lokalen Umwelt- und Entsorgungsbehörden entsorgt werden.
Lage und Funktion der Teile und Bedienelemente
Weitere Informationen finden Sie auf den in Klammern angegebenen Seiten.
LCD-Bildschirm
Sie konnen den Monitor bedieren, indem Sie die Tasten leicht berühren. Die Zeichen und Symbole, die Tastenfunktionen angehen, leuchten nach dem Einschalten des Monitors etwa 10 Sekunden lang. Wenn Sie in thisem Zeitraum keine Taste drücken, erlösen alle Anzeigen. Wenn Sie in thisem Zeitraum eine der Tasten drücken, leuchten nur die Zeichen bzw. Symbole weiter,diezudieserTastenkfungtiongehoren. Wenn alleAnzeigen ausgeschaltet sind und Sie eine der Tasten 4-8drucken, leuchten die Anzeigen wieder.
Vorderseite

Rückseite

Rechte SeiteLinke Seite

1Stereolaatsprecher (Seite 9) Diese Laatsprecher geben Tonsignale aus.
2 Benutzersensoren (Seite 19)
These Sensoren erkennen, wenn sich ein Benutzer vor dem Bildschirm befindet. Decken Sie sie auf keinem Fall mit Papier o.ä. a b.
3Lichtsensor (Seite 18, 21)
Dicer Sensor mißt die Helligkeit der Umgebung. Decken Si
ihn auf keinen Fall mit Papier o.ä.ab.
4 Taste MENU (Seite 12)
Diese Taste dient zum Aufrufen des Hauptmenus.
5 Tasten (Lautstärke) +/- und (+)/ (-) (Seite 9, 12)
Diese Tastendienzum Aufrufendes Menus LAUTSTÄRKE und fungieren beim Auswahlen von Menüoptionen und beim Einstellen von Werten als Tasten (+)/ (-) .
6 Taste (Helligkeit) (Seite 13)
Diese Taste dient zum Aufrufen des Menus HELLIGKEIT.
Taste (Kontrast) (Seite 13)
These Taste dient zum Aufrufer des Menüss KONTRAST.
8 Taste und Anzeige INPUT und OK (Seite 10, 12)
These Taste dient zum Auswahlen des Videocingangssignals INPUT1 (HD15-Anschluß (analoges RGB)) oder INPUT2 (DVI-I-Anschluß (digitales/analoges RGB)). Mit jedem Tastendruck wechseln das Eingangssignal und die entsprechende Eingangsanzeige.
Wenn das Menu auf dem Bildschirm angezeigt wird, fungiert diese Taste auch als Taste OK.
9 Netzanzeige (Seite 8, 19, 26) Die Netzanzeige leuchtet grün, wenn der Monitor eingeschaltet ist. Sie blinkt grün und orange, wenn sich der Monitor im Energiesparmodus befindet, und leuchtet orange, wenn er in den Stromsparmodus geschalteit ist.
10 Netzschalter (Seite 8, 26)
Dieser Schalter dient zum Ein- und Ausschalten des Monitors.
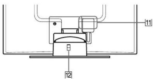
11 SYSTEM CONNECTOR (Seite 8) Über diesen Eingang werden die Signale von der Media-Engine eingespeist, wenn der Monitor und die Media-Engine mit einem Systemverbindungskabel verbunden sind.
12 Aussparung fur die Sicherheitsspere Die Aussparung fur die Sicherheitsspere ist fur ein Micro Saver Security-System von Kensington gedacht. Micro Saver Security-System ist ein Warenzeichen von Kensington.
13 Kopfhorerbuchse (Seite 10) Hier werden Tonsignale an den Kopfhorer ausgegeben.
14 USB-Anschlüsse (Universeller Serieller Bus) für nachgeschaltete Geräte (Seite 9) Über diese Anschlüssle können Sie den Monitor mit USB-Peripheriegeräten verbinden.
Media-Engine
Rückseite Vorderseite

15 Netzeingang AC IN (Seite 8)
Dieser Anschluß dient zur Stromversorgung des Monitors.
16 HD15-Eingang (analoges RGB, INPUT1) (Seite 7)
Dieser Anschluß dient zum Einspeisen von analogen RGB-Video signalen (0,700 Vp-p, positiv) und Synchronisationssignalen.
17 DVI-I-Eingang (digitales/analoges RGB, INPUT2) (Seite 7)
Dieser Anschluß dient zum Einspeisen analoger RGB-Videosignale (0,700 Vp-p, positiv) mit Synchronisationssignalen oder digitaler RGB-Videosignale, die der Norm DVI Rev. 1.0 entsprechen. Mit dem Digital/ Analog-Wahlschalter [2] können Sie zwischen digitalen RGB-Signalen und analogen RGB-Signalen umschaften.
18 SYSTEM CONNECTOR (TO DISPLAY) (Seite 8)
Uber diesen Ausgang werden die Signale an den Monitor weitergeltitet, wenn der Monitor und die Media-Engine mit einem Systemverbindungskabel verbunden sind.
19 Buchsen AUDIO IN (Seite 8, 18)
Über diese Buchsen werden Tonsignale eingespeist, wenn das Gerät an den Audioausgang eines Computers oder an ein anderes Audiograt angeschlossen ist.
20 USB-Anschlüsse (Universeller Serieller Bus) für vorgeschaltete Geräte (Seite 9, 17)
Über diese Anschlüsse können Sie den Monitor mit USB-kompatiblen Computern verbinden.
21 Digital/Analog-Wahlschalter (Seite 7)
Wenn Sie den DVI-I-Eingang [17] über das DVI-HD15-Videoisignalkabel (RGB, analog) (mitgeliefert) mit einem Computer verbinden, der mit einem HD15-Ausgang (analoger RGB-Ausgang) ausgestattet ist, schiben Sie diesen Schalter auf ANALOG.
Wenn Sie den Eingang über ein DVI-DVI-Videoisignalkabel (RGB, digital) (nicht mitgeliefert) mit einem Computer verbinden, der mit einem DVI-Ausgang (digitaler RGB-Ausgang) ausgestattet ist, schiben Sie diesen Schalter auf DIGITAL.
Standardmäßig ist dieser Schalter auf ANALOG cingestellt.
22Netzschalter (Seite 8)
Dieser Schalter dient zum Ein- und Ausschalten des Monitors.
23Netzanzeige (Seite 19)
These Netzanzeige leuchtet grün, wenn die Media-Engine eingeschaltet ist. Die Netzanzeige leuchtet rot, wenn der Bildschirm aus-, die Media-Engine aber eingeschaltet ist. Die Netzanzeige leuchtet orange, wenn sich der Monitor im Stromsparmodus befindet.
- D i e s e r A n s c h l u B wird nurvon Kundena Schlieben Sie nichts daran an.
Installation
Bevor Sie mit dem Monitor arbeiten, überprüfen Sieitte, ob folgende Teile mitgelicfert wurden:
LCD-Bildschirm
Media-Engine
-Netzkabel
- Systemverbindungskabel (2m)
DVI-HD15-Vidcosignalkabel (RGB, analog)
- Audiokabel (Stereoministercker)
- USB-Kabel
- Macintosh-Adapter
- Windows Monitor Information/Windows Utility/Macintosh Utility Disk
- Garantiekarte
- Hinweise für Macintosh-Benutzer
- Diese Bedienungsanleitung
Schritt 1: Anschlieben der MediaEngine an den Computer
Schalten Sie vor dem Anschlieben die Media-Engine und den Computer aus.
Wenn Sie den Monitor an einen Computer mit einem DVI-Ausgang (digitaler RGB-Ausgang) anschließen, der der Norm DVI Rev. 1.0 entspricht, verwenden Sie ein DVI-DVI-Videoisignalkabel (RGB, digital) (nicht mitgeliefert).
Hinweis
Berühren Sie die Stiftes des Videosignalkabelanschlusses nicht. Sie konnten die Stifte sonst möglicherweise verbigen.
■ Anschlieben an einen IBM PC/AT oder kompatiblen Computer

■ Anschlieben an einen Macintosh
Verwenden Sie den mitgelieferten Macintosh-Adapter.

Macintosh
- In den mitgelieferten Hinweisen für Macintosh-Benutzer finden Sie weitere Erläuterungen.
Schritt 2: Überprüfen des Digital/ Analog-Wahlschalters
Überprüfen Sie vor dem Einsatz des Monitors oder des Computers unbedingt die Schaltereinstellung. Wenn Sie den DVI-I-Eingang des Monitors über das DVI-HD15-
Videosignalkabel (RGB, analog) (mitgeliefert) mit einem Computer verbinden, der mit einem HD15-Ausgang (analoger RGB-Ausgang) ausgestattet ist, schiben Sie den Schalter auf ANALOG.
Wenn Sie den Eingang über ein DVI-DVI-Videosignalkabel (RGB, digital) (nicht mitgeliefert) mit einem Computer verbinden, der mit einem DVI-Ausgang (digitaler RGB-Ausgang) ausgestattet ist, schiben Sie diesen Schalter auf DIGITAL.
StandardmäBig ist dieser Schalter auf ANALOG eingestellt.

Hinweis
Überprüfen Sie vor dem Einsatz des Monitors oder des Computers unbedingt die Schaltereinstellung.
(Fortsetzung)
Schritt 3: Anschlieben des Bildschirms und der Media-Engine
Schalten Sie vor dem Anschlieben die Media-Engine und den Bildschirm aus.
Stellen Sie den Bildschirm in aufrechter Position auf, damit Sie das Systemverbindungskabel muhelos anschließen können.

Richten Sie die Markierung am Stecker an der Markierung am Bildschirm und an der Media-Engine aus.
Vorsicht
Stellen Sie die Media-Engine unbedingt senkrecht auf, wie auf der Abbildung offen gezeigt. Wenn Sie die Media-Engine flach hinlagen, können die Luftrungsöffnungen blockiert werden, was zu Fehlfunktionen führen können.
Hinweis
Um das Kabel anzuschreiben, fassen Sie es am Stecker, und stecken Sie den Stecker so in die Buchse, daß er mit einem Klicken einrastet. Wenn Sie das Kabel loseen wollen, halten Sie den Sperrhebel A nach unter gedrückt, undziehen Sie den Stecker hereus.
Schritt 4: Anschlieben des Audiokabels

Schritt 5: Anschlieben des Netzkabels
Media-Engine, Bildschirm und Computer mussen ausgeschaltet sein. Schlieben Sie zuerst das Netzkabel an die Media-Engine an, und stecken Sie dann den Netzstecker in eine Netzsteckdose.

Schritt 6:Einschalten von Monitor und Computer
1 Schalten Sie die Media-Engine ein.
Der Bildschirm schaltet sich automatisch ein. Die Anzeigen an der Media-Engine und am Bildschirm leuchten grün auf.

2 Schalten Sie den Computer ein.
Hinweis
Wenn Sie die Media-Engine aus- und wieder einschalten, während der Bildschirm ausgeschaltet ist, schaltet sich der Bildschirm nicht automatisch ein. Schalten Sie den Bildschirm in thisem Fall mit dem Netzschalter Dam Bildschirm ein.
Die Installation des Monitors ist damit abgeschlossen. Stellen Sie gegebenenfalls das Bild mit den Bedienelementen des Monitors nach ihren Wünschen ein.
Wenn auf dem Bildschirm kein Bild erscheint
- Überprüfen Sie, ob der Monitor korrekt an den Computer angeschlossen ist.
-
Überprüfen Sie, ob die Media-Engine eingeschaltet ist.
Die Meldung KEIN EING SIGNAL erscheint auf dem Bildschirm: -
Der Computer befindet sich im Stromsparmodus. Dritten Sie eine beliebige Taste auf der Computer-Tastatur, oder bewegen Sie die Maus.
- Das Eingangssignal muß korrekt ausgewählt sein.
- Der Digital/Analog-Wahlschalter muß korrekt eingestellt sein.
Die Meldung KABEL NICT VERBUNDEN erscheint auf dem Bildschirm:
- Das Vidcosignalkabel muß richtig angeschlossen sein.
-
Das Eingangssignal muß korrekt ausgewählt sein.
-
Wenn die Meldung NICHT IM ABTASTBEREICH erscheint, schlieben Sie wieder ihren alten Bildschirm an. Stellen Sie dann die Grafikkarte des Computers auf eine
Horizontalfrequency zwischen 28 und 92kHz und eine Vertikalfrequency zwischen 48 und 85Hz ein.
Weitere Informationen zu den Bildschirmeldungen finden Sie unter "Fehlersymptome und Abhilfemaßnahmen" auf Seite 23.
Spezielle Treiber werden nicht benötigt
Dieser Monitor entspricht dem Plug-and-Play-Standard "DDC", so daß alle Daten des Monitors automatisch erkannt werden. Daher muß kein spezifischer Treiber auf dem Computer installiert werden.
Wenn Sie den Monitor an den Computer anschließen und diesen dann zum ersten Mal starten, wird möglicherweise der Hardware-Assistant auf dem Bildschirm angezeigt. Gehen Sie in thisem Fall nach den Anweisungen auf dem Bildschirm vor. Der Plug-and-Play-Monitor ist automatisch ausgewählt, so daß Sie ohne weitere Vorbereitungen mit dieserum Monitor arbeiten können.
Die Vertikalfrequency wechselt zu 60Hz
Da das Flimmern auf dem Monitor fast nicht sightbar ist, konnen Sie die Einstellung unverändert setzen. Sie brauchen die Vertikalfrequency nicht auf einen besonders hohen Wert einzustellen.
Wenn bei der Kommunikation zwischen ihrem Computer bzw. Ihrer Grafikkarte und thisem Monitor Probleme auftreten, installieren Sie die Informationsdatei zu thisem Monitor von der "Windows Monitor Information Disc". Näheres zur Installation finden Sie in der ReadDatei auf der Diskette.
Anschlieben von USB-kompatiblen Peripheriegeräten (USB - Universeller Serieller Bus)
Der Monitor verfügbar über zwei USB-Anschlüsse für
vorgescheltete Geräte und zwei USB-Anschlüsse für nachgeschaltete Geräte. Über diese Anschlüsse setzen sich mit Hilfe eines USB-Standardkabels schnell und problemlos USB-kompatible Peripheriegeräte (Tastatur, Maus, Drucker, Scanner usw.) an den Computer anschließen.
Wenn Sie den Monitor als Hub für Peripheriegeräte verwenden möchten, schlieben Sie die USB-Geräte wie unter abgebildet an.

USB-Anschlüss für nachgeschaltete Geräte An USB-kompatible Peripheriegeräte
1 Schalten Sie Monitor und Computer ein.
2 Schlieben Sie Ihr(n) Computer mit dem mitgelieferten USB-Kabel an die Anschlüsse für vorgeschaltete Geräte an der Media-Engine an.
Für Benutzer von Windows
Wenneine Meldung auf dem Bildschirm erscheint, gehen Sie nach den Anweisungen auf dem Bildschirm vor, und wahlen Sie einen generischen USB-Hub-Treiber aus.
3 Schlieben Sie die USB-kompatiblen Peripheriegeräte an die USB-Anschlüsse für die nachgeschalteten Geräte am Bildschirmständen an.
Anschluß an einen Macintosh-Computer
Wenn Sie eine Macintosh-Tastatur an den USB-Anschluß für nachgeschaltete Geräte anschließen, Funktioniert die Netztaste an der Tastatur nicht. Wenn Sie den Macintosh einschalten wollen, drücken Sie die Netztaste am Macintosh selbst, oder verbinden Sie die Tastatur direkt mit dem Macintosh, schalten Sie den Macintosh ein, und schreiben Sie die Tastatur dann an den Monitor an.
Hinweise
- Nicht alle Computer und/oder Betriebsysteme untersitzen USB-Konfigurationen. Schlagen Sie im Handbuch zu ihrem Computer nach, ob Sie USB-Geräte anschließen können.
- In den meisten Fälle muß USB-Treibersoftware auf dem Host-Computer installiert werden. Nähres hierzu finds Sie in den Bedienungsanleitungen zu den Peripheriegeräten.
- Wenn Sie einen Computer anschließen, der über den USB-Anschluß für vorgeschaltete Geräte am Monitor mit Strom versorgt wird, schaltet der Monitor nicht in den Stromsparmodus.
- Wenn sich der Monitor im Stromsparmodus befindet, Funktionieren die USB-Peripheriegeräte nicht. Wenn Sie die USB-Peripheriegeräte benutzen wollen, beenden Sie den Stromsparmodus, indem Sie den Netzschalter Ⓒ betätigten.
- Wenn die Peripheriegeräte nicht ordnungsgemäß Funktionieren, vergewissem Sie sich, daß die Einstellung des Eingangs für vorgeschaltete Geräte unter (USB-EINGANG) korrekt ist (Seite 17).
- Wenn Sie den Computer zum ersten Mal starten, nach dem Sie eine Tastatur oder eine Maus an die USB-Anschlüsse angeschlossen haben, Funktionieren die Peripheriegeräte möglicherweise nicht. Schließen Sie in thisem Fall die Tastatur und die Maus direkt an den Computer an, und konfigurieren Sie die USB-kompatiblen Geräte. Schließen Sie sie dann an diesen Monitor an.
- Achten Sie beim Anschlieben von Peripheriegeräten an die Anschlüsse für nachgeschaltete Geräte daraufuf, sich nicht auf den Bildschirm zu stützen. Andernfalls kann sich der Bildschirm neigen, und Sie konnten sich die Finger einklemmen.
- Die Anzahl der USB-Hubs, die aneinander angeschlossen werden können, ist durch USB-Spezifikationen auf maximal sechs Ebenen festgelegt. Zwei USB-Hub-Ebenen sind im Monitor integriert. Deshalb können Sie noch weitere vier USB-Hub-Ebenen anschließen.
Die Stereolautsprecher
Sie konnen Musik-, Klang- und andere Audiodateien über die Stereolautsprecher in Ihrm Monitor wiedergeben lessen.
Einstellen der Lautstärke
Die Lautstärke wird im Menu LAUTSTÄRKE eingestellt, das Sie über das Hauptmenu aufrufen können (Seite 11).
1 Schalten Sie die Anzeige der Zeichen und Symbole für die Tastenfunktionen ein.
Drucken Sie eine der Tasten MENU, (+) / (-) , (Helligkeit), (Krontrast) oder INPUT, damit die Zeichen und Symbole für die Tastenfunktionen leuchten.
(Fortsetzung)
2 Drucken Sie die Tasten +/-. Das Menu LAUTSTÄRKE wird auf dem Bildschirm angezeigt.


3 Stellen Sie mit den Tasten +/- die Lautstärke ein. Nach etwa 3 Sekunden wird das Menu automatisch ausgebrendet.
Wiedergabe über Kopfhörer
Sie können die Tonsignale des Computers oder Audiogeräts auch über Kopfhörer wiederergeben setzen. Schließlich Sie die Kopfhörer an die Kopfhörerbuchse an. Die Laufsprecher werden ausgeschaltet, wenn Kopfhörer an die Kopfhörerbuchse angeschlossen werden. Auch die Lautstärke der Kopfhörer können Sie im Menu LAUTSTÄRKE einstellen.
Hinweise
- Wenn das Hauptmenu auf dem Bildschirm angezeigt wird,alandt sich die Lautstärke nicht einstellen.
- Wenn sich der Monitor im Energie- oder Stromsparmodus befindet, wird über die Lautspricher oder Kopfhörer kein Ton ausgegeben.
Auswahlen des Eingangssignals
Über die Eingänge INPUT1 und INPUT2 konnen Sie zwei Computer an diesen Monitor anschließen. Mit der Taste INPUT schalten Sie zwischen den beiden Computern um.
1 Schalten Sie die Anzeige der Zeichen und Symbole für die Tastenfunktionen ein.
Drucken Sie eine der Tasten MENU, (+) / (-) , (Helligkeit), (Kontrast) oder INPUT, damit die Zeichen und Symbole für die Tastenfunktionen leucht.
2 Drucken Sie die Taste INPUT.
Mit jedem Tastendruck wechseln das Eingangssignal und die entsprechende Eingangsanzeige.
1: Eingang über den HD15-Eingang (analoges RGB)
2: Eingang über den DV1-I-Eingang (digitales/analoges RGB)

Hinweise
- Wenn das Hauptmenu auf dem Bildschirm angezeigt wird, laßt sich das Eingangssignal nicht auswahlen.
- Für den USB-Eingang für vorgeschaltete Geräte und den Audioclangen können Sie festlegen, ob sie ebenfalls mit der Taste INPUT umgeschelt werden können. Stellen Sie den USB-Eingang für vorgeschaltete Geräte mit der Option (USB-EINGANG) (Seite 17) und den Audioclangen mit der Option (AUDIO-EINGANG) (Seite 18) ein. Standardmäßig sind bereits Optionen so eingestellt, daß die Eingänge mit der Taste INPUT umgeschaltet werden.
Einstellen von Neigung und Höhe
Sie konnen den Bildschirm innerhalb der unten abgebildeten Winkel nach Bedarf einstellen.


Hinweise
- Wenn Sie Kabel an die USB-Anschlüsse für nachgeschaltte Geräte anschließen, kann der Drehwinkel nach rechts kleiner sein als 60 Grad.
- Achten Sie daraufuf, sich nicht die Finger zwischen dem Arm und der Basis des Ständern einzuklemen (A in der Abbildung oben).
Gehen Sie zum Einstellen der Winkel wie unter beschrieben vor.
1 Halten Sie den Bildschirmständer fest. Fassen Sie den Bildschirm unter in der Mitte, und neigen Sie den LCD-Bildschirm dann welt genug nach hinten.

Hinweis
Fassen Sie den Bildschirm nicht in der Nähe des Vorsprungs in der Mitte unter an. Andernfalls konnten Sie sich die Finger einkommen.
2 Halten Sie den LCD-Bildschirmträger unter an den Seiten fest, undziehen Sie ihn nach unten, um die Bildschirmhohe einzustellen.

3 Fassen Sie den LCD-Bildschirm oben und unter in der Mitte, und stellen Sie dann die Neigung des Bildschirms ein.

Hinweis
Wenn Sie Neigung und Höhe des Bildschirms einstellen, gehen Sie langsam und vorsichtig vor. Achten Sie daraufauf, den LCD-Bildschirm nicht gegen die Schreibtischplatte oder den Fuß des Bildschirmständers zu stößen.
So können Sie ergonomisch mit dem Bildschirm arbeiten
Der Bildschirm ist so konstruiert, daß er sich auf einen angenehmen Sichtwinkel einstellen laßt. Berücksichtigten Sie beim Einstellungen des Bildschirmwinkels die Höhe von Schreibtisch und Stuhl, und achten Sie daraufauf, daß auf dem Bildschirm keine Lichtreflexe auftreten.
Einstellen des Monitors
Vor dem Einstellen
Verbinden Sie den Monitor mit dem Computer, und schalten Sie beide Geräte ein. Die besten Ergebnisse erzielen Sie, wenn Sie mindestens 30 Minuten warten, bevor Sie Einstellungen vornehmen.
Mit den Bildschirmmenus konnen Sie eine Vielzahl von Einstellungen vormehmen.
Navigieren in den Menüs
Drucken Sie die Taste MENU, um das Hauptmenu auf dem Monitor aufzurufen. Weitere Informationen zur Taste MENU finden Sie unter "Verwenden der Tasten MENU, (+) / (-) und OK" auf Scite 12.

Wahlen Sie mit den Tasten (+) / (-) und OK cines der folgenden Menus aus. Weitere Informationen zu den Tasten (+) / (-) und OK finden Sie unter "Verwendten der Tasten MENU, (+) / (-) und OK" auf Seite 12.
PHASE (nur analogue
RGB-Signale) (Seite 14)
Im Menu PHASE stellen Sie die Phase ein, wenn die Zeichen oder Bilder auf dem gesamten Bildschirm verschwommen erscheinen. Stellen Sie die Phase nach dem Einstellen des Pitch ein.

2PITCH (nur analoge, RGB-Signale) (Seite
Im Menu PITCH stellen Sie den Pitch cin, wenn die Zeichen oder Bilder in bestimmten Bildschirmbereichen verschwommen erschreiben.

3 H CENTER (nur analogue RGB-Signale) (Seite 15)
Im Menu H CENTER konnen Sie die horizontale Zentrierung des Bildes einstellen.

(Fortsetzung)
4 V CENTER (nur analoge RGB-Signale) (Seite 15) Im Menu V CENTER können Sie die vertikale Zentrierung des Bildes einstehen.

5FARBE (Seite 15) ImMenuFARBE konnenSie die Farbtemperatur des Bildes einstellen. Damit legen Sie fest, ob die Farben auf dem Bildschirm mehr bläulich oder mehr rölich erschieren.

6ZOOM (Seite 16) Im Menu ZOOM konnen Sie die Bildgroße j en a c h Bildseitenverhältnis oder Auflösung des Eingangssignals einstellen.

7SMOOTHING (Seite 16) Im Mcni SMOOTHING stellen Sie die Bildschärfe entsprchend der auf dem Bildschirm angezeigten Elemente ein.

8 POSITION MENU (Seite 16) Im Menu POSITIONMENU können Sie die Position des Bildschirmenü einstellen.

9ZURUCKSETZEN (Seite 17) Im Menu ZURUCKSETZEN konnen Sie die Einstellungen zurücksetzen.

10 Weitere Menüoptionen (Seite 17) Wahlen Sie , wenn Sie die unten genommen Optionen einstehen wollen: USB-EINGANG AUDIO-EINGANG HINTERGRUNDBEL. LICHTSENSOR BENUTZERSensor STROMSPARMODUS LANGUAGE MENU-SPERRE

■ Verwendend der Tasten MENU, (+)/ (-) und OK
1 Schalten Sie die Anzeige der Zeichen und Symbole für die Tastenfunktionen ein.
Drücken Sie eine der Tasten MENU, ↑(+) / ↓(-), (Helligkeit), (Kontrast) oder INPUT, damit die Zeichen und Symbole für die Tastenfunktionen leuchten.
2 Rufen Sie das Hauptmenu auf.
Drücken Sie die Taste MENU, um das Hauptmenu auf dem Monitor aufzurufen.

3 Wahlen Sie das Menu aus, in dem Sie Einstellungen vornehmen sollen. Wahlen Sie mit den Tasten (+) / (-) das gewünschte Menu aus. Rufen Sie mit der Taste OK das gewünschte Menu auf.

4 Nehmen Sie im Menu die gewünschten Einstellungen vor. Nehmen Sie die Einstellung mit den Tasten (+) / (-) vor, und drücken Sie dann die Taste OK. Sobald Sie die Taste OK drücken, werden die Einstellungen gespeichert, und das vorherige Menu wird wieder angezeigt.

5 Schlie Ben Sie das Menu.
Wenn Sie die Taste MENU einzeln drucken, erscheint wieder
dienormaleAnzeige.WennSiekeineweiteretasted
wirddasBildschirmmenuchaatwa30Sekunden
automatischausgebrendet.

Zurücksetzen der Einstellungen
Sie können die Einstellungen über das Menu ZURÜCKSETZEN zurücksetzen. Weitere Informationen zum Zurücksetzen der Einstellungen finden Sie unter "Zurückssetzen der Einstellungen (ZURÜCKSETZEN)" auf Seite 17.
Einstellen des Kontrasts (KONTRAST)
DerKontrastwirdimMenu KONTRAST eingestellt, das Sie über das Hauptmenu aufrufen können (Seite 11). Die Einstellung wird dann für INPUT1, INPUT2 (analoges RGB) bzw. INPUT2 (digitales RGB) gespeichert.
1 Schalten Sie die Anzeige der Zeichen und Symbole für die Tastenfunktionen ein.
Druicken Sie eine der Tasten MENU, (+) / (-) , (Helligkeit), (Kontrast) oder INPUT, damit die Zeichen und Symbole für die Tastenfunktionen leuchten.
2 Drucken Sie die Taste (Krontrast).
Das Menu KONTRAST erscheint auf dem Bildschirm.

Horizontalfrequenz des aktuellen Eingangssignals
Vertikalfrequency des aktuellen Eingangssignals
Anzeigen des aktuellen Engangssignals
Die Horizontal- und die Vertikalfrequency des aktuellen Eingangssignals werden in den Menü KONTRAST und HELLIGKEIT angezeigt.
3 Stellen Sie mit den Tasten (+) / (-) den Kontrast ein.
Nach etwa 3 Sekunden wird das Menu automatisch ausgeblendet.
Hinweis
Wenn das Hauptmenü auf dem Bildschirm angezeigt wird, setzen sich Helligkeit und Kontrast nicht einstellen.
Einstellen des Schwarzwerts eines Bildes (HELLIGKEIT)
Die Helligkeit wird im Menu HELLIGKEIT eingestellt, das Sie über das Hauptmenü aufrufen können (Seite 11). Die Einstellung wird dann für INPUT1, INPUT2 (analoges RGB) bzw. INPUT2 (digitales RGB) gespeichert.
1 Schalten Sie die Anzeige der Zeichen und Symbole für die Tastenfunktionen ein.
Druicken Sie eine der Tasten MENU, (+) / (-) , (Helligkeit), (Kontrast) oder INPUT, damit die Zeichen und Symbole für die Tastenfunktionen leuchten.
2 Drucken Sie die Taste (Helligkeit).
Das Menu HELLIGKEITerscheint auf dem Bildschirm.

Horizontalfrequenz des aktuellen Eingangssignals
Vertikalfrequency des actuellen Engangssignals
Anzeigen des aktuellen Eingangssignals
Die Horizontal- und die Vertikalfrequency des aktuellen Engangssignals werden in den Menus KONTRAST und HELLIGKEIT angezeigt.
3 Stellen Sie mit den Tasten (+) / (-) die Helligkeit ein.
Nach etwa 3 Sekunden wird das Menu automatisch ausgeblendet.
Wenn der Bildschirm zu hell ist
Stellen Sie die Hintergrundbeleuchung ein. Weitere Informationen zum Einstellen der Hintergrundbeleuchung finden Sie unter "Einstellen der Hintergrundbeleuchung" auf Seite 18.
Hinweis
Wenn das Hauptmenu auf dem Bildschirm angezeigt wird, 参数着 Helligkeit und Kontrast nicht eingestehen.
Korrigieren eines flimmernden oder verschwommenen Bildes (PHASE/PITCH) (nur analoge RGB-Signale)
Wenn am Monitor ein Eingangssignal eingeht, stellt der Monitor mit Hilfe seiner automatischen Einstellfunktion fur die Bildqualität die Bildposition sowie Phase und Pitch automatisch ein, so daß das Bild auf dem Bildschirm scharf und ingreater Qualität angezeigt wird. Weitere Informationen zu dieser Funktion finden Sie unter "Automatische Einstellung der Bildqualität (nur analoge RGB-Signale)" auf Seite 21. Bei einigen Eingangssignalen werden Bildposition, Phase und Pitch unter Umständen nicht optimal eingestellt. In thisem Fall konnen Sie die Einstellungen von Hand vornehmen. Gehen Sie wie im folgenden erlautert vor. Wenn Sie diese Einstellungen von Hand vornehmen, werden sie im Gerät gespeichert und automatisch abgereufen, wenn am Monitor wieder die gleichen Eingangssignale eingehen. Diese Einstellungen müssen Sie unter Umstanden erneut vornehmen, wenn Sie nach dem Anschlieben des Computers das Eingangssignal wechseln.
1 Stellen Sie die Auflösung am Computer auf 1280 - 1024 ein.
2 Legen Sie die Dienstprogrammdiskette (Utility Disk) ein.
3 Starten Sie die Dienstprogrammdiskette, und rufen Sie das Testmuster auf. Für Windows
Klicken Sie auf [Utility] [Windows]/[Win Utility.exe].
Für Macintosh
Klicken Sie auf [Utility] [Mac]/[Mac Utility].
4 Schalten Sie die Anzeige der Zeichen und Symbole für die Tastenfunktionen ein.
Drucken Sie eine der Tasten MENU, (+) / (-) , (Helligkeit), (Kontrast) oder INPUT, damit die Zeichen und Symbole für die Tastenfunktionen leuchten.
5 Drucken Sie die Taste MENU.
Das Hauptmenu erscheint auf dem Bildschirm.
6 Wahlen Sie mit den Tasten (+) / (-) die Option (PITCH) aus, und drucken Sie die Taste OK.
Das Menu PITCH erscheint auf dem Bildschirm.
7 Drucken Sie die Tasten (+) / (-) , bis die vertikalen Streifen verschwinden.
Stellen Sie das Bild so ein, daß die vertikalen Streifen verschwinden.

8 Drucken Sie die Taste OK.
Das Hauptmenu erscheint auf dem Bildschirm.
Wenn auf dem gesamten Bildschirm horizontale Streifen zuschen sind, stellen Sie im nachsten Schritt die Phase ein.
9 Wahlen Sie mit den Tasten (+) / (-) die Option A (PHASE) aus, und drucken Sie die Taste OK.
Das Menu PHASE wird auf dem Bildschirm angezeigt.
10 Drucken Sie die Tasten (+) / (-) , bis die horizontalen Streifen auf ein Minimum reduziert sind.
Stellen Sie das Bild so ein, daß die horizontalen Streifen auf cin Minimum reduziert werden.

11 Klichen Sie auf dem Bildschirm auf END. Damit wird das Testmuster ausgeschelt.
So setzen Sie die automatische Einstellung der Bildqualität zurück
Aktivieren Sie im Menu ZURÜCKSETZEN die Option BILD ZURÜCK. Weitere Informationen zum Menu ZURÜCKSETZEN finden Sie unter "Zurücksetzen der Einstellungen (ZURÜCKSETZEN)" auf Seite 17.
Hinweis
Wenn digitale RGB-Signale eingespeist werden, brauchen Sie PHASE und PITCH nicht einzustellen.
Einstellen der Bildposition (H CENTER/V CENTER) (nur analoge RGB-Signale)
Wenn sich das Bild nicht in der Bildschirmitte befindet, stellen Sie die Bildposition folgendermaßen ein.
These Einstellungen müssen Sie unter Umständen erneut vornehmen, wenn Sie nach dem Anschlieben des Computers das Eingangssignal wechseln.
1 Starten Sie die Dienstprogrammdiskette, und rufen Sie das Testmuster auf.
Gehen Sie wie in Schritt 2 bis 4 unter "Korrigieren eines flimmernden oder verschwommenen Bildes (PHASE/ PITCH) (nur analoge RGB-Signale)" erlautert vor.
2 Drucken Sie die Taste MENU.
Das Hauptmenü erscheint auf dem Bildschirm.
3 Wahlen Sie mit den Tasten (+) / (-) die Option (H CENTER) oder (V CENTER) aus, und drücken Sie die Taste OK.
Das Menu H CENTER oder V CENTER erscheint auf dem Bildschirm.
4 Verschieben Sie das Bild nach oben, unten, links oder rechts, bis der Rahmen um das Testmuster verschwindet.
Stellen Sie mit den Tasten (+) / (-) die Bildposition ein. Im Menu H CENTER konnen Sie die horizontale Bildposition korrigieren, im Menu V CENTER die vertikale.
5 Klichen Sie abschlussend auf dem Bildschirm auf END. Damit wird das Testmuster ausgeschelt.
Hinweis
Wenn digitale RGB-Signale eingespeist werden, brauchen Sie H CENTER und V CENTER nicht einzustellen.
Einstellen der Farbtemperatur (FARBE)
Mit den Optionen im Menu FARBE konnen Sie die Farbtemperatur des Bildes einstellen. Dabeiändert sich der Farbwert im weiß Farbfeld. Farben erscheinen bei einer niedrigen Farbtemperatur rötlich, bei einer hohen Farbtemperatur bläulich.
Sie können die Farbtemperatur auf die Werte "5000K", "6500K", "9300K" oder "BENUTZEREINST." einstehen.
1 Schalten Sie die Anzeige der Zeichen und Symbole für die Tastenfunktionen ein.
Drücken Sie eine der Tasten MENU, (+) / (-) , (Helligkeit), (Kontrast) oder INPUT, damit die Zeichen und Symbole für die Tastenfunktionen leuchten.
2 Drucken Sie die Taste MENU.
Das Hauptmenü erscheint auf dem Bildschirm.
3 Wahlen Sie mit den Tasten (+) / (-) die Option (FARBE) aus, und drucken Sie die Taste OK.
Das Menu FARBE erscheint auf dem Bildschirm.
4 Wahlen Sie mit den Tasten (+) / (-) die gewünschte Farbtemperatur aus, und drücken Sie die Taste OK.
5000K, 6500K und 9300K sind die voreingestalten Farbtemperatren. Der Standardwert ist 9300K. Wenn Sie die Farbtemperatur auf 6500K und 5000K senken, erschinen weitere Flächen nicht mehr bläulich, sondern rotlich. Sie können die Farbtemperatur für INPUT1, INPUT2 (analoges RGB) bzw. INPUT2 (digitales RGB) einstellen.
5 Nehmen Sie bei Bedarf eine Feineinstellung der Farbtemperatur vor.
Wahlen Sie mit den Tasten (+)/ (-) zunachst die Option EINSTELLUNG aus, und drücken Sie die Taste OK. Wahlen Sie dann mit den Tasten (+)/ (-) die Option R (Rot) oder B (Blau) aus, und drücken Sie die Taste OK. Stellen Sie anschließend mit den Tasten (+)/ (-) die Farbstemperatur ein, und drücken Sie die Taste OK. Bei dieser Einstellung wird die Farbstemperatur verändert, indem die Rot- oder die Blaukomponente im Vergleich zur Grünkomponente verstärkt oder abgeschwacht wird. Die Grünkomponente bleibt bzw. unverändert.

70
Wenn Sie die Farbtemperatur feineinstellen, werden die neuen Farbeinstellungen, die Sie unter BENUTZEREINST. vorgenommen haben, gespeichert und automatisch abgerufen, wenn Sie BENUTZER ausgehalten.
Sie konnen die Einstellung unter BENUTZEREINST. für INPUT1, INPUT2 (analoges RGB) bzw. INPUT2 (digitales RGB) vornehmen.
Ändern der Bildgroße je nach Signal (ZOOM)
Standardmäßig ist der Monitor so eingestellt, daß das Bild in voller Grübe auf dem Bildschirm aneigt wird, unabhängig von dem Modus oder der Auflösung des Bildes. Sie konnen das Bild aber auch im tatsächlichen Bildseitenverhältnis oder in der tatsächlichen Auflösung aneigen halten. Beachten Sieitte, daß Eingangssignale mit einer Auflösung ab 1280·1024 (SXGA) den ganzen Bildschirm fullen. Bei solchen Signalen steht die Funktion ZOOM nicht zur Verfugung. Die Einstellung wird dann für INPUT1, INPUT2 (analoges RGB) bzw. INPUT2 (digitales RGB) gespeichert.
1 Schalten Sie die Anzeige der Zeichen und Symbole für die Tastenfunktionen ein.
Drücken Sie eine der Tasten MENU, (+) / (-) , (Helligkeit), (Kontrast) oder INPUT, damit die Zeichen und Symbole für die Tastenfunktionen leuchten.
2 Drucken Sie die Taste MENU.
Das Hauptmenü erscheint auf dem Bildschirm.
3 Wahlen Sie mit den Tasten (+) / (-) die Option (ZOOM) aus, und drucken Sie die Taste OK.
Das Menu ZOOM erscheint auf dem Bildschirm.
4 Wahlen Sie mit den Tasten (+) / (-) den gewünschten Modus aus.
- FULL2: Das Eingangssignal wird in voller Höhe auf dem Bildschirm angezeigt, unabhängig von dem Modus oder der Auflösung des Bildes.
- FULL1: Das Eingangssignal wird im tatsächlichen Bildseitenverhältnis auf dem Bildschirm angezeigt. Daher können je nach Signal schwarze Streifen oben und unter am Bildrand erscheinen.
- ORIGINALGRösSSE: Das Eingangssignal wird mit der tatsächlichen Auflösung auf dem Bildschirm angezeigt. Signale mit einer niedrigeren Auflösung als 1280 - 1024 werden in der Bildschirmitte und umgeben von einem schwarzen Rahmen angezeigt.
Wenn wieder die Standardeinstellungen gelten sollen (Anzeige in voller Bildschirmgroße)
Wahlen Sie in Schritt 4 "FULL2".
Hinweis
Wenn ein Bild mit einer horizontalen Auflösung von 1280 Punkten oder einer vertikalien Auflösung von 1024 Zeilen eingespeist wird, hat das Bild in den Modi FULL1 und ORIGINALGRÖSSE die gleiche Höhe.
Glätten des Bildes (SMOOTHING)
Wenn das im Modus FULL2 oder FULL1 der Option ZOOM angezeigte Bild nicht störungsfrei ist, verwenden Sie die Bildgebungungsfunktion. Beachten Sie, daß Signale mit einer Auflösung von 1280·1024 (SXGA) nur im Modus ORIGINALGRösSE angezeigt werden und die Funktion SMOOTHING nicht aktiviert ist.
Die Einstellung wird dann für INPUT1, INPUT2 (analoges RGB) bzw. INPUT2 (digitales RGB) gespeichert.
1 Schalten Sie die Anzeige der Zeichen und Symbole für die Tastenfunktionen ein.
Drucken Sie eine der Tasten MENU, (+) / (-) , (Helligkeit), (Kontrast) oder INPUT, damit die Zeichen und Symbole für die Tastenfunktionen leuchten.
2 Drucken Sie die Taste MENU.
Das Hauptmenü erscheint auf dem Bildschirm.
3 Wahlen Sie mit den Tasten (+) / (-) die Option (SMOOTHING) aus, und drucken Sie die Taste OK.
Das Menu SMOOTHING wird auf dem Bildschirm angezeigt.
4 Wahlen Sie mit den Tasten (+) / (-) den gewünschten Modus aus.
Der Glattungseffekt wird in der Reihenfolge TEXT STANDARD GRAFIK stärker.
- TEXT: Damit werden Zeichen mit scharfen Konturen angezeigt. Diese Modus ist für textorientierte Anwendungen geeignet.
- STANDARD: Standardglattungseffekt (werkseitig eingestellt).
- GRAFIK: Damit werden Bilder scharf angezeigt. Diese Modus eignet sich für CD-ROM-Software wie Fotos oder Abbildungen.
Hinweis
Wenn Sie ZOOM auf ORIGINALGRösSE setzen, steht das Menu SMOOTHING nicht zur Verflügung.
Ändern der Menüposition (POSITION MENU)
Sie konnen das Menu verschiben, wenn es das Bild auf dem Bildschirm verdeckt.
1 Schalten Sie die Anzeige der Zeichen und Symbole für die Tastenfunktionen ein.
Drücken Sie eine der Tasten MENU, (+) / (-) , (Helligkeit), (Kontrast) oder INPUT, damit die Zeichen und Symbole für die Tastenfunktionen leuchten.
2 Drucken Sie die Taste MENU.
Das Hauptmenu erscheint auf dem Bildschirm.
3 Wahlen Sie mit den Tasten (+) / (-) die Option (POSITION MENU) aus, und drücken Sie die Taste OK.
Das Menu POSITION MENU wird auf dem Bildschirm angezeigt.
4 Wahlen Sie mit den Tasten (+) / (-) die gewünschte Position aus.
Sie konnen das Menu an eine von drei möglichen Positionen im oberen, mittleren bzw. unteren Bildschirmbereich stellen.
Zurücksetzen der Einstellungen (ZURÜCKSETZEN)
1 Schalten Sie die Anzeige der Zeichen und Symbole für die Tastenfunktionen ein.
Drucken Sie eine der Tasten MENU, (+) / (-) , (Helligkeit), (Kontrast) oder INPUT, damit die Zeichen und Symbole für die Tastenfunktionen leuchten.
2 Drucken Sie die Taste MENU.
Das Hauptmäü erscheint auf dem Bildschirm.
3 Wahlen Sie mit den Tasten (+) / (-) die Option (ZURUCKSETZEN) aus, und drücken Sie die Taste OK.
Das Menu ZURÜCKSETZEN entscheid auf dem Bildschirm. Setzen Sie die Einstellungen dann anhand der folgenden Anweisungen zurück.
Zurücksetzen der Einstellungen für das aktuelle Eingangssignal auf die geeignetsten Werte (nur analoge RGB-Signale)
Wahlen Sie mit den Tasten (+) / (-) die Option BILD ZURUCK aus, und drucken Sie die Taste OK.
Bei der automatischen Einstellung der Bildqualität setzen dieser Monitor automatisch Bildposition, Phase und Pitch auf die geeignetsten Werte.
Das Menu ZURÜCKSETZEN wird ausgebendet, sobald die Einstelldaten zurückgesetzt wurden.
Zurücksetzen aller Einstellungen für alle Eingangssignale
Wahlen Sie mit den Tasten (+) / (-) die Option ALLES ZURUCK aus, und drucken Sie die Taste OK.
Die Einstellung des Mentis LANGUAGE wird beibehalten. Das Menu ZURUCKSETZEN wird ausgeblendet, sobald die Einstelldaten zurückgesetzt wurden.
So brechen Sie das Zurücksetzen ab Wahlen Sie mit den Tasten (+) / (-) die Option aus, und drücken Sie die Taste OK.
Die Daten werden nicht zurückgesetzt. Das Menu ZURUCKSETZEN wird automatisch ausgeblendet, und das Hauptmenu erscheint wieder.
Weitere Einstellungen
Sie konnen folgende Menüoptionen einstellen:
- USB-EINGANG
- AUDIO-EINGANG
HINTERGRUNDBEL. - LICHTSensor
BENUTZERSENSOR
STROMSPARMODUS
LANGUAGE
-MENU-SPERRE
1 Schalten Sie die Anzeige der Zeichen und Symbole für die Tastenfunktionen ein.
Drucken Sie eine der Tasten MENU, (+) / (-) ,
(Helligkeit), (Kontrast) oder INPUT, damit die Zeichen und Symbole für die Tastenfunktionen leuchten.
2 Drucken Sie die Taste MENU.
Das Hauptmenü erscheint auf dem Bildschirm.
3 Wahlen Sie mit den Tasten (+) / (-) die Option ↓ aus.
Weitere Menüsymbole erscheinen auf dem Menübildschirm.
4 Wahlen Sie mit den Tasten (+) / (-) die gewünschte Menüoption aus, und drücken Sie die Taste OK.
Stellen Sie die ausgewählte Menuoption dann anhand der folgenden Anweisungen ein.
Einstellen des USB-Eingangs vorgeschalteter Geräte
Dieser Monitor ist mit zwei USB-Eingangen für vorgeschaltete Geräte ausgestattet. Welcher Eingang für vorgeschaltete Geräte aktiv ist, hangt von dieser Menüeinstellung ab.
Wahlen Sie mit den Tasten (+) / (-) die Option (USB-EINGANG) aus, und drücken Sie die Taste OK. Wahlen Sie dann mit den Tasten (+) / (-) den gewünschten Modus aus.
AUTOMATISCH: Beide Eingänge für vorgeschaltete Geräte können mit der Taste INPUT ausgewählt werden
- EINGANG1: Als Eingang für vorgeschaltete Geräte wird der USB-Anschluß der INPUT1-Anschlüssle festgelegt.
- EINGANG2: Als Eingang für vorgeschaltete Geräte wird der USB-Anschluß der INPUT2-Anschlüssle festgelegt.
Hinweise
- Wenn Sie diese Option auf EINGANG1 oder EINGANG2 setzen, wechselt der Eingang für vorgescheltete Geräte nicht, auch wenn Sie den Videogang mit der Taste INPUT wechseln. Wenn Sie den Eingang für vorgescheltete Geräte mit der Taste INPUT wechseln wollen, setzen Sie die Option auf AUTOMATISCH.
- Wenn Sie Geräte, bei denen eine langere Datenkomunikation mit dem Computer erforderlich ist, wie z. B. einen Drucker oder einen Scanner, an einen Anschluß für nachgeschaltete Geräte an thisem Monitor anschließen, setzen Sie diese Option auf EINGANG1 oder EINGANG2. Andernfalls wird die Datenkomunikation mit dem Computer jeder Mal unterbrochen, wenn Sie die Taste INPUT drucken, und das Drucken oder Scannen kann fehlschlagen.
Einstellen des Audioeingangs
Dieser Monitor ist mit zwei Audioeingangsbuchsen ausgestattet.
Welcher Audioeingang aktiv ist, hängt von dieser
Mentueinstellung ab.
Wahlen Sie mit den Tasten (+) / (-) die Option (AUDIO-EINGANG) aus, und drucken Sie die Taste OK. Wahlen Sie dann mit den Tasten (+) / (-) den gewündsten Modus aus.
AUTOMATISCH: Beide Audioeingänge können mit der Taste INPUT ausgewählt werden
- EINGANG1: Als Audioeingang wird die Buchse AUDIO IN der INPUT1-Anschlüsse festgelegt.
- EINGANG2: Als Audioeingang wird die Buchse AUDIO IN der INPUT2-Anschlüsse festgelegt
Hinweis
Wenn Sie diese Option auf EINGANG1 oder EINGANG2 setzen, wechselt der Audioeinggang nicht, auch wenn Sie den Videoeingang mit der Taste INPUT wechseln. Wenn Sie den Audioeinggang mit der Taste INPUT wechseln wollen, setzen Sie die Option auf AUTOMATISCH.
Einstellen der Hintergrundbeleuchting
Wenn der Bildschirm zu hell ist, muß die Hintergrundbeleuchtung eingestellt werden.
Wahlen Sie mit den Tasten (+) / (-) zunachst die Option NTERGRUNDBEL.) aus, und drucken Sie die Taste OK. Stellen Sie dann mit den Tasten (+) / (-) die gewünschte Helligkeit ein.
Automatisches Einstellen der Bildschirmhelligkeit (Lichtsensor)
Der Monitor ist mit einem Lichtsensor ausgestattet, der die Umgebungshelligkeit erkennt. Über diesen Sensor wird die Helligkeit des Bildschirms automatisch reguliert.
Wahlen Sie mit den Tasten (+) / (-) zunachst die Option (LICHTSENSOR) aus, und drücken Sie die Taste OK. Wahlen Sie dann mit den Tasten (+) / (-) die Option EIN oder AUS.
Wenn Sie EIN wahlen, paßt der Monitor die Helligkeit des Bildschirms automatisch an die Lichtverhältnisse der Umgebung an. Weitere Informationen zu dieser Funktion finden Sie unter "Automatische Helligkeitsinstellung (Lichtsensor)" auf Seite 21.
Hinweis
Wenn Sie diese Funktion auf EIN setzen,ändert sich der Einstellwert der Option HINTERGRUNDBEL. dadurch nicht. Wenn die Bildhelligkeit nach der automatischen Einstellung nicht korrekt ist, konnen Sie die Hintergrundbeleuchung von Hand korrigieren. Wenn Sie die Hintergrundbeleuchung eingestellt haben, reguliert der Monitor die Bildhelligkeit automatisch unter Berücksichtigung des neuen Werts für die Hintergrundbeleuchung.
Der Benutzersensor
Mit Hilfe der Benutzersensorfunktion kann der Monitor in den Energiesparmodusschalten, wenn sich niemandvordemMonitor aufhält.
Wahlen Sie mit den Tasten (+) / (-) zunachst die Option (GENUTZERSON) aus, und drucken Sie die Taste OK. Wahlen Sie dann mit den Tasten (+) / (-) den gewünschten Modus aus.
3: Hohe Empfindlichkeit des Sensors.
- 2: Standardempfindlichkeit
1: Geringe Empfindlichkeit des Sensors.
AUS: Der Sensor ist nicht aktiviert.
Weitere Informationen zum Energiesparmodus finden Sie unter "Die Stromsparfungkction (Benutzersensor/Stromsparfungkction)" auf Seite 19 und "Wenn der Benutzersensor nicht ordnungsgemäß Funktioniert" auf Seite 19.
Einstellen des Stromsparmodus
Der Monitor verfügt über eine Funktion, die ihn gesteuet über die Stromsparkkonfiguration des Computers automatisch in den Stromsparmodus schaltet. Wenn Sie die Stromsparoption auf AUS setzen, schaltet der Monitor nicht in den Stromsparmodus.
Wahlen Sie mit den Tasten (+) / (-) zunachst die Option (STROMSPARMODUS) aus, und drucken Sie die Taste OK. Wahlen Sie dann mit den Tasten (+) / (-) die Option EIN oder AUS.
Auswahlen der Sprache für die Bildschirmmenüs
Für die Bildschirmenüs stehen die Sprachen Englisch, Deutsch, Französisch, Spanish, Italienisch und Japanisch zur Verfügung. Die Standardeinstellung ist Englisch.
Wahlen Sie mit den Tasten (+) / (-) zunachst die Option (LANGUAGE) aus, und drücken Sie die Taste OK. Wahlen Sie dann mit den Tasten (+) / (-) eine Sprache aus.
- ENGLISH: Englisch
- DEUTSCH
FRANÇAIS: Französisch - ESPANOL: Spanish
ITALIANO: Italienisch - 日本語:Japanisch
■ Sperren der Menüs und Bedienelemente Wahlen Sie mit den Tasten (+)/ (-) zunachst die Option (MENÜ-SPERRE) aus, und drücken Sie die Taste OK. Wahlen Sie dann mit den Tasten (+)/ (-) die Option EIN aus.
Wenn die Bedienelemente gespert sind, Funktionieren nur noch der Netzschalter und (MENÜ-SPERRE). Wenn Sie etwas anderes auswahlen, erscheidt die Markierung auf dem Bildschirm.
So haben Sie die Sperrung der Bedienelemente und Menus wieder auf
Gehen Sie wie oben erläutert vor, und setzen Sie (MENÜ -SPERRE) auf AUS.
Technische Merkmale
Die Stromsparfung (Benutzersensor/Stromsparfungk)
Dieser Monitor erfflt die Energiesparrichtlinien der VESA, des ENERGY STAR-Programms und des NUTEK-Standards. Wenn der Monitor an einen Computer oder eine Grafikkarte angeschlssen ist, der bzw. die DPMS (Display Power Management Signaling) unterstzt, schaltet er automatisch in den Stromsparmodus. Wenn der Monitor erkennt, daß kein Benutzer anwesend ist, schaltet er in den Energiesparmodus.
| Stromsparstatus | Leistungsaufnahme | Netzanzeige an der Media-Engine | Netzanzeige ⓷ am Bildschirm |
| Normalbetrieb | ≤67 W | grün | grün |
| 1 Energiesparmodus | ≤8,5 W* | grün | abwechselnd grün und orange |
| 2 Stromsparmodus | ≤1,3 W* | orange | orange |
| (Bildschirm): aus | ≤1 W | rot | aus |
| Media-Engine: aus | 0 W | aus | aus |
- Die Zahlen geben den Stromverbrauch für den Fall an, daß der Computer, der an den USB-Anschluß für vorgeschaltetes Gerät am Monitor angeschlossen ist, ausgeschaltet ist.
1 Energiesparmodus (Benutzersensor)
Wenn der Benutzersensor im Monitor erkennt, daß kein Benutzer anwescend ist, schaltet er nach etwa 20 Sekunden in den Energiesparmodus. Das Symbol für den Benutzersensor erscheint und blinkt auf dem Bildschirm, bevor der Monitor in diesen Modus wechselt. Der Energiesparmodus ist ein Stromsparstatus, bei dem die Stromversorgung aller Schaltkreise (mit Ausnahme des Schaltkreises für den Sensor) ausgeschelt wird, und bzw unabhängig von der Einstellung des Computers.
Sobaldder Sensorerkennt, daß wieder ein Benutzer anwesend ist, schaltet der Monitor zurrück in den normalen Betrichsmodus.
Wenn der Monitor aufgrund der Stromspareinstellungen des Computers in den Stromsparmodus wechselt, so hat dieser Stromsparmodus Prioritat vor dem Energiesparmodus. In diesen Fall bleibt der Monitor im Stromsparmodus, unabhängig davon, ob ein Benutzer anwesend ist oder nicht.
Um den Monitor in einem solchen Fall wieder in den normalen Betriebsmodus zu schalten, führen Sie eine Aktion aus, die den Stromsparmodus beendet.
Wenn der Benutzersensor nicht ordnungsgemäß Funktioniert, schlagen Sieitte die Anweisungen auf der nachsten Seite nach.
Wenn der Benutzersensor nicht ordnungsgemäß Funktioniert
Befindet sich der Benutzer innerhalb des Benutzererkennungsbereichs?
Der Benutzersensor erkennt, wie unten abgebildet, die An- bzw. Abwesenheit eines Benutzers (etwa die Mittellinie des Körpers) bis zu einem Abstand von etwa 70~cm und in einem Winkel von
2 Stromsparmodus
Die DPMS-Technologie definiert den deaktivierten Modus je nach dem Synchronisationssignal, das vom Computer einght. Die Leistungsaufnahme des Monitors beträgt in thisem Modus etwa maximal 1,3 W, wenn die Stromsparfungtion aktiviert ist. Wenn der Computer in den Stromsparmodus wechselt, besteht kein Eingangssignal mehr ein, und KEIN EING SIGNAL erscheint auf dem Bildschirm. Nach einigen Sekunden schaltet der Monitor in den Energiesparmodus.
Stromsparstatus Synchronisationsignal
Deaktiviert (Tiefschlaf)* horizontal: aus / vertical: aus
- "Tiefschlaf" ist ein Energiesparmodus, der von der EPA (Umweltschutzbehörde der USA) definiert wurde.
Hinweise
- Die Stromsparfunktion arbeitet je nach den eingespeisten Synchronisationssignalen unter Umständen nicht ordnungsgemäß. Setzen Sie in thisem Fall die Stromsparfunktion auf AUS.
- Wenn Sie einen Computer anschlieben, der über den USB-Anschluß für vorgeschaltete Geräte am Monitor mit Strom versorgt wird, schaltet der Monitor nicht in den Stromsparmodus.
30 Grad horizontal und vertical vom Sensor (Lichtsender) aus gezhen.
Draufsicht

BenutzererKennungsbereich
■Seitenansicht

Wenn der Benutzer rechts von der Bildschirmitte sitzt oder wenn der Bildschirm zu welt nach oben geneigt ist, befindet sich der Benutzer unter Umständen außerhalb des Benutzersensorbereichs. In thisem Fall müssen Plazierung und Winkel des Bildschirms eingestellt werden, oder der Benutzer muß seine Sitzposition ändern.
Außer dem kann die Empfindlichkeit des Benutzersensors eingestellt werden. Ausfuhrliche Informationen zum Einstellen des Benutzersensors finden Sie unter "Der Benutzersensor" auf Seite 18.
Sie können aus drei Empfindlichkeitsstufen wahren: 1, 2 und 3. Je higher die Nummer der Stufe,esto stärker die Empfindlichkeit. Berücksichtigten Sieitte, daß die Einstellungen die Empfindlichkeit je nach Winkel des Bildschirms optimieren sollen.
Beachten Sie die Tabelle unter, und stellen Sie den Winkel des Bildschirms oder die Empfindlichkeit des Sensors ein.
| Option Bildschirmwinkel | |
| 3 | 15° - 20° |
| 2 | 10° - 15° |
| 1 | 0° - 10° |

Befinden sich Lichtreflektierende Objekte, zum Beispiel eine Wand oder ein Stuhl, in geringer Entfernung rechts vom Sensor (Lichtsender)?
Lassen Sie rechts und links vom Bildschirm mehr als 10 cm Abstand und an der Oberseite mehr als 60 cm Abstand.
Andernfalls werden die Infrarotstrahlen des Sensors unter Umständen von der Wand reflektiert und fällschlicherweise als Benutzer interpretiert, so daß das Gerät nicht in den Energiesparmodus schaltet.
Ebenso kann ein Stuhl mit einer hohen Rückenlehne (mindestens etwa 80~cm ) eine Fehlinterpretation verursachen, so daß der Energiesparmodus nicht Funktioniert.
Kommte zu Interferenzen durch die Raumbeleuchting?
In thisem Fall mussenPlazierungundDistanzder Lichtquelle und der Winkel des Bildschirms so eingestellt werden, daß das Licht der Lichtquelle nicht direkt auf den Sensor trifft. Wenn Licht der Raumbeleuchting oder einer Schreibtischlampe direkt auf den Sensor (Lichtsender) fällt, schaltet das Gerät unter Umständen nicht in den Energiesparmodus, oder der Benutzersensor Funktioniert nicht ordnungsgemäß.
Fällt direktes Sonnenlicht auf den Sensor?
Direktes Sonnenlichtarfndnafden Sensorfallen.Dazu muB der Lichteinfall in den Raum mit einem Vorhang oder einer Jalousie reguliert werden,oder der Bildschirm muB so aufgestellt werden,dar er vom Fensterwegweist.
Wenn der Raum bei Sonnenschein zu hell erleuchtet oder der Bildschirm direkt auf das Fenster gerichtetist, konnendie starken Infrarotstrahlen der Sonne zu einer Fehlfunktion des Benutzersensors führen.
Darüber hinaus hangen Abstand und Winkel, innerhalb dessen der Sensor einen Benutzer erkennt, auch von der Umgebungshelligkeit bzw. von der Kleidung des Benutzers ab. Dies gilt besonders bei schwarzer oder sehr dunkler Kleidung.
Wenn sich Probleme mit dem Benutzersensor anhand dieser Hinweise nicht beheben setzen Sie die Option BENUTZERSENSOR auf AUS.
Automatische Helligkeitseinstellung (Lichtsensor)
Der Monitor kann die Helligkeit des Bildschirms automatisch auf die Umgebungshelligkeit einstellen. Wenn Sie die Option LICHTSensor auf EIN setzen, legt der Monitor einen möglichst gänstigen Helligeitswert für den Bildschirm fest. Standardmäßig ist die Helligkeit der Hintergrundbeleuchung auf den Höchstkwert gesetzt. Wenn Sie LICHTSensor auf EIN
setzen, stellt der Monitor die Hintergrundbeleuchung stufenlos auf einen Wert zwischen dem Höchst- und dem Mindestwert ein. Wenn der Benutzer einen Wert für die Hintergrundbeleuchung vordefiniert, wird die Hintergrundbeleuchung automatisch auf einen Wert zwischen diesen benutzerdefinierten Wert und dem Höchst- bzw. Mindestwert eingestellt.

Automatische Einstellung der Bildqualität (nur analoge RGB-Signale)
Wenn am Monitor ein Eingangssignal eingegt, stellt der Monitor mit Hilfe seiner automatischen Einstellfunktion für die Bildqualität die Bildposition sowie Phase undPitch ein, und darüber so, daß das Bild in der Mitte des Bildschirms in sehr larger Qualität angezeigt wird.
Darüber hinaus sind im Monitormethere werkseitig vordefinierte Modi als empfohlenc Einstelldaten gespeichert. Eine List der workseitig vordefinierten Modi finden Sie im Anhang.
Auch bei einem Eingangssignal, das einem der workseitig vordefinierten Modi entspricht, wird die Bildqualitat, sofern das Signal zum ersten Mal einget, mit Hilfe der automatischen Einstellfungtion fur die Bildqualitat je nach dem Typ der angeschlossenen Gerate optimiert.
Wenn ein Signal, das keinem der vordefinierten Modi entspricht, zum ersten Mal eingespeist wird, bewirkt diese automatische Einstellfunktion ebenfalls, daß bei einem beliebigen Timing innerhalb des für den Monitor gültigen Frenzbereichs (horizontal: 28 - 92kHz , vertical: 48 - 85Hz ) ein scharfes Bild angezeigt wird.
Hinweise
- Die automatische Einstellung der Bildqualität Funktioniert je nach Art des Eingangssignals nicht immer korrekt.
- Bei jedem Signal, das zum ersten Mal eingegt, wird die automatische Einstellfunktion für die Bildqualität aktiviert, und der Monitor braucht etwas länger als normal, um das Bild anzuzeigen.
- Wenn die automatische Einstellung der Bildqualität aktiviert ist, Funktioniert nur noch der Netzschalter.
- Solange die automatische Einstellfunktion für die Bildqualität aktiviert ist, wird auf dem Bildschirm AUTOMATISCHE EINSTELLUNG angezeigt.
Störungsbehebung
Lesen Sieitte im folgenden Abschnitt nach,bevor Sie sich an den Kundendienst wenden.
Bildschirmeldungen
Wenn am Eingangssignal ein Fehler vorliegt, erscheint eine der folgenden Warnmeldungen auf dem Bildschirm. Wie Sie das Problem beheben, schlagen Sie unter "Fehlersymptome und Abhilfemaßnahmen" auf Seite 23 nach.
Wenn NICHT IM ABTASTBEREICH auf dem Bildschirm erscheint
These Meldung gibt an, daß das Eingangssignal nicht den technischen Daten des Monitors entspricht. Überprüfen Sie folgenden.

Wenn "xxx.x kHz / xx Hz" auf dem Bildschirm erscheint
These Meldung gibt an, daß der Monitor die Horizontal- oder Vertikalfrequency nicht Unterstützung.
Die Zahlen geben die Horizontal- und Vertikalfrequency des aktuellen Engangssignals an.
Wenn "AUFLösUNG > UXGA" auf dem Bildschirm entscheid.
These Meldung gibt an, daß der Monitor die Auflösung nicht unterstützt.
Die Meldung KEIN EING SIGNAL entscheidint auf dem Bildschirm.
These Meldung gibt an, daß am zur Zeit ausgewählten Eingang kein Eingangssignal einget.

EINGANG:
Hier wird der zur Zeit ausgewählte Eingang angegeben (INPUT: 1 oder INPUT: 2).
Wenn "IN STROMSPARMODUS" auf dem Bildschirm erscheint
Wenn im Menu STROMSPARMODUS auf EIN gesetzt ist, schaltet der Monitor etwa 4 Sekunden nach Erscheinen der Meldung in den Stromsparmodus.
Wenn "USB ANGESCHLOSSEN" angezeigt wird
Diese Meldung gibt an, daß ein cingschalteter Computer an den USB-Anschluß für vorgescheltete Geräte am Monitor angeschlossen ist. Aus thisem Grund wechselt der Monitor nicht in den Energiesparmodus, auch wenn im Menu STROMSPARMODUS auf EIN gesetzt ist.
Wenn BITE WAHLEN SIE SXGA auf dem Bildschirm erscheint
These Meldung gibt an, daß die Auflösung des Eingangssignals bisher ist als 1280·1024 (SXGA). Stellen Sie den Computeritte so ein, daß er ein Signal mit der Auflösung 1280·1024 ausgibt.

Die Meldung KABEL NICT VERBUNDEN erscheint auf dem Bildschirm.
These Meldung gibt an, daß das Videosignalkabel nicht mehr an den zur Zeit ausgewählten Eingang angeschlossen ist.

EINGANG:
Hier wird der zur Zeit ausgewählte Eingang angegeben (INPUT: 1 oder INPUT: 2).
Wenn "IN STROMSPARMODUS" auf dem Bildschirm erscheint
Wenn im Menu STROMSPARMODUS auf EIN gesetzt ist, schaltet der Monitor etwa 4 Sekunden nach Erscheinen der Meldung in den Stromsparmodus.
Wenn "USB ANGESCHLOSSEN" angezeigt wird
These Meldung gibt an, daß ein eingeschalteter Computer an den USB-Anschluß für vorgeschalte Geräte am Monitor angeschlossen ist. Aus thisem Grund wechselt der Monitor nicht in den Energiesparmodus, auch wenn im Menu STROMSPARMODUS auf EIN gesetzt ist.
Fehlersymptome und Abhilfemaßnahmen
Wenn ein Problem auf den angeschlossenen Computer oder andere Geräte zusückzuführen ist, schlagen Sieitte in der Dokumentation zu dem angeschlossenen Gerät nach.
Fuhren Sie die Selfstdiagnosefunktion (Seite 26) aus, wenn sich ein Problem mit den im folgenden empfohlenen Maßnahmen nicht beheben laßt.
| Symptom | Überprüfen Sieitte folgenden: |
| Es wird kein Bild angezeigt. | |
| Die Netzanzeige leuchtet nicht | ·Das Netzkabel muß korrekt angeschlossen sein. |
| Die Netzanzeige leuchtet rot | ·Der Monitor muß am Netzschalter ➀ eingeschalten sein. |
| Die Netzanzeige blinkt rot | ·Überprüfen Sie, ob das Systemverbindungskabel korrekt angeschlossen ist und alle Stecker fest in den Buchsen sitzen (Seite 8).·Schalten Sie den Monitor am Netzschalter aus und dann wieder ein. |
| Die Netzanzeige ➁ leuchtet nicht, bzw. die Netzanzeige ➁ leuchtet nicht auf, wenn der Netzschalter ➁ gedrück wird | ·Der Monitor muß am Netzschalter ➂ eingeschalten sein.·Überprüfen Sie, ob die Media-Engine eingeschalten ist.·Überprüften Sie, ob das Systemverbindungskabel korrekt angeschlossen ist und alle Stecker fest in den Buchsen sitzen (Seite 8). |
| Die Netzanzeige ➁ leuchtet grün oder blinkt orange | ·Verwenden Sie die Selfbstdiagnosefunktion (Seite 26). |
| Die Netzanzeige ➁ leuchtet abwechselnd grün und orange | ·Der Monitor wechselnicht aus dem Energicsparmodus in den normalen Betriebsmodus, weil der Benutzersensor die Anwesenheit eines Benutzers nicht erkennt. Schalten Sie den Monitor am Netzschalter ➁ aus und dann wieder ein. Wenn Sie die Option BENUTZERSERSENSOR auf AUS setzen, schaltet der Monitor nicht in den Energicsparmodus (Seite 18). |
| Wenn ein Signal in den DVI-I-Eingang (digitaler/analoger RGB-Eingang) eingespeist wird | ·Überprüften Sie, ob die Einstellung des Digital/Analog-Wahlschalters dem Eingangssignattyp entspricht. Stellen Sie den Schalter auf das Eingangssignat ein. Schalten Sie dann die Media-Engine aus und wieder ein. Wenn ein digitales RGB-Signal eingespeist werden soll, starten Sie auch den Computer neu (Seite 7, 8). |
| Die Meldung KABEL NICT VERBUNDEN erscheint auf dem Bildschirm | ·Überprüften Sie, ob das Vidosignalkabel korrekt angeschlossen ist und alle Stecker fest in den Buchsen sitzen (Seite 7).·Achten Sie daraufauf, daß am Videogangsanschluss keine Stifte verbogen oder eingedrückt sind.Das Eingangssignal muß korrekt ausgewählt sein (Seite 10).·Ein nicht mitgeliefertes Vidosignalkabel ist angeschlossen. Wenn Sie ein nicht mitgeliefertes Vidosignalkabel anschließen, erscheidt KABEL NICT VERBUNDEN auf dem Bildschirm, und dann schaltet das Gerät in den Stromsparmodus. Dies ist keine Fehlfung. |
| Die Meldung KEIN EING SIGNAL erscheint auf dem Bildschirm, oder die Netzanzeige ➁ leuchtet orange | ·Überprüften Sie, ob das Vidosignalkabel korrekt angeschlossen ist und alle Stecker fest in den Buchsen sitzen (Seite 7).·Achten Sie daraufauf, daß am Videogangsanschluss keine Stifte verbogen oder eingedrückt sind.Das Eingangssignal muß korrekt ausgewählt sein (Seite 10).·Überprüften Sie, ob die Einstellung des Digital/Analog-Wahlschalters einem Eingangssignattyp entspricht. Stellen Sie den Digital/Analog-Wahlschalter je nach Typ der über den DVI-I-Eingang (analogcr/digitaler RGB-Eingang) eingespisten Signale in die geeignete Position. Schalten Sie dann die Media-Engine aus und wieder ein (Seite 7, 8).■Durch den angeschlossenen Computer oder andere Geräte verursachte Probleme·Der Computer befindet sich im Stromsparmodus. Drücken Sie eine beliebige Taste auf der Computer-Tastatur, oder bewegen Sie die Maus.·Überprüften Sie, ob die Grafikkarte korrekt in den Computer eingebaut ist.·Überprüften Sie, ob der Computer eingeschalten ist. |
| Die Meldung NICT IM ABTASTBEREICH erscheint auf dem Bildschirm | ■Durch den angeschlossenen Computer oder andere Geräte verursachte Probleme·Stellen Sie sichere, daß die Videofrequenz im für den Monitor angegebenen Bereich liegt. Wenn Sie einen ällerten Monitor durch diesen Monitor ersetzt haben, schreiben Sie den alten Monitor wieder an und stellen eine Freqenz im folgenden Bereich ein: Horizontalfrequenz: 28 - 92 kHz, Vertikalfrequency: 48 - 85 Hz. |
| Symptom | Überprüfen Sieitte folgende |
| Wenn BITE WÄHLEN SIE SXGA auf dem Bildschirm erscheidt | Die Auflösung des Eingangssignals ist länger als 1280·1024 (SXGA). Stellen Sie den Computer so ein, daß er ein Signal mit der Auflösung 1280·1024 ausgibt. |
| Sie arbeiten mit einem Windows-System | Wenn Sie einen altenen Monitor durch diesen Monitor ersetzt haben, schreiben Sie denalten Monitor wieder an und gehen folgendermaßen vor: Währn Sie in der Listete "Hersteller" die Option "SONY", und wahren Sie dann in der Listete "Modelle" im Gerätauswahlbildschirm von Windows die Option "SDM-N80". Wenn "SDM-N80" in der Listete "Modelle" nicht angezeigt wird, probieren Sie es mit "Plug & Play", oder instalieren Sie die Informationsdatci zu dieser Monitor von der "Windows Monitor Information Disk" (Seite 9). |
| Sie arbeiten mit einem Macintosh-System | Wenn Sie eine Macintosh-Tastatur an den USB-Anschluß für nachgeschaltete Geräte am Monitor anschließen, Funktioniert die Netztaste an der Tastatur nicht. Wenn Sie den Macintosh einschalten wollen, drücken Sie die Netztaste am Macintosh selbst, oder verbinden Sie die Tastatur direkt mit dem Macintosh, schalten Sie den Macintosh ein, und schreiben Sie die Tastatur dann an den Monitor an.Schlagen Sie in den mitgelieferten Hinweisen für Macintosh-Benutzer nach. |
| KEIN EING SIGNAL erscheidt auf dem Bildschirm | Die Einstellung des Digital/Analog-Wahlschalters wurde geändert, während sich der Monitor im normalen Betrieb befind. Stellen Sie den Schalter je nach Typ der über den DVI-I-Eingang (analoger/digitaler RGB-Eingang)ingespeisten Sonale in die geeignete Position. Schalten Sie dann die Media-Engine aus und wieder ein (Seite 7, 8). |
| Das Bild flimmert, springt, ozilliert oder ist gestört | Stellen Sie Pitch und Phase ein (nur analoge RGB-Signale) (Seite 14).Entfernen Sie alle möglichen Quellen elektrischer oder magnetischer Felder wie andere Monitore, Laserdrucker, Ventilatoren, Leuchtstoffrähen oder Fernsehgeräte aus der Nihe des Monitors.Halten Sie den Monitor von Stromleitungen fern, oder schützen Sie den Monitor durch eine Magnetabschirmung.Schreiben Sie das Netzkabel des Monitors an eine andere Steckdose, möglichst an einem anderen Stromkreis, an.Andern Sie die Ausrichtung des Bildschirms. |
| xDurch den angeschlossenen Computer oder andere Geräte verursachezte ProblemeSchlagen Sie in der Anleitung zur Grafikkarte die korrekte Monitorinstellung nach.Uberprüften Sie, ob der Grafikmodus (VESA, Macintosh 19 Zoll Farbe usw.) und die Frequenz des Eingangssignals von dieser Monitor unterstützt werden (siche Anhang).Auch wenn die Frequenz innerhalb des Unterstützung Bereichs liegt, arbeiten einzelne Grafikkarten möglicherweise mit einem Synchronisationsimpuls, der für eine korrekte Synchronisation des Monitors zu kurz ist.Stellen Sie die Aufrischungsrate am Computer (Vertikalfrequency) auf den Wert ein, mit dem Sie die besten Bilder erzielen. | |
| Das Bild ist verschwommen | Stellen Sie Helligkeit und Kontrast ein (Seite 13).Stellen Sie Pitch und Phase ein (nur analoge RGB-Signale) (Seite 14). |
| xDurch den angeschlossenen Computer oder andere Geräte verursachezte ProblemeStellen Sie die Auflösung am Computer auf SXGA (1280·1024) ein. | |
| Doppelbilder sind zu sehen | Verwenden Sie keine Bildschirmverlangcrungskabel und/oder Vidoschaltboxen, wenn diese Phänomen auflitt.Türperfahren Sie, ob alle Stecker fest in den jeweiligen Buchsen sitzen. |
| Das Bild ist nicht zentriert, oder die Bildgroße ist nicht korrekt | Stellen Sie Pitch und Phase ein (nur analoge RGB-Signale) (Seite 14).Stellen Sie die Bildposition ein (nur analoge RGB-Signale) (Seite 15).Beachten Sie, daß bei bestimmten Videomodi die Anzeige nicht den gesamtten Bildschirm füllt. |
| Das Bild ist zu Klein | Setzen Sie die Option ZOOM auf FULL2 (Seite 16).xDurch den angeschlossenen Computer oder andere Geräte verursachezte ProblemeStellen Sie die Auflösung des Computers und des Bildschirms aufeinander ein. |
| Das Bild ist dunkel | Stellen Sie die Helligkeit ein (Seite 13).Stellen Sie die Hintergrundbeteiligung ein (Seite 18).Nach dem Einsatz des Geräts daueret es的一些 Minute, bis der Bildschirm hell wird. |
| Wellenförmige oder elliptische Moiré-Effekte sind sightbar | Stellen Sie Pitch und Phase ein (nur analoge RGB-Signale) (Seite 14). |
| Die Farbe ist nicht gleichmäßig | Stellen Sie Pitch und Phase ein (nur analoge RGB-Signale) (Seite 14). |
Symptom
Weiß sieht nicht weiß aus
Die Bedienelemente am Monitor Funktionieren nicht (erscheint auf dem Bildschirm)
Der Monitor schaltet sich nach einer Weile aus
Die USB-Peripheriegerate Funktionieren nicht
Überprüfen Sieitte folgenden:
- Stellen Sie die Farbtemperatur ein (Seite 15).
-
Wenn die Tastensperre auf EIN gesetzt ist, setzen Sie sie auf AUS (Seite 18).
-
Setzen Sie die Stromsparfungtion auf AUS (Seite 18).
- Setzen Sie die Option BENUTZERSensor auf AUS (Seite 18).
Durch den angeschlossenen Computer oder andere Geräte verursachte Probleme
-
Deaktivieren Sie die Stromsparfungtion des Computers.
-
Überprüfen Sie, ob die Option (USB-EINGANG) entsprechend der Verbindung zwischen dem Computer und dem Monitor richtig eingestellt ist (Seite 17).
- Überprüfen Sie, ob die Stecker der USB-Kabel (mitgeliefert) fest in den Buchsen sitzen (Seite 9).
- Überprüfen Sie, ob der Bildschirm und die Media-Engine eingeschaltet sind.
Durch den angeschlossenen Computer oder andere Geräte verursachte Probleme
- Alle USB-kompatiblen Peripheriegeräte mit eigener Stromversorgung müssen eingeschaltet sein.
- Installieren Sie die neueste Version des Gerätetreibers auf Ihr Computer. Informationen zum geeigneten Gerätetreiber erhalten Sie beim Hersteller des Geräts.
- Wenn USB-kompatible Peripheriegeräte wie Tastatur oder Maus nicht Funktionieren, schreiben Sie sie zunachst direkt an den Computer an, starten Sie den Computer neu, und erhöhen Sie dann die erforderlichen USB-Einstellungen vor. Schreiben Sie Tastatur und Maus danach wieder an den Monitor an. Wenn Sie den Computer zum ersten Mal starten, nachdem Sie eine Tastatur oder eine Maus an die USB-Anschlüsse angeschlossen haben, funktionieren die Peripheriegeräte möglicherweise nicht.
Anzeigen des Namens, der Seriennummer und des Herstellungsdatums des Monitors
Während Videosignale am Monitor eingehen, halten Sie die Taste MENU mehr als fünf Sekunden lang gedrückt.
Ein Feld mit Informationen zum Monitor wird angezeigt.
MENU
Beispiel
Modellname
MODEL : SDM-N80
SER.NO:1234567
MANUFACTURED:2001-52
Seriennummer
Woche und Jahr der Herstellung
Läßt sich ein Problem mit den oben angegebenen Maßnahmen nicht beheben, wenden Sie sich an einen autorisierten Sony-Handler. Halten Sie die folgenden Informationen bereit:
- Modellname: SDM-N80
- Scriennummer
- Modellbezeichnung und technische Daten des Computers und der Grafikkarte
- Typ der eingespeisten Signale (analoge RGB-Signale/digitale RGB-Signale)
Selbstdiagnosefunktion
Dieser Monitor verfügt über eine Selfbstdiagnosefunktion. Wenn an dem Monitor oder am Computer bzw. an den Computern ein Problem auftritt, erscheint ein leerer Bildschirm, und die Netzanzeige 1 leuchtet grün auf oder blinkt orange. Wenn die Netzanzeige 1 orange leuchtet, befindet sich der Computer im Stromsparmodus. Drücken Sieine beliebige Taste; Computer-Tastatur, oder bewegen Sie die Maus.

Wenn die Netzanzeige 日 grun leuchtet
1 Schalten Sie das Gerät am Netzschalter aus. Lösen Sie die Videosignalkabel von den Anschlüssen INPUT1 und INPUT2 der Media-Engine.
2 Schalten Sie den Monitor am Netzschalter aus und dann wieder ein.
Wenn alle vier Farbbalken (weiß, rot, grün, blau) angezeigt werden, Funktioniert der Monitor ordnungsgemäß. Schließen Sie die Videoeingangskabel wieder an, und überprüfen Sie den Zustand des/der Computer(s).
Wenn die Farbbalken nicht erscheinen, liegt möglicherweise ein Fehler am Monitor vor. Wenden Sie sich mit der Beschreibung des Problems an einen autorisierten Sony-Handler.
Wenn die Netzanzeige orange blinkt
Schalten Sie den Bildschirm am Netzschalter aus und dann wieder ein.
Wenn die Netzanzeige jetzt grun leuchtet, Funktioniert der Monitor ordnungsgemäß.
Wenn die Netzanzeige immer noch blinkt, liegt möglicherweise ein Fehler am Monitor vor. Ermitteln Sie das Intervall, in dem die Netzanzeige blinkt (in Sekunden), und wenden Sie sich mit der Beschreibung des Problems an einen autorisierten Sony-Handler. Notieren Sie sich unbedingt die Modellbezeichnung und die Seriennummer des Monitors. Notieren Sie sich außer dem das Fabrikat und Modell Ihr's Computers und der Grafikkarte.
Technische Daten
LCD-Bildschirm Typ: a-Si-TFT-Aktivmatrix
BildgroBe: 46 cm
Eingangssignalformat RGB-Betriebsfrequenz*
Horizontal: 28 - 92kHz^**
Vertikal: 48 - 85Hz^**
Auflosung**
Horizontal: max. 1280 Punkte
Vertikal: max. 1024 Zeilen
Videoeingang Analoges RGB-Signal: HD15
Digitales/analoges RGB-Signal:
DV1-1 (29polig)
Eingangssignalpegel Analoges RGB-Vidcosignal
0,700 Vp-p, 75 Ω, positiv
Synchronisationssignal
TTL-Pegel, 2k positiv oder
ncgativ
(Separates horizontales und
vertikales Signal oder
zusammengesetztes
Synchronisationssignal)
0,3Vp-p75Ω,negative
(Grünsignal mit Synchronisation)
Digitales RGB-Video signal (DVI)
TMDS (eiffache Verbindung)
1W·2
Audioausgang
Kopfhörberbuchse Stercominibuchse
Buchsen AUDIO IN
geeignet fur Impedanz von 16-48Ω
Stereominibuchse 2
geeignet fur Impedanz von 47k
für 0,5 V effektiven Mittelwert
100 - 240V,50 - 60Hz,0,7 - 0,4A
Betriebsspannung
Leistungsaufnahme
max. 67 W
Betriebstemperatur
5-35°C
Abmessungen (B/H/T)
Bildschirm (aufrecht stehend,
eingestellt auf die tiefste Position):
ca. 432· 400· 195mm
Media-Engine:
ca. 94· 212· 204mm
Gewicht
Bildschirm:
ca. 6,5kg
Media-Engine:
ca. 1,5kg
Plug & Play
DDC2B
Zubehör
Naheres dazu finden Sie auf Seite 7.
-
Empfohlene Werte für das horizontale und vertikale Timing
-
Das horizontally Synchronbreitenverhältnis sollte bei mehr als 4.8% des horizontalen Gesamt-Timing oder bei 0.8 Sek liegen, je nachdem, welcher Wert hörer ist.
Die horizontale Austastbreite solte uber 2,5 uSek. liegen.
Die vertikale Austastbreite solte uber 450~ Sek liegen.
**Ein Signal mit einer Aufsung von 1600 - 1200 kann zur Not auch angezeigt werden, sofern seine Horizontal- und Vertikalfrequency unter den folgenden Werten liegen.
- Analoges RGB-Signal: horizontal 107kHz , vertical 85Hz
- Digitales RGB-Signal: horizontal 75kHz , vertical 60Hz
Änderungen, die dem technischen Fortschnitt dienen, bleiben vorbehalten.
Indice
Precauciones 4
Identificaciondecomponentesycontroles.
EinfachAnleitung