ToothWave H700I - Zahnbürste SILKN - Kostenlose Bedienungsanleitung
Finden Sie kostenlos die Bedienungsanleitung des Geräts ToothWave H700I SILKN als PDF.
Benutzerfragen zu ToothWave H700I SILKN
0 Frage zu diesem Gerät. Beantworten Sie die, die Sie kennen, oder stellen Sie Ihre eigene.
Eine neue Frage zu diesem Gerät stellen
Laden Sie die Anleitung für Ihr Zahnbürste kostenlos im PDF-Format! Finden Sie Ihr Handbuch ToothWave H700I - SILKN und nehmen Sie Ihr elektronisches Gerät wieder in die Hand. Auf dieser Seite sind alle Dokumente veröffentlicht, die für die Verwendung Ihres Geräts notwendig sind. ToothWave H700I von der Marke SILKN.
BEDIENUNGSANLEITUNG ToothWave H700I SILKN
- Warnungen & Gegenanzeigen 19
-
Zeichenerklarung 24
-
Lernen Sie ihren Silk'n ToothWave kennen 24
3.1 Anwendungszweck 24
3.2 Packungsinhalt 25
3.3 Bedientasten & Einstellungen 25
3.4 Bürstenkopf von Silk'n ToothWave 26
3.5 Aufladen des Gerats 27
3.6 Bedienungsanleitung lessen & aufbewahrenen 27
- Behandlungsplan 28
- Was Sie von Silk'n ToothWave erwarten konnen ....28
- Legen Sie los! 29
- Reinigung und Wartung 29
7.1 Reinigen der Zahnbürste 29
7.2 Reinigen der Ladestation 30
7.3 Austauschen des Bürstenkopfs 31 - Ersatzteile und Verbrauchsmaterialien 31
- Fehlerbehebung 31
- Kundenservice 32
- Garantie 32
- Entfernen des Akkus 32
- Entsorgung 34
- Spezifikationen 35
- Rechtlicher Hinweis 36
1. Warnungen & Gegenanzeigen

Eine Erklärung oder ein Ereignis, das auf eine mögliche oder drohende Gefahr, ein Problem oder eine andere unangenehme Situation bei der Verwendung des Geräts hinweist.
DE

Elektrizität und Sicherheitswannungen
Achten Sie immer daraufuf, dass ihre Handetrocken sind, bevor Sie die Ladestation an die Stromversorgung anschließen.
Stellen bzw. bewahren Sie die Ladestation und den USB-Adapter nicht an Orten auf, an denen diese in eine Flüssigkeit fallen oder gezogen werden können. Die Ladestation und der USB-Adapter sind nicht wasserdicht.
Zum Aufladen des Akkus ausschließlich den mitgelieferte USB-Adapter verwenden.
Die Ladestation oder den USB-Adapternicht verwenden, wenn sie in eine Flüssigkeit gefallen sind.
- rennen Sie das Gerät unverzüglich von der Stromquelle, wenn die Ladestation nicht ordnungsgemäß Funktioniert.
Die Ladestation oder den USB-Adapterniemals verwenden, wenn sie beschädigt sind oder nicht ordnungsgemäß Funktionieren.
Das Gerät, alle Teile und jegliches Zubehör vonHEYen Oberflächen fernhalten.
Versuchen Sie nicht, Ihr Gerät zu modifizieren, zu öffnen oder zu reparieren. Sie konnten sich der Gefahr durch elektrische Einzelteile aussetzen und sich ernsthafte Schäden zufugen. Dadurch erlischt ihre Garantie.
Das Gerät nicht verwenden, wenn die Teile oder das Zubehör nicht vom Hersteller in dieser Bedienungsanleitung stammen, wenn diese in irgendener Weise beschädigt sind, nicht ordnungsgemäß funktionieren oder wenn Sie Rauch sehen oder riechen. Verwenden Sie in diesen Fällen das Gerät nicht weiter undnehmen Sie Kontakt zum Kundenservice auf.
Der Hersteller übernimmt keine Haftung für Schäden oder Verletzungen, die auf eine unsachgemäß oder falsche Verwendung zurückzuführen sind.
Die Geräteile niemals in der Geschirrspulmaschine reinigen.
Xinder dürfen nicht mit dem Gerät speilen. Kinder dürfen these Gerät nicht reinigen oder warten.
Xinder dürfen nicht mit der Verpackung spiel. Sie können sich mit dem Verpackungsmaterial verletzen oder Kleinteile verschlucken und darüber ersticken.
Der Geräteakku kann nicht ausgetauscht werden.
Das Gerät und den Akku nicht im Hausmüll entsorgen! Entsorgen Sie these elektrische Gerät (einschließlich Zubehör und Teile) gemäß den gesetzlichen Vorschriften an einem ausgewiesenen Recyclinghof für Elektrogeräte.
Den Akku gemäß den Vorschriften entsorgen.
Sobald der Lebenszyklus des Gerats abgelaufen ist, muss der Akku vor der Entsorgung des Gerats halten werden (siehe Abschnitt 12. Entfernen des Akkus).

Gegenanzeigen
Die folgenden Personengruppen dürfen das Gerät einschließlich der Geräteteile nicht verwenden: Kinder unter 18 Jahren, Erwachsene mit eingeschrankten physischen, sensorischen oder psychischen Fähigkeiten, Personen, die über keine ausreichende Erfahrung im sicheren Umgang mit dem Gerät verfügen und Personen, die nicht verstehen, welche Gefahren mit der Nutzung des Geräts verbunden sind.
Nicht verwenden, wenn:
Sie einen Herzschrittmacher oder einen internen Defibrillator oder ein anderes aktives, implantiertes Gerät haben oder Sie medizinische Bedenken bezüglich der Verwendung these Geräts haben.
Sie aktuell oder in der Vergangenheit an Mundkrebs oder Oropharyngealkarzinom leiden oder gelitten haben oder an einer anderen Art von Krebs oder an einer Vorstufe von bösartigen Läsionen.
@hr Immunosystem aufgrund einer immunsuppressiven Krankheit wie HIV beeinträchtigt ist oder wenn Sie immunsuppressive Medikamente einnehmen.
Nehmen Sie bei Vorliegen der folgenden Fälle vor der Verwendung Kontakt zu ihrem Hausarzt auf:
Wenn Sie aktuell an Beschwerden leiden wie Herzkrankheiten, Epilepsie, unkontrollierter Bluthochdruck und Leber- oder Nierenerkrankungen.
Wenn Sie an unzureichend kontrollierten Hormonstörungen wie Diabetes oder Schilddrüsererkrankungen leiden.
@Venn Sie schwanger sind oder stillen.
Nehmen Sie in diesen Fällen vor der Verwendung Kontakt zu Ihrem Zahnarzt auf:
Wenn Sie in den letzten zwei Monaten einen chirurgischen Eingriff im Mund oder am Zahnfleisch hatten.
das Zahnfleisch stark verletzt ist.
Zusätzliche Warnungen:
Nicht auf den Bürstenkopf besteht.
2. Zeichenerklärung
| i | Wichtige Informationen zur Nutzung oder Wartung des Geräts. |
| CE | Mit diesen Symbol gekennzeichene Produkte erfüllen die Anforderungen der EU-Richtlinien. |
| IP67 | Vor dem Eindringen von Wasser in einer Tiefe bis zu 1 Meter und für 30 Minuten geschützt. |
| Nicht im Hausmäß entsorgen. Entsorgen Sie das Gerät gemäß der in Ihrlem Land geltenden gesetzlichen Vorschriften und halten Sie mit, die Umwelt zu schützen. Entspricht der EEAG-Richtlinie. | |
| Li-Ion | Lithium enthalten. |
| Der integrierte, aufladbare ToothWave-Akku enthalt Substanzen, die die Umwelt schädigen konnen. Den Akku immer entfernen und an einer offiziellen Sammelstelle für Batterien entsorgen. |
3. Lernen Sie Ihrten Silk'n ToothWave kennen
3.1 Anwendungszweck
Silk'n ToothWave wurde für die Entfernung von Zahnverfarbungen, Flecken, Zahnbelag und Zahnstein entworfen. Mit der Zeit und durch die regelmäßige Anwendung kann die Entfernung von Zahnstein erreicht und Zahnfleischerkrankungen (Gingivitis) und Zahnfleischbluten sowie Zahnkaries vorgebeugt werden. Auf unseren Internetseiten und in unseren Videos finden Sie weitere Informationen über die patentierte DentalRF™-Technologie.
Silk'n ToothWave wurde für die Anwendung zu Hause entworfen und ist nicht für die Verwendung an mehreren Patienten in einer Zahnarztpraxis oder einer dentalen Einrichtung geeignet. jeder andere Verwendung als die in dieser Bedienungsanleitung beschriebene ist nicht zulässig.
3.2 Packungsinhalt
Sehen Sie sich die Abbildung auf Seite (i) auf der Vorderseite der Bedienungsanleitung an.
-
2x Bürstenköffe mit weichen Bürsten 1x USB-Adapter (#8) (klein, groß) (#1)
-
1x Griff (#2)
-
1x Ladestation mit USB-Kabel + transparente Basis (#7)
-
1x Garantieheft (#9)
1x Bedienungsanleitung (#10)
3.3 Bedientasten & Einstellungen
Sehen Sie sich die Abbildung auf Seite (i) auf der Vorderseite der Bedienungsanleitung an.
| Taste Funktion / Modus | |
| Kontrolltaste (#3) | Lange drücken: schaltet das Gerät ein oder aus Kurz drücken: bei jedem drücken wechselt das Gerät in den{nachsten modus |
| Anzeige DentalRF-Modus (#4) | DentalRF ist für alle Modi aktiv((o)) |
| Anzeige Vibrationsmodus (#5) | Modus 1: Leichte Vibration - 274 Hz |
| Modus 2: Mittlere Vibration - 300 Hz | |
| Modus 3: Starke Vibration - 400 Hz Empfohlener Modus | |
| Modus 4: Keine Vibration | |
| Akker-Ladeanzeige (#6) | Blinkt grün - Akku wird geladen Kein Licht - Akku vollständig geladen Blinkt orange - Akku schwach Durchgehend orange - Akku leer |
i Sobald der Akku vollständig geladen ist, leuchtet das Licht 30 Sekunden dauerhaft grün und Goesn dann aus.
i Beim Einsatz des Geräts leuchten alle LED-Anzeigen 1 Sekunde auf und gehen dann aus. So konnen Sie überprüfen, ob alle LED-Anzeigen Funktionieren.
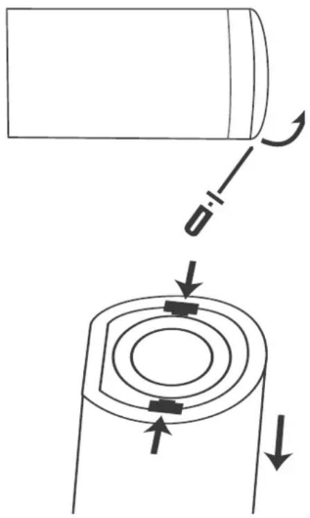
3.4 Bürstenkopf von Silk'n ToothWave
Der Bürstenkopf (#1) ist eine innovative und besondere Funktion von Silk'n ToothWave*. Er enthalt Borsten, 2 DentalRF-Elekstroden und einen Silikonstreifen, der zwischen den Elektroden liegt. Der Silikonstreifen leitet den DentalRF-Strom, damit dieser über die Zähne fließt. Außendem wird durch den Streifen sichergestellt, dass die Zahnpasta und die DentalRF-Energie effizient interagieren. Aus thisem Grund empfehlen wir, dass die Borsten stets gutekontakt zu den Zähnen haben.
- Patent anhangend.

Verwenden Sie den Bürstenkopf (#1) nicht, wenn
Borsten, der Silikonstreifen oder die Elektroden locker, verbogen, beschädigt oder zerdrückt sind. Beschädigte Elektroden, Borsten oder ein beschädigter Silikonstreifen können während des Putzens brechen.
3.5 Aufladen des Geräts
Achten Sie vor jeder Verwendung darauf, dass der Akku ausreichend geladen ist.
Erstes Aufladen


3.6 Bedienungsanleitungesen & aufbewahren
These Bedienungsanleitung basiert auf den in der Europäischen Union gültigen Standards und Regeln. Im Ausland sind auch die länderspezifischen Richtlinien und Gesetze zu beachten. Lesen Sie die Bedienungsanleitung vor der Verwendung sorgfältig durch und konsultieren Sie die Bedienungsanleitung, wenn Sie Zweifel daran haben, wie das Gerät auf sichere Weise verwendet wird.
4. Behandlungsplan
Morgens und abends 2 Minuten lang verwenden.
Ceinigen Sie die Zwischenräume der Zähne und massieren Sie leicht das Zahnfleisch.
Ceinigen Sie jeder Bereich (1,2,3,4) 30 Sekunden lang.

i Das Gerät ist für Zahnimplantate geeignet.
5. Was Sie von Silk'n ToothWave erwarten können
Während oder nach der Verwendung von Silk'n ToothWave konnen Sie:
One sanfte Wärme fühlen. Keine Sorge, das ist normal.
Schmerzen fuhlen, wenn Sie Zahnfleisch- oder Zahnprobleme haben, die einen Besuch beim Zahnarzt erfordern. Wenn Sie Schmerzen fuhlen, wenden Sie sich an ihren Zahnarzt.
i Verwenden Sie das Gerät nicht weiter, wenn Sie nach der Verwendung übermöig bluten oder die Blutung nach regelmäßigem Gebrauch eine Woche lang anhalt.
- Die Borsten mit lauwarmem Wasser auswaschen.
- Tragen Sie eine ausreichende Menge an Zahn pasta auf, um Beste Ergebnisse zu erzielen. Es kann jeder handelsübliche Zahn pasta verwendet werden.
- Das Gerät einschalten. Betätigten Sie kurz die Kontrolltaste (#3) und später so oft, bis der gewünschte Behandlungsmodus ausgewählt wurde.
- Bewegen Sie die Bürste mit kreisenden Bewegungen langsam und systematisch von Zahn zu Zahn und massieren Sie sanft das Zahnfleisch. Stellen Sie safer, dass die Borsten stets gute Kontakt zu den Zähen haben. Silk'n ToothWave hat weiche Borsten, um ihre Zähne und das Zahnfleisch zu schützen. Bürsten Sie sanft und mit nur leichtem Druck. Nicht schrubben.
- 2 Minuten lang verwenden. Alle 30 Sekunden fühlen Sie eine leichte Vibration (1 Vibration bei 30 Sekunden, 2 Vibration bei 60 Sekunden usw.). Nach den Vibrationen zu einem anderen Abschnitt im Mund wechseln (siehe Abschnitt 4. Behandlungsplan). Das Gerät schaltet sich nach 2 Minuten automatisch ab.
- Reinigen Sie das Gerät und lagern Sie es im Freien, wenn es Nass ist.
7. Reinigung und Wartung
7.1 Reinigend der Zahnbürste
Es ist wichtig, das Gerät nach jeder Anwendung zu reinigen. Verwenden Sie lauwarmes Wasser.
Reinigen Sie den Bürstenkopf (#1) und den Griff (#2), vom allem wenn ihre Zahn pasta Natron oder Bikarbonate enthalt. Dadurch wird verhindert, dass das Plastik springt.
Entfernen Sie den Bürstenkopf (#1) ein Mal monatlich vom Griff (#2). Reinigen Sie die Rille am Griff (#2), um angesammelte Reste von Zahn pasta oder anderen Schmutz zu entfern. Verwenden Sie für die Reinigung ein Wattestächen, spulen Sie die Stelle anschließend aus und trocknen Sie alles mit einem sauberen, trockenen Tuch ab.
Beinigen Sie die Basis des Bürstenkopfs (#1) auf die gleiche Weise.


7.2 Reinigend der Ladestation
- Trennen Sie zuerst die Ladestation (#7) von der Stromversorgung und entfernen Sie die Zahnbürste von der Ladestation (#7).
- Entfernen Sie die transparente Basis. Stellen Sie die Ladestation (#7) davon auf den Kopf. Entfernen Sie die transparente Basis, indem Sie die Clips nach außen drücken.

- Anschließlich, beiden Teile reinigen mit einem feuchten Tuch und abrocknen. Die Ladestation (#7) wieder an ihrem Ortplatzieren und fest nach unten drücken. Sie horen beim Einrasten ein Klicken.
7.3 Austauschen des Bürstenkopfs
Ersetzen Sie den Bürstenkopf (#1) alle 3 Monate oder wenn Sie merken, dass die Borsten beschädigt oder abgenutzt sind. Um den Bürstenkopf (#1) auszutauschen, entfernen Sie den alten Bürstenkopf und ersetzen Sie diesen mit einem neuen.
8. Ersatzteile und Verbrauchsmaterialien
Ersatzteile erhalten Sie bei ihrem Verkäufer oder online unter www.silkn.eu.
9. Fehlerbehebung
Versuchen Sie nicht, Ihr Gerät zu öffnen oder zu reparieren. Sie konnten sich der Gefahr durch elektrische Einzelteile aussetzen und sich ernsthafte Schäden zufugen. Dadurch erlischt ihre Garantie.
| Problem Überprüften | Gen |
| Mein Gerät lässt sich nicht einschalten. | Stellen Sie safer, dass der Akku ausreichend geladen ist. Siehe Abschnitt 3.5 Aufladen des Geräts. |
| Das Gerät ist geladen, aber es funktioniert nicht. | Betätigten Sie die Kontrolltaste (#3), um das Gerät neu zu starten. Wenn das Problem weiterhin besteht,kontaktieren Sie den Kundenservice. |
| Alle Anzeigeleuchten (#3,#4,#5)blinken. | Dies weist auf einen Systemfehler hin. Betätigten Sie die Kontrolltaste (#3), um das Gerät neu zu starten. Wenn das Problem weiterhin besteht,kontaktieren Sie den Kundenservice. |
i Bittewenden Sie sich bei Problemen oder Fragen an den Silk'n-Kundenservice.
10. Kundenservice
Auf unserer Internetseite finden Sie weitere Informationen: www.silkn.eu. Sie können diese Bedienungsanleitung auch als PDF von unserer Internetseite herunterlagen. Kontaktieren Sieden Kundenservice um unvorhagesehenes Verhalten oder Ereignisse oder andere Probleme mit ihrem Gerät zu berichten. Unsere Kontaktdaten:
| Land Servicenummer | ||
| Belgien0900-25006serviceconsommateurbe@silkn.eu | ||
| Frankreich0891-655557serviceconsommateurfr@silkn.eu | ||
| Deutschland 089 51 23 44 23 kundenservicede@silkn.eu | ||
| Italien servizioclientiit@silkn.eu | ||
| Niederlande | 0900-2502217 | klantenservicenl@silkn.eu |
| Spanien | 900 823 302 | servicioalcliente@silkn.eu |
| GB | 0906-2130009 | customercareuk@silkn.eu |
| Andere Länder | +31 (0)180-330 550 | info@silkn.eu |
11. Garantie
Vollständige Informationen finden Sie im separaten Garantieheft des Produkts.
12. Entfernen des Akkus
Sobald der Lebenszyklus des Geräts abgelaufen ist, müssen Sie vor der Entsorgung des Geräts den Akku entfernen. Dafür muss das Gerät geöffnet werden. Nach thisem Vorgang ist das Gerät nicht länger funktionsfähig und kann auch nicht mehr repariert werden. Durch das Öffnen des Gehäuses und Herausnahmen des Akkus erlischt jeglicher Garantieanspruch. Home Skinovations
Ltd haftet nicht für physische oder materielle Schäden, die durch diesen Vorgang entstehen.
- Entfernen Sie das Gerät aus der Ladestation (#7) und stellen Sie sicher, dass der Akku leer ist.
- Entfernen Sie den Bürstenkopf (#1) vom Griff (#2).
- Das Gehäuse öffnen: Entfernen Sie mit einem kleinen Werkzeug (z.B. Schraubenzieher oder Universalmesser) den unteren Teil des Gehäuses vom restlichen Gerät.
4. Den Innenteil entfernen:
Platzieren Sie den Griff (#2) umgekehrt auf einem robusten Tisch. Drücken Sie die Clips mit dem Werkzeug nachinnen. Sobald die Clips locker sind, kann der Innenteil halten und auf dem Tisch platziert werden.

- Den Akku entfernen: Die 3 Kabel (rot, schwarz, gelb) mit einem Cutter oder einer kleinen Schere nacheinander trennen). Achten Sie daraufuf, dass sich das rote Kabel (positiv) und das schwarze Kable (negativ) nicht berühren. Danach den Akku vorsichtig entnehmer. Den Akku nicht beschädigen.

13. Entsorgung

Verpackung: Entsorgen Sie die Verpackung getrennt nach Materialart. Entsorgen Sie Kartonagen und Karton als Altpapier und Folie am entsprechenden Sammelpunkt für recyclbare Materialien.
Gerät: Nicht im Hausmüll entsorgen! Die EEAG-Richtlinie sieht vor, dass these elektrische Gerät (einschließlich Zubehör und Teile) an einem ausgewiesen Recyclunghof für Elektrogeräte entsorgt werden muss. Auf diese Weise wird sichergestellt, dass das Gerät professionell recyccelt wird und einer Verunreinigung der Umwelt durch schädliche Substanzen* wird vorgebeugt. Den Akku entfernen und entsorgen, bevor Sie das Gerät entsorgen.
- Produkte, die mit Cd = Kadmium, Hg = Quecksilber, Pb = Blei gekennzeichnet sind.
14. Spezifikationen
| Modelln.r. H7001 | |
| Technologie DentalRF™ und Vibration | |
| Vibration 275Hz bis 400Hz | |
| Funkfrequenz 3,3MHz; 3W ±20% | |
| Packungsgröße (W)165 (H)227 (D)80 [mm] | |
| Systemgewicht 115g | |
| Transport und Lagerung zwischen den Nutzungen und Lagerbedingungen | Temperatur: - 40 bis +70°C Relative Feuchtigkeit: 10% bis 90%rH Atmosphärischer Druck: 500 bis 1060 hPa |
| Betriebsbedingungen Temperatur: 5 bis 40°C Relative Feuchtigkeit: 15 bis 90%rH Atmosphärischer Druck: 700 bis 1060 hPa | |
| Betriebsmodus Kein Dauerbetrieb | |
| Adapter HX-S4V0500600 (Europa) | |
| Eingang: | HX-S4B0500600 (GB) |
| Ausgang: | 100 – 240 V; 50/60Hz; 0,2A 5.0Vdc; 0,6A |
| Industrielle, wissenschaftliche und medizinische Ausrüstung (ISM): | Klasse B Gruppe 2 |
DE

Copyright 2019 © Home Skinovations Ltd. Alle Rechte vorbehalten.
Home Skinovations Ltd behält sich das Recht vor, Änderungen an seinen Produkten oder Spezifikationen zur Verbesserung von Leistung, Betriebssicherheit oder Herstellbarkeit vorzunehmen. Durch Home Skinovations Ltd bereitgestelle Informationen werden zum Zeitpunkt der Veröffentlichung als korrekt und verlässlich angesehen. Die Home Skinovations Ltd übernimmt allerdings keine Verantwortung für deren Verwendung. Es wird weder stillschweigend noch unter einem Patent oder unter Patente den Home Skinovations Ltd eine Lizenzen eingeräumt. Kein Teil desses Dokumentsarf in irgendiner Form oder mit elektronischen oder mechanischen Mitteln fur irgendwelche Zwecke ohne ausdrückliche schriftliche Genehmigung der Home Skinovations Ltd reproduziert oder übertragen werden. Änderungen der Daten ohne Vorankündigung sind vorbehalten. Die Home Skinovations Ltd verfügt über Patente sowie anhängige Patentanmeldungen, Handelsmarken, Urheberrechte oder sonstige Rechte geistigen Eigentums, welche Gegenstand these Dokumentes sind. Die Bereitstellung these Dokumentes gibt Ihnen keinerlei Lizenzfür diese Patente, Handelsmarken, Urheberrechte oder sonstigen Rechte geistigen Eigentums, sofern dies nicht ausdrücklich in einer schriftlichen Vereinbarung von Home Skinovations Ltd geregelt ist. Änderung der technischen Daten ohne Vorankündigung vorbehalten.Silk'n und das Silk'n-Logo sindeinggetragene Warenzeichen der Home Skinovations Ltd. Tavor Building, Shaar Yokneam P.O.Box 533, Yokneam 2069206, ISRAEL.
Table des matieres
Gebruik nicht indien u:
Bijt nicht in de borstelkop.
EinfachAnleitung