Amiron Wireless - Kopfhörer BEYERDYNAMIC - Kostenlose Bedienungsanleitung
Finden Sie kostenlos die Bedienungsanleitung des Geräts Amiron Wireless BEYERDYNAMIC als PDF.
Häufig gestellte Fragen - Amiron Wireless BEYERDYNAMIC
Benutzerfragen zu Amiron Wireless BEYERDYNAMIC
0 Frage zu diesem Gerät. Beantworten Sie die, die Sie kennen, oder stellen Sie Ihre eigene.
Eine neue Frage zu diesem Gerät stellen
Laden Sie die Anleitung für Ihr Kopfhörer kostenlos im PDF-Format! Finden Sie Ihr Handbuch Amiron Wireless - BEYERDYNAMIC und nehmen Sie Ihr elektronisches Gerät wieder in die Hand. Auf dieser Seite sind alle Dokumente veröffentlicht, die für die Verwendung Ihres Geräts notwendig sind. Amiron Wireless von der Marke BEYERDYNAMIC.
BEDIENUNGSANLEITUNG Amiron Wireless BEYERDYNAMIC
Sicherheitshinweise 28
Lieferumfang 29
beyerdynamic MIY App 29
Hinweis Firmware Version 1.0 29
Firmware-Update 29
Kompatibilitätshinweise 30
Unterstützte Audio-Codecs 30
Bedienelemente 31
Kopfhörer ein- und ausschalten 31
Verbinden mit dem Abspielgerät (Pairing) 32
Verbinden und Abspielgeräte in der Liste löschen ..... 32
Multi-Point-Betrieb 33
Multi-Point einstellen 33
Multi-Point verwenden 34
Medienwiedergabe 34
Persönlichen Assistenten aufrufen 36
Anrufsteuerung 36
Akku aufladen 37
aptX™ HD aktivieren oder deaktivieren 37
Sprachansagen aktivieren oder deaktivieren. 37
Auf Werkseinstellungen zurücksetzen 38
Tabelle Touch- und Tastenfunktionen 38
Tabelle Einstellungen 39
Tabelle LED-Anzeige am Kopfhörer. 40
Einstellungen in Abspielgeräten für Ihren besten kabellosen Klang . . . . 40
Problemlösung 41
Anschluss Audiokabel 42
Bedienelemente Kabelfernbedienung 42
Bedienhinweise 43
Medienwiedergabe 43
Lautstärke regeln 43
Persönlichen Assistenten aufrufen 43
Steuerung von Anrufen 44
Pflege – Position der FCC/IC/Japan Zertifizierungsnummer ..... 44
Hinweise für die Akku-Lebensdauer bei Li-Ion-Akkus ..... 45
Ersatzteile 45
Entsorgung. 45
Entsorgung des Akkus 46
Produktregistrierung 46
Garantiebestimmungen 46
Technische Daten 46
Vereinfachte EU/UK-Konformitätserklärung 47
Software Drittanbieter 47
Warenzeichen. 47
Vielen Dank für Ihr Vertrauen und dass Sie sich für den Kauf des Amiron wireless Kopfhörers mit Bluetooth® entschieden haben.
Für Ihr bestmögliches Hörerlebnis möchten wir Ihnen eine umfangreiche Beschreibung geben, wie Sie den Amiron wireless verwenden können.
Sicherheitshinweise
Vorsicht:

Wenn Sie den Kopfhörer verwenden, achten Sie darauf, dass die Lautstärke auf Minimum eingestellt ist. Regeln Sie die Lautstärke erst nach Aufsetzen des Kopfhörers.
Wir möchten Sie darauf hinweisen, dass zu hohe Lautstärken und zu lange Hörzeiten das Gehör schädigen können. Hörschäden stellen immer eine irreversible Beeinträchtigung des Hörvermögens dar.
Achten Sie stets auf eine angemessene Lautstärke. Als Faustformel gilt: je höher die Lautstärke, desto kürzer die Hörzeit. Das zeigt auch ein Beispiel aus dem Arbeitsleben: Gemäß der Berufsgenossenschaftlichen Vorschrift für Sicherheit und Gesundheit bei der Arbeit BGV B3 darf die Lärmbelastung z.B. am Arbeitsplatz 85 dB (Zimmerlautstärke) nicht überschreiten bei einer maximal zulässigen Hörzeit von 8 Stunden. Wird die Lautstärke jeweils um 3 dB erhöht, halbiert sich die zulässige Hörzeit, d.h. bei 88 dB beträgt die Hörzeit 4 Stunden, bei 91 dB 2 Stunden usw.
Mit der beyerdynamic MIY App können Sie Ihren Amiron wireless personalisieren. Über die Tracking-Funktion der App ist es möglich, den Amiron wireless so zu verwenden, dass Sie mit dem Kopfhörer ein nach gängigen, allgemeinen Erkenntnissen bemessenes Höchstmaß an akustischer Belastung („Lärm“) nicht überschreiten. Bitte beachten Sie, dass der Amiron wireless und die MIY App nur diejenigen Geräuschbelastungen registrieren können, die durch den Kopfhörer selbst verursacht werden; andere, externe Lärmquellen wie z. B. Baustellenlärm, Konzertbesuche etc. können hingegen naturgemäß nicht bei der Bemessung der akustischen Belastung berücksichtigt werden. Der Amiron wireless und die MIY App bieten also keine Übersicht über alle Belastungen Ihres Gehörs. In der MIY App wird ausschließlich die mittels des Amiron wireless übertragene akustische Belastung angezeigt und kann so durch Sie auf ein akzeptables Maß beschränkt werden.
Lebensgefahr!
Kopfhörer reduzieren die akustische Außenwahrnehmung drastisch. Die Verwendung von Kopfhörern im Straßenverkehr birgt großes Gefährdungspotenzial. Das Gehör des Benutzers darf auf keinen Fall so stark beeinträchtigt werden, dass die Verkehrssicherheit gefährdet ist. Bitte achten Sie zudem darauf, dass Sie die Kopfhörer nicht im Aktionsbereich von möglicherweise gefährlichen Maschinen und Arbeitsgeräten verwenden.
Verletzungsgefahr!
Bei kabelgebundenen Kopfhörern sollten Sie heftige Bewegungen vermeiden. Sie könnten sich ernsthaft verletzen, insbesondere, wenn Sie Piercings, Ohrringe, Brille usw. tragen, an denen das Kabel sich verfangen kann.
Lieferumfang
• Kopfhörer Amiron wireless
- Anschlusskabel mit Fernbedienung, Klinke 3,5 mm
• Ladekabel USB-A auf USB-C
- Hardcase
- Garantieheft
- Quick Start Guide
Mit der beyerdynamic MIY App können Sie Ihren Amiron wireless personalisieren. Die App ist für Apple iOS und Android verfügbar und kann sowohl im Apple App Store als auch im Google Play Store heruntergeladen werden.
Hinweis Firmware Version 1.0
Die folgenden Angaben beziehen sich auf die im vorliegenden Kopfhörer installierte Firmware Version 1.0.
Firmware-Update
Möglicherweise ist eine neuere als die installierte Firmware (Version 1.0) verfügbar. Diese können Sie ggf. selbst aktualisieren.
- Laden Sie das Firmware-Update-Tool von der Produktseite des Amiron wireless unter www.beyerdynamic.com auf Ihren Computer herunter.
- Schalten Sie den Amiron wireless ein und verbinden Sie ihn über den USB-Anschluss ^2 mit dem USB-Ladekabel mit Ihrem Computer.
- Starten Sie das Update-Tool und folgen Sie den Anweisungen auf dem Bildschirm.
Kompatibilitätshinweise
Der Amiron wireless ist mit Bluetooth-Abspielgeräten kompatibel, die folgende Profile unterstützen:
• A2DP (für Audioübertragung)
• HFP (für Telefonie)
• HSP (Sprachausgabe)
- AVRCP (für die Übertragung von Steuersignalen)
Hinweis:
Die damit verbundenen Funktionen stehen nur zur Verfügung, wenn sie vom Abspielgerät unterstützt werden.
Unterstützte Audio-Codecs
Innerhalb des Profils A2DP unterstützt der Amiron wireless die Audio-Codecs SBC, AAC, aptX™, aptX™ LL und aptX™ HD. Die beste Audioqualität bietet aptX™ HD. Die geringste Audio-Latenz bietet aptX™ LL.
Hinweis:
Bitte beachten Sie, dass nur solche Codecs für die Audioübertragung benutzt werden können, die auch im Abspielgerät vorhanden sind.
Abspielgerät und Amiron wireless verständigen sich automatisch auf den besten gemeinsam verfügbaren Codec in folgender Reihenfolge:
- aptX ^TM LL
- aptX ^TM HD
- aptX ^TM
- AAC
- SBC
Hinweis: Bitte beachten Sie, dass die meisten Abspielgeräte nicht anzeigen, welcher Codec aktiv in Verwendung ist.
Bedienelemente

① Touchfeld
② USB-Anschluss für Ladekabel (USB-C)
③ LED-Taste
4 Mikrofon
⑤ Klinkenanschluss 3,5 mm für Audiokabel
Kopfhörer ein- und ausschalten
Die nachfolgend aufgeführten Funktionen beziehen sich auf einen Amiron wireless, der bereits mit einem Gerät über Bluetooth® verbunden wurde.
- Einschalten:
Halten Sie die Taste ③ ca. 2 Sekunden gedrückt.
Die LED ③ leuchtet einmal rot auf.
- Ausschalten:
Halten Sie die Taste ③ ca. 6 Sekunden gedrückt.
Die LED ③ leuchtet einmal rot auf und erlischt dann.
Verbinden mit dem Abspielgerät (Pairing)
Bevor Sie den Amiron wireless erstmalig verwenden können, müssen Sie ihn mit Ihrem Mobiltelefon oder einem anderen Gerät über Bluetooth® verbinden. Das Verbindungsverfahren kann sich zwischen den verschiedenen Abspielgeräten unterscheiden. Bitte beachten Sie die entsprechende Bedienungsanleitung des jeweiligen Abspielgerätes.
- Drücken Sie beim ausgeschalteten Amiron wireless 6 Sekunden lang die Taste ③, um den Verbindungsmodus über Bluetooth® zu starten. Die LED ③ blinkt schnell abwechselnd blau und rot.
- Aktivieren Sie die Bluetooth ^® Funktion bei Ihrem Abspielgerät und lassen Sie ggf. nach neuen Geräten suchen.
- Wählen Sie im Bluetooth ^® Menü des Abspielgerätes unter den verfügbaren Geräten „beyerdynamic Amiron wireless“ aus und verbinden beide Geräte. Bei jedem weiteren Einschalten verbinden sich beide Geräte automatisch.
Alternativ können Sie den Amiron wireless über NFC mit einem NFC-fähigen Abspielgerät verbinden. Der Amiron wireless muss eingeschaltet sein. Es spielt keine Rolle, ob der Amiron wireless sich im Verbindungsmodus (Pairing) befindet oder nicht.
- Aktivieren Sie in Ihrem Abspielgerät die NFC-Funktion, damit alle notwendigen Informationen auf das Abspielgerät übertragen und so eine Verbindung hergestellt werden kann.
- Halten Sie den NFC-Sensor des Abspielgerätes an den unteren Bereich der linken Hörerschale, da hier der NFC-Chip integriert ist. Siehe NFC-Logo in der Abbildung. Die genaue Position des NFC-Chips an Ihrem Abspielgerät finden Sie in der jeweiligen Bedienungsanleitung.

Verbinden und Abspielgeräte in der Liste löschen
Wenn sich in der Liste Ihres Amiron wireless bereits mehrere Abspielgeräte befinden und Ihr Amiron wireless sich nicht mit einem weiteren neuen Abspielgerät verbinden lässt, ist die Liste voll und sollte gelöscht werden, damit das neue Abspielgerät hinzugefügt werden kann.
Die Liste löschen Sie folgendermaßen:
- Halten Sie die Taste ③ des ausgeschalteten Amiron wireless länger als 10 Sekunden gedrückt, damit der Amiron wireless in den Verbindungsmodus schaltet und gleichzeitig alle Abspielgeräte in seiner Liste löscht.
Multi-Point-Betrieb
Der Amiron wireless kann mit bis zu 8 Geräten über Bluetooth® gekoppelt werden. Mit maximal zwei Geräten kann gleichzeitig eine aktive Verbindung hergestellt werden. Musikwiedergabe und Telefonie ist jedoch nur mit einem Gerät gleichzeitig möglich. Telefonie hat dabei Priorität vor Musikwiedergabe, d.h. bei einem Anruf wird die Musikwiedergabe unterbrochen.
Bei der Benutzung der Abspielgeräte (AG) gilt folgende Prioritätenliste:
| Priorität Profil | Abspielgeräte (AG) | |
| 1 HFP | (Telefonie) AG 1 (zuerst verbundenes Gerät) | |
| 2 HFP | (Telefonie) AG 2 (als zweites verbundenes Gerät) | |
| 3 A2DP | (Musikwiedergabe) AG 1 (zuerst verbundenes Gerät) | |
| 4 A2DP | (Musikwiedergabe) AG 2 (als zweites verbundenes Gerät) |
Multi-Point einstellen
- Verbinden Sie den Amiron wireless mit dem ersten Gerät (siehe „Verbinden mit dem Abspielgerät“).
- Deaktivieren Sie die Bluetooth-Verbindung am ersten Gerät.
- Schalten Sie den Amiron wireless aus.
- Drücken Sie die Taste ③ 6 Sekunden lang, um den Verbindungsmodus zu starten (LED ③ blinkt langsam abwechselnd blau und rot).
- Verbinden Sie den Amiron wireless mit dem zweiten Gerät (siehe „Verbinden mit dem Abspielgerät“).
- Aktivieren Sie die Verbindung über Bluetooth ^® des ersten Gerätes wieder, das sich automatisch mit dem Amiron wireless verbindet.
- Wenn beide Geräte mit dem Amiron wireless gekoppelt sind, verbindet sich der Amiron wireless automatisch mit beiden Geräten, bei jedem weiteren Einschalten.
Multi-Point verwenden
Wenn Sie den Amiron wireless mit zwei Geräten verbunden haben
- und gerade die Medienwiedergabe aktiviert haben, drücken Sie zweimal kurz auf das Touchfeld ①, um einen eingehenden Anruf anzunehmen.
- und gerade einen Anruf aufgelegt haben, drücken Sie zweimal kurz auf das Touchfeld ①, um die Medienwiedergabe zu starten, die zuletzt abgespielt wurde.
Medienwiedergabe
Beachten Sie bitte, dass die nachfolgend beschriebenen Funktionen vom jeweiligen verwendeten Abspielgerät und der Player-Software abhängen und eventuell nicht zur Verfügung stehen. Der Amiron wireless sendet lediglich Steuersignale, die mit Bluetooth® konform sind.
Wichtig: Bedienen Sie das Touchfeld ① bitte immer nur mit einem Finger, um Fehlfunktion zu vermeiden.
- Start / Pause: 2 x kurz auf das Touchfeld ① tippen.
- Nächster Titel: Auf dem Touchfeld ① nach vorne wischen.

text_image
2 x
- Vorheriger Titel: Auf dem Touchfeld ① nach hinten wischen.
- Vorwärtsspulen: Auf dem Touchfeld ① nach vorne wischen und mindestens 1 Sekunde halten.
- Rückwärtsspulen: Auf dem Touchfeld ① nach hinten wischen und mindestens 1 Sekunde halten.
- Lautstärke anheben: Auf dem Touchfeld ① nach oben wischen. Wenn Sie nach oben wischen und halten, wird die Lautstärke schrittweise bis zum Maximum erhöht. Ein Signalton zeigt das erreichte Maximum an.

• Lautstärke senken:
Auf dem Touchfeld ① nach unten wischen. Wenn Sie nach unten wischen und halten, wird die Lautstärke schrittweise bis zum Minimum gesenkt. Ein Signalton zeigt das erreichte Minimum an.
Persönlichen Assistenten aufrufen
- Persönlichen Assistenten Ihres Smartphones oder Tablets (Siri, Google Assistant etc.) aufrufen : ca. 2 Sekunden auf die Mitte des Touchfelds ① drücken.
Anrufsteuerung
Nachfolgend aufgeführte Funktionen dienen zur Steuerung von Anrufen.
• Anruf annehmen / beenden:
2 x schnell hintereinander auf das Touchfeld ① tippen.
• Anruf abweisen:
ca. 2 Sekunden auf die Mitte des Touchfelds ① drücken.

text_image
2 Sek. 2 x 2 Sek.- Makeln (zwischen zwei Anrufern wechseln): ca. 2 Sekunden auf die Mitte des Touchfelds 1 drücken.

text_image
2 Sek.Akku aufladen
- Wir empfehlen, zum Aufladen des Akkus nur das mitgelieferte USB-Ladekabel zu verwenden.
- Schließen Sie den Amiron wireless mit diesem USB-Ladekabel an einen beliebigen USB-konformen spannungsführenden USB-Anschluss (z.B. USB-Netzteil) an.
- Während des Ladens blinkt die LED ③ rot.
- Sobald die LED ③ dauerhaft rot leuchtet, ist der Akku vollständig geladen.
- Entfernen Sie das USB-Ladekabel nach dem Ladevorgang.
aptX™ HD aktivieren oder deaktivieren
- aptX™ HD aktiveren:
Schalten Sie den Amiron wireless ein.
Führen Sie anschließend folgende Schritte innerhalb von zwei Sekunden durch:
- Halten Sie die Taste ③ gedrückt.
- Wischen Sie mit einem Finger auf dem Touchfeld ① nach oben.
- Lassen Sie die Taste ③ los.
- aptX™ HD deaktiveren:
Schalten Sie den Amiron wireless ein.
Führen Sie anschließend folgende Schritte innerhalb von zwei Sekunden durch:
- Halten Sie die Taste ③ gedrückt.
- Wischen Sie mit einem Finger auf dem Touchfeld ① nach unten.
- Lassen Sie die Taste ③ los.
Sprachansagen aktivieren oder deaktivieren
- Sprachansagen aktivieren / dekativieren:
Schalten Sie den Amiron wireless ein.
Führen Sie anschließend folgende Schritte innerhalb von zwei Sekunden durch:
- Halten Sie die Taste ③ gedrückt.
- Tippen Sie zweimal kurz mit einem Finger auf das Touchfeld ①.
- Lassen Sie die Taste ③ los.
Auf Werkseinstellungen zurücksetzen
- Schalten Sie den Amiron wireless ein.
Führen Sie anschließend folgende Schritte innerhalb von zwei Sekunden durch:
- Halten Sie die Taste ③ gedrückt.
- Wischen Sie mit einem Finger auf dem Touchfeld ① nach hinten.
– Lassen Sie die Taste ③ los.
Tabelle Touch- und Tastenfunktionen
Wenn nicht anders vermerkt, gelten die aufgelisteten Funktionen für einen eingeschalteten Kopfhörer.
| Einschalten | Taste 3 2 Sekunden drücken |
| Ausschalten | Taste 3 6 Sekunden drücken |
| Verbindungsmodus (Pairing) | Kopfhörer ausschalten, dann Taste 3 6 Sekunden drücken |
| Verbindungsmodus und Liste löschen | Kopfhörer ausschalten, dann Taste 3 mindestens 10 Sekunden drücken |
| Start / Pause | 2 x kurz auf Touchfeld 1 tippen |
| Lautstärke anheben | Auf dem Touchfeld 1 nach oben wischen |
| Lautstärke senken | Auf dem Touchfeld 1 nach unten wischen |
| Nächster Titel | Auf Touchfeld 1 nach vorne wischen |
| Vorheriger Titel | Auf Touchfeld 1 nach hinten wischen |
| Vorwärtsspulen | Auf Touchfeld 1 nach vorne wischen und mindestens 1 Sekunde halten |
| Rückwärtsspulen | Auf Touchfeld 1 nach hinten wischen und mindestens 1 Sekunde halten |
| Anruf annehmen / beenden | 2 x kurz auf Touchfeld 1 tippen |
| Anruf abweisen | 2 Sekunden auf Touchfeld 1 drücken |
| Makeln (zwischen 2 Anrufern wechseln) | 2 Sekunden auf Touchfeld 1 drücken |
| Persönlichen Assistenten aufrufen (Siri, Google Assistant etc.) | 2 Sekunden auf Touchfeld 1 drücken |
Tabelle Einstellungen
Die aufgelisteten Einstellungen gelten für einen eingeschalteten Kopfhörer.
| aptXTM HD aktivieren | Taste 3 2 Sekunden lang drücken und gleichzeitig mit einem Finger auf dem Touchfeld 1 nach oben wischen |
| aptXTM HD deaktivieren | Taste 3 2 Sekunden lang drücken und gleichzeitig mit einem Finger auf dem Touchfeld 1 nach unten wischen |
| Sprachansagen aktivieren und deaktivieren | Taste 3 2 Sekunden lang drücken und gleichzeitig mit einem Finger zweimal auf das Touchfeld 1 tippen |
| Auf Werkseinstellungen zurücksetzen | Taste 3 2 Sekunden lang drücken und gleichzeitig mit einem Finger auf dem Touchfeld 1 nach hinten wischen |
Tabelle LED-Anzeige am Kopfhörer
| Aufladen rote LED blinkt | |
| Vollständig aufgeladen rote LED leuchtet dauerhaft | |
| Ausschalten rote LED leuchtet einmal 1,5 | Sek. |
| Akku ist fast leer rote LED blinkt 3x schnell | |
| Verbindungsmodus über Bluetooth® aktiv (Pairing) | rote und blaue LED blinken abwechselnd |
| Verbindung über Bluetooth® aktiv blaue LED blinkt langsam mit Pausen von 7 Sek. | |
| Verbindung über Bluetooth® verloren blaue LED blinkt langsam mit Pausen von 3 Sek. | |
| Medienwiedergabe aktiv blaue LED blinkt langsam mit Pausen von 7 Sek. | |
| Eingehender Anruf blaue LED blinkt schnell mit Pausen von 1 Sek. | |
Einstellungen in Abspielgeräten für Ihren besten kabellosen Klang
Um mit dem Amiron wireless über Bluetooth® Ihren bestmöglichen Klang zu erzielen, sollten Sie die folgenden praktischen Hinweise berücksichtigen:
- Stellen Sie die Lautstärke am Amiron wireless auf Minimum, am Abspielgerät auf Maximum. Regulieren Sie dann die Lautstärke nur noch am Amiron wireless, nicht mehr am Abspielgerät. Dies gilt nur für Abspielgeräte, die die Lautstärke nicht automatisch synchronisieren.
- Bei Abspielgeräten, die die Lautstärke automatisch synchronisieren (z.B. iPhone, iPad, diverse Android-Smartphones), ist die Kopfhörerlautstärke immer identisch mit der Lautstärke des Abspielgerätes.
- Deaktivieren Sie in Ihrer Player-Software möglicherweise vorhandene Audio-Effekte.
- Achten Sie darauf, dass, sofern von Ihrem Abspielgerät unterstützt, beim Amiron wireless aptX™ HD eingeschaltet ist.
Problemlösung
| Problem Ursache Lösung | ||
| Amiron wireless lässt sich nicht einschalten | Akku ist leer oder nur noch schwach geladen | Laden Sie den Akku |
| Es wird kein Audio ausgegeben | Es besteht keine Verbindung über Bluetooth® | Verbinden Sie Amiron wireless mit dem Abspielgerät |
| Der Amiron wireless erscheint nicht in den verfügbaren Geräten mit Bluetooth® im Abspielgerät | Der Amiron wireless ist ausgeschaltetDer Amiron wireless ist nicht im VerbindungsmodusEs besteht bereits eine Verbindung über Bluetooth® zu einem anderen Abspielgerät | Schalten Sie den Amiron wireless einSetzen Sie den Amiron wireless in den VerbindungsmodusTrennen Sie die Verbindung über Bluetooth® zum anderen Abspielgerät und verbinden Sie den Amiron wireless mit dem gewünschten Gerät |
| Die Wiedergabe ist zu leise, obwohl am Amiron wireless maximal eingestellt ist | Das zugespielte Audiosignal ist zu leise | Erhöhen Sie die Wiedergabelautstärke am Abspielgerät |
| Der Klang ist scharf und die Basswiedergabe zu gering | Die Abdichtung durch die Ohrpolster reicht nicht aus | Setzen Sie den Amiron wireless so auf, dass eine maximale Abdichtung erreicht wird |
| Die kabellose Reichweite ist zu gering oder es kommt zu Verbindungsabbrüchen | Es bestehen Störungen mit anderen Geräten | Entfernen Sie sich von WLAN-Routern und Mikrowellengeräten, achten Sie darauf, dass Ihr Körper sich nicht zwischen Abspielgerät und Amiron wireless befindet |
Anschluss Audiokabel
Im Lieferumfang ist ein Audiokabel mit einer Fernbedienung und je einem Klinkenstecker 3,5 mm an beiden Enden enthalten. Schließen Sie das eine Ende des Audiokabels ① an der Klinkenbuchse der Kopfhörerschale an, wenn Sie den Kopfhörer ohne eine Verbindung über Bluetooth® nutzen möchten. Achten Sie darauf, dass der Amiron wireless ausgeschaltet ist. Der Kopfhörer arbeitet dann passiv, so dass kein Strom über den Akku verbraucht wird.
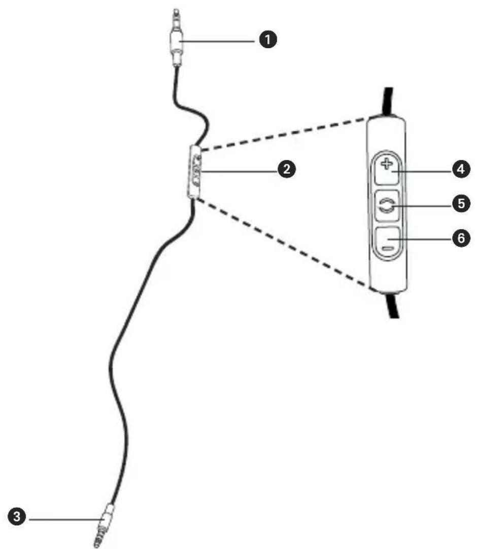
Bedienelemente Kabelfernbedienung

text_image
1 2 3 4 5 6① Anschlussstecker Kopfhörerschale, 3,5 mm Klinke
② Fernbedienung
③ Anschlussstecker Audiogerät, 3,5 mm Klinke
4 Taste Lautstärke erhöhen
⑤ Taste zur Steuerung von Anrufen und Medienwiedergabe
⑥ Taste Lautstärke verringern
Bedienhinweise
Das beiliegende Kabel enthält eine Fernbedienung mit drei Tasten und Mikrofon. An kompatiblen Smartphones und Tablets können Sie mit dieser Fernbedienung Anrufe, Medienwiedergabe und Lautstärke steuern.
Die Voraussetzung dafür ist, dass das Abspielgerät mit einer eingebauten Kopfhörerbuchse ausgestattet ist und die Pinbelegung dem CTIA-Standard entspricht. Nur in diesem Fall sind die nachfolgend beschriebenen Funktionen möglich.
Schließen Sie das Kabel an die rechte Kopfhörerbuchse an.
Medienwiedergabe
- Medienwiedergabe starten / stoppen: Kurz auf die mittlere Taste ⑤ drücken.
Hinweis:
Je nach Abspielgerät und der Version des Betriebssystems und/oder der Firmware gibt es möglicherweise weitere Funktionen bei der Medienwiedergabe, die durch die mittlere Taste gesteuert werden können. Bitte wenden Sie sich für weitere Details an den Hersteller des Smartphones oder Tablets.
Lautstärke regeln
- Lautstärke erhöhen:
Kurz auf die + Taste ④ drücken, um die Lautstärke um eine Stufe zu erhöhen. - Lautstärke verringern:
Kurz auf die - Taste ⑥ drücken, um die Lautstärke um eine Stufe zu verringern.
Hinweis:
Beachten Sie bitte, dass nicht alle Smartphones und Tablets diese Funktion beinhalten. An Smartphones und Tablets mit dem Betriebssystem Android ist es erforderlich, dass das Abspielgerät die sog. Wired Audio Headset Specification unterstützt (https://source.android.com/devices/accessories/headset/specification.html). Wenden Sie sich ggf. an den Hersteller des Smartphones oder Tablets.
Persönlichen Assistenten aufrufen
- Persönlichen Assistenten Ihres Smartphones oder Tablets (Siri, Google Assistant etc.) aufrufen :
ca. 2 Sekunden auf die mittlere Taste ⑤ drücken.
Steuerung von Anrufen
- Anruf annehmen / beenden: Kurz auf die mittlere Taste ⑤ drücken.
Hinweis:
Achten Sie darauf, dass Sie die Öffnung für das Mikrofon nicht verdecken. Diese befindet sich auf der Rückseite der Fernbedienung. Je nach Smartphone und der Version des Betriebssystems und/oder der Firmware gibt möglicherweise weitere Funktionen bei der Anrufsteuerung mit der mittleren Taste ⑤. Bei manchen Geräten ist es außerdem möglich, den persönlichen Assistenten (z.B. Siri, Google Assistant) mit der mittleren Taste ⑤ aufzurufen. Bitte wenden Sie sich für weitere Details an den Hersteller des Smartphones oder Tablets.
Pflege – Position der FCC/IC/Japan Zertifizierungsnummer
- Verwenden Sie zum Reinigen des Amiron wireless nur ein weiches trockenes oder leicht mit Wasser befeuchtetes Tuch.
- Verwenden Sie keine lösungsmittelhaltige Reiniger, da diese die Oberfläche beschädigen können.
Da die Ohrpolster einem natürlichen Verschleiß unterliegen, wird es von Zeit zu Zeit notwendig, sie auszutauschen.
Dies können Sie leicht selbst machen:
- Greifen Sie das Ohrpolster mit dem Finger am Rand, um es von der Hörerschale zu ziehen (siehe Abb. 1). Bitte beachten Sie, hierfür ist ein gewisser Kraftaufwand nötig. Alternativ können Sie ein flaches, stumpfes Werkzeug benutzen (siehe Abb. 2). Achtung: Seien Sie vorsichtig, dass Sie keine Kratzer oder andere Schäden verursachen bzw. sich verletzen!
- In der linken Hörerschale befindet sich unter dem Ohrpolster und schwarzem Vlies die FCC/IC Zertifizierungsnummer.

text_image
Abb. 1 Abb. 2- Befestigen Sie das neue Ohrpolster. Wichtig: Die Rastnase am Ring des Ohrpolsters muss in die Kerbe an der Hörerschale einrasten. Siehe auch Abb. 3.
Müssen weitere Komponenten ersetzt werden, wenden Sie sich bitte an Ihre zuständige beyerdynamic-Vertretung.

Hinweise für die Akku-Lebensdauer bei Li-Ion-Akkus
- Trennen Sie nach vollständigem Laden das Ladekabel vom Amiron wireless.
- Hohe Temperaturen, vor allem mit hohem Ladezustand, können zu irreversiblen Schäden führen.
- Sollten Sie den Akku längere Zeit nicht verwenden bzw. lagern, empfiehlt es sich, den Akku auf ungefähr 50% der Ladung zu bringen und bei Temperaturen bis max. 20 °C zu lagern.
Ersatzteile
- Ersatzteile für den Amiron wireless finden Sie im Internet unter www.beyerdynamic.com unter der Rubrik „Service“.
Entsorgung
Dieses Symbol auf dem Produkt, in der Bedienungsanleitung oder auf der Verpackung bedeutet, dass Ihre elektrischen und elektronischen Geräte am Ende ihrer Lebensdauer gesondert vom Hausmüll entsorgt werden sollten. Es gibt getrennte Sammelsysteme für das Recycling in der EU. Für weitere Informationen wenden Sie sich bitte an die örtlichen Behörden oder an den Händler, bei dem Sie das Produkt erworben haben.

Entsorgung des Akkus
Dieses Symbol bedeutet, dass entsprechend den örtlichen Gesetzen und Vorschriften Ihr Produkt und/oder die Batterie getrennt vom Hausmüll entsorgt wird. Wenn das Produkt das Ende seiner Lebensdauer erreicht hat, bringen Sie es zu einer durch lokale Behörden benannten Sammelstelle. Die getrennte Sammlung und das Recycling Ihres Produkts und/oder des Akkus zum Zeitpunkt der Entsorgung hilft, die natürlichen Ressourcen zu schonen und es ist sichergestellt, dass das Recycling in einer Art und Weise stattfindet, die die menschliche Gesundheit und die Umwelt schützt.

- Alte Batterien können Stoffe enthalten, die schädlich für Ihre Gesundheit und die Umwelt sind.
- Entsorgen Sie benutzte Batterien immer gemäß den geltenden Vorschriften. Bitte werfen Sie die benutzten Akkus nicht ins Feuer (Explosionsgefahr) oder in Ihren Hausmüll. Bringen Sie sie zu Ihren örtlichen Sammelstellen. Die Rückgabe ist kostenlos und gesetzlich erforderlich. Bitte entsorgen Sie nur entladene Batterien.
- Alle Batterien werden recycelt, um wertvolle Materialien wie Eisen, Zink oder Nickel zurückzugewinnen.
Produktregistrierung
- Im Internet unter www.beyerdynamic.com können Sie Ihren Amiron wireless unter Angabe der Seriennummer registrieren.
Garantiebestimmungen
- Im Internet unter www.beyerdynamic.com finden Sie die aktuellen Garantiebestimmungen.
Technische Daten
HF-Frequenzbereich ..... 2,4000 – 2,4835 GHz
Sendeleistung 10 mW
Betriebstemperaturbereich ..... 0 bis 40 °C
Ladetemperaturbereich ..... 10 bis 40 °C
Nähere Angaben zu den technischen Daten finden Sie im Internet unter:
Vereinfachte EU/UK-Konformitätserklärung
Hiermit erklärt beyerdynamic, dass das Funkübertragungsgerät der EU-Richtlinie 2014/53/EU bzw. der UK-Richtlinie „The Radio Equipment Regulations 2017“ entspricht. Der vollständige Text der EU/UK-Konformitätserklärung ist unter der folgenden Internetadresse verfügbar: http://www.beyerdynamic.com/cod
Software Drittanbieter
Weitere Informationen zur eingesetzten Software von Drittanbietern finden Sie unter https://www.beyerdynamic.com/media/downloads/headphones/manual/Licenses_Amiron.md
Warenzeichen
Die Bluetooth® Wortmarke und Logos sind eingetragene Marken der Bluetooth SIG, Inc. und jegliche Verwendung dieser Marken durch beyerdynamic ist lizenziert. Andere Marken und Handelsnamen gehören den jeweiligen Inhabern.
Qualcomm aptX™ ist ein Produkt der Qualcomm Technologies, Inc. und/oder seiner Niederlassungen. Qualcomm® ist eine eingetragene Marke der Qualcomm Incorporated in den USA und anderen Ländern. aptX™ ist eine eingetragene Marke der Qualcomm Technologies International, Ltd
Weitere Vertriebspartner weltweit finden Sie unter www.beyerdynamic.com
Abbildungen nicht vertragsbindend. Änderungen vorbehalten.
EN-DE-FR-ES-IT-SV-RU-JA-KO-ZH 8 Amiron wireless (11.22)
CREATE THE AMAZING
EinfachAnleitung