CB 176 - Kaffeemaschine BOMANN - Kostenlose Bedienungsanleitung
Finden Sie kostenlos die Bedienungsanleitung des Geräts CB 176 BOMANN als PDF.
Benutzerfragen zu CB 176 BOMANN
0 Frage zu diesem Gerät. Beantworten Sie die, die Sie kennen, oder stellen Sie Ihre eigene.
Eine neue Frage zu diesem Gerät stellen
Laden Sie die Anleitung für Ihr Kaffeemaschine kostenlos im PDF-Format! Finden Sie Ihr Handbuch CB 176 - BOMANN und nehmen Sie Ihr elektronisches Gerät wieder in die Hand. Auf dieser Seite sind alle Dokumente veröffentlicht, die für die Verwendung Ihres Geräts notwendig sind. CB 176 von der Marke BOMANN.
BEDIENUNGSANLEITUNG CB 176 BOMANN
Bedienungsanleitung/Garantie
Gebruiksaanwijzing/Garantie · Mode d'emploi/Garantie
Instrucciones de service/Garantia · Manual de instruções/Garantia
Istruzioni per l'uso/Garanzia · Instruction Manual/Guarantee
Instrukcja obsfugi/Gwarancja · Navod k použiti/Záruka
PykoBODCTBO no ŚCkπlnyatauμn/Γapantma
Oδnyiες Xειρομων/Eyyuŋση · Kullanma kilavuzu/Garanti
Espressoautomat
Espressoautomaat · Machine automatique a'expresso Maquina de hacer espresso · Maquina para Bicas Macchina per caffe espresso · Espresso Machine Automat do espresso · Kavovar pro pripravu espresa Ecnpecco-abTomat · AutoumaTn mXavn yia kaFé eonpEoo Espreso Makinesi

CB 176
C
BOMANN
Inhalt
Inhoud • Sommaire • Indice • Indices • Indices • Contents
Spis tresci · Obsah · Codepxahanie · IepxoxoEv · Fihrist
D Übersicht Bedienelemente .Seite 3
Bedienungsanleitung .Seite 5
Garantie . . . . . . . . . . . . . . . . . . . . . . . . . . . . . . . . . . . . . . . . . . . . . . . . . . . . . . . .
NL Overzicht bedieningselementen.. .Pagina 3
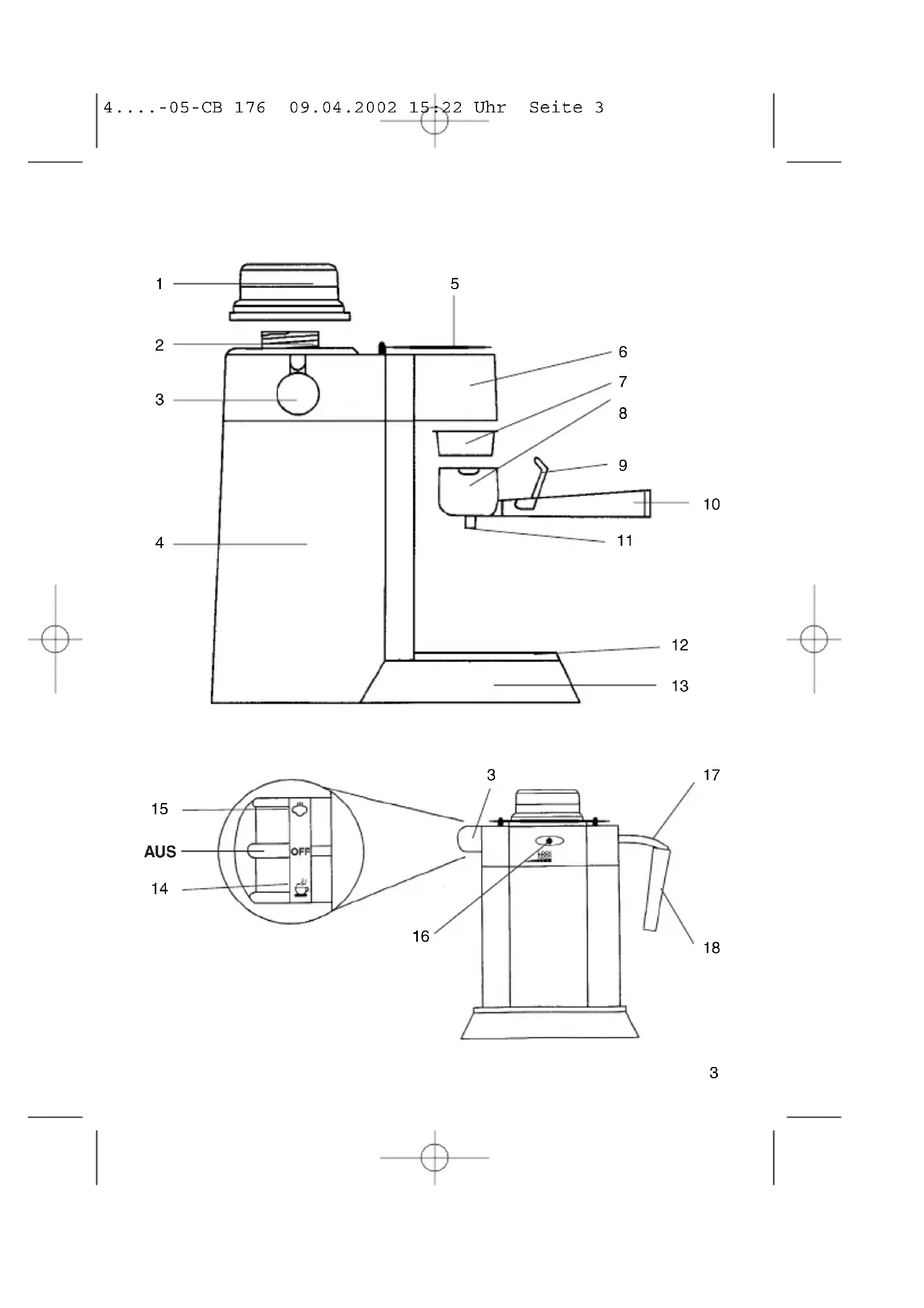
Übersicht der Einzelteile
1 Boilerklappe
2 Öffnung des Boilertanks
3 Kontrollschalter
4 Boiler
5 Warmhalteplatte
6 Bruhkopf
7 Filterschale
8 Filterhalter
9 Filtersicherung
10 Filtergriff
11 Filtertülle
12 Abtopfrost
13 Sockel
14 Bruhen
15 Dampf ablassen
16 Betriebsanzeige
17 Dampfrohrchen
18 Dampfduse
19 Offen - Griffstellung zum Einlagen des Filtersystems
20 LOCK - Griffstellung zum
Vertriegeln des Filtersystems
D
Allgemeine Sicherheitseinweise
- Lesen Sie vor Inbetriebnahme diesen Gerätes die Bedienungsanleitung sehr sorgfältig durch und bewahren Sie diese inkl. Garantieschein, Kassenbon und nach Möglichkeit den Karton mit Innverpackung gut auf.
- Benutzen Sie das Gerät ausschließlich für den privaten und den damit vorgesehenen Zweck. Dieses Gerät ist nicht für den gewerblichen Gebrauch bestimmt. Benutzen Sie es nicht im Freien (außer es ist für den bedingten Einsatz im Freien vorgesehen). Halten Sie es vor Hitze, direkter Sonneneinstahrung, Feuchtigkeit (auf keinen Fall in Flüssigkeiten tauchen) und scharfen Kanten fem. Benutzen Sie das Gerät nicht mit feuchten Handen. Bei feucht oder nass gewordenem Gerät sofort den Netzsteckerziehen. Nicht ins Wasser greifen.
- Schalten Sie das Gerät aus undziehen Sie immer den Stecker aus der Steckdose (ziehen Sie am Stecker, nicht am Kabel) wenn Sie das Gerät nicht benutzen, Zubehörteile anbringen, zur Reinigung oder bei Störung.
- Lassen Sie das Gerät niemals unbeaufsichtigt. Um Kinder vor Gefahren elektrischer Geräte zu schützen, sorgen Sieitte davon, dass das Kabel nicht herunter hangt und Kinder keinen Zugriff auf das Gerät haben.
- Prufen Sie Gerät und Kabel regelmäß auf Schäden. Ein beschädigtes Gerätitte nicht in Betriebnehmen.
- Reparieren Sie das Gerät nicht selbst, sondern sichen Sieitte einen autorisierten Fachmann auf. Um Gefährdungen zu vermeiden, ein defektes Netzkabelitte nur vom Hersteller, unserem Kundendienst oder einer ahnlich qualifizierten Person durch ein gleichwertiges Kabel ersetzen halten.
- Verwenden Sie nur Original-Zubeho.
- Beachten Sieitte die nachfolgenden "Speziellen Sicherheitschinweise...".
Spezielle Sicherheitshinweise
Die Metallteile werden sehr heiß. Fassen Sie nur die Griffe an.
- Stellen Sie das Gerät auf eine hitzebeständige, flache, ebene und rutschfeste Unterlage.
- Um einen Hitzestau zu vermeiden, das Gerät nicht direkt unter einen Schrank stellen. Sorgen Sie für genügend Freiraum.
- Achten Sie beim Offnen des Boilerdeckels auf den austretenden Dampf.
- Benutzen Sie das Gerät nicht ohne Wasser.
- Füllen Sie den Boiler immer nur mit kaltem Wasser.
- Um sicherzustellen, dass von vorherigen Brühvorgängen kein Restdampfdruck mehr vorhanden ist, stellen Sie einen Behälter mit kaltem Wasser unter die Dampfdüse. Heben Sie den Behälter an, bis die Dampfdüse ins Wasser eintaucht. Drehen Sie den Kontrollschalter in die Dampf-Ablass-Stellung.
- Entfernen Sie den Filterhalter und den Deckel des Boilers nur, wenn der gesamte Dampfdruck abgelassen wurde.
Boilerdeckel linksherum drehen = aufschrauben,
Boilerdeckelrechtsherumdrehen = zuschrauben.
D
- Achten Sie darauf, dass im Betrieb der Deckel des Boilers und der Filterhalter korrekt und sicher geschlossen sind, da diese Gerät unter Druck arbeitet.
- Füllen Sie nur Wasser in den Boiler. Keine anderen Flüssigkeiten!
- Wenn sich der Deckel des Boilers nur schwer aufdrehen lasst, so konnte das ein Hinweis davon sein, dass in dem Gerät Dampfdruck aufgestaut ist. Lassen Sie den Druck mit dem vorher beschrieben Venfahren ab.
Vor dem ersten Gebrauch
Um allen Staub, der sich während der Verpackung angesammelt haben konnte, zu entfernen, waschen Sie das Glaskannchen, die Filterschale, den Filterhalter und die Abtopfwanne mit warmem Seitenwasser aus. Verwenden Sie keine rauhen oder scharfen Reinigungsmittel. Den Sockel mit einem sauberen, feuchten Tuch abwischen.
Beachten Sie die Sicherheitshinweise!
Wir empfehlen Ohnen, dass Sie vor der Zubereitung der ersten Tassen Espresso oder Cappuccino einen kompletten Brühvorgang wie unter „Zubereitung von Espresso" beschreiben, jedoch ohne Kaffeepulver, durchführren. Dadurch wird jeglicher Staub, der sich in der Espressomaschine abgesetzt haben können, entfernt. Die Zubereitung von Espresso und Cappuccino ist anders als die Zubereitung von herkömmlichem Kaffee. Sowohlippo als auch Cappuccino werden zubereitet, indem kochendes Wasser unter Druck durch feingemahlenes Kaffeepulver gespresst wird. Dazu ist besondere Aufmerksamkeit notwendig, und wir empfehlen Ohnen, alle in dieser Anleitung enthaltenen Anweisungen und Sicherheitshinweise sorgfältig durchzULEsien, bevor Sie zu bruhen begininnen.
TIP:
Weil die Aufrechterhaltung der Hitze das Aroma erhält, ist es sehr zu empfehlen, Espresso und Cappuccino in vorgewärnten Tassen zu servieren!
Zubereitung von Espresso
- Beachen Sie die Sicherheitshinweise!
- Stellen Sie den Kontrollschalter in die AUS-Stellung.
- Legen Sie den Abtropfrost auf die runde Vertiefung in der Abtropfwannen-abdeckung.
- Entfernen Sie den Boilerdeckel und den Filterhalter. Soltte sich im Boiler Wasser befinden, drehen Sie das Gerät um und schütten Sie das Wasser aus.
- Legen Sie die Filterschale in den Filterhalter. Schwenken Sie die Filtersicherung nach halten.
- Füllen Sie die Filterschale bis zur gewünschten Höhe (das Innere der Filterschale ist mit Maßstrichen markiert, 2 = 2 Tassen, 4 = 4 Tassen) mit Espresso-Kaffeepulver. Verteilen Sie den Kaffee gleichmäßig und drücken Sieihnleitung mit dem Meßlöfeln an.
Wichtig: Der Zweck des Andrückens ist eher, das Kaffeepulver in der Filter-
schale zu verteilen als das Pulver zu verdichten. Durch Überfüllen wird der Wasserfluß blockiert, wodurch das Gerät beschädigt werden kann oder Verletzungen entstehen können. Entfernen Sie sorgfältig jeglichen Kaffee vom Rand des Filters.
- Führer Sie den Filterhalter in den Bruhkopf ein und drehen Sie den Griff nach rechts (in Richtung LOCK), umihn an der korrekten Stelle zu arretieren. Achten Sie darauf, dass der Filterhalter correkt im Bruhkopf festsitzt, damit das Herausspritzen heißen Kaffees vermieden wird.
- Fullen Sie das Glaskannchen entsprechend der gewünschten Tassenzahl mit kaltem Wasser (nicht über die 4-Tassen-Marke hinaus fullen). Schütten Sie die ges Wasser in den Boiler.
- Setzen Sie den Boilerdeckel wieder auf das Gerät auf und drehen Sieihn zu.
- Stellen Sie das leere Glaskannchen mit aufgesetztem Deckel mittig auf den Abtopfrost.
- Schlieben Sie das Gerät an eine vorschrifsmäßig installierte Schutzkontaktsteckdose 230 V, 50 Hz an. Drehen Sie den Kontrollschalter in die Brühstellung. Die Betriebsanzeige leuchtet auf. Nach etwa 3 Minuten fließt Espresso in das Glaskännchen.
- Wenn die Zubereitung beendet ist, drehen Sie den Kontrollschalter in die AUS-Stellung. Nehmen Sie das Glaskannchen vom Abtropfrost herunter.
- Warten Sie nach der Zubereitung ein paar Sekunden, bevor Sie den Filterhalter abnehmer. Fixieren Sie die Filterschale mit der Filtersicherung. Klopfen Sie das gebrauchte Kaffeepulver aus. Reinigen Sie das Gerät, wie unter „Reinigung und Wartung" beschrieben.
Zubereitung von Cappuccino
Um Cappuccino zuzubereiten, gehen Sie zuerst anhand der Schritte 1 bis 12 der Espressozubereitung vor und fahren Sie dann fort, wie unten beschrieben.
- Füllen Sie den fertigen Espresso in (eine) vorgewärmtte Tasse(n). Zum Warmhalten konnen Sie diese auf die Warmhalteplatte aufstellen.
- Befüllen Sie das Glaskannchen bis hochstens zur 2-Tassen-Marke mit frischer, kalter Milch. Um einen eigenen Schaum zu erhalten, sollte Milche mit einem hohen Fettanteil verwendet werden!
- Stellen Sie das Glaskannchen unter die Dampfdüse. Heben Sie das Gefäß an, bis die Dampfdüse etwa einen halben Zentimeter in die Milch eintaucht. Drehen Sie den Kontrollschalter langsam in die Dampf-Ablassen-Stellung. Es tritt Dampf aus der Dampfdüse aus, um die Milch aufzuschäumen. Während Sie die Spitze der Dampfdüse knapp unter der Oberfläche der Milch halten, bewegen Sie das Gefäß in einer kweisenden Bewegung. Wenn das Volumen des Schaums zunimmt, haben Sie das Glaskannchen leicht an, so dass sich die Spitze der Dampfdüse noch immer in der Milch befindet. Setzen Sie den Aufschaumvorgang für etwa 45 Sekunden fort, je nach Ihr Geschmack, oder bis die Milch ihr Volumen verdoppelt hat. Geben Sie Acht, dass Sie die Milch nicht überhitzen oder verbrufen, weil dadurch der Schaum zerstört wurde.
D
Tauchen Sie die Dampfdüse nicht tiefer als einen Zentimeter in die Milch ein. Für ein befriedigendes Aufschäumen sollte ein zischendes Gerausch hörbar sein. Nachdem das Aufschäumen beendet ist, drehen Sie den Kontrollschafter in die AUS-Stellung. Das Glaskännchen enthalt nun zur Häfte erwärmte Milch und Schaum.
- Löffeln Sie den Schaum aus dem Glaskannchen in die Tasse(n) mit dem Espresso-Kaffee. Fügen Sie die flüssige Milch hinzu. Ein Cappuccino besteht zu einem Drittel aus Kaffee, zu einem Drittel aus kein Ber Milch und zu einem Drittel aus geschäumter Milch.
- Um sicherzugehen, dass kein Restdampfdruck mehr aufgestaut ist, stellen Sie einen Behälter mit kaltem Wasser unter die Dampfdüse und tauchen Sie die Dampfdüse in das Wasser. Drehen Sie den Kontrollschalter in die Dampf-Ablassen-Stellung. Der aufgestaute Dampf wird abgelassen, wenn es am Ende der Dampfdüse blubbert.
Wichtig: Der Druck des Gerätes muss Jedesmal abgelassen werden, bevor Sie einen Bruhvorgang durchführren.
Sobald das Blubbern aufhört, ist der Druck vollständig abgebaut. Drehen Sie den Kontrollschalter in die AUS-Stellung.
Warten Sie nach der Zubereitung ein paar Sekunden, bevor Sie den Filterhalter abnehmer. Klopfen Sie das gebrauchte Kaffeepulver aus. Reinigen Sie das Gerät wie unter „Reinigung und Wartung" beschreiben.
Hilfreiche Hinweise
- Der Gebrauch von gefiltertem Wasser oder Flaschenwasser wird sehr empfohlen, um den Geschmack Ihres Espresso zu verbessern und die Verkalkung der Maschine zu vermindern. Destilliertes Wasser soll nicht verwendet werden, weil es fade und geschmachklos ist.
- Das Geheimnis für das Aufschäumen von Milch ist die richtige Technik, die man nur durch Übung erlangen kann.
- Wenn die Zubereitungszeit des Kaffees länger ist (d. h. wenn der Kaffee langsam aus dem Bruhkopf fließt), dann ist möglicherweise der Kaffee zu fein gemahlen, oder es wurde zu viel Kaffee verwendet bzw. der Kaffee wurde zu fest angedrückt.
- Wenn die Zubereitungszeit des Kaffees kürzer ist (d. h. wenn der Kaffee schnell aus dem Bruhkopf fließt), dann ist möglicherweise entweder der Kaffee zu grob gemahlen, oder es wurde eine zu geringe Menge Kaffee verwendet bzw. der Kaffee wurde nicht fest genug angedrückt.
- Wenn Sie einen dickeren „Schaum" zu ihrer Milch bevorzugen, halten Sie die geschäumte Milch 30 bis 60 Sekunden stehen, bevor Sie diese zum Espresso geben.
- Wenn Sie eine offensichtliche Zunahme der Zubereitungszeit und/oder ein hau-figes Verstopfen der Dampfdüse feststellen, sollte das Gerät entkalkt werden. Füllen Sie in den Boiler ein Entkalkungsmittel auf Zitronensäurebasis (siehe Dosierungsanleitung des Herstellers). Befolgen Sie die Punkte wie in „Zubereitung von Espresso". Füllen Sie jedoch kein Kaffeepulver in die
Filterschale! Nach der Entkalkung führen Sie erneut 2-3 Zubereitungsvorgänge mit klarem Wasser durch.
D
Reinigung und Wartung
- Beachten Sie die Sicherheitshinweise, bevor Sie das Gerät reinigen.
- Ziehen Sie den Netzstecker und halten Sie das Gerät abkühlen.
- Zur Entkalkung verwenden Sie nur ein Entkalkungsmittel auf Zitronensäurebasis.
- Wischen Sie das Gerät mit einem sauberen, feuchten Tuch ab.
- Verwenden Sie keine Lösungsmittel.
- Reinigen Sie die Filterschale, den Filterhalter, das Glaskannchen, den Kannendeckel, die Boilerkappe und den Abtropfrost in einem Spulbad in gewohnter Weise.
- Reinigen Sie keine Teile in der Spülmaschine.
- Zur Reinigung der Dampfdüse laßen Sie den Dampf nach dem Herausnehmen aus der Milch für etwa 3 Sekunden weiter entweichen. Drehen Sie den Kontrollschalter auf AUS und wischen Sie die Dampfdüse mit einem sauberen, feuchten Tuch ab. Vorsicht: Die metallene Dampfdüse ist heißt!
- Benetzen Sie die Dichtung in der Boileröffnung und am Filterhalter von Zeit zu Zeit mit Pflanzenöl.
Garantie
Wir übernehmen für das von uns vertriebene Geräte eine Garantie von 24 Monaten ab Kaufdatum (Kassenbon).
Innerhalb der Garantiezeit beseitigen wir unentgeltlich Mängel des Gerätes, die auf Material- oder Herstellungsfehler berufen, durch Reparatur oder Umtausch.
Als Garantienachweis gilt der Kaufbeleg. Ohne diesen Nachweis kann ein Austausch oder eine Reparatur nicht kostenlos erfolgen.
Im Garantiefall geben Sieitte das vollständige Gerat in der Originalverpackung zusammen mit dem Kassenbon an ihren Handler.
Glasbruchschäden und Defekte an Zubehörteilen führen nicht zum Umtausch des Gerätes, sondern werden kostenlos im Austausch zugesendet. In dieser Fall nicht das Gerät einschicken, sondern nur das jeweilige defekte Zubehörteil bestellen!
Reinigung, Wartung oder der Austausch von Verschleibteilen fällt nicht in den Rahmen der Garantie und ist deshalb kostenpflichtig.
Die Garantie erlischt bei Fremdeingriff.
Nach der Garantie
Nach Ablauf der Garantiezeit konnen Reparaturen vom entspruchenden Fachhandel oder Reparaturservice kostenpflichtig ausgeführrt werden.
NL
Spannungsversorgung: 230V,50Hz
Leistungsaufnahme: 800 Watt
Schutzklasse: I
Dieses Gerät wurde nach allen zutreffenden, aktuellen CE-Richtlinien geprüft, wie z.B. elektromagnetische Verträglichkeit und Niederspannungsdirektive und wurde nach den neusten sicherheitstechnischen Vorschriften gebaut.
Technische Änderungen vorbehalten!
Bitte führen Sie das ausgediente Geräte einer umweltgerechten Entsorgung zu.
BOMANN
C. Bomann GmbH
Hauptstraße 3·21279 Hollenstedt
Tel.: 04165/224-0 · Fax: 0 4165/2 24-144
e-mail: mail@bomann.de · Internet: www.bomann.de
Garantie-Urkunde
Wir übernehmen für diese Gerät 24 Monate Garantie zu den nachstehenden Bedingungen.
- Innerhalb der Garantiezeit, die mit dem Tage der Lieferung an den Endabnehmer beginnt, werden wir Mängel, die nachweislich auf Material- oder Fertigungsfehler zurückzuführen sind, unentgeltlich beheben. Weitergehende und andere Ansprüche, insbesondere solche auf Ersatz außerhalb des Gerätes entstandener Schäden, sind ausgeschlossen, soweit eine Haftung nicht zwingend gesetzlich angeordnet ist.
- Festgestellte Mängel, deren Behebung im Rahmen unserer Garantiebedingungen gefordert werden, müssen unverzüglich unter Vorlage der ordnungsgemäß ausgeführten Garantie-Urkunde oder des Kaufbelegs angezeigt werden.
- Das Gerät ist frachtfrei in ausreichender Verpackung an uns einzusenden. Die Rücksendung erfolgt im Garantiefall frachtfrei.
- Die Behebung von uns als garantiepflichtig anerkannter Mangel geschieht in der Weise, dass die mangelhaften Teile nach unserer Wahl unentgeltlich instandgesetzt oder durch einwandfrei Teile ersetzt werden. Ersetzte Teile gehen in unser Eigentum über.
- Garantieleistungen bewirken keine Veränderung der Garantiefrist.
-
Keine Garantieleistungen konnen erbracht werden,
-
wenn die Bedingungen It. Punkt 2 nicht erfüllt sind,
- bei Eingriffen nicht autorisierter Personen,
- bei unsachgemäßer Bedienung, falschem Netzanschluss oder anderen Einflüssen (z. B. Bruch),
- bei Transportschäden durch unzureichende Verpackung.
Kaufdatum und Firmenstempel
(Bitte sorgfältig aufbewahren und im Reklamationsfall
unbedingt einsenden.)
C. Bomann GmbH · Logistik-Center
Heinrich-Horten-Str. 1 - D-47906 Kempen
Germany
