MC 4443 CD - Cd-spieler/rekorder AEG - Kostenlose Bedienungsanleitung
Finden Sie kostenlos die Bedienungsanleitung des Geräts MC 4443 CD AEG als PDF.
Questions des utilisateurs sur MC 4443 CD AEG
0 question sur cet appareil. Repondez a celles que vous connaissez ou posez la votre.
Poser une nouvelle question sur cet appareil
Laden Sie die Anleitung für Ihr Cd-spieler/rekorder kostenlos im PDF-Format! Finden Sie Ihr Handbuch MC 4443 CD - AEG und nehmen Sie Ihr elektronisches Gerät wieder in die Hand. Auf dieser Seite sind alle Dokumente veröffentlicht, die für die Verwendung Ihres Geräts notwendig sind. MC 4443 CD von der Marke AEG.
BEDIENUNGSANLEITUNG MC 4443 CD AEG
Bedienungsanleitung/Garantie
Gebruiksaanwijing Mode d'emploi Instrucciones de service Manual de instruções Istruzioni per l'uso Instruction Manual Instrukja obslugi/Gwarancja Hasznalatiutasitas Inctpykui 3 ekcnnyataaui RykoBoDCTBO no ekcnnyataaun
Music-Center
Muziekinstallatie · Music center Music center · Centro de musica Centro de musica · Music Centre Zestaw muzychny · Music-Center My3kaJIbHnIeHTp · My3kaJIbHbIeHTp

PERFECT IN FORM AND FUNCTION
AEG
Deutsch
Inhalt
Ubersicht der Bedienelemente . 3
Bedienungsanleitung. 4
Technische Daten.. 9
Garantiebedingungen.. 9
Nederlandds
Inhoud
Technische gegevens.. 16
Francais
Sommaire
Listedesifferentélementsdecommande...Page3
Übersicht der Bedienelemente
Overzicht van de bedieningselementen
Liste des différents éléments de commande
Indicación de los elementos de manejo
Descrição dos elementos • Elementi di lavoro
Overview of the Components
Przeglad elementów obstrugi
A kezel o elementk attekintese
Ornien elementiv npabinHna - O63op detanei np60pa



4 Deutsch
Allgemeine Sicherheitshinweise
Lesen Sie vor Inbetriebnahme diesen Gerätes die Bedie-nungsanleitung sehr sorgfältig durch und bewahren Sie diese inkl. Garantieschein, Kassenbon und nach Mänglichkeit den Karton mit Innerverpackung gut auf. Falls Sie das Gerät an Dritte weitergeben, geben Sie auch die Bedienungsanleitung mit.
- Um das Risiko von Feuer oder einem elektrischen Schlag zu vermeiden, sollen den Sie das Gerät nicht Regen oder Feuchtigkeit aussetzen. Das Gerät nicht in unmittelbarer Höhe von Wasser betreiben (z.B. Badezimmer, Schwimmbecken, feuchte Keller).
- Benutzen Sie das Gerät ausschließlich für den privaten und den darauf vorgesehenen Zweck. Dieses Gerät ist nicht für den gewerblichen Gebrauch bestimmt.
Das Gerat ausschlieBlich an eine vorschrifsmäßig installierte Steckdose anschlieBen. Achten Sie darauf, dass die angegebene Spannung mit der Spannung der Steckdose übereinstimmt. - Bei Verwendung von externen Netzteilen auf die richtige Polarität und Spannung achten, Batterien stets richtigherum einlagen.
- Das Gerät so aufstellen, dass vorhandene Lüftungsöffnungen nicht verdeckt werden.
- Niemals das Gehäuse des Gerätes öffnen. Durch unsachgemäß Reparaturen können erhebliche Gefahren für den Benutzer entstehen. Bei Beschädigung des Gerätes, insbesondere des Netzkabels, das Gerät nicht mehr in Betrieb besteht, sondern von einem Fachmann reparieren lessen. Netzkabel regelmäßig auf Beschädigungen prufen.
- Ein defektes Netzkabelarf nur vom Hersteller, unserem Kundendienst oder einer ahnlich qualifizierten Person durch ein gleichwertiges Kabel ersetzt werden, um Gefährdungen zu vermeiden.
- Benutzen Sie das Gerät langere Zeit nicht, ziehen Sie den Netzstecker aus der Steckdose, bzw. entnehmer Sie die Batterien.
These Symbole konnen sich ggfs. auf dem Gerat befinden und sollen Sie auf folgenden hinweisen:

Das Blitz-Symbol soll den Benutzer auf Teile im Inneren des Gerätes hinweisen, die gefährlich hohe Spannungen führen.

Das Symbol mit Ausrufezeichen soll den Benutzer auf wichtige Bedienungs- oder Wartungs-Hinweise in den Begleitpapieren hinweisen.

Geräte mit diesen Symbol arbeiten mit einem „Klasse 1-Laser" zur Abtastung der CD. Die eingebauten Sicherheitschalter sollen verhindern, dass der Benutzer gefährlichem, für das menschliche Auge nicht sightbarem Laserlicht ausgesetzt wird, wenn das CD-Fach geöffnet ist.
These Sicherheitschalter sollen auf keinen Fall überbrukt oder manipuliert werden, sonst besteht die Gefahr, dass Sie sich dem Laser-Licht aussetzen.
Kinder und gebrechliche Personen
- Zur Sicherheit ihrer Kinder{lassen Sie keine Verpackungsteile (Plastikbeutel, Karton, Styropor, etc.) erreichen liegen.
WARNING!
Lassen Sie keine Kinder nicht mit Folie spiel. Es besteht Erstickungsgefahr!
- Dieses Gerät ist nicht davon bestimmt, durch Personen (einschließlich Kinder) mit eingeschrankten physischen, sensorischen oder geistigen Fähigkeiten oder mangels Erfahrung und/oder mangels Wissen benutzt zu werden, es sei dess, sie werden durch eine für ihre Sicherheit zuständige Person beaufsichtigt oder erhielten von ihr Anweisungen, wie das Gerät zu benutzen ist.
- Kinder sollen beaufsichtigt werden, um sicherzustellen, dass sie nicht mit dem Gerät speilen.
Symbole in dieser Bedienungsanleitung
Wichtige Hinweise für ihre Sicherheit sind besonders gekennzeichnet. Beachten Sie diese Hinweise unbedingt, um Unfälle und Schäden am Gerät zu vermeiden:
WARNING:
Warnt vor Gefahren fur ihre Gesundheit und zeigt mögliche Verletzungsrisiken auf.
ACHTUNG:
Weist auf mögliche Gefährdungen für das Gerät oder andere Gegenstände hin.
HINWEIS:
Hebt Tipps und Informationen für Sie hervor.
Spezielle Sicherheitshinweise

Dieses Gerat arbeitet mit einem Laser der Klasse 1.
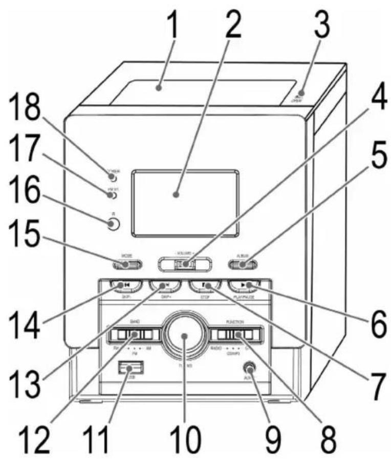
Übersicht der Bedienelemente
1 CD-Fach
2 LCD-Display
3 ▲ OPEN (öffnen) CD-Fach
4 VOLUME (Lautstärkeregler)
5 ALBUM Taste
6 II PLAY/PAUSE (Wiedergabe/Pause) Taste
7 STOP (Stopp) Taste
8 FUNCTION Funktionswahlschalter (OFF / CD/MP3 / RADIO)
9 AUX IN Anschluss
10 TUNING Regler
11 USB Anschluss
12 BAND Bandwahlschalter (AM / FM / FM ST.)
13 SKIP+ Taste (Suchlauf vorwärts)
14 SKIP-Taste (Suchlaufrückwärts)
15 MODE Taste (Wiederholen/Zufallswiedergabe)
16 IR Sensor für die Fernbedienung
17 Kontrolleuchte FM ST.
18 Kontrollleuchte POWER
Rückseite
19 TIME SET Taste (Uhrzeit)
20 HOUR Taste (Stunden)
21 MINUTE Taste (Minuten)
22 SPEAKERS R/L Laufsprecheranschlüsse
23 AC Netzanschluss
24 Netzschalter
25 FM ANT. Wurfantenne
26 Batteriefach (Gangreserve)
Fernbedienung
1 II Taste (Wiedergabe/Pause)
2 PROG Taste (Speicher)
3 Tasten
(Suchlauf ruckwärts/vorwärts)
4 ALBUM Taste (aufwärts Album)
5 +10 Taste
6 MODE Taste
(Wiederholen/Zufallswiedergabe)
7 STOP Taste
Bestimmungsgemäßer Gebrauch
Dieses Gerät dient zum
- Empfang von Radioprogrammen
- Abspielen von Audio-/MP3-CDs/Dateien
- Tonwiedergabe von externen Audioquellen.
Es ist ausschließlich für diesen Zweck bestimmt und damit nur dazu verwendet werden. Es darauf nur in der Art und Weise benutzt werden, wie es in dieser Gebrauchsanleitung beschrieben ist. Sie dürfen das Gerät nicht für gewerbliche Zwecke einsetzen.
Jede andere Verwendung gilt als nicht bestimmungsgemäß und kann zu Sachschäden oder)sogar zu Personenschäden führen.
Die ETV - Elektro-Technische Vertriebsgesellschaft mbH übernimmt keine Haftung für Schäden, die durch nicht bestimmungsgemäßen Gebrauch entstehen.
Inbetriebnahme des Gerätes/Einführung
- Lesen Sie vor der Inbetriebnahme die Bedienungsanleitung sorgfältig durch!
- Wahlen Sie einen geeigneten Standort für das Gerät. Geeignet wurde eine trockene,Ebene, rutschfeste Fläche, auf der Sie das Gerät gut bedieten können.
- Achten Sie darauf, dass das Gerät ausreichend belüf-tet wird!
Schlieben Sie die Laufsprecher auf der Rückseite an „Speaker R und L" (22) an. - Entfernen Sie, falls vorhanden, die Schutzfolie vom Display.
Stromversorgung
- Stecken Sie den Netzstecker in eine vorschrittsmäßige installierte Schutzkontaktsteckdose, 230 V, 50 Hz.
- Achten Sie darauf, dass die Netzspannung mit den Angaben auf dem Typenschild übereinstimmt.
- Schalten Sie das Gerät ein, indem Sie den Netzschalter (24) auf Position ON stellen.
Einstellen der Uhrzeit (im Standby Modus (OFF))
- Halten Sie die TIME SET Taste (19) gedrückt.
- Drücken Sie die HOUR Taste (20) um die Stunden einzustellen. Halten Sie die Taste gedrückt, bis die gewünschte Stunde erreicht ist.
- Um die Minuten einzustellen, drücken Sie die MINUTE Taste (21). Halten Sie die Taste gedrückt, bis die gewünschten Minuten erreicht sind.
Die Uhrzeit wird automatisch gespeichert.
HINWEIS:
Be der Uhrzeit handelt es sich um eine 12 Stunden Anzeige.
AM = Vormittags; PM = Nachmittags
HINWEIS:
Die Speicherung/Anzeige der Uhrzeit Goes verloren, sobald die Stromzufuhr unterbrochen wurde. Wollen Sie die Uhrzeit auch bei unterbrochener Stromzufuhr anziegen laessen, legen Sie eine Knopfelle des Typs CR 2025 polaritätsrichtig in das Batteriefach (26) ein (Batterie nicht im Lieferumfang enthalten). Öffnen Sie den Batteriefachdeckel auf der Rückseite durch Drehen in Richtung EN.
6 Deutsch
Batterien einlegen
HINWEIS:
Die Lithium-Zelle im Batteriefach der Fernbedienung wurde für den Transport mit einer Folie gesichert. Dies verlangert die Lebensdauer der Batterie. Vor der ersten Anwendung entfernen Sieitte diese Folie,um die Fernbedienung betriebsbereit zu machen.
Bei der Batterie der Fernbedienung handelt es sich um eine langbleige Lithium-Zelle. Sollte im Laufe der Anwendung die Reichweite der Fernbedienung nachlassen, gehen Sieitte wie folgt vor:
- Offnen Sie das Batteriefach an der Unterseite der Fernbedienung.
- Ersetzen Sie die Zelle durch eine Batterie der gleichen Bauart (CR 2025). Achten Sie auf die richtige Polari-tät.
SchlieBen Sie das Batteriefach.
Wird die Fernbedienung langere Zeit nicht benutzt, entnehmer Sieitte die Batterie,um ein,Auslaufen" von Batteriesäure zu vermeiden.
ACHTUNG:
Batterien gehoren nicht in den Hausmull.itte geben Sie verbrauchte Batterien bei zuständigen Sammelstell- len oder beim Handler ab.
WARNING:
- Setzen Sie Batterien keiner hohen Wärme oder dem direkten Sonnenlicht aus. Werfen Sie Batterien niemals ins Feuer. Es besteht Explosionsgefahr!
- Halten Sie Batterien von Kindern fern. Sie sind kein Spielzeug!
- Offnen Sie Batterien nicht gewaltsam.
- Vermeiden Sie den Kontakt zu metallischen Gegenständen. (Ringe, Nagel, Schrauben usw.) Es besteht Kurzschlussgefahr!
- Durch einen Kurzschluss konnen sich Batterien stark erhitzen oder evtl. sareng entzünden. Verbrennungen konnen die Folge sein.
- Zu Ihrer Sicherheit sollen den Batteriepole beim Transport mit Klebestreifen überdeckt werden.
- Falls eine Batterie auslauf, die Flüssigkeit nicht in die Augen oder Schleimhäute reiben. Bei Berührung die Hände waschen, die Augen mit klarem Wasser spulen, und bei anhaltenden Beschwerden einen Arzt aufsuchen.
Transportsicherung CD Fach
- Offnen Sieitte das CD Fach (1),indem Sie die OPEN (offnen) Taste (3) drucken.
- Entfernen Sie vor der Inbetriebnahme, wennvorhenden, die Transportsicherung aus dem CD-Player.
Allgemeine Bedienung
HINWEIS:
Einige Tasten finden Sie sowohl am Gerät als auch auf der Fernbedienung. Gleichlautende Tasten bewirken die gleiche Funktion.
Lautstärke
Mit dem VOLUME / Lautstärkeregler (4), können Sie die gewünschte Lautstärke einstellen.
Ausschalten
Das Gerät ist außer Betrieb, wenn der Funktionswahl-schalter (8) in Position OFF steht. Stellen Sie den Netz-schalter (24) auf Position OFF. Ziehen Sie anschließend den Netzstecker.
AUX IN Buchse
Zum Anschluss von analogen Wiedergabegeräten. Über diese Buchse können Sie auch den Ton anderer Wiedergabegeräte wie MP3-Player, CD-Player usw. über die Lautsprecher horen.
- SchlieBen Sieitte das externe Gerät, mit einem 3,5 mm Stereo-Klinkenstecker, an die AUX IN Buchse (9) an.
- Stellen Sie den Funktionswahlschalter (8) auf CD/ MP3 oder RADIO. Das Gerät schaltet automatisch in den AUX IN Betrieb. Der Radio bzw. CD Ton wird abgeschaltet.
- Über die Laufsprecher horen Sie die Tonwiedergabe aus dem externen Gerät, mit dem VOLUME Lautstärkeregler (4) konnen Sie die Lautstärke verändern. Die CD Tasten sind nicht Funktionsfähig.
- Die weitere Vorgehensweise entnehmer Sieitte der Bedienungsanleitung der externen Tonquelle.
HINWEIS:
Stellen Sie die Lautstärke des externen Gerätes auf eine hörgerechte Lautstärke.
USB Anschluss (11)
Dieses Gerät ist nach dem letzten Stand der technischen Entwicklungen im USB Bereich entwickelt worden. Die große Anzahl von verschiedenen USB Speichermedien jeglicher Art die heute angeboten werden, erlauben es leider nicht, eine volle Kompatibilität mit allen USB Speichermedien zu gewährleisten. Aus thisem Grund kann es in seltenen Fälle zu Problemen bei der Wiedergabe von USB Speichermedien kommt. Dies ist keine Fehlfunktion des Gerätes.
- Stellen Sie den Funktionswahlschalter (8) auf Position CD/MP3.
-
SchlieBen Sie ein USB Speichermedium direkt an den entsprechenden Anschluss an.
-
Halten Sie die II PLAY/PAUSE Taste (6) gedrückt, um den USB Modus auszuwahlen. USB erscheint im Display.
- Nach einigen Sekunden erscheint kurz die Gesamtzahl der Titel, anschließend beginnt die Wiedergabe. Im Display wird das aktuelle Lied, die Anzeige MP3 und USB angezeigt.
Für die Bedienung richten Sie sichitte nach dem Abschnitt „CDs/MP3 abspielen".
HINWEIS:
Befindet sich gleichzeitig keine CD im CD-Fach, wird der USB Anschluss automatisch angewählt.
ACHTUNG:
Bevor Sie das USB Speichermedium entfernen, schalten Sie den Funktionswahlschalter (8) auf die Position RADIO.
Radio horen
- Stellen Sie den Funktionswahlschalter (8) auf Position RADIO.
- Wahlen Sie mit dem Bandwahlschalter (12) das gewünschte Frequenzband aus.
$$ \begin{array}{c} \text {U K W (S t e r e o)} = \text {F M . S T , U K W} = \text {F M}, \ \text {M i t c e l w e l l e} = \text {A M (M o n o)} \end{array} $$
- Stimmen Sie mit dem TUNING Regler (10) den gewünschten Sender ab.
- Die FM.ST-Kontrollleuchte (17) leuchtet nur, wenn Sie UKW Stereo ausgewählten haben und den Sender in Stereo-Qualität empfangen. Ist der Empfang zu schwach und rauscht der empfangene Sender, flackert diese.
- Versuchen Sie, durch Drehen und ab- bzw. aufwickeln der Antenne (25) den Empfang zu verbessern. Bei schlechtem Empfang empfehlen wir auf FM zu schalten.
- Zum Empfang von AM Sendern ist eine Antenne im Gerät integriert. Das Gerät kann durch Verdrehen und Änderung auf den Sender ausgerichtet werden. In thisem Frequenzband werden Sendungen nur in Mono ausgestraht.
CDs/MP3 abspielern
So geben Sie eine CD wieder
- Stellen Sie den Funktionswahlschalter (8) auf Position "CD/MP3".
- Drücken Sie die OPEN Taste (3), um das CD-Fach (1) zu öffnen.
- Legen Sie eine CD mit dem Aufdruck nach oben so auf den Zentrierkegel, dass die CD Mechanisch einrastet und schlieben Sie dann den CD-Fachdeckel.
-
Im Display wird nach einigen Sekunden die Gesamtzahl der Lieder/Tracks angezeigt.
-
Die CD wird vom ersten Titel an abgeschweit. Das aktuelle Lied, die Anzeige bzw. MP3 wird im Display angezeigt.
- Um eine CD zu entnahmen, betätigen Sieitte die STOP Taste (7/7), Offnen das CD-Fach und haben die CD vorsichtig ab.
Halten Sie den CD-Deckel stets geschlossen.
HINWEIS:
- Bei CDs im MP3 Format, mit Ordner, erscheint beim Wechsel in einen anderen Ordner 001 für das erste Lied des neuen Ordners.
- Wenn eine Disk falsch herum eingelegt wird, bzw. keine Disk eingelegt ist, blinkt die Meldung „- - - ", und „NO" (keine Disk) erscheint auf dem Display.
Die Wiedergabe anwenderseitig erstellter CDs kann durch die Vielzahl der verfügbaren Software und CD-Medien nicht garantiert werden.
Beschreibung der CD Tasten
II PLAY/PAUSE (6/1)
Kurz drucken:
Sie können die Wiedergabe kurz unterbrechen und wieder starten. Im Display blinkt das Symbol ▷. Nochmaliges Drucken der Taste setzen die Wiedergabe an derselben Stelle fort.
Long drucken:
Wählt den USB Anschluss an.
SKIP+>I/I SKIP-(13/14/3)
Bei laufender Audio-CD oder einer CD im MP3 Format:
Mit /SKIP + können Sie zum nachsten bzw. übernachsten Titel springen usw.
- Halten Sie die Taste gedrückt, setzen ein Musiksuchlauf ein.
Die SKIP - Taste können Sie wie folgt bedieren:
1 x drucken = Beginn das aktuelle Lied wieder von vorne.
2 x drucken = Springt zum vorherigen Titel.
3 x drucken = Spielt ein Lied davor usw. Halten Sie die Taste gedrückt, setzen ein Musiksuchlauf ein.
STOP (7/7)
Die CD wird angehalten.
MODE (15/6)
Bei laufender Audio-CD oder einer CD im MP3 Format:
1x drucken = (REP leuchtet) Das aktuelle Lied wird ständig wiederholt.
8 Deutsch
2x drucken = (ALCReHctet) Die komplette CD wird ständig wiederholt.
3x drucken = Im Display erscheint die Anzeige RAND und die erste Titelnummer, welche als erst gespielt wird. Alle Titel werden nacheinander in einer zufälligen Reihenfolge wiedergegeben.
4x drucken = Alle Funktionen sind aufgehoben. Der normale Abspielbetrieb wird fortgesetzt.
Nur fur CDs im MP3-Format
1x drucken = Das aktuelle Lied wird ständig wiederholt (im Display erscheint REP).
2x drucken = Der angewählte Ordner der MP3 CD wird ständig wiederholt (im Display erscheint REP ALBUM). Mit der ALBUM Taste (5/4) können Sie die einzeln Ordner anwahlen.
3x drucken = Die komplette CD wird ständig wiederholt (im Display erscheint REP ALL).
4x drucken = Im Display erscheint die Anzeige RAND, MP3 und die erste Titelnummer, welche als erstes gespielt wird. Alle Titel werden nacheinander in einer zufälligen Reihenfolge wiedergegeben.
5x drucken = Die Funktion wird deaktiviert und die CD wird im normalen Modus abgespielt.
ALBUM (5/4)
Drucken Sie diese Taste wiederholt während der Wiedergabe, um einen Ordner nach oben zu wechseln. Wird die Taste im Stopp-Modus gedrückt, erscheint ebenfalls kurz die Anzeige im Display. Starten Sie danach die Wiedergabe mit der II PLAY/PAUSE Taste (6/1).
+10 (5 ander FB)
Drücken Sie diese Taste, um jeweils 10 Titel nach vorne zu springen (sofern auf der CD mehr als 10 Titel gespeichert sind).
Programmierte Wiedergabe
Lässt die Programmierung einer beliebigen Titelfolge zu.
- Drucken Sie die STOP Taste (7/7).
- Drucken Sie die PROG Taste (2 an der FB). Im Display blinkt die Anzeige PROG und „P01" (Speicherplatz) wird angezeigt. Wahlen Sie mit den SKIP + I/1 SKIP-Tasten (13/14/3) den gewünschten Titel aus und drucken Sie erneut die PROG Taste. Die Anzeige im Display wechselt auf Speicherplatz P02.
HINWEIS:
- Bei CDs im MP3 Format drucken Sie die ALBUM Taste (5/4), um den Ordner zu wechseln.
-
Bei CDs im MP3 Format, mit Ordner, erscheidt beim Wechsel in einen anderen Ordner 001 für das erste Lied des neuen Ordners.
-
Wahlen Sie mit den SKIP+▶I/IK SKIP- Tasten den nachsten Titel aus und drücken Sie erneut die PROG Taste. Wiederholen Sie den Vorgang, bis Sie alle Titel ausgewählten haben.
- Drücken Sie die II PLAY/PAUSE Taste (6/1). Die Wiedergabe wird gestartet. Im Display wird die erst gewählte Titelnummer angezeigt, und die Anzeige bzw. MP3 und PROG leuchten. Mit dieser Tastes konnen Sie das Programm ebenso kurz unterbrechen.
- Drücken Sie einmal die STOP Taste, wird die Wiedergabe gestopt, das Programm bleibt jedoch erhalten.
- Zur erneuten Wiedergabe des Programms, drucken Sie die II PLAY/PAUSE Taste.
- Zum Löschen des Programms drücken Sieitte 2× die STOP Taste.Die Anzeige PROG erlischt.
Das Gerät stoppt automatisch, nachdem alle programmierten Titel wiedergegeben wurden. Die Anzeige PROG erlischt und die programmierte Reihenfolge wird aus dem Speicher gelöscht.
Sie haben die Möglichkeit die programmierten Titel mit der REPEAT-Funktion zu kombinierten. Nachdem Sie programmiert und das Gerät gestartet haben, drücken Sieitte die MODE Taste (15/6) bis zu 3× und die Funktionen konnen, wie unter Abschnitt "MODE" beschreiben, angewendet werden.
Wiedergabe von Musik im MP3 Format
Sie haben die Möglichkeit mit thisem Gerat Musikstücke im MP3 Format wiederzugeben. Das Gerat unterstützt außer dem die gängigen CD Type: CD, CD-RW, CD-R.
Sie können mit Ihr Gemärat MP3 CDs abspielen. Auf diesen CDs können bis zu 200 Titel verdichtet abgespeichert werden. Ihr Gerät erkennt eine MP3 CD automatisch (im Display erscheint die Gesamtzahl der Titel und MP3). Zum Abspielen dieser CDs gehen Sieitte vor, wie unter CDs/MP3 abspielen beschreiben. Die Programmierung von Titeln können Sie, wie bereits unter „Programmierte Wiedergabe" beschreiben, durchführten.
Bitte beachten Sie:
Es gibt eine Vielzahl von Brenn- und Komprimierungsverfahren, sowie Qualitätsunterschiede bei CDs und gebrannten CDs.
Des Weiteren hält die Musikindustrie keine fester Standards ein (Kopierschutz).
Aus diesen Gründen kann es in seltenen Fälle zu Problemen bei der Wiedergabe von CDs und MP3 CDs kommt. Dies ist keine Fehlfunktion des Gerätes.
Reinigung und Pflege
- Ziehen Sie vor der Reinigung den Netzstecker.
- AuBere Flecken können Sie mit einem leicht feuchten Tuch, ohne Zusatzmittel, abwischen.
Störungsbehebung
| Symptome Ursache Lösung | ||
| CD kann nicht wiederergegeben werden. | CD ist nicht oder nicht korrekt eingelegt. | Stellen Sie sicher, dass die Disc mit der Beschchriftung nach oben ge-richtet eingelegt ist. |
| CD springt während der Wiedergabe. | Kontrollieren Sie die Disc auf Fingerabdrücker, Schmutz oder Kratzer. | Säubern Sie diese mit einem weichen Tuch von der Mitte hersaus. |
| Gerät{lösst sich nicht bedieren. | Gerät blockiert „hängt fest". | Ziehen Sie für ca. 5 Sek. den Netz- stecker. Schalten Sie das Gerät anschließend wieder ein. |
Technische Daten
Modell: MC 4443 CD/MP3
Spannungsversorgung: 220-240 V ~ 50 Hz
Leistungsaufnahme: 12,5 W
Schutzklasse: II
Technische Änderungen vorbehalten!
Konformitätserklarung
Hiermit erklart die Firma ETV - Elektro-Technische Vertriebsgesellschaft mbH, dass sich das Gerät MC 4443 CD/MP3 in Übereinstimmung mit den grundlegenden Anforderungen, der europäischen Richtlinie für elektron magnetische Verträglichkeit (2004/108/EG) und der Niederspannungsrichtlinie (2006/95/EG) befindet.
Garantiebedingungen
- Gegenüber Verbrauchern gewähren wir bei privater Nutzung des Geräts eine Garantie von 24 Monaten ab Kaufdatum.
Ist das Gerät zur gewerblichen Nutzung geeignet, gewährren wir beim Kauf durch Unternehmer für das Gerät eine Garantie von 12 Monaten.
Die Garantiezeit für Verbraucher reduziert sich auf 12 Monate, sofern sie ein zur gewerblichen Nutzung geeignetes Gerät – auch teilweise – gewerblich nutzen. - Voraussetzung für unsere Garantieleistungen sind der Kauf des Geräts in Deutschland bei einem unserer Vertragshandler sowie die Übersendung einer Kopie des Kaufbelegs und diesen Garantiescheins an uns.
Befindet sich das Gerät zum Zeitpunkt des Garantiefalls im Ausland, muss es auf Kosten des Käufers uns zur Erbringung der Garantieleistungen zur Verfügung gestellt werden. - Mängel mussen innerhalb von 14 Tagen nach Erkennbarkeit uns gegenüber schriftlich angezeigt werden. Besteht der Garantieanspruch zu Recht, entscheiden wir, auf welche Art der Schaden/Mangel behoben werden soll, ob durch Reparatur oder durch Austausch eines gleichwertigen Geräts.
- Garantieleistungen werden nicht für Mängel er-bracht, die auf der Nichtbeachtung der Gebrauchsanweisung, unsachgemäßer Behandlung oder normaler Abnutzung des Geräts beruhen. Garantieansprüche sind ferner ausgeschlossen für leicht zerbrechliche Teile, wie zum Beispiel Glas oder Kunststoff. Schließlich sind Garantieansprüche ausgeschlossen, wenn nicht von uns autorisierte Stellen Arbeiten an dem Gerät vornehmen.
- Durch Garantieleistungen wird die Garantiezeit nicht verlangert. Es besteht auch kein Anspruch auf neue Garantieleistungen. Diese Garantiererklärung ist eine freiwillige Leistung von uns als Hersteller des Geräts. Die gesetzlichen Gewährleistungsrechte (Nacherfüllung, Rücktritt, Schadensersatz und Minderung) werden durch diese Garantie nicht berührt.
Stand 03 2008
Garantieabwicklung
Sollte Ihr Gerät innerhalb der Garantiezeit einen Mangel aufweisen, bitten wir Sie, uns ihren Garantieanspruch mitzuteilen.
Diechnellste und komfortabelste Möglichkeit ist die Annel-.
meldung uber unser SLI (Service Logistik International)
Internet-Serviceportal.
www.sli24.de
10 Deutsch
Sie können sich Dort direkt anmelden und erhalten alle Informationen zur weiteren Vorgehensweise ihrer Reklamation.
Über einen persönlichen Zugangscode, der Ihnen direkt nach ihrer Anmeldung per E-Mail übermittelt wird, können Sie den Bearbeitungsablauf ihrer Reklamation auf unserem Serviceportal online verfolgen.
Alternative konnen Sie uns den Servicefall per E-Mail
hotline@etv.de
oder per Fax
02152-20061597
mitteilen.
Bitte teilen Sie uns ihren Name, Vornamen, StraBe, Hausnummer, PLZ und Wohnort, Telefon-Nummer, soweltvorhanden, Fax-Nummer und E-Mail-Adresse mit. Im Weiteren benotigen wir die Typenbezeichnung des reklamierten Gerates, eine kurze Fehlerbuchreibung, das Kaufdatum und den Handler, bei dem Sie das Neugerät erworbEN haben.
Nach Prüfung Ihres Garantieanspruches erhalten Sie von uns einen fertig ausgefüllten Versandaufkleber. Sie brauchen diesen Aufkleber nur noch auf die Verpackung Ihres gut verpackten Gerätes zu kleben und das Paket bei der nachsten Annahmestelle der Deutschen Post / DHL abzugehen. Der Versand erfolgt für Sie kostenlos an unser Servicecenter bzw. Servicepartner.
Bitte fügen Sie dem Paket eine Kopie Ihr's Kaufbeleges (Kassenbon, Rechnung, Lieferschein) sowie eine kurze Fehlerbeschreibung bei.
Ohne den Garantienachweis (Kaufbeleg) kann ihre Reklamation nicht kostenfrei bearerbeitet werden.
Bitte nehmen Sie in keinem Fall eine unfreie Einwendung Ihres Gerätes vor. Bei unfreien Lieferungen entfällt Ihr Anspruch auf Garantieleistungen.
Haben Sie Fragen zur Bedienung, zur Inbetriebnahme oder zum Anschluss? Gerne hilftlichen unser Serviceteam weiter. Sie erreichen uns Mo.-Do. 8:30-17:00 Uhr und Fr. 8:30-14:00 Uhr unter folgender Rufnummer:
02152-2006666
ETV
Elektro-Technische Vertriebsgesellschaft mbH
Industriering Ost 40
Bedeutung des Symbols „Mullonne"
Schonen Sie unsere Umwelt, Elektrogeräte gehoren nicht in den Hausmüll.
Nutzen Sie die für die Entsorgung von Elektrogeräten vorgesehenen Sammelstellen und geben Dort ihre Elektrogeräte ab, die Sie nicht mehr benutzen werden.
Sie herself damit die potenziellen Auswirkungen, durch falsche Entsorgung, auf die Umwelt und die menschliche Gesundheit zu vermeiden.
Sie leisten damit ihren Beitrag zur Wiederverwertung, zum Recycling und zu anderen Formen der Verwertung von Elektro- und Elektronik-Altgeräten.
Informationen, wo die Geräte zu entsorgen sind, erhalten Sie über ihre Kommunen oder die Gemeindeverwaltungen.
Kinderen en gebrekkige Personen
Beschermingsklasse: II
A ETV - Elektro-Technische Vertriebsgesellschaft mbH nem vãll feleloseget a rendeltetesellenes hasznalatbol eredokarokert.
KomnaHn ETV-Elektro-Technische Vertriebsgesellschaft mbH He HecET OTBeTCTBHeHOct3a yUep6,HaHeCehHb B pe3yIbTaTe NCIOJIb3OBAHn HE No Ha3HaueHIO.
IodrotOBka K BkJIIOueHHIO/BBeJeHHe
- Pénéb BKNHoueHem TuaTeNbHO npoHTaIe pykoBOcCTBO nolb3ObaTeNa!
-Подберпгдя yctановинздени похогшee мсесTo,ТаковIM RAJIITCR CyXaI,ПLOCKAИ HeCKOЛьЗКaI NOBepx-HOCTb,C XOPOUIM DoCTyNOM. - Obecneue Te DoctatoHuy BoHTnIaIIO H3dennr!
-ПодкнIOHHTeДИнHAmIKN Ha O6paTHOIN CTOpOHe B rH3da Speaker R n L" (22). - YdaHte,ecn HMeETc3aunTHyO nIeHKy CnCnpeA.
3JIeKToPOnTaNHe
BCTabTe BnKy ceTeBOrO Ka6eIaBy cYctAHOBneHHyOCOTBeTCTBeHNO npEancaHm WTeNcElbHy p03eTKy,230B,50T.
- PpokoHTpOInpyIte, COOTBETCTByET IIN HAnpRjKeHne BaWei CeTH HAnpRjKeHnIO NITaHnIg N3DeJIy, Yka3aHHOe HA TINOBOI TaSIuYke.
- POnKInHouHTe yCTpoIcTBO, yCTaHOBIN BBIKInOHTeJIb CeTI (24) B no3nIO NO.
IporpamMnpoBaHne yacob
Vertriebsgesellschaft mbH
Industriering Ost 40
47906 Kempen
ETV
Elektro-technische Vertriebsges. mbH
Industriering Ost 40 • 47906 Kempen
Telefon 0 21 52/20 06-666
Hotline@etv.de
PERFECT IN FORM AND FUNCTION
EinfachAnleitung