Mobilpack 2 - Luftkompressor Aerotec - Gratis brugsanvisning og manual
Find enhedens vejledning gratis Mobilpack 2 Aerotec i PDF-format.
Ofte stillede spørgsmål - Mobilpack 2 Aerotec
Brugerspørgsmål om Mobilpack 2 Aerotec
0 spørgsmål om dette apparat. Besvar dem du kender, eller stil dit eget.
Stil et nyt spørgsmål om dette apparat
Download vejledningen til din Luftkompressor i PDF-format gratis! Find din vejledning Mobilpack 2 - Aerotec og tag din elektroniske enhed tilbage i hånden. På denne side er alle dokumenter nødvendige for brugen af din enhed offentliggjort. Mobilpack 2 af mærket Aerotec.
BRUGSANVISNING Mobilpack 2 Aerotec
Læst og forstå værktøjsmærkater og brugsanvisning. Manglende iagttagelse kan medføre dødsfald eller alvorlige personskader.
Gem denne brugsanvisning.
1. SIKKERHED I ARBEJDSOMRÅDET
a. Hold arbejdsområdet rent og godt oplyst.
Rodede områder og borde inviterer til uheld.
Gulvet må ikke være glat pga. voksne eller støv
b. Brug ikke elværktøjer i eksplosive omgivelser som fx i nærheden af brandbar væske, gas eller støv. Elværktøjer udløser gnister, som kan antænde støvet eller dampene.
c. Hold tilskuere, børn og gæster på afstand, når du arbejder med værktøjer.
d. Elværktøjer udløser gnister, som kan antænde støvet eller dampene. Hold tilskuere, børn og gæster på afstand, når du arbejder med værktøjer. Distraktioner kan medføre, at du mister kontrollen.
e. Brug luftstationen i et åbent område mindst 600 mm fra vægge eller genstande, som vil kunne begrænse tilstrømningen af frisk luft til ventilationsåbningerne.
a. Undgå kropskontakt med stelforbundne overflader som fx rør, radiatorer, komfurer og køleskabe. Der er forøget risiko for elektrisk stød, hvis din krop er forbundet med jord.
b. Undlad at udsætte elværktøjer for regn eller fugt. Hvis der trænger vand ind i et elværktøj, øges faren for elektrisk stød.
c. Ledningen må ikke misbruges. Brug aldrig ledningen til at bære værktøjet eller trække stikket
ud af en kontakt. Hold ledningen på afstand af varme, olie og skarpe kanter eller bevægelige dele. Udskift beskadigede ledninger omgående. Beskadigede ledninger øger faren for elektrisk stød.
d. Når man bruger et elværktøj udendørs, skal man bruge en udendørs forlængerledning mærket "W-A" eller "W". Disse ledninger er beregnet til udendørs brug og reducerer faren for elektrisk stød.
3. PERSONLIG SIKKERHED
a. Brug værnemidler. Brug altid øjenværn. Der skal bruges støvmaske, skridsikre sikkerhedssko, hjelm eller høreværn, när forholdene kræver det.
b. Brug altid øjenværn med sideskjolde samt høreværn. Hvis denne regel ikke overholdes, kan man få slynget fremmedlegemer i øjnene og komme alvorligt til skade eller komme til skade på anden måde.
c. Arbejdsgiveren og/eller brugeren skal sikre, at der benyttes korrekt øjenværn.
d. Vi anbefaler brug af sikkerhedsmaske med bredt udsyn oven på brillerne eller standardsikkerhedsbriller, som yder beskyttelse mod flyvende partikler både forfra og fra siderne.
e. Inden ibrugtagning kontrollerer man, at alle tilbehørsdele er kompatible.
f. Læs og forstå brugsanvisningen til evt. tilbehør eller luftværktøjer inden ibrugtagning.
g. I visse omgivelser kræves ekstra sikkerhedsudstyr. Fx kan man i arbejdsområet måske blive udsat for et støjniveau, som kan medføre høreskader. Arbejdsgiveren og brugeren skal sikre, at alt nødvendigt høreværn forefindes og anvendes af operatøren og andre i arbejdsområdet. I visse miljøer kræves brug af hovedværnemidler.
h. Vær årvågen, hold øje med, hvad du gør, og brug sund fornuft, når du benytter et værktøj. Undlad at bruge værktøjet, hvis du er træt eller påvirket af narkotika, alkohol eller medikamenter. Et øjebliks uopmærksomhed under brug af motoriserede værktøjer kan medføre alvorlige
DanskDansk
Vær ordentligt klædt på. Bær ikke løstsiddende tøj eller smykker. Langt hår skal bindes op. Sørg for, at hår, tøj og handsker ikke kommer i nærheden af bevægelige dele. Løstsiddende tøj, smykker eller langt hår kan hænge fast i bevægelige dele.
j. Læn dig aldrig for langt frem. Sørg for altid at have godt fodfæste og god balance. Stabilt fodfæste og god balance giver bedre kontrol med værktøjet i uventede situationer.
k. Må ikke bruges på stige eller ustabill understøttelse. Stabilt fodfæste på en solid overflade giver bedre kontrol med værkløjet i uventede situationer.
4. BRUG OG PLEJE AF VÆRKT∅JET
a. Undlad at overskride tryknormeringen for nogen af komponenterne i systemet.
b. Beskyt materialeledninger og luftledninger mod skader eller punktering. Hold slange og elledning på afstand af skarpe genstande, kemiske udslip, olie, opløsningsmidler og våde gulve.
c. Inden hver brug kontrollerer man, at slangerne hverken er svage eller slidte - og at alle tilslutninger er sikre. Må ikke bruges, hvis der konstateres fejl.
d. Køb en ny slange, eller indlevér produktet på et autoriseret servicecenter til undersøgelse eller reparation.
e. Frigiv langsomt alt tryk i systemet. Støv og affald kan være skadeligt.
f. Opbevar ubenyttede værktøjer utilgængeligt for børn og andre ukyndige personer. Værktøjer er farlige i hænderne på ukyndige brugere.
g. Værktøjer skal vedligeholdes med omhu.
Følg vedligeholdelsesanvisningerne. Korrekt
vedligeholdte værktøjer er nemmere at styre.
h. Kontrollér, om der er forkert indjusterede eller forbundne bevægelige dele, afbrækkede dele samt andre tilstande, som kan påvirke værktøjets funktionsmåde. Hvis der konstateres skader, skal værktøjet repareres inden brug.
i. Mange ulykker skyldes dårligt vedligeholdte værktøjer.
j. Ret aldrig et værktej mod dig selv eller andre.
k. Hold luftstationens ydre ter, ren og fri for olie og fedt. Brug allid en ren klud til rengøring. Brug aldrig brumsevæske, benzin, petroleumsbaserede produkter eller kraftige opløsningsmidler til rengøring af produktet. lagtagelse af denne regel vil reducere faren for, at indkapslingsplasten nedbrydes.
5. SERVICE
a. Værktøjsservice må kun forestås af kvalificerede reparationsfolk. Service eller vedligeholdelse udført af uautoriseret personale kan medføre fare for personskader.
b. Afbryd strømforsyningen, åbn aftapningsventilen for at dekomprimere tanken og lade vandet løbe ud, og vent til luftkompressoren er kølet ned, så den er håndvarm, inden eftersyn. Draj trykregulatorknappen helt om mod uret - efter at der er lukket for kompressoren.
c. I forbindelse med servicearbejde må der kun bruges originale reservedele. Følg anvisningerne i afsnittet "Vedligeholdelse" i denne brugsanvisning. Brug af ikke-godkendte dele eller manglende overholdelse af vedligeholdelsesan
SÄERLIGE SIKKERHEDSREGLER
- Lær luftstationen at kende. Læs brugsanvisningen omhyggeligt. Bliv bekendt med produktets anvendelsesområder og begrænsninger samt de specifikke potentielle faremomenter i forbindelse med produktet. Derved formindskes risikoen for elektrisk stød, brand og alvorlige personskader.
- Tøm dagligt tanken for fugt efter brug. Hvis produktet ikke skal bruges i en periode, er det bedst at lade aftapningsventilen stå åben, til det skal bruges igen. Herved aftappes evt. fugt fuldstændigt og bidrager til at forebygge korrosion på tankens inderside.
- Fare for brand eller eksplosion. Undgå at sprøjte med brændbare væsker i et indelukket område. Sprjteområdet skal være godt ventileret. Undlad at ryge under sprøjting eller at sprøjte i nærheden af gløder eller ild. Hold stationer på så stor afstand af sprjteområdet som muligt, dog mindst 4,6 m fra sprjteområdet eksplosive dampe.
- Risiko for sprængning. Undlad at justere regulatoren, så der opnås et udgangstryk, der er større end det markerede max-tryk for tilbehøret og/eller den enhed, der oppumpes. Brug aldrig et tryk højere end 9,3 bar.
- Brug med jævne mellemrum et luftmanometer under oppumpning af en genstand for at kontrollere lufttrykket.
- Maskinen skal sluttes til en kredsløbsbeskyttelsesanordning (sikring eller HFfrelæ).Beskyttelsesanordningen skal indstilles til 20 A strøm, og brugeren skal udføre de nødvendige fest iht. klausul 18.2.2 fj. EN 60204-1:2006 for at kontrollere, om beskyttelsesanordningen er egnet til brug.
- For at begrænse faren for elektrisk stød må maskinen ikke udsættes for regn (vand) eller støv;
den skal opbevares indendørs.
-
Inspicér tanken årligt for rust, skruehuller eller andre fejl og mangler, som kan gøre den usikker. Der må aldrig svejses på eller bores huller i lufttanken.
-
Sørg for, at slangen er fri af forhindringer eller fremspring. Sammenfiltrede eller rodede slanger kan forårsage tab af balance eller fodfæste og blive beskadiget.
-
Luftstationen må kun bruges til det tiltænkte anvendelsesformål. Undlad at ændre eller modificere enheden i forhold til det oprindelige design eller funktion.
-
Vær altid opmærksom på, at misbrug eller ukorrekt håndtering af dette væktøj kan forårsage skader på dig selv og andre.
-
Undlad at træde eller stå på arbejdssædet. Det formindsker faren for alvorlige skader.
-
Efterlad aldrig et værktøj uden opsyn med påmonteret spiralluftslange.
-
Brug ikke dette værktøj, hvis det ikke er forsynet med en læsbar adverselsmærkat.
-
Undlad at bruge et værkløj eller en slange, der lækker luft eller ikke fungerer ordentligt.
-
Husk alltid at afbryde lufttilførslen og strømforsyningen, inden der foretages justeringer, eftersyn af et værkløj, eller når værkøjet ikke er i brug.
-
Undlad at trække eller bære luftstationen i slangen.
-
Værktejet kan kræve et større luftforbrug, end denne luftstation er i stand til at levere.
-
Ud over sikkerhedsreglene for selve luftstationen skal man altid overholde de sikkerhedsregler, der anbefales af luftværktøjets producent. Det formindsker faren for alvorlige skader.
-
Ret aldrig en trykluftstrøm mod mennesker eller dyr. Pas på ikke at blæse støv og snavs mod dig selv eller andre. Overholdes denne regel, reduceres faren for alvorlige personskader.
-
Undlad at bruge denne luftstation til at sprøjte kemikalier. Dine lunger kan blive ødelagt ved at indände giftige dampe. Andedrætsværn kan være nødvendigt i støvede omgivelser eller ved påsprøjting af maling. Må ikke bæres under malerarbejde.
-
Værktøjsledninger og -slanger skal inspiceres regelmæssigt og, hvis beskadliget, repareres på nærmeste autoriserede servicecenter. Vær altid opmærksom på, hvor ledningen befinder sig. Så er der mindre fare for elektrisk stød.
-
Brug aldrig en elektrisk adapter sammen med dette jordstik.
-
Kontrollér beskadigede dele. Inden man fortsætter med at bruge luftstationen eller -værktøjet, skal en beskadiget skærm eller anden del undersøges
omhyggeligt med henblik på, om den vil kunne fungere korrekt og opfylde det tiltænkte formål.
-
Kontrollér, at de bevægelige dele er indjusteret korrekt, at de ikke binder, for brud på dele, montering samt enhver anden tilstand, der kan påvirke delenes funktion. Hvis klingeskærmen eller andre dele er beskadiget, skal de repareres eller udskiftes på et autoriseret Ryobi værksted. Derved formindskes risikoen for brand, elektrisk stød og alvorlige personskader.
-
Kontrollér, at forlængerledningen er i god stand. Når der bruges forlængerledning, skal man sikre sig, at den er tilstrækkeligt dimensioneret i forhold til produktets strømforbrug. Der anbefales et kabel med et tværsnit på mindst 1 mm2 til et forlængerkabel med en længde på max 7,6 m. Brug af kabler længere end 15 m kan ikke anbefales. I tvivlstilfælde bruger man nummeret større. Jo mindre størrelsesnummer, desto kraftigere ledning. En underdimensioneret ledning vil bevirke et fald i ledningsspændingen med deraf følgende overophedning.
-
Dette udstyr indeholder dele, som fx fjederkontakter, stikkontakter og lign., der har tendens til at generere lysbuer eller gnister, og när de bruges på et værksted, skal dette derfor ske i et rum eller en indkapsling beregnet til formålet - eller det skal ske 460 mm eller mere over gulvniveau.
-
Opbevar aldrig værktøjet med tilsluttet lufttilførsel. Opbevaring af værktøjet med tilsluttet lufttilførsel kan medføre uventet affyring og evt. alvorlige personskader.
-
Beskyt dine lunger. Brug ansigtsskærm eller støvmaske, hvis der dannes støv under arbejdet. Det formindsker faren for alvorlige skader.
-
Undlad at bruge spiralluftslanger over det nomerede tryk. Det formindsker faren for alvorlige skader.
-
Hvis strømforsyningskablet beskadiges, skal det udskiftes af producenten eller på et autoriseret servicecenter for at undgå risici.
-
Gem denne brugsanvisning. Slå hyppigt op i den, og brug den til at instruere andre, som evt. skal benytte dette værktøj. Hvis man låner dette værktøj ud, skal brugsanvisningen følge med.
-
Betjen maskinen foran betjeningspanelet.
- Når maskinen kører, kan mange af dens dele udvikle en høj temperatur. Brug nødvendige personlige væmemidler som fx handsker for at undgå skader pga. høj temperatur.
DanskDansk
SPECIFICATIONER
| Lufttankens kapacitet | 2 L |
| Lufttilfersel | 40 L/min |
| Lufttryk | 6.9 bar max |
| Tankmanometer | 40 mm diameter |
| Forskritsmæssigt | |
| manometer | 40 mm diameter |
| Nettovægt | 6.5 kg |
| Arbejdsmiljø | +5~40 °C |
| Luftfugtighed | < 50 % |
| Højde | ≤ 1000 m |
| Opbevaringsmiljø | -25~+55 °C |
| Mærkestrøm | 10 A |
| Motorhastighed | 4800 o/min. |
LÆR LUFTSTATIONEN AT KENDE
Se figur 1
Sikker brug af dette produkt kræver forståelse af informationeme på produktet og i denne brugsanvisning samt kendskab til den forestænde arbejdsopgave. Inden værktøjet tages i brug, er det vigtigt at sætte sig ind i virkemåden og de sikkerhedsmæssige specifikationer.
Bærehåndtag
Luftstationen har et bærehåndtag for at lette transport.
Aftapningsventil
Aftapningsventilen på beholderen er til at aftappe kondens, for at forhindre ætsning af beholderen.
Ollefri pumpe
Den oliefri pumpe begrænser behovet for vedligeholdelse
Trykregulatorknap
Brug trykregulatorknappen til at justere den luftmængde, der leveres gennem slangen. Når knappen trykkes ned, fastlaser den. Dette forhindrer bevægelse af knappen som følge af vibrationer under brug.
Lynkobling
Luftstationen har en 6,4 mm-lyntislutningskobling på siden af enheden.
Forskriftsmæssigt manometer
Det aktuelle ledningstryk vises på regulatorens manometer. Dette tryk kan justeres ved at dreje på trykregulatorens knap.
Sikkerhedsventil
Sikkerhedsventilen er beregnet til automatisk udledning
af luft, hvis lufttrykket i tanken overstiger det forindstillede maksimum.
BEMÄERK: när luftslangen tilsluttes eller aftages af beholderen.
BETJENING
BATTERI (sælges separat)
VIGTIGT! Batteripakken er ikke opladt när den købes. Før første ibrugtagning af luftkompressoren, skal batteripakken sættes i opladeren og oplades. Læs alle sikkerhedsforholdsregler og følg vejledningerne i afsnittet Oplader. (sælges separat)
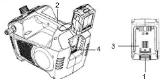
Montering (Se Figur 2.)
-
Ret batteripakkens tunge (3) ind efter hulrummet på (4) luftkompressoren.(sælges separat)
-
Hold luftkompressoren (2) med et fast greb.
-
Skub batteripakken ind på håndtaget indtil smæklåsen låser på plads.(sælges separat)
-
Tving den ikke när batteripakken påsættes. Den skal glide på plads og "klikke".(sælges separat)
Afmontering (Se Figur 2.)
- Tryk på knappen til smæklåsen (1) på batteripakken ned og hold den nede.(sælges separat)
- Hold luftkompressoren (2) i et fast greb, og træk batteripakken ud af holderen.(sælges separat)
Bemærk: kontroller at batteripakken sidder tæt fast på håndtaget for at undgå at den falder af ved et uheld. Det kan være nødvendigt at bruge kraft for at udtage den.(sælges separat)
Fig. 4

- Udskift batteripakken eller opladeren omgående hvis batteriholderen eller opladerledningen er beskadiget. (sælges separat)
- Kontroller at kontakten er i den slukkede position (OFF) før du påsætter eller aftager batteripakken.(sælges separat)
- Kontroller at battenpakken er årlaget og at kontakten i den slukkede position (OFF) før kontrol, justering eller vedligeholdelse på enhver del af blæseren.
- Læs, forstå og følg vejledningerne i afsnittet kaldet Opladningsprocedure.
OPSTART
- Før hver opstart, kontroller at afbryderen er i den slukkede position (OFF).
- Placer luftkompressoren på en flad, lige overflade.
- Luk trykket ud af systemet. Draen fugt fra luftbeholderen ved langsomt at åbne luftbeholderens aftapningsventil, ved at dreje den med uret. Så snart fugten er aftappet, skal fittingen lukkes.
BEMÆRK: luftbeholderen sættes ikke under tryk när aftapningsventilen er åben. - Drej trykregulatoren hele vejen mod uret for at lukke for luftstrømmen fra udluftningsporten.
- Påsæt luftslange og tilbehør.
ADVARSEL
For højt lufttryk giver alvorlig risiko for at beholderen sprængos. Tjek fabrikantens maksimale driftstryk for luftværktøj og tilbehør. Regulator udgangstrykket må aldrig overstige det maksimale driftstryk.
- Sæt batteripakken sikkert ind i luftkompressoren. (saalges separat)
- Tænd for kompressoren ved at flytte kontakten til positionen AUTO/ON og lad beholderen opbygge trykket. Så snart lufttrykket när del maksimale forudindstillede driftstryk ("udkoblingstryk") slår den automatisk fra.
- Drej langsomt trykregulatoren med uret for at åbne for luftstrømmen fra udluftningsporten, indtil det ønskede udgangstryk opnås.

Undlad at demontere contraventil, tankaftapningsventiler eller sikkerhedsaflastningsventil, så længe der er luft i tanken - afluft i stedet tanken. Manglende dekomprimering af tanken kan medføre eksplosion og/eller alvorlige personskader.
DanskDansk
ADVARSEL
Man må på intet tidspunkt forfaide til uforsigtighed under arbejdel, blot fordi man føler sig fortrolig med vaarklojet. Glem aldrig, at man blot skal være uopmærksom en brøkdel af et sekund for at komme alvorligt til skade.
ADVARSEL
Brug altid øjenvæm med sideskjokde. Hvis denne regel ikke overholdes, kan man få slynget fremmedlegemer i øjnene og komme alvorligt til skade eller komme til skade på anden måde.
ADVARSEL
Dette udstyr indeholder dele, som fx fjederkontakter, stikkontakter og lign., der har tendens til at generere lysbuer eller gnister, og når de bruges på et værksted, skal dette derfor ske i et rum eller en indkapsling beregnet til formålet - eller det skal ske 460 mm eller mere over gulvniiveau.
ADVARSEL
Undlad at montere værktøjer til slangens åbne ende, så længde opstartsfasen ikke er afsluttet. For hurtig tilslutning af et værktøj kan medføre tilfældig operation og dermed alvorlige personskader.
WER OPMAERKSOM
Må ikke bruges i et miljø, der er støvet eller på anden måde forurenet. Brug af luftstationen i denne type miljø kan beskadige enheden.
ANVENDELSER
Luftstationer bruges til en lang række forskellige luftsystem-anvendelser. Sørg for, at slanger, stikforbindelser, luftværktøjer og tilbehør svarer til luftstationens mærkedata.
Man kan bruge dette produkt til nedenstående anvendelsesformål:
- betjening af visse luftdrevne værktøjer
- betjening af lufttilbehør som fx luftdyser og luftpumper
- driver visse luftdrevne malersprøjteprodukter
AUTO/SLUK
Stil hovedafbryderen i pos.Auto (I) for at taende stationen. Man slukker for luftstationen ved at stille hovedafbryderen i pos Off (O).
BEMÆRK: Når stationen er i pos.Auto (I), vil luftstationen automatisk starte igen, så snart tankens lufttryk er faldet under den forindstillede trykgrænse. Den vil også frakoble igen, när det maksimale tryk er nået.
RESETTING (NULSTILLING) AF LUFTSTATIONEN
Nar den tilførte strømstyrke til luftstationen overskrider den specificerede strømstyrke, vil luftstationen automatisk udkoble.
-
Sluk for luftstationen.
-
Så den får tid til at køle af og udløse reset (nulstilling). BEMÆRK: Hvis overbelastningsbeskytleren aktiveres, skal man lade motoren køle af i 30 minutter.
-
Taend for luftstationen
ADVARSEL
Overskrid aldrig værktøjets tryknormering iht. producentens anbefalinger. Når man bruger denne luftstation som en oppumpningsanordning, skal man altid følge retningslinjerne for maksimal oppumpning fra producenten til den genstand, der oppumpes.
ADVARSEL
Kontrollèr altid, at afbryderen er i pos.OFF (=slukket) (O), og at regulatorens manometer viser nul bar, inden der skiftes værktajer, eller inden slangen kobles fra luftudgangen. Manglende overholdelse af denne anvisning kan medføre alvorlige personskader!
TILSLUTNING/FRAKOBLING AF SLANGER TIL/FRA LUFTSTATIONEN
Når der tilsluttes en pneumatisk sømpistol eller andre luftværktøjer, skal man altid følge producentens anbefalede opstartsprocedure. Når der tilsluttes/frakobles en slange til/fra luftstationen, skal man altid gøre som følger.
- Kontroller, at tænd/sluk-kontakten er i pos. Off (O).
-
Kontroller, at udgangstrykket er nul bar, när regulatorknappen er drejet helt om mod uret, så lufttrykket ved udgangen er reduceret fuldstændigt BEMÆRK: Når knappen drejes med uret, øges lufttrykket ved udgangen. Når den drejes mod uret reduceres lufttrykket ved udgangen.
-
Tilslut køleluftslangen til koblingen i siden af luftstationen.
-
Stil hovedafbryderen i pos.Auto (1).
-
Vent, til enheden har näet max tryk ifølge tankens manometer.
-
Indstil regulatoren til det ønskede tryk ved at dreje på trykregulatorknappen. Regulatortrykket vises på manometret mærket som udgang.
Sådan frakobles en spiralluftslange:
-
Kontroller, at udgangstrykket er hull bar.
-
Ved frakobling af en slange fra lynkoblingen, skal man altid holde godt fast i enden af slangen.
-
Træk tilbage i udløsermuffen på lynkoblingen.
-
Med et fast greb trækker man ud i den lynforbindelsesluftfitting, som der fastgjort til lynkoblingen.
-
Tilslutning eller afmontering af pneumatiske værktøjer fra luftstationen.
BEMÆRK: Hvert værktøj er forskelligt. Se brugsanvisningen fra producenten inden betjening af et værktøj siddende position.
ADVARSEL
Risiko for sprængning. Undlad at justere regulatoren, så der opnas et udgangstryk, der er større end det markerede max-tryk for tilbeheret og/eller den enhed, der oppumpes. Brug aldrig et tryk højere end 6.9bar. Manglende overholdelse af denne anvisning kan evt. medføre alvorlige personskader!
ADVARSEL
Luftdrevne værktajer kan kræve et større luftforbrug, end denne luftstation er i stand til at levere. Kontrollér manuelt værktajet for at undgå skader på samme eller fare for personskader.
-
Tilslutning af slanger til luftstationen.
-
Kontroller mængden af luftflow med
trykregulatorknappen
BEMÆRK: Brug altid det mindst påkrævede tryk til det pågældende anvendelsesformål. Brug af højere tryk end nødvendigt vil tømme tanken for luft hurtigere og udløse hyppigere cyklusser i enheden.
- Herefter skal man altid huske at tømme tanken
T∅MNING AF TANKEN
-
For at forebygge korrosion af tanken og holde den anvendte luft fri for fugt bør man tømme stationens tank hver dag.
-
Sluk for luftstationen.
-
Træk i ringen på sikkerhedsventilen for at frigive luft, indtil manometret viser mindre end 1,4 bar.
-
Slip ringen.
-
Rotér aflapningsventileme mod uret, så de åbner - som vist i slukningssektionen af lynreferencemærkaten.
-
Vip tanken for at udtømme fugt fra tanken ned i en passende beholder.
BEMÆRK: Kondensat er et forurenende materiale og skal bortskaffes i henhold til gældende (milia)regler.
- Hvis aftapningsventilen sætter sig fast, aflaster man all tryk, fjerner og renser ventilen, og genmonterer den.
ADVARSEL
Træk luftstationen ud af stikkontakten, og tøm tanken for luft inden eftersyn. Manglende dekomprimering af tanken inden afmontering af ventilen kan forårsage alvorlige personskader.
- Rotér aftapningsventilen med uret, til den er lukket helt til.
KONTROL AF SIKKERHEDSVENTILEN
FARE
Undlad at pille ved sikkerhedsventilen. Enhver del, der har løsnet sig fra dette produkt, kan flyve op og ramme dig. Manglende iagttagalse af denne anvisning kan medføre dødsfald eller alvortlige personskader.
Sikkerhedsventilen vil automatisk udlede luft, hvis lufttrykket i tanken overstiger del forindstillede maksimum. Ventilen bør kontrolleres dagligt inden ibrugtagning ved at trække i ringen med hånden.
-
Tænd for luftstationen, og vent til tanken er fyldt. Stationen frakobler, när trykket när det forindstillede maksimum.
-
Sluk for luftstationen.
-
Træk i ringen på sikkerhedsventilen for at frigive luft i tre til fem sekunder, så trykluften siver ud. Slip ringen. Sikkerhedsaflastningsventilen skal resettes og holde trykket, inden al trykluften er lukket ud af tanken/trykbeholderen.
-
Enhver form for kontinuerligt lufttab efter udførelse af ovenstående trin indikerer et problem med sikkerhedsventilen. Indstil brugen, og udfør eftersyn/service, inden luftstationen tages i brug igen.
DanskDansk
ADVARSEL
Hvis der lækker luft, efter at ringen er blevet udløst, eller hvis ventilen har sat sig fast og ikke kan aktiveres af ringen, må luftstationen ikke bruges, før ventilen er blevet udskiftes. Brug af luftstationen i denne tilstand kan medføre alvorlige personskader.
ADVARSEL
I forbindelse med servicearbejde må der kun bruges originale reservedele. Brug af alternative dele kan forårsage farlige situationer eller ødelægge produktet.
ADVARSEL
Brug altid øjenvæm under udførelse af vedligeholdelsesarbejde. Hvis der ophvirvles støv under arbejdet, bæres også støvmaske.
ADVARSEL
Inden der foretages rengøring eller reparation på luftstationen, afbryde strømforsyningen og lade enheden køle ned, til den er håndvarn.
GENEREL VEDLIGEHOLDELSE
Undåg brug af oplesningsmidler til rengøring af plastödele. De fleste plastdele tåler ikke forskellige terper kommercielle oplesningsmidler og risikerer at blive ødelagt af disse. Fjern snavs, støv, olie, smørefedt osv. med en ren klud. Enhner form for kontinuerligt lufttab efter udførelse af ovenstående trin indikerer et problem med sikkerhodsventilen. Indstil brugen, og udfør eftarsyn/service, inden luftstationen tages i brug igen. Hvis der lækker luft, efter at ringen er blevet udlast, eller hvis ventilen har sat sig fast og ikke kan aktiveres af ringen, må luftstationen ikke bruges, før ventilen er blevet udskiftes. Brug af luftstationen i denne tilstand kan medføre alvorlige personskader.
ADVARSEL
Plastelementerne må ärdig komme i berøring med brønsevæske, benzin, olle- eller petroloumsbasørende produkter, nuttløsnende olle o. lign. Kemikalier kan beskadige, blødgøre eller edelægge plast, hvilket kan medføre aivlig personskade. Elektriske værktajør, som bruges på glasfliber, gjpsplader og beklædningsplader har tendens til at blive slidt hurtigen og få flere driftsproblemer. Spåner og savsmuid fra dis materialer har nemlig en kraftig slibevirkning på det elektriske værktjojs dele, f.eks. tandhjulsforbindelser, kulkontakter, omsklifterø osv. Derfor kan vi ikke anbefale brug af dette produkt til længerevarande arbejde med disse materialetypar. Men Ihvis der skal slibes denne type materialer, er det yderst vigtligt lat rense produktet med trykluft.
SM∅RING
Alle lejerne i dette produkt er smurt for produktets levelid under normale driftsbetingelser med en tilstrækkelig mængde højkvalitetssmøremiddel. Det er derfor ikke nødvendigt med yderligere smøring.
MILJ∅BESKYTTELSE

Rämaterialerne skal genvindes og ikke bortkastes med almindeligt affald. Af hensyn til miljøet skal redskab, tilbehør og emballage sorteres.
SYMBOLER
| SYMBOLER | |
| Sikkerheds Varsel | |
| CE Overensstemmelse | |
| Læs venligst vejledningen omhyggeligt inden start af produktet. | |
| Benyt hørevæm | |
| Brug altid øjenvæm. | |
| Brug altid øjenvæm. | |
| Fare for personskade. Undlad at rette luftstrømmen mod kroppen. | |
| Fare for brand eller eksplosion. | |
| Risiko for sprængning. | |
| For at reducere faren for elektrisk stød må produktet ikke udsettes for regn. Opbevares indenders. | |
| Risiko for elektrisk stød. Farlig spænding. | |
| Varm overflade: Risiko for forbraending - må ikke berøres! | |
| Fjørnstart: Enhedun er fjørnstyrøt og kan starte uden varsel. | |
| Elektriske affaldprodukter bør ikke afskaffes sammen med husholdningsaffald. Genbrug venligst hvor facilitateme tillader dette. Tjek med din lokale kommune eller forhandler for genbrugsråd. |
NemManual