Mobilpack 2 - Compresseur d'air Aerotec - Notice d'utilisation et mode d'emploi gratuit
Retrouvez gratuitement la notice de l'appareil Mobilpack 2 Aerotec au format PDF.
| Caractéristiques Techniques | Non spécifiées |
|---|---|
| Utilisation | Non spécifiée |
| Maintenance et Réparation | Non spécifiée |
| Sécurité | Non spécifiée |
| Informations Générales | Non spécifiées |
FOIRE AUX QUESTIONS - Mobilpack 2 Aerotec
Questions des utilisateurs sur Mobilpack 2 Aerotec
0 question sur cet appareil. Repondez a celles que vous connaissez ou posez la votre.
Poser une nouvelle question sur cet appareil
Téléchargez la notice de votre Compresseur d'air au format PDF gratuitement ! Retrouvez votre notice Mobilpack 2 - Aerotec et reprennez votre appareil électronique en main. Sur cette page sont publiés tous les documents nécessaires à l'utilisation de votre appareil Mobilpack 2 de la marque Aerotec.
MODE D'EMPLOI Mobilpack 2 Aerotec
Lisez et comprenez les étiquettes apposées sur l'outil ainsi que le manuel. Si vous ne dépressurisez pas le réservoir, une explosion pourrait se produire et/ou vous risqueriez de graves blessures.
Conservez ces instructions.
- SÉCURITÉ DE L'ENVIRONNEMENT DE TRAVAIL
a. Gardez l'espace de travail propre et bien éclairé.
Les établis et les zones de travail encombrés sont aux accidents. Le sol ne doit pas être glissant à cause de cire ou de poussières.
b. N'utilisez pas d'outil électrique en atmosphère explosive, comme en présence de liquides inflammables, de gaz ou de poussières. Les appareils électriques produisent des étincelles susceptibles d'enflammer poussières et vapeurs.
c. Gardez les passants, enfants et visiteurs à distance lorsque vous utilisez des outils.
d. Les appareils électriques produisent des étincelles susceptibles d'enflammer poussières et vapeurs. Gardez les passants, enfants et visiteurs à distance lorsque vous utilisez des outils. Les distractions peuvent entraîner une perte de contrôle.
e. Utilisez le compresseur dans un espace ouvert à au moins 600 mm de distance de tout mur ou objet susceptible de réduire le flux d'air frais vers les ouïes de ventilation.
2. SÉCURITÉ ÉLECTRIQUE
a. Evitez que votre corps entre en contact avec des surfaces reliées à la terre telles que tuyaux,
radiateurs, cuisinières et réfrigérateurs. Le risque de décharge électrique est accru si votre corps est électriquement relié à la terre.
b. N'exposez pas les outils électriques à la pluie ou à des conditions humides. La pénétration d'eau dans un outil électrique augmente le risque de décharge électrique.
c. Ne maltraitez pas le câble d'alimentation. N'utilisez jamais le câble pour transporter l'outil ou pour le débrancher du secteur. Tenez le câble secteur éloigné de la chaleur, de l'huile, des bords coupants ou des pièces en mouvement. Remplacez immédiatement tout câble endommagé. Un câble d'alimentation endommagé augmente les risques de choc électrique.
d. Lorsque vous utilisez un outil électrique en extérieur, utilisez une rallonge marquée "WA" ou "W". Ces rallonges sont conçues pour être utilisées à l'extérieur et réduisent les risques de décharges électriques.
3. SÉCURITÉ PERSONNELLE
a. Utilisez des équipements de sécurité. Portez toujours une protection oculaire. Un masque anti-poussières, des chaussures de sécurité antidérapantes, un casque de chantier, ou une protection auditive doivent être utilisés lorsque les conditions l'exigent.
b. Portez toujours des lunettes de sécurité avec écrans de protection latéraux, ainsi qu'une protection auditive. Le non-respect de cette consigne peut entraîner la projection de corps étrangers dans vos yeux entre autres risques de blessures graves.
c. L'employeur et/ou l'utilisateur doivent s'assurer qu'une protection oculaire adéquate est utilisée.
d. Nous recommandons le port d'un masque de sécurité à vision large par dessus des lunettes de vue ou le port de lunettes de sécurité standard qui procurent une protection à la fois frontale et latérale contre la projection de particules.
e. Assurez-vous de la compatibilité des accessoires avant de les utiliser.
f. Lisez et comprenez le manuel d'utilisation de tout accessoire avant de l'utiliser.
g. Des protections de sécurité supplémentaires
FrançaisFrançais
peuvent être nécessaires dans certains environnements. Par exemple, la zone de travail peut avoir un niveau sonore susceptible d'entraîner des pertes d'audition. L'employeur et l'utilisateur doivent s'assurer que toutes les protections auditives sont disponibles et utilisées par l'opérateur ainsi que par les personnes présentes dans l'espace de travail. Certains environnement imposent le port d'un casque de chantier.
h. Restez attentif, prenez garde à ce que vous faites, et faites et faites preuve de bon sens lorsque vous utilisez un outil. N'utilisez pas d'outils lorsque vous êtes sous l'influence de la drogue, de l'alcool ou de médicaments. Un moment d'attention lors de l'utilisation d'un outil électrique suffit à provoquer de graves blessures.
- Habillez-vous correctement. Ne portez pas de vêtements ou de bijoux amples. Contenez les cheveux longs. Maintenez vos cheveux, vos vêtements et vos gants éloignés des parties en mouvement. Les vêtements et bijoux amples ainsi que les cheveux longs sont susceptibles d'être happés par les parties en mouvement.
j. Ne travaillez pas en extension. Gardez un bon appui et un bon équilibre en toute circonstance. Un bon appui et un bon équilibre permettent un meilleur contrôle de l'outil en cas d'imprévu.
k. Ne pas utiliser sur une échelle ou autre support instable. Un appui stable sur une surface solide permet un meilleur contrôle de l'outil en cas d'imprévu.
- UTILISATION ET ENTRETIEN DES OUTILS
a. N'excèdez pas la pression nominale admissible par tout composant du système.
b. Protégez les conduites d'air et de produits des perforations et autres dommages. Gardez le tuyau et le câble d'alimentation éloignés des objets pointus, des produits chimiques renversés, de l'huile, des solvants, et des sols humides.
c. Vérifiez les éventuelles fuites ou usures des tuyaux avant chaque utilisation, en vous assurant que tous les raccords sont bien serrés. Ne l'utilisez pas en cas de défaut.
d. Achetez un nouveau tuyau ou contactez un service après-vente agréé pour examen ou réparation.
e. Relâchez lentement toutes les pressions du système. La poussière et les débris peuvent être nocifs.
f. Rangez les outils inutilisés hors de portée des enfants et des autres personnes non expérimentées. Les outils sont dangereux entre des mains inexpérimentées.
g. Entretenez soigneusement les outils. Suivez les instructions d'entretien. Les outils bien entretenus sont plus facile à contrôler.
h. Vérifiez que les pièces en mouvement sont bien alignées et non déformées, qu'aucune pièce n'est cassée, et qu'aucun autre problème n'est susceptible d'affecter le bon fonctionnement de l'outil. En cas de dommage, faites réparer l'outil avant de l'utiliser.
i. Beaucoup d'accidents sont dus à des outils mal entretenus.
j. Ne faites jamais pointer un outil vers vous ou vers d'autres personnes.
k. Gardez l'extérieur du compresseur sec, propre, et exempt d'huile et de graisse. Utilisez toujours un chiffon propre pour le nettoyer. N'utilisez jamais de liquide de frein, d'essence, de produits à base de pétrole ou de solvant puissant pour nettoyer l'appareil. Le respect de cette règle réduit les risques de détérioration du boîtier plastique.
- RÉPARATIONS
a. Les réparations sur les outils ne doivent confiées qu'à un réparateur qualifié. L'entretien et les réparations effectuées par du personnel non qualifié peuvent entraîner des blessures.
b. Débranchez l'alimentation électrique, ouvrez le robinet de purge pour décompresser le réservoir et laissez l'eau s'écouler, puis laissez le compresseur devenir froid au toucher avant toute opération d'entretien. Tournez le bouton du régulateur de pression à fond dans le sens inverse des aiguilles d'une montre après avoir arrêté le compresseur.
c. N'effectuez les réparations qu'en utilisant des pièces détachées identiques. Suivez les instructions du chapitre Entretien de ce manuel. L'utilisation de pièces détachées non agréées ou le non-respect des instructions d'entretien entraînent des risques de blessures.
RÈGLES PARTICULIÈRES DE SÉCURITÉ
-
Apprenez à connaître votre compresseur. Lisez attentivement le manuel utilisateur. Prenez connaissance des applications et des limitations de l'appareil ainsi que des risques potentiels spécifiques qui lui sont attachés. Vous réduirez ainsi les risques de ses électives, discendie que de blosque roues
-
Purgez le réservoir de son humidité tous les jours après utilisation. Si l'appareil ne doit pas être utilisé pendant un certain temps, il est préférable de laisser le robinet de purge ouvert jusqu'à la prochaine utilisation. Ceci permettra à l'humidité d'être complètement
purgée et évitera que de la corrosion ne se forme à l'intérieur du réservoir.
-
Risque d'incendie ou d'explosion. Ne pulvérissez pas de liquides inflammables dans un espace confiné. L'environnement de pulvérisation doit être bien ventilé. Ne fumez pas lorsque vous pulvérissez na pulvérissez pas en présence de flammes ou d'étinelles. Gardez les compresseurs aussi éloignés que possible de la zone de pulvérisation, au moins à 4.6 m de distance de la zone de pulvérisation et de toute vapeur explosive.
-
Risque d'éclatement. Ne changez pas le réglage du régulateur dans le but d'obtenir une pression supérieure à la pression maximale indiquée sur l'accessoire ou sur l'élément à gonfler. N'utilisez jamais de pression supérieure à 9.3 bars.
-
Vérifiez régulièrement la pression à l'aide d'un manomètre lorsque vous gonflez un objet.
-
La machine doit être alimentée par l'intermédiaire d'un dispositif de protection (fusible ou disjoncteur). Le dispositif de protection doit être calibré à un courant de 20 A, et l'utilisateur doit procéder aux tests nécessaires selon la clause 18.2.2 de EN 60204-1:2006 afin de vérifier son bon fonctionnement.
-
Pour réduire le risque de décharge électrique, n'exposez pas la machine à la pluie (eau) ou à la poussière; Rangez-le à l'intérieur.
-
Vérifiez le réservoir tous les ans à la recherche de rouille, de piquères, ou autres imperfections susceptibles d'en altérer la sécurité. Ne percez jamais le réservoir et ne le soudez pas.
-
Assurez-vous que le tuyau n'est ni bouché ni accroché. Les tuyaux emmêlés peuvent entraîner une perte d'équilibre ou d'appui et s'endommager.
-
N'utilisez le compresseur que dans le cadre de son utilisation prévue. N'altérez pas et ne modifiez pas l'appareil par rapport à sa conception ou à ses fonctionnalités d'origine.
-
Soyez toujours conscient qu'une mauvaise utilisation ainsi qu'une mauvaise manipulation de cet outil peuvent causer des blessures à vous et aux autres.
-
Ne marchez jamais et ne vous tenez jamais sur le siège de travail. Vous réduirez ainsi les risques de blessures graves.
-
Ne laissez jamais un outil sans surveillance lorsqu'il est raccordé au tuyau spirale.
-
N'utilisez pas cet outil s'il ne comporte pas d'étiquette d'avertissement lisible.
-
Ne continuez pas d'utiliser un outil ou un tuyau qui fuit ou qui ne fonctionne pas de façon correcte.
-
Débranchez toujours l'alimentation en air comprimé et l'alimentation électrique avant d'effectuer des réglages, d'entretenir un outil, ou lorsqu'un outil n'est pas utilisé.
-
Ne tentez pas de tirer ou de transporter le compresseur par le tuyau.
-
Votre outil est susceptible de consommer plus d'air comprimé que ce compresseur ne peut fournir.
-
Respectez toujours toutes les règles de sécurité recommandées par le fabricant de votre outil pneumatique, en plus de toutes les règles de sécurité du compresseur. Vous réduirez ainsi les risques de blessures graves.
-
Ne dirigez jamais un jet d'air comprimé directement vers des personnes ou des animaux. Prenez garde de ne pas souffler de la poussière et des saletés dans votre direction ou en direction d'autres personnes. Le respect de cette règle réduit les risques de blessures graves.
-
N'utilisez pas ce compresseur pour pulvériser des produits chimiques. Vos poumons peuvent être endommagés par l'inhalation d'émanations toxiques. Un respirateur peut être nécessaire en environnement poussièreux ou lorsque vous pulvérissez de la peinture. Ne le transportez pas lorsque vous êtes en train de peindre.
-
Vérifiez périodiquement le câble d'alimentation des outils et faites-le remplacer par un service après-vente agréé en cas de dommage. Veillez à toujours savoir où se trouve le cordon. Vous réduirez ainsi les risques de choc électrique.
-
N'utilisez jamais d'adaptateur électrique avec cette fiche équipée de la terre.
-
Vérifiez qu'aucune pièce n'est endommagée. Avant de continuer à utiliser le compresseur ou un outil pneumatique, toute pièce ou protection endommagée doit être soigneusement vérifiée afin de s'assurer qu'elle peut fonctionner correctement et remplir sa fonction initiale.
-
Vérifiez que les pièces en mouvement sont bien alignées et non tordues, qu'aucune pièce n'est cassée ou mal montée, et qu'aucun autre problème n'est susceptible affecter le bon fonctionnement de l'appareil. Un protège-lame ou toute autre pièce endommagé doit être réparé ou remplacé par un Centre Service Agréé Ryobi. Vous réduirez ainsi les risques d'incendie, de choc électrique et de blessures graves.
-
Assurez-vous que votre rallonge électrique est en bon état. Si vous utilisez une rallonge électrique, assurez-vous qu'elle est capable de véhiculer le
FrançaisFrançais
courant requis par votre appareil. Une section de conducteur d'au moins 1 mm2 est recommandée pour les rallonges n'excédant pas 7,6 m de longueur. L'utilisation d'une rallonge de plus de 15 m n'est pas recommandée. En cas de doute, utilisez la section immédiatement supérieure. Plus le chiffre du calibre est petit, plus la section du câble est importante. Une rallonge sous-dimensionnée provoquera une chute de tension, entraînant une perte de puissance et une surchauffe.
-
Cet équipement comprend des éléments tels que des interrupteurs rapides, des lames contact, et autres éléments qui ont tendance à produire des arcs électriques ou des étincelles et qui, de ce fait, font que si vous l'utilisez dans un garage, vous devez le placer dans une pièce ou dans une enceinte prévue à cet effet, ou que vous devez le surélever d'au moins 460 mm par rapport au sol.
-
Ne rangez jamais un outil alimenté en air. Le stockage de l'outil avec l'air raccordé peut entraîner un déclenchement non prévu et de possibles blessures graves.
-
Protégez vos poumons. Portez un écran facial ou un masque anti-poussière si le travail génère de la poussière. Vous réduirez ainsi les risques de blessures graves.
-
N'utilisez pas les tuyaux spiralés au-delà de leur pression nominale admissible. Vous réduirez ainsi les risques de blessures graves.
-
Si le câble d'alimentation est endommagé, il ne doit être remplacé que par le fabricant ou par un service après-vente agréé, pour éviter tout danger
-
Conservez ces instructions. Reportez-vous y fréquemment et utilisez-le pour renseigner les autres utilisateurs susceptibles d'utiliser cet outil. Si vous prêtez cet outil à quelqu'un, prêtez-lui également ce manuel.
-
Utilisez la machine en faisant face à son panneau de contrôle.
-
Lorsque la machine est en fonctionnement, un grand nombre de ses éléments atteint une haute température. Utilisez les équipements de protection personnelle nécessaires tels que des gants afin d'éviter toute blessure due aux hautes températures.
CARACTÉRISTIQUES
| Capacité du réservoir d'air | 2 L |
| Sortie d'air | 40 L/min |
| Pression d'air | 6,9 bars maxi |
| Manomètre de pression de réservoir | 40 mm de diamètre |
| Manomètre de pression régulée | 40 mm de diamètre |
| Poids net | 6,5 kg |
| Environnement de travail | +5~40 °C |
| Humidité | < 50 % |
| Altitude | ≤ 1000 m |
| Environnement de stockage | -25~+55 °C |
| Courant nominal | 10 A |
| Régime moteur | 4600 tr/min |
APPRENEZ À CONNAÎTRE VOTRE COMPRESSEUR
L'utilisation en toute sécurité de ce produit nécessite de bien comprendre les informations apposées sur le produit et présentes dans ce manuel utilisateur, ainsi que le travail à effectuer. Avant d'utiliser cet outil, familiarisez-vous avec toutes ses fonctionnalités et ses spécificités sur le plan de la sécurité.
Poignée de transport
Le compresseur est équipé d'une poignée en facilitant le transport.
Vanne de purge
La vanne de purge sur le réservoir est pour écouler la condensation pour aider à prévenir la corrosion dans le réservoir.
Pompe à fonctionnement sans-huile
La pompe à fonctionnement sans huile réduit les opérations d'entretien.
Bouton du régulateur de pression
Utilisez le bouton du régulateur de pression pour régler la quantité d'air délivrée par le tuyau. En appuyant sur le bouton vous le verrouillerez en place. Ceci empêche tout mouvement du bouton dû aux vibrations en cours d'utilisation.
Soupape de sécurité
La soupape de sécurité est destinée à relâcher automatiquement l'air si la pression du réservoir dépasse la pression maximale préréglée.
Manomètre de pression de réservoir
Le manomètre de pression de réservoir indique la pression présente dans le réservoir.
Stockage verticale
Le compresseur d'air a été conçu à ranger en sécurité dans la position horizontale ou verticale.
UTILISATION
BRANCHEMENT DU TUYAU D'AIR A COMPRESSEUR
- En utilisant votre main gauche, poussez la connexion rapide vers le corps du compresseur.
- Poussez firmament et installez la partie de connexion rapide mâle sur le tuyau d'air dans la connexion rapide femelle et déclenchez en place le tuyau verrouillage de la connexion rapide femelle.

text_image
Fig. 2 TUYAU DE RECULNOTE: Pendant la connexion ou déconnexion du tuyau d'air, retirez l'air du réservoir.
UTILISATION
BATTERIE (vendu séparément)
IMPORTANT! L'ensemble de batteries n'est pas charge quand il est acheté. Avant d'utiliser le compresseur d'air pour la première fois, installez l'ensemble de batterie dans le chargeur de batterie et le chargez. Assurez-vous de lire toutes les précautions de sécurité, et suivez les instructions dans la section de Chargeur de Batterie. (Vendu séparément)
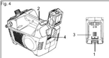
A installer (Voir Figure 2)
- Alignez la languette (3) de l'ensemble de batteries avec la cavité (4) dans le boîtier de compresseur d'air. (Vendu séparément)
- Saisissez fermement le compresseur d'air (2).
- Poussez l'ensemble de batteries dans la poignée jusqu'à ce que le loquet de dégagement verrouille en place. (Vendu séparément)
- N'appliquez pas force pendant l'insertion d'ensemble de batteries. On doit le glisser dans la position et entendre un déclic. (Vendu séparément)
A retirer (Voir Figure 2)
- Appuyez sans relâcher sur le bouton de verrouillage (1) sur l'ensemble de batteries. (Vendu séparément)
- Saisissez fermement le compresseur d'air (2), et tirez l'ensemble de batteries en d'hors du boîtier. (Vendu séparément)
NOTE : L'ensemble de batteries s'emboîte parfaitement afin de prévenir délogement accidentel. Cela peut demander un tirage fort pour retirer. (Vendu séparément)

text_image
Fig. 4 2 4 3 1AVERTISSEMENT
- Remplacez l'ensemble de batteries or le chargeur immédiatement si le boîtier de batterie ou le cordon de chargeur est endommagé. (Vendu séparément)
- Veriniz que l'interrupteur soit en position OPP avant d'insertion ou de retirage de l'ensemble de batteries. (Vendu séparément)
- Vérifiez que l'ensemble de batteries soit retirée est l'interrupteur soit en position OFF avant d'inspection, réglage ou réaliser tout entretien sur toute partie de souffleur.
- Lisez, comprenez et suivez les instructions contenues dans la section intitulée « Procédure de chargement ».
DEMARRAGE
- Avant de chaque démarrage, assurez-vous que l'interrupteur de puissance soit en position OFF.
- Placez le compresseur d'air sur une surface plane.
- Déchargez la pression du système. Evacuez l'humidité du réservoir d'air en ouvrant lentement la vanne de purge du réservoir d'air en le tournant dans le sens des aiguilles. Une fois toute l'humidité est évacuée, fermez le raccord soigneusement.
NOTE : Le réservoir d'air ne pressurise pas quand la vanne de purge est ouverte. - Tournez la poignée de régulateur de pression complètement contre le sens des aiguilles à fermer l'écoulement d'air de l'orifice de sortie d'air.
- Attachez le tuyau d'air et les accessoires.
FrançaisFrançais
AVERTISSEMENT
Trop de pression d'air cause un risque dangereux d'éclatement. Contrôlez la pression nominale maximaie du constructeur pour les outils et accessoires d'air. La pression sortie de régulateur ne jamais dépasse la pression nominale maximale.
- Insérez soigneusement l'ensemble de batteries à l'compresseur d'air. (Vendu séparément)
- Mettez le compresseur à la position ON en déplaçant l'interrupteur à la position AUTO/ ON et laissez développer la pression de réservoir. Une fois la pression d'air arrive à la pression préréglée maximale (« pression de déclenchement ») il s'arrête automatiquement.
- Toumez lentement la poignée de régulateur de pression vers le sens des aiguilles pour ouvrir l'écoulement d'air de l'onifice sortie d'air jusqu'à ce que la pression sortie désirée soit arrivée.

text_image
Fig. 5 OUVREZ RESERVOIR D'AIR MANOMETRE SORTIE D'OUTIL MANOMETRENOTE : Le compresseur d'air redémarre automatiquement une fois la pression dans le réservoir d'air tombe sous la pression préréglée minimale (« pression d'enclenchement »).
DANGER
Ne démontez pas la soupape anti-retour, le robinet de purge du réservoir ou la soupape de décompression de sécurité s'il reste de l'air dans le réservoir — vidangez le réservoir. Si vous ne dépressurisez pas le réservoir, une explosion pourrait se produire et/ou vous risqueriez de graves blessures.
AVERTISSEMENT
Ne laissez pas l'habitude de l'utilisation des outils amoindrir votre vigilance. N'oubliez jamais qu'il suffit d'une seconde d'inattention pour vous blesser gravement.
AVERTISSEMENT
Ne démontez pas la soupape anti-retour, le robinet de purge du réservoir ou la soupape de décompression de sécurité s'il reste de l'air dans le réservoir — vidangez le réservoir. Si vous ne dépressurisez pas le réservoir, une explosion pourrait se produire et/ou vous risqueriez de graves blessures.
AVERTISSEMENT
Cet équipement comprend des éléments tels que des interrupteurs rapides, des lames contact, et autres éléments qui ont tendance à produire des arcs électriques ou des étincelles et qui, de ce fait, font que si vous l'utilisez dans un garage, vous devez le placer dans une pièce ou dans une enceinte prévue à cet effet, ou que vous devez le surélever d'au moins 460 mm par rapport au sol.
AVERTISSEMENT
Ne branchez aucun outil sur l'extrémité libre du tuyau tant que la procédure de démarrage n'est pas terminée. Le raccordement prématuré d'un outil peut entraîner un fonctionnement accidentel et entraîner de graves blessures.
AVERTISSEMENT
Ne pas utiliser en environnement poussiéreux ou contaminé. L'utilisation du compresseur dans ce type d'environnement risque de l'endommager.
APPLICATIONS
Les compresseurs sont utilisés pour des applications diverses utilisant de l'air comprimé. Utilisez des tuyaux, raccords, outils pneumatiques et accessoires adaptés à la capacité du compresseur.
Vous pouvez utiliser ce produit pour les applications suivantes:
- utilisation de certaine outils pneumatiques - utilisation d'accessoires à air comprimé teis que buses à air et gonfleurs
- utilisation de certains appareils de peinture alimentés en air comprimé
Pour déplacer le compresseur:
Assurez-vous que l'interrupteur marche/arret est en position arrêt (O) Saisissez fermement d'une main la poignée repliable. ARRÊT/AUTO
Toumez l'interrupteur d'alimentation pour le mettre en position auto (I) afin de mettre le compresseur en marche. NOTE: Pour arrêter le compresseur, tournez l'interrupteur d'alimentation pour le mettre en position d'arrêt (O).
NOTE: Lorsque le compresseur est en position auto (I), il
se remet automatiquement en marche lorsque la pression d'air de son réservoir descend en dessous de la limite basse de pression prérèglée. Il se coupera également à nouveau une fois la pression maximale atteinte.
REMISE À ZÉRO DU COMPRESSEUR
Lorsque le courant consommé par le compresseur dépasse la valeur spécifiée, le compresseur s'arrête automatiquement.
-
Coupez l'alimentation du compresseur.
-
Débranchez le compresseur pour lui permettre de refroidir.
NOTE: Si la protection anti-surcharge s'est déclenchée, il convient de laisser refroidir le moteur pendant 30 minutes.
- Branchez l'alimentation du compresseur.
AVERTISSEMENT
Ne dépassez jamais la pression nominale de l'outil telle que recommandée par le fabricant. Lorsque vous utilisez le compresseur en tant que gonfleur, respectez toujours le maximum de pression admissible indiqué par le fabricant de l'élément à gonfler.
AVERTISSEMENT
Assurez-vous toujours que l'interrupteur est en position d'amêt (O) et que le manomètre de pression régulée indique zéro avant de changer d'outil pneumatique ou de débrancher le tuyau de la sortie d'air comprimé. Le non respect de cet avertissement peut entraîner de graves blessures.
RACCORDEMENT/DÈBRANCHEMENT DES TUYAUX AU COMPRESSEUR
Lorsque vous raccordez une cloueuse ou un autre outil pneumatique, respectez toujours la procédure de démarrage recommandée par le fabricant.
Lorsque vous connectez/débranchez un tuyau sur le compresseur, procédez toujours comme suit.
-
Assurez-vous que l'interrupteur marche/arrêt est en position arrêt (O).
-
Assurez-vous que la pression en sortie de compresseur est à zéro bar en tournant le bouton du régulateur de pression complètement dans le sens inverse des aiguilles d'une montre, afin de totalement réduire la pression en sortie de compresseur.
NOTE: La pression en sortie augmente lorsque l'on tourne le bouton dans le sens des aiguilles d'une montre. La pression en sortie diminue lorsque l'on tourne le bouton dans le sens inverse des aiguilles d'une montre.
- Reliez le tuyau spiralé au raccord situé sur le compresseur.
- Tournez l'interrupteur d'alimentation en position auto (I).
- Laissez l'appareil atteindre la pression maxi indiquée sur le manomètre du réservoir.
- Réglez le régulateur à la pression désirée en en tournant le bouton. La pression du régulateur sera indiquée par le manomètre marqué comme correspondant à la sortie d'air.
- Assurez-vous que la pression en sortie de compresseur est à zéro bar.
- Lorsque vous débranchez un tuyau du raccord rapide de, maintenez toujours fermement l'extrémité du tuyau.
- Tirez sur la bague de déverrouillage du raccord rapide de.
- Tout en le maintenant fermement le raccord, tirez sur la buse du raccord relié au raccord rapide.
- Branchement et débranchement d'outils pneumatiques sur le compresseur. NOTE: Chaque outil est différent. Reportez-vous aux instructions du fabricant avant d'utiliser un outil en position assise.
Pour débrancher un tuyau d'air spiralé:
AVERTISSEMENT
Risque d'éclatement. Na changez pas le réglage du régulateur dans le but d'obtenir une pression supérieure à la pression maximale indiquée sur l'accessoire ou sur l'élément à gonfler. N'utilisez jamais de pression supérieure à 6,9 bars. Le non respect de cet avertissement est susceptible d'entraîner de graves blessures.
AVERTISSEMENT
Certains outils pneumatiques sont susceptibles de consommer plus d'air comprimé que ce compresseur ne peut fournir. Vérifiez le mode d'emploi de l'outil pour éviter de l'endommager ou de vous blesser
- Raccordement des tuyaux au compresseur.
- Contrôlez le flux d'air à l'aide du bouton du régulateur de pression.
NOTE: Utilisez toujours la pression minimale nécessaire à votre application. L'utilisation d'une pression plus élevée que nécessaire videra l'air du réservoir plus rapidement et entraînera une mise en marche de l'appareil plus fréquente. - Une fois terminé, purgez toujours le réservoir et débranchez toujours l'appareil.
FrançaisFrançais
PURGE DU RÉSERVOIR
- Pour aider à prévenir l'apparition de corrosion dans le réservoir et à garder l'air comprimé sec, le réservoir d'air de la station doit être purgé quotidiennement.
- Arrêtez le compresseur.
- Tirez sur la bague de la soupape de sécurité pour libérer de l'air jusqu'à ce que le manomètre affiche moins de 1.4 bars.
- Relâchez la bague.
- Tournez le robinet de purge dans le sens inverse des aiquilles d'une montre pour l'ouvrir.
- Inclinez le réservoir pour purger son humidité dans un récipient adapté.
NOTE: La condensation est un produit polluant et doit être jetée en respectant les règlements locaux.
- Si le robinet de purge est bouché, relâchez toute la pression d'air, retirez et netloyez le robinet, puis remontez-le.
AVERTISSEMENT
Arrêter le compresseur et relâchez tout l'air du réservoir avant de le réparer. Si vous ne dépressurisez pas le réservoir avant de tenter de démonter le robinet, vous risquez de graves blessures.
- Tournez le robinet de purge dans le sens des aiguilles d'une montre jusqu'à ce qu'il soit bien fermé.
VÉRIFICATION DE LA SOUPAPE DE SÉCURITÉ
DANGER
Ne lentez pas d'allérer la soupape de sécurité. Toute pièce desserrée de cet appareil peut se voir projetée et vous atteindre. Le non-respect de cet avertissement pourrait entraîner la mort ou de graves blessures.
La soupape de sécurité relâchera automatiquement l'air si la pression du réservoir dépasse la pression maximale préréglée. La soupape doit être vérifiée avant chaque journée d'utilisation en tirant à la main sur son anneau.
- Mettez le compresseur en marche et laissez le réservoir se remplir. Le compresseur s'arrêtera quand la pression atteindra le maximum préréglé.
- Coupez l'alimentation du compresseur.
-
Tirez sur la bague de la soupape de sécurité pendant trois à cinq seconde afin de libérer de l'air sous pression. Relâchez la bague. La valve de décharge de sécurité doit se remettre à zéro et tenir la pression avant que tout l'air comprimé se soit échappé du réservoir/de la cuve de pression.
-
Toute perle d'air continue après avoir suivi les étapes ci-dessus est le signe d'un problème au niveau de la soupape de sécurité. Arrêtez d'utiliser le compresseur et faites-le réparer avant de l'utiliser à nouveau.
AVERTISSEMENT
Si de l'air fuit une fois la bague retirée ou si la soupape est coincée et ne peut pas être contrôlée par la bague, n'utilisez pas le compresseur avant d'avoir remplacé la soupape de sécurité. L'utilisation du compresseur dans ces conditions peut entraîner de graves blessures.
AVERTISSEMENT
N'effectuez les réparations qu'en utilisant des pièces détachées identiques. L'utilisation de toute autre pièce est susceptible de présenter un danger ou d'endommager votre outil.
AVERTISSEMENT
Portez toujours une protection oculaire lors des opérations d'entretien. Si l'opération génère des poussières, portez également un masque antipoussières.
AVERTISSEMENT
Relâchez toujours toute la pression, et laissez l'appareil devenir froid au toucher avant de le nettoyer ou de le réparer.
TECHNICAL DATA
Evitez d'utiliser des solvants pour nettoyer les parties en plastique. La plupart des plastiques sont susceptibles d'être endommagés par différents types de solvants du commerce. Utilisez des chiffons propres pour retirer la saleté, les poussières, l'huile, la graisse, etc. Toute perte d'air continue après avoir suivi les étapes ci-dessus est le signe d'un problème au niveau de la soupape de sécurité. Arrêtez d'utiliser le compresseur et faites-le réparer avant de l'utiliser à nouveau. Si de l'air fuit une fois la bague retirée ou si la soupape est coincée et ne peut pas être contrôlée par la bague, n'utilisez pas le compresseur avant d'avoir remplacé la soupape de sécurité. L'utilisation du compresseur dans ces conditions peut entraîner de graves blessures.
AVERTISSEMENT
Les éléments en plastique ne doivent jamais entrer en contact avec du liquid e de frein, de l'essence, des produits à base de pétrole, des huiles pénétrantes, etc. Les produits chimiques peuvent endommager, affaibir ou détruire les plastiques, ce qui pourrait entraîner de graves blessures. Les outils électriques utilisés sur des équipements en fibre de verre, des plaques de plâtre, des panneaux de revêtement ont tendance à s-user plus rapidement et à présenter des défaillances prématurées. Les copeaux et la sciure provenant de ces matériaux sont en effet très abrasifs pour les pièces des outils électriques comme les engrenages, les brosses, les interrupteurs, etc. Par conséquent, nous ne recommandons pas l'utilisation de cet outil pour un travail prolongé sur ces types de matériaux. Toutefois, si vous devez poner ces matériaux, il est extrêmement important de nettoyer le produit à l'aide d'air comprimé.
LUBRIFICATION
Tous les roulements de ce produit sont lubrifiés avec une quantité suffisante d'huile de haute qualité pour toute la durée de vie du produit sous des conditions d'utilisation normales. Par conséquent, aucune lubrification supplémentaire n'est nécessaire.
PROTECTION DE L'ENVIRONNEMENT
Recyclez les matières premières au lieu de les jeter aux ordures ménagères. Pour protéger l'environnement, l'outil, les accessoires et les emballages doivent être triés.
SYMBOLES
| SYMBOL | |
| Alerte de Sécurité | |
| CE | Conformité CE |
| Veuillez lire attentivement les instructions avant de mettre l'appareil en marche. | |
| Portez une protection auditive | |
| Portez toujours une protection oculaire | |
| Portez toujours une protection oculaire. | |
| Risques de blessures. Ne dirigez pas le flux d'air vers le corps. N'utilisez pas d'air comprimé pour respirer. Na le transportez pas lorsque vous êtes en train de peindre. | |
| Risque d'incendie ou d'explosion | |
| Risque d'éclatement | |
| Pour réduire le risque de décharge électrique, ne pas exposer à la pluie. Rangiez le à l'intérieur. | |
| Risque de décharge électrique. | |
| Surface Chaude: Risque de brûlure-Ne pas toucher! | |
| Démarrage à distance: L'appareil se déclenche sans que l'on y touche et peut démarrer sans prévenir. | |
| Les produits électriques hors d'usage ne doivent pas être jetés avec les ordures ménagères. Recyclez-les par l'intermédiaire des structures disponibles. Contactez les autorité locales pour vous renseigner sur les conditions de recyclage. |
Notice Facile