ERC 39350 W - Køleskab ELECTROLUX - Gratis brugsanvisning og manual
Find enhedens vejledning gratis ERC 39350 W ELECTROLUX i PDF-format.
Questions des utilisateurs sur ERC 39350 W ELECTROLUX
0 question sur cet appareil. Repondez a celles que vous connaissez ou posez la votre.
Poser une nouvelle question sur cet appareil
Download vejledningen til din Køleskab i PDF-format gratis! Find din vejledning ERC 39350 W - ELECTROLUX og tag din elektroniske enhed tilbage i hånden. På denne side er alle dokumenter nødvendige for brugen af din enhed offentliggjort. ERC 39350 W af mærket ELECTROLUX.
BRUGSANVISNING ERC 39350 W ELECTROLUX
Se mere om, hvordan vi tænker på www.electrolux.com
INDHOLD
Om sikkerhed 2
Betjening 4
Ibrugtagning 4
Daglig brug 4
Nyttige oplysninger og råd 5
Hvis noget går galt 7
Tekniske data 8
Installation 8
Skån miljøet 11
Ret til ændringer uden varsel forbeholdes

OM SIKKERHED
Læs denne brugsanvisning igennem (inkl. tips og advarsler), før apparatet installeres og tages i brug. Det forebygger ulykker og sikrer, at apparatet bruges korrekt. For at undgå unødvendige fejl og uheld er det vigtigt at sikre, at alle, der bruger apparatet, er fuldt fortrolige med dets drift og sikkerhedsfunktioner. Gem denne vejledning og sørg for, at den følger med apparatet, hvis det bliver flyttet eller solgt, så alle der bruger apparatet er fortrolige med dets betjening og sikkerhed.
Følg forholdsreglerne i denne brugsanvisning for at undgå skader på personer eller ting. I modsat fald er producenten ikke ansvarlig for eventuelle skader.
Sikkerhed for børn og udsatte personer
- Apparatet er ikke beregnet til at bruges af personer (herunder børn) med nedsat fysisk, sensorisk eller psykisk funktionsevne, eller som mangler den nødvendige erfaring eller viden, med mindre den, der har ansvaret for deres sikkerhed, først har instrueret dem eller har kontrolleret, at de kan betjene det korrekt. Hold øje med børn for at sikre, at de ikke leger med apparatet.
- Hold alle emballagedele væk fra børn. Der er fare for kvælning.
- Hvis du kasserer apparatet: Tag stikket ud af kontakten, klip netledningen af (så tæt på apparatet som muligt) og fjern døren, så børn ikke kan få elektrisk stød eller smække sig inde i apparatet under leg.
- Hvis dette apparat, der har magnetlås, erstatter et ældre apparat med fjederlås (lås med låsetunge) på døren eller i låget: Sørg for at ødelægge fjederlåsen på det gamle apparat, inden du kasserer det.
Det sikrer, at det ikke kan blive en dødsfælde for et barn.
Generelt om sikkerhed

Bemærk Ventilationsåbningerne må ikke blokeres.
- Apparatet er beregnet til opbevaring af madvarer og/eller drikkevarer i en almindelig husholdning, som forklaret i denne brugsanvisning.
- Brug ikke mekaniske redskaber eller andre kunstige hjælpemidler til at fremskynde optøningen.
- Brug ikke andre el-apparater (f.eks. ismaskiner) inde i køleudstyr, med mindre de er godkendt til formålet af producenten.
- Kølekredsløbet må ikke beskadiges.
- Apparatets kølekreds indeholder kølemidlet isobutan (R600a), en naturlig gas med høj biologisk nedbrydelighed. Det er dog brandfarligt.
Sørg for, at ingen af kølekredsens komponenter kan tage skade under transport og installation af apparatet.
Hvis kølekredsen skulle blive beskadiget:
– Undgå åben ild og antændelseskilder
– Luft grundigt ud i det lokale, hvor apparatet står
- Det er farligt at ændre apparatets specifikationer eller forsøge at ombygge det på nogen måde. Enhver skade på ledningen kan give kortslutning, brand og/eller elektrisk stød.

Advarsel Enhver elektrisk komponent (netledning, stik, kompressor) skal udskiftes af et autoriseret serviceværksted eller en autoriseret montør.
-
Netledningen må ikke forlænges.
-
Pas på, at stikket ikke bliver klemt eller beskadiget af apparatets bagpanel. Et klemt eller beskadiget stik kan blive overophedet og starte en brand.
-
Sørg for, at apparatets eltilslutning er let at komme til.
-
Træk ikke i elledningen.
-
Sæt ikke stikket i kontakten, hvis kontakten sidder løst. Fare for elektrisk stød eller brand.
-
Der må ikke tændes for apparatet, hvis lampedækslet ikke sidder på ^1) den indvendige pære.
-
Apparatet er tungt. Der skal udvises stor forsigtighed ved flytning af det.
- Rør ikke ved ting fra frostafdelingen med fugtige eller våde hænder. Det kan give hudafskrabninger eller forfrysninger.
- Undgå at udsætte apparatet for direkte sollys i længere tid.
- Lamper ^2) I dette apparat benyttes specialpærer, der er udvalgt alene til husholdningsapparater. De er ikke egnet til oplysning i almindelige rum.
Daglig brug
- Sæt ikke en varm gryde på apparatets plastdele.
- Opbevar ikke brandfarlig gas og væske i apparatet, da de kan eksplodere.
- Sæt ikke maden direkte op mod udluftningen i apparatets bagvæg. ^3)
- Dybfrostvarer må ikke nedfryses igen, när de har været optøet.
- Opbevar færdigpakkede dybfrostvarer som angivet på pakken.
- Følg nøje producentens angivelser vedr. opbevaring af produktet. Se de relevante vejledninger.
- Sæt ikke drikkevarer med kulsyre ('brus') i frostrummet, da det skaber tryk i beholderen, så den kan eksplodere og beskadige apparatet.
- Ispinde kan give forfrysninger, hvis de spises lige fra fryseren.
- Inden rengøring slukkes der for apparatet, og stikket tages ud af kontakten. Sluk
på ejendommens el-tavle, hvis du ikke kan komme til stikkontakten.
- Brug ikke metalgenstande til at rengøre apparatet.
- Brug ikke skarpe genstande til at skrabe rim af. Brug en plastikskraber.
- Efterse jævnlig afløbet i køleskabet for afrimningsvand. Rens afløbet efter behov. Hvis afløbet er blokeret, ophobes der vand i bunden af apparatet.
Installation
Vigtigt Ved tilslutning til lysnet skal vejledningen i de pågældende afsnit nøje følges.
- Pak apparatet ud, og efterse det for skader. Tilslut ikke apparatet, hvis det er beskadiget. Eventuelle skader på apparatet skal straks anmeldes til det sted, hvor det er købt. Gem i så fald emballagen.
- Det anbefales at vente mindst to timer med at tilslutte apparatet, så olien har tid til at løbe tilbage i kompressoren.
- Der skal være tilstrækkelig luftudskiftning rundt om apparatet. Ellers bliver det overophedet. Følg installationsvejledningen for at sikre tilstrækkelig ventilation.
- Så vidt det overhovedet er muligt skal apparatets bagside stå op mod en væg, så man ikke kan komme til at røre eller hænge fast i varme dele (kompressor, kondensator), med risiko for at brænde sig.
- Apparatet må ikke stilles tæt på radiatorer eller komfurer.
- Sørg for, at det er muligt at komme til netstikket, när apparatet er installeret.
- Tilslut kun til drikkevandsledning (vandværksvand). ^4)
Service
- Alt el-arbejde, der kræves til vedligeholdelse af apparatet, skal udføres af en autoriseret el-installatør.
- Dette produkt må kun serviceres af et autoriseret serviceværksted, og der må kun bruges originale reservedele.
Miljøhensyn

Apparatet indeholder ikke gasser, der kan nedbryde ozonlaget, hverken i kølekreds eller isoleringsmaterialer. Apparatet må ikke bortskaffes sammen med husholdningsaffald og jordfyld. Isoleringsskummet indeholder brændbare gasser: Apparatet skal bortskaffes i hen-
hold til gældende bestemmelser. Nærmere oplysninger fås hos kommunens tekniske forvaltning. Undgå at beskadi-ge køleenheden, især på bagsiden ved siden af varmeveksleren. De materialer i apparatet, der er mærket med symbolet , kan genvanvendes.
BETJENING
Tænde
Drej termostatknappen med uret til en mellemindstilling.
Slukning
Apparatet betjenes på følgende måde:
- Drej termostatknappen mod lavere indstillinger for at vælge minimum køling.
- Drej termostatknappen mod højere indstillinger for at vælge maksimal køling.

I reglen er en mellemindstilling mest passende.
Når den præcise indstilling vælges, skal man dog huske på, at temperaturen i apparatet afhænger af:
- Rumtemperaturen
- Hvor tit døren åbnes
- Mængden af mad
- Skabets placering.
Vigtigt Hvis den omgivende temperatur er høj eller skabet er helt fyldt, og termostatknappen står på det koldeste trin, kan kompressoren køre konstant, så der dannes rim eller is på bagvæggen. Hvis det sker, sættes termostatknappen på en højere temperatur, så den automatiske afrimning starter, og strømforbruget dermed falder.
IBRUGTAGNING
Indvendig rengøring
Inden apparatet tages i brug vaskes det indvendig (inkl. tilbehør) med lunkent vand til-sat neutral sæbe for at fjerne den typiske lugt af nyt apparat. Tør grundigt efter.
Vigtigt Brug ikke sulfosæbe eller skuremiddel. Det vil skade overfladen.
DAGLIG BRUG
Flytbare hylder
Køleskabets vægge har en række skinner, så hylderne kan placeres efter ønske.

Isætning af hylder i dør
Hylderne i døren kan sættes i forskellig højde, så der er plads til madvarer af forskellig størrelse.
De indstilles på følgende måde:
Træk gradvis hylden i pilenes retning, til den slipper. Sæt den på det ønskede sted.

Sæt flaskehylden på plads, og sæt flaskerne i (med åbningerne fremad).
Vigtigt Hvis hylden placeres vandret, skal flaskerne være lukket.

Denne flaskehylde kan sættes på skrå, så den kan bruges til flasker, der har været åbnet. Det gøres ved at trække op i hylden, så forenden kan drejes opad og lægges på den næste skinne.

- Åbn døren så lidt som muligt, og lad den ikke stå åben længere end højst nødven-digt.
- Hvis den omgivende temperatur er høj, termostatknappen står på det koldeste trin, og skabet er helt fyldt, kan kompressoren køre konstant, så der dannes rim eller is på fordamperen. Hvis det sker, sæt-
tes knappen på en lavere indstilling, så den automatiske afrimning starter, og strømforbruget dermed falder.
Råd om køling af friske madvarer
Sådan holder maden sig bedst:
- Sæt ikke dampende varm mad eller drikke i køleskabet
- Læg låg på maden eller pak den ind, især hvis den lugter stærkt
- Placer maden, så luften kan cirkulere frit rundt om den
Råd om køling
Nyttige tip:
Kød (alle slags): Pakkes ind i polyætylenposer og lægges på glashylden over grøntsagsskuffen.
Det er kun sikkert at opbevare kød på denne måde i 1-2 dage.
Tilberedt mad, pålæg, kolde retter og lignende: Bør pakkes ind og kan stilles på alle hylder.
Frugt og grønt: Bør rengøres grundigt og lægges i den/de særlige skuffe(r).
Smør og ost: Bør lægges i specielle lufttætte beholdere eller pakkes ind i alufolie eller polyætylenposer, så luften holdes bedst muligt ude.
Mælkeflasker: Bør have låg på og opbevares i flaskehylden i døren.
Bananer, kartofler, løg og hvidløg behøver ikke at lægges i køleskab, med mindre de er pakket ind.
VEDLIGEHOLDELSE OG RENG∅RING

Bemærk Kobl apparatet fra strømforsyningen, før der udføres nogen som helst form for vedligeholdelse.

Apparatets kølesystem indeholder klorbrinter; Service og påfyldning må derfor kun udføres af en autoriseret tekniker.
Regelmæssig rengøring
Apparatet skal jævnlig rengøres:
- Vask det indvendig (inkl. tilbehør) med lun-kent vand tilsat neutral sæbe.
- Efterse jævnlig dørpakningerne, og tør dem af, så de er rene og fri for belægninger.
- Skyl og tør grundigt af.
Vigtigt Undgå at trække i, flytte eller beskadige evt. rør og/eller ledninger i skabet. Brug aldrig sulfosæbe, skurepulver, stærkt parfumeret rengøringsmiddel eller voksprodukter til indvendig rengøring af skabet. Det skader overfladen og efterlader kraftig lugt.
Rens kondensatoren (det sorte gitter) og kompressoren bag på skabet med en børste eller støvsuger. Det øger apparatets ydeevne og sparer strøm.
Vigtigt Pas på ikke at beskadige kølesystemet.
Mange rengøringsmidler til køkkener indeholder kemikalier, der kan angribe og evt. beskadige de anvendte plastmaterialer i apparatet. Derfor anbefales det, at kabinettet udvendig kun rengøres med varmt vand til-sat lidt opvaskemiddel.
Sæt stikket i stikkontakten efter rengøringen.
Afrimning af køleskabet
Under normal drift afrimes fordamperen i kø-leafdelingen automatisk, hver gang motorkompressoren standser. Afrimningsvandet ledes ud gennem en rende og ned i en særlig beholder bag på apparatet (over motorkompressoren), hvor det fordamper.
Afløbet til afrimningsvand sidder midt i ren-den i køleafdelingen. Det skal jævnlig ren-ses, så vandet ikke løber over og drypper ned på maden i skabet. Brug den medføl-gende special-flaskerenser, der sidder i af-løbshullet ved leveringen.

Tag følgende forholdsregler, når apparatet ikke skal bruges i længere tid:
- Tag stikket ud af stikkontakten
- Tag al maden ud
- Afrim ^5) og rengør apparatet inkl. alt tilbehør
- Lad døren/dørene stå på klem for at forebygge ubehagelig lugt.
Hvis der skal være tændt for skabet: Bed nogen se til det en gang imellem, så maden ik-
ke bliver fordærvet, hvis der har været strømsvigt.
HVIS NOGET GÅR GALT

Advarsel Inden fejlfinding skal stikket tages ud af kontakten.
Fejl der ikke er nævnt i denne brugsanvisning må kun afhjælpes af en autoriseret installatør eller anden fagmand.
Vigtigt Der kommer lyde under normal drift (kompressor, kølekredsløb).
| Fejl Mulig årsag | Løsning | |
| Apparatet virker ikke.Pæren lyser ikke. | Der er slukket for apparatet. Tænd | for apparatet. |
| Stikket er ikke sat rigtigt i kontak-ten. | Sæt stikket helt ind i kontakten. | |
| Der er ingen strøm til apparatet. | Prøv at tilslutte et andet elektrisk apparat til den pågældende stik-kontakt. | |
| Kontakt en autoriseret installatør. | ||
| Pæren lyser ikke. Pæren er i standby. Luk og åbn døren. | ||
| Pæren er sprunget. | Se under "Udskiftning af pæren". | |
| Kompressoren kører hele tiden. | Temperaturen er ikke indstillet korrekt. | Vælg en højere temperatur. |
| Døren er ikke lukket korrekt. | Se under "Lukning af døren". | |
| Døren er blevet åbnet for tit. | Lad ikke døren stå åben længere end nødvendigt. | |
| Madvarernes temperatur er for høj. | Lad madvarerne køle ned til stue-temperatur, før de sættes i skabet. | |
| Der er for høj rumtemperatur. Sænk rumtemperaturen. | ||
| Der løber vand ned ad bagpladen i køleskabet. | Under automatisk afrimning smelter rim på bagpladen. | Det er normalt. |
| Der løber vand ind i køle-skabet. | Afløbet til afrimningsvand er til-stoppet. | Rens afløbet. |
| Madvarer blokerer, så vandet ik-ke kan løbe ned i vandbeholde-ren. | Sørg for, at madvarerne ikke rører bagpladen. | |
| Der løber vand ud af ska-bet. | Afrimningsvandet løber ikke fra afløbet og ned i beholderen over kompressoren. | Sæt afløbet til afrimningsvand på fordamperbeholderen. |
| Temperaturen i skabet er for lav. | Temperaturen er ikke indstillet korrekt. | Vælg en højere temperatur. |
| Temperaturen i skabet er for høj. | Temperaturen er ikke indstillet korrekt. | Vælg en lavere temperatur. |
| Døren er ikke lukket korrekt. | Se under "Lukning af døren". | |
| Madvarernes temperatur er for høj. | Lad madvarerne køle ned til stue-temperatur, før de sættes i skabet. | |
| Der er lagt for store mængder mad i på samme tid. | Læg mindre mad i ad gangen. | |
| Der er ingen cirkulation af kold luft i apparatet. | Sørg for, at der er cirkulation af kold luft i apparatet. | |
Udskiftning af pære
- Tag stikket ud af kontakten.
- Fjern skruen i lampedækslet.
- Fjern lampedækslet (se ill.).
- Udskift den brugte pære med en, der har samme effekt, og som er specielt beregnet til husholdningsapparater (maks. styrke fremgår af lampedækslet).
- Monter lampedækslet.
- Stram skruen i lampedækslet.
- Sæt stikket i stikkontakten.
- Åbn døren. Se efter, at lampen lyser.

- Rengør dørpakningerne.
- Juster døren, hvis den ikke slutter tæt. Se under "Installation".
- Udskift evt. defekte dørpakninger. Kontakt servicecenteret.
TEKNISKE DATA
| Mål | ||
| Højde 1800 mm | ||
| Bredde 600 mm | ||
| Dybde 650 mm |
De tekniske specifikationer fremgår af type-skiltet indvendig i skabet, på venstre væg, samt af energimærket.
INSTALLATION

Læs afsnittet "Om sikkerhed" omhyggeligt, før apparatet installeres
for at forebygge ulykker, og sikre at det bruges korrekt.
Placering
Apparatet bør placeres i god afstand fra varmekilder som radiatorer, kedler, direkte sollys osv. Sørg for, at luften kan cirkulere frit omkring kabinettets bagside Hvis apparatet skal stå under et overskab, skal der mindst være 100 mm mellem apparatets topplade og overskabets underside. Så fungerer apparatet optimalt. Ideelt bør apparatet dog ikke placeres under overskabe. Apparatet kan sættes præcis i vater med en eller flere af de justerbare fødder i bunden af kabinettet Hvis skabet skal stå i et hjørne, med hængselsiden mod væggen, skal der mindst være 10 mm til væggen, så døren kan åbnes så meget, at hylderne kan tages ud.

Advarsel Det skal være muligt at koble apparatet fra elinstallationen. Efter installationen skal stikket derfor være let at komme til.

Inden tilslutning til lysnettet skal det kontrolleres, at spændingen og frekvensen på typeskiltet svarer til boligens forsyningsstrøm. Apparatet skal tilsluttes jord. Stikket på netledningen har en kontakt til dette formål. Hvis der ikke er jord på stikkontakten, tilsluttes apparatet en særskilt jordforbindelse i h.t. Stærkstrømsreglementet. Spørg en autoriseret installatør til råds.
Producenten fralægger sig ethvert ansvar, hvis de nævnte sikkerhedsregler ikke overholdes.
Apparatet er i overensstemmelse med følgende. EU-direktiver.
Afstandsstykker, bagpå
I apparatet ligger der to afstandsstykker, der skal monteres som vist på tegningen.
Løsn skruerne, sæt afstandsstykket ind under skruens hoved, og stram skruerne igen.

Inden der udføres nogen form for arbejde på skabet, skal stikket altid tages ud af kontakten. Døren vendes på følgende måde:
- Under de følgende operationer er det en god idé at få en hjælper til at holde godt fast i skabets døre, mens arbejdet udføres.
- Åbn døren, mens apparatet står i opretstående position. Skru skruerne ud, og fjern plastiklisten på den øverste dør.
- Fjern det lille plastikdæksel på dørens plastikliste, og montér det i modsatte side (d).
• Læg apparatet ned på bagsiden.

- Fjern skruen i hængslets dækprop (a).
- Skru øverste hængsel af, og fjern det (b).
- Skru skruen ud, og fjern dørstoppet (c).

- Fjern døren.
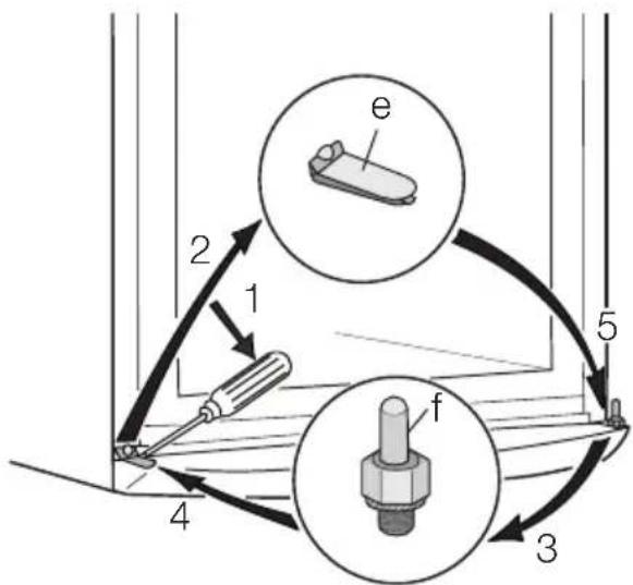
- Brug værktøj til at fjerne dækslet (e), skru nederste hængseltap af (f), og montér den i den modsatte side.
- Sæt dækslet (e) på plads i modsatte side.
- Sæt døren på plads igen.
- Sørg for, at dørfronterne er parallelle med skabets topplade.
- Sæt dørstoppet fast i modsatte side.
- Placér og montér øverste hængsel (der ligger i posen med brugervejledningen) i den modsatte side.
- Montér skruen i det nye hængsel (der ligger i posen med brugervejledningen).

- Løft apparatet op til opretstående position.
- Åbn døren, og skru dørens øverste plastikliste fast igen.

- Montér håndtaget på den modsatte side, og luk de resterende huller med de plastikpropper, der ligger i posen med brugervejledningen.
Advarsel Sæt apparatet på plads, bring det i vater, og vent mindst fire timer med at slutte det til lysnettet.
Hvis du ikke selv vil vende døren, kan du henvende dig til Electrolux Hvidevareservice A/S. En tekniker vil herefter vende døren mod betaling.

Advarsel Når dørene er vendt:
Undertiden slutter pakningen ikke perfekt til kabinettet, hvis omgivelserne er kolde (dvs. om vinteren). Hvis dette er tilfældet: Pakningen tilpasser sig efterhånden af sig selv. Læg apparatet ned på bagsiden.
SKÅN MILJ∅ET
Symbolet 📄på produktet eller på pakken angiver, at dette produkt ikke må behandles som husholdningsaffald. Det skal i stedet overgives til en affaldsstation for behandling af elektrisk og elektronisk udstyr. Ved at sørge for at dette produkt bliver bortskaffet på den rette måde, hjælper du med til at forebygge eventuelle
negative påvirkninger af miljøet og af personers helbred, der ellers kunne forårsages af forkert bortskaffelse af dette produkt. Kontakt det lokale kommunekontor, affaldsselskab eller den forretning, hvor produktet er købt, for yderligere oplysninger om genanvendelse af dette produkt.
NemManual