ERC 39350 W - Kühlschrank ELECTROLUX - Kostenlose Bedienungsanleitung
Finden Sie kostenlos die Bedienungsanleitung des Geräts ERC 39350 W ELECTROLUX als PDF.
Benutzerfragen zu ERC 39350 W ELECTROLUX
0 Frage zu diesem Gerät. Beantworten Sie die, die Sie kennen, oder stellen Sie Ihre eigene.
Eine neue Frage zu diesem Gerät stellen
Laden Sie die Anleitung für Ihr Kühlschrank kostenlos im PDF-Format! Finden Sie Ihr Handbuch ERC 39350 W - ELECTROLUX und nehmen Sie Ihr elektronisches Gerät wieder in die Hand. Auf dieser Seite sind alle Dokumente veröffentlicht, die für die Verwendung Ihres Geräts notwendig sind. ERC 39350 W von der Marke ELECTROLUX.
BEDIENUNGSANLEITUNG ERC 39350 W ELECTROLUX
Technische gegevens 19
Montage 19
Het milieu 22
Mehr zu unserem Denken finden Sie unter www.electrolux.com
INHALT
Sicherheitshinweise 44
Betrieb 46
Erste Inbetriebnahme 47
Täglicher Gebrauch 47
Praktische Tipps und Hinweise 48
Reinigen und Pflegen 48
Was tun, wenn ... 50
Technische Daten 51
Montage 51
Hinweise zum Umweltschutz 54
Änderungen vorbehalten

SICHERHEITSHINWEISE
Lesen Sie zu Ihrer Sicherheit und für die optimale Geräteanwendung vor der Installation und dem Gebrauch des Gerätes die vorliegende Benutzerinformation aufmerksam durch, einschließlich der Ratschläge und Warnungen. Es ist wichtig, dass zur Vermeidung von Fehlern und Unfällen alle Personen, die das Gerät benutzen, mit der Bedienung und den Sicherheitsvorschriften vertraut sind. Heben Sie die Benutzerinformation gut auf und übergeben Sie sie bei einem Weiterverkauf des Gerätes dem neuen Besitzer, so dass jeder während der gesamten Lebensdauer des Gerätes über Gebrauch und Sicherheit informiert ist.
Halten Sie sich zu Ihrer Sicherheit und zum Schutz Ihres Eigentums strikt an die Vorsichtsmaßnahmen der vorliegenden Benutzerinformation, da der Hersteller bei Missachtung derselben von jeder Haftung freigestellt ist.
Sicherheit von Kindern und hilfsbedürftigen Personen
- Das Gerät darf von Personen (einschließlich Kindern), deren physische, sensorische Fähigkeiten und deren Mangel an Erfahrung und Kenntnissen einen sicheren Gebrauch des Gerätes ausschließen nur unter Aufsicht oder nach ausreichender Einweisung durch eine verantwortungsbewusste Person benutzt werden, die sicherstellt, dass sie sich der Gefahren des Gebrauchs bewusst sind. Kinder müssen beaufsichtigt werden, damit sie nicht am Gerät herumspielen können.
- Halten Sie das Verpackungsmaterial unbedingt von Kindern fern. Erstickungsgefahr!
- Ziehen Sie vor der Entsorgung des Gerätes den Netzstecker, schneiden Sie das Netzkabel (so nah wie möglich am Gerät) ab und entfernen Sie die Tür, so dass spielende Kinder vor elektrischem Schlag geschützt sind und sich nicht in dem Gerät einschließen können.
- Wenn dieses Gerät mit magnetischer Türdichtung ein älteres Modell mit Schnappverschluss (Türlasche) an der Tür oder auf dem Deckel ersetzt, machen Sie den Schnappverschluss vor dem Entsorgen des Altgerätes unbrauchbar. So verhindern Sie, dass das Gerät nicht zu einer Todesfalle für Kinder wird.
Allgemeine Sicherheitshinweise

Vorsicht! Die Belüftungsöffnungen müssen immer frei zugänglich sein.
- Das Gerät ist für die Aufbewahrung von Lebensmitteln und/oder Getränken in einem normalen Haushalt bestimmt, wie in der vorliegenden Gebrauchsanweisung beschrieben wird.
- Benutzen Sie keine mechanischen oder sonstigen Hilfsmittel, um den Abtauprozess zu beschleunigen.
- Verwenden Sie keine anderen Elektrogeräte (wie Speiseeisbereiter) in Kühlgeräten, wenn solche Geräte nicht ausdrücklich vom Hersteller für diesen Zweck zugelassen sind.
- Achten Sie darauf, den Kältekreislauf nicht zu beschädigen.
- Das Kältemittel Isobutan (R600a) im Kältekreislauf des Gerätes ist ein natürliches und sehr umweltfreundliches Gas, das jedoch leicht entflammbar ist.
Achten Sie beim Transport und bei der Aufstellung des Gerätes darauf, nicht die Komponenten des Kältekreislaufs zu beschädigen.
Bei einer eventuellen Beschädigung des Kältekreislaufs:
- Offene Flammen und Zündfunken vermeiden
- Den Raum, in dem das Gerät installiert ist, gut lüften
- Änderungen der technischen Eigenschaften oder am Gerät sind gefährlich. Ein defektes Netzkabel kann Kurzschlüsse und einen Brand verursachen und/oder zu Stromschlägen führen.
⚠️ Warnung! Elektrische Bauteile (Netzkabel, Stecker, Kompressor) dürfen nur vom Kundendienst oder einer Fachkraft ausgewechselt werden.
- Das Netzkabel darf nicht verlängert werden.
- Vergewissern Sie sich, dass der Netzstecker nicht von der Geräterückseite gequetscht oder beschädigt wird. Ein gequetschter oder beschädigter Netzstecker überhitzt und kann einen Brand verursachen.
- Vergewissern Sie sich, dass der Netzstecker des Gerätes frei zugänglich ist.
- Ziehen Sie nicht am Netzkabel.
- Stecken Sie den Netzstecker nie in eine lockere Steckdose. Es besteht Brand- und Stromschlaggefahr.
- Betreiben Sie das Gerät nicht ohne Lampenabdeckung ^21) , der Innenbeleuchtung.
- Dieses Gerät ist schwer. Vorsicht beim Transport.
- Entnehmen oder berühren Sie nie mit nassen/feuchten Händen Tiefkühlgut, da dies zu Hautverletzungen oder Kälteverbrennungen führen kann.
- Das Gerät nicht direkter Sonneneinstrahlung aussetzen.
- Die Leuchtmittel ^22) in diesem Gerät sind Speziallampen, die nur für Haushaltsgeräte geeignet sind. Sie eignen sich nicht zur Raumbeleuchtung.
Täglicher Gebrauch
- Stellen Sie keine heißen Töpfe auf die Kunststoffteile des Gerätes.
- Lagern Sie keine feuergefährlichen Gase oder Flüssigkeiten in dem Gerät. Explosionsgefahr.
- Legen Sie Lebensmittel nicht direkt vor den Luftauslass auf der Rückwand. ^23)
- Ein aufgetautes Produkt darf nicht wieder eingefroren werden.
- Abgepackte Tiefkühlkost immer entsprechend den Herstellerangaben aufbewahren.
- Die Lagerempfehlungen des Geräteherstellers sollten strikt eingehalten werden. Halten Sie sich an die betreffenden Anweisungen.
- Keine kohlensäurehaltigen Getränke oder Sprudel in den Tiefkühlschrank stellen, da der Druckanstieg in den Behältern zur Explosion führen und das Gerät beschädigen kann.
- Eis am Stiel kann Kälteverbrennungen verursachen, wenn es direkt nach der Entnahme aus dem Gefrierschrank gegessen wird.
Reinigung und Pflege
- Schalten Sie vor Wartungsarbeiten immer das Gerät ab und ziehen Sie den Netzstecker aus der Steckdose.
- Reinigen Sie das Gerät nicht mit Metallgegenständen.
- Keine scharfen Gegenstände zum Entfernen von Reif und Eis im Gerät verwenden. Verwenden Sie einen Kunststoffschaber.
- Kontrollieren Sie den Tauwasserabfluss im Kühlraum in regelmäßigen Abständen. Reinigen Sie den Ablauf, falls nötig. Bei verstopftem Wasserabfluss sammelt sich das Wasser auf dem Boden des Geräts an.
Montage
Wichtig! Halten Sie sich für den elektrischen Anschluss strikt an die Anweisungen der betreffenden Abschnitte.
- Kontrollieren Sie nach dem Auspacken das Gerät auf eventuelle Beschädigun-
gen. Nehmen Sie das Gerät nicht in Betrieb, wenn es beschädigt ist. Melden Sie die Schäden umgehend dem Händler, bei dem Sie es erworben haben. Bewahren Sie in diesem Fall die Verpackung auf.
- Lassen Sie das Gerät mindestens vier Stunden stehen, bevor Sie es elektrisch anschließen, damit das Öl in den Kompressor zurückfließen kann.
- Ausreichenden Freiraum zur Luftzirkulation um das Gerät lassen; anderenfalls besteht Überhitzungsgefahr. Halten Sie sich für die Belüftung an die Installationsanweisungen.
- Das Gerät sollte zur Vermeidung von Verbrennungen durch Berührung von heißen Bauteilen (Kompressor, Kondensator) möglichst mit der Rückseite gegen eine Wand aufgestellt werden.
- Das Gerät darf nicht in der Nähe von Heizkörpern oder Kochern installiert werden.
- Vergewissern Sie sich, dass der Netzstecker des Gerätes nach der Installation frei zugänglich ist.
- Verbinden Sie das Gerät ausschließlich mit einer Trinkwasserzuleitung. ^24)
Kundendienst
- Sollte die Wartung des Gerätes elektrische Arbeiten verlangen, so dürfen diese
BETRIEB
Einschalten des Geräts
Stecken Sie den Stecker in die Wandsteck-dose.
Drehen Sie den Temperaturregler im Uhrzeigersinn auf eine mittlere Einstellung.
Ausschalten des Geräts
Drehen Sie den Temperaturregler zum Ausschalten des Geräts in die Position "O".
Temperaturregelung
Die Temperatur wird automatisch geregelt. Bedienen Sie das Gerät wie folgt:
- drehen Sie den Temperaturregler auf eine niedrigere Einstellung, um die minimal mögliche Kühlung zu erreichen.
- drehen Sie den Temperaturregler auf eine höhere Einstellung, um die maximal mögliche Kühlung zu erreichen.
nur von einem qualifizierten Elektriker oder einem Elektro-Fachmann durchgeführt werden.
- Wenden Sie sich für Reparaturen und Wartung nur an Fachkräfte der autorisierten Kundendienststellen und verlangen Sie stets Original-Ersatzteile.
Umweltschutz
Das Gerät enthält im Kältekreis oder in dem Isoliermaterial keine ozonschädigenden Gase. Das Gerät darf nicht wie normaler Hausmüll entsorgt werden. Die Isolierung enthält entzündliche Gase: das Gerät muss gemäß den geltenden Vorschriften entsorgt werden; sie erhalten diese bei Ihrer Gemeindeverwaltung. Nicht das Kälteaggregat beschädigen, insbesondere nicht in der Nähe des Wärmetauschers. Die Materialien, die bei der Herstellung dieses Geräts verwendet wurden und mit dem Symbol ✉ markiert sind, können recycelt werden.
i eine mittlere Einstellung ist im Allgemeinen am besten geeignet.
Allerdings muss für eine exakte Einstellung berücksichtigt werden, dass die Temperatur im Innern des Gerätes von verschiedenen Faktoren abhängt:
• von der Raumtemperatur
• von der Häufigkeit der Türöffnung
- von der Menge der eingelagerten Lebensmittel
- und vom Standort des Geräts.
Wichtig! Ist die Umgebungstemperatur hoch oder das Gerät voll beladen, dieses aber auf die niedrigste Temperatur eingestellt, so kann es bei andauerndem Betrieb des Geräts an der Rückwand zu Frostbildung kommen. In diesem Fall muss eine höhere Temperatur gewählt werden, die ein automatisches Abtauen ermöglicht und damit auch einen niedrigeren Energieverbrauch.
ERSTE INBETRIEBNAHME
Reinigung des Innenraums
Bevor Sie das Gerät in Betrieb nehmen, beseitigen Sie den typischen "Neugeruch" am besten durch Auswaschen der Innenteile mit lauwarmem Wasser und einem neutralen Reinigungsmittel. Sorgfältig nachtrocknen.
Wichtig! Verwenden Sie keine Reinigungsmittel oder Scheuerpulver, da hierdurch die Oberfläche beschädigt wird.
TÄGLICHER GEBRAUCH
Verstellbare Ablagen/Einsätze
Die Wände des Kühlschranks sind mit einer Anzahl von Führungsschienen ausgestattet, die verschiedene Möglichkeiten für das Einsetzen der Ablagen bieten.

Positionierung der Türeinsätze
Die Türeinsätze können in verschiedener Höhe positioniert werden; damit ermöglichen Sie das Lagern verschieden großer Lebensmittelpackungen.
Bitte nehmen Sie die Einstellungen wie folgt vor:
Ziehen Sie das Türabstellfach nach und nach in Pfeilrichtung, bis es sich herausheben lässt. Dann setzen Sie es in die neue Position ein.

Legen Sie die Flaschen (mit der Öffnung nach vorn) in die entsprechend vorbereitete Flaschenablage ein.
Wichtig! Ist die Ablage horizontal angeordnet, dürfen nur geschlossene Flaschen darin gelagert werden.

Die Flaschenablage kann in der Neigung ver- stellt werden, damit bereits geöffnete Fla- schen geöffnet werden können. Zu diesem
Zweck das Regal so hochziehen, dass es sich drehen und in die nächst höhere Einschubebene setzen lässt.

PRAKTISCHE TIPPS UND HINWEISE
Energiespartipps
- Öffnen Sie die Tür nicht zu häufig, und lassen Sie diese nicht länger offen als unbedingt notwendig.
- Wenn die Umgebungstemperatur hoch ist und der Temperaturregler auf eine niedrige Temperatur eingestellt und das Gerät voll beladen ist, kann es zu andauerndem Betrieb des Kompressors und damit zu Reif- oder Eisbildung am Verdampfer kommen. Stellen Sie in diesem Fall den Temperaturregler auf eine höhere Einstellung ein, die ein automatisches Abtauen und damit auch einen niedrigeren Energieverbrauch ermöglicht.
Hinweise für die Kühlung frischer Lebensmittel
So erzielen Sie beste Ergebnisse:
- legen Sie bitte keine warmen Lebensmittel oder dampfende Flüssigkeiten in den Kühlschrank
- decken Sie die Lebensmittel ab oder verpacken Sie diese entsprechend, besonders wenn diese stark riechen
- legen Sie die Lebensmittel so hinein, dass um sie Luft frei zirkulieren kann
Hinweise für die Kühlung
Tipps:
REINIGEN UND PFLEGEN

Vorsicht! Ziehen Sie bitte vor jeder Reinigungsarbeit immer den Netzstecker aus der Steckdose.
Fleisch (alle Sorten): wickeln Sie Fleisch in lebensmittelechte Tüten und legen Sie diese auf die Glasablage über der Gemüseschublade.
Bitte lagern Sie Fleisch aus Sicherheitsgründen nur einen oder maximal zwei Tage auf diese Weise.
Gekochte Lebensmittel, kalte Gerichte usw.: diese können abgedeckt auf eine Ablage gelegt werden.
Obst und Gemüse: bitte waschen Sie Obst und Gemüse gründlich und legen Sie es in die speziell dafür vorgesehene(n) Schubla-de(n).
Butter und Käse: diese sollten stets in speziellen luftdichten Behältern verpackt sein oder in Aluminiumfolie bzw. in lebensmittelechte Tüten eingepackt werden, um so wenig Luft wie möglich in der Verpackung zu haben.
Milchflaschen: bitte bewahren Sie Milchflaschen stets mit Deckel im Flaschenregal in der Tür auf.
Bananen, Kartoffeln, Zwiebeln und Knoblauch sollten nicht im Kühlschrank aufbewahrt werden, außer diese sind dafür speziell verpackt.

Der Kältekreis des Gerätes enthält Kohlenwasserstoffe; Wartungsarbeiten und Nachfüllen von Kältemittel dürfen daher
nur durch vom Hersteller autorisiertes Fachpersonal ausgeführt werden.
Regelmäßige Reinigung
Der gesamte Kühlschrank muss regelmäßig gereinigt werden:
- Reinigen Sie die Innenseiten und die Zubehörteile mit lauwarmem Wasser und etwas Neutralseife.
- Prüfen und säubern Sie die Türdichtungen in regelmäßigen Abständen und kontrollieren Sie, dass diese sauber und frei von Verunreinigungen sind.
- Spülen und trocknen Sie diese sorgfältig ab.
Wichtig! Ziehen Sie nicht an Leitungen und/oder Kabeln im Innern des Kühlschranks und achten Sie darauf, diese nicht zu verschieben oder zu beschädigen. Benutzen Sie zur Reinigung des Innenraums keinesfalls Putzmittel, Scheuerpulver, stark parfümierte Reinigungsmittel oder Wachspolituren, da diese die Oberfläche des Innenraums beschädigen und einen starken Eigengeruch hinterlassen können.
Reinigen Sie den Kondensator (schwarzes Gitter) und den Motorkompressor auf der Geräterückseite mit einer Bürste oder einem Staubsauger. Dadurch verbessert sich die Leistung des Geräts und es verbraucht weniger Strom.
Wichtig! Bitte achten Sie darauf, das Kühlsystem nicht zu beschädigen.
Viele Haushaltsreiniger für Küchen enthalten Chemikalien, die den im Gerät verwendeten Kunststoff angreifen können. Aus diesem Grund ist es empfehlenswert, das Gerät außen nur mit warmem Wasser und etwas flüssigem Tellerspülmittel zu reinigen. Schließen Sie das Gerät nach der Reinigung wieder an die Netzversorgung an.
Abtauen des Kühlschranks
Bei normalem Betrieb wird Frost bei jedem Anhalten des Motorkompressors automatisch aus dem Verdampfer des Kühlschranks entfernt. Das Tauwasser läuft durch eine Rinne in einen speziellen Behälter an der Rückseite des Geräts über dem Motorkompressor, wo es verdampft. Reinigen Sie deshalb regelmäßig die Abflussöffnung des Tauwassers in der Mitte des Kühlschrankkanals, damit das Wasser nicht überfließt und auf die gelagerten Lebensmittel tropft. Benutzen Sie dazu bitte das mitgelieferte Reinigungswerkzeug, das sich bereits in der Ablauföffnung befindet.

Bei längerem Stillstand des Gerätes müssen Sie folgendermaßen vorgehen:
- trennen Sie das Gerät von der Netzversorgung
- entnehmen Sie alle Lebensmittel
- tauen Sie das Gerät ab ^25) , Reinigen Sie das Gerät und alle Zubehörteile
- lassen Sie die Türen offen/angelehnt, um das Entstehen unangenehmer Gerüche zu vermeiden.
Möchten Sie bei einer längeren Abwesenheit den Gefrierschrank weiter laufen lassen, bitten Sie jemanden, gelegentlich die Temperatur zu prüfen, damit das Gefriergut bei einem möglichen Stromausfall nicht im Innern des Gerätes verdirbt.
WAS TUN, WENN ...

Warnung! Ziehen Sie vor der Fehlersuche immer den Netzstecker aus der Steckdose. Die Fehlersuche, die in der vorliegenden Gebrauchsanweisung nicht beschrieben ist, darf nur von einem qualifi-
zierten Elektriker oder einer kompeten- ten Person durchgeführt werden.
Wichtig! Während das Gerät in Betrieb ist, entstehen bestimmte Geräusche (Kompressor und Kühlkreislauf).
| Störung Mögliche | Ursache Abhilfe | |
| Das Gerät funktioniert nicht. Die Lampe funktioniert nicht. | Das Gerät ist abgeschaltet. Gerät einschalten. | |
| Der Netzstecker steckt nicht richtig in der Steckdose. | Stecken Sie den Netzstecker richtig in die Steckdose. | |
| Das Gerät bekommt keinen | Strom. Es liegt keine Spannung an der Netzsteckdose an. | Testen Sie bitte, ob ein anderes Gerät an dieser Steckdose funktioniert.Kontaktieren Sie gegebenenfalls einen qualifizierten Elektriker. |
| Die Lampe funktioniert nicht. | Die Lampe befindet sich im Standby-Modus. | Schließen und öffnen Sie die Tür. |
| Die Lampe ist defekt. Siehe hierzu „Austauschen der Lampe“. | ||
| Der Kompressor arbeitet ständig. | Die Temperatur ist nicht richtig eingestellt. | Stellen Sie eine höhere Temperatur ein. |
| Die Tür ist nicht richtig geschlossen. | Siehe hierzu „Schließen der Tür“. | |
| Die Tür wurde zu häufig geöffnet. | Lassen Sie die Tür nicht länger als erforderlich offen. | |
| Die Temperatur der einzufrieren-den Lebensmittel ist zu hoch. | Lassen Sie Lebensmittel auf Raumtemperatur abkühlen, bevor Sie sie in das Gerät legen. | |
| Die Raumtemperatur ist zu hoch. | Senken Sie die Raumtemperatur. | |
| Wasser fließt an der Rückwand des Kühl-schranks hinunter. | Beim automatischen Abtauen fließt das abgetaute Wasser an der Rückwand des Kühl-schranks hinunter. | Das ist normal. |
| Wasser fließt in den Kühl-schrank. | Der Wasserablauf ist verstopft. Reinigen Sie den Ablauf. | |
| Die eingelagerten Lebensmittel verhindern, dass das Wasser zum Wasserablauf fließt. | Stellen Sie sicher, dass die Lebensmittel nicht die Rückwand berühren. | |
| Wasser fließt auf den Boden. | Der Tauwasserablauf läuft nicht in die Verdampferschale über dem Kompressor. | Befestigen Sie den Tauwasserablauf an der Verdampferschale. |
| Die Temperatur im Gerät ist zu niedrig. | Die Temperatur ist nicht richtig eingestellt. | Stellen Sie eine höhere Temperatur ein. |
| Die Temperatur im Gerät ist zu hoch. | Die Temperatur ist nicht richtig eingestellt. | Stellen Sie eine niedrigere Temperatur ein. |
| Die Tür ist nicht richtig geschlossen. | Siehe hierzu „Schließen der Tür“. | |
| Die Temperatur der einzufrierenden Lebensmittel ist zu hoch. | Lassen Sie Lebensmittel auf Raumtemperatur abkühlen, bevor Sie sie in das Gerät legen. | |
| Es wurden zu viele Lebensmittelauf einmal eingelegt. | Legen Sie weniger Lebensmittelauf einmal ein. | |
| Die Kaltluft kann nicht im Gerätzirkulieren. | Stellen Sie sicher, dass die Kaltluftim Gerät zirkulieren kann. | |
Ersetzen der Lampe
- Trennen Sie den Netzstecker von der Netzversorgung.
- Lösen Sie die Schraube an der Lampenabdeckung.
- Nehmen Sie die Lampenabdeckung ab (siehe hierzu die Abbildung).
- Ersetzen Sie die defekte Lampe durch eine Lampe mit der gleichen Leistung, die speziell für Haushaltsgeräte vorgesehen ist. (die maximal erlaubte Leistung steht auf der Lampenabdeckung).
- Bringen Sie die Lampenabdeckung an.
- Ziehen Sie die Schraube an der Lampenabdeckung fest.
- Stecken Sie den Netzstecker in die Steckdose.
- Tür öffnen. Prüfen Sie, dass die Lampe brennt.

- Reinigen Sie die Türdichtungen.
- Stellen Sie die Tür nach Bedarf ein. Siehe hierzu "Montage".
- Ersetzen Sie die defekten Türdichtungen, falls erforderlich. Kontaktieren Sie den Kundendienst.
TECHNISCHE DATEN
| Abmessungen | ||
| Höhe 1800 mm | ||
| Breite 600 mm | ||
| Tiefe 650 mm |
Die technischen Informationen befinden sich auf dem Typenschild innen links im Gerät sowie auf der Energieplakette.
MONTAGE

Lesen Sie bitte die
"Sicherheitshinweise" sorgfältig vor der Aufstellung des Geräts durch, um
Gefahren für Sie selbst zu vermeiden und einen korrekten Betrieb des Geräts zu gewährleisten.
Standort
Das Gerät sollte möglichst weit entfernt von Wärmequellen wie Heizungen, Boilern oder direktem Sonnenlicht usw. aufgestellt werden. Die Luft muss frei auf der Geräterückseite zirkulieren können. Damit das Gerät die optimale Leistung bringen kann, wenn es unter einem Oberschrank installiert wird, muss der Mindestabstand zwischen der Geräteoberseite und dem Oberschrank mindestens 100 mm betragen. Allerdings sollte die Aufstellung des Geräts unter einer überhängenden Wand nach Möglichkeit vermieden werden. Die korrekte waagerechte Ausrichtung des Geräts kann mit Hilfe eines oder mehrerer Schraubfüße am Sockel des Geräts erfolgen.
Wird das Gerät in einer Ecke aufgestellt, und zeigt die Scharnierseite dabei zur Wand, so muss der Abstand zwischen Wand und Gerät mindestens 10 mm betragen, damit die Tür zum Herausnehmen der Ablagen geöffnet werden kann.

Warnung! Es muss möglich sein, das Gerät vom Netz zu trennen. Nach der Installation muss die Steckdose daher zugänglich bleiben.

Elektrischer Anschluss
Kontrollieren Sie vor der ersten Benutzung des Gerätes, ob die Netzspannung und -frequenz Ihres Hausanschlusses mit den auf dem Typenschild angegebenen Anschlusswerten übereinstimmen.
Das Gerät muss geerdet sein. Zu diesem Zweck ist die Netzkabelsteckdose mit einem Schutzkontakt ausgestattet. Falls die Steckdose Ihres Hausanschlusses nicht geerdet sein sollte, lassen Sie das Gerät bitte gemäß den geltenden Vorschriften erden und fragen Sie dafür einen qualifizierten Elektriker.
Der Hersteller übernimmt keinerlei Haftung für Schäden oder Verletzungen, die durch Missachtung der oben genannten Sicherheitshinweise entstehen.
Das Gerät entspricht den EU- Richtlinien.
Distanzstücke hinten
Im Gerät befinden sich zwei Distanzstücke, die, wie in der Abbildung gezeigt, angebracht werden müssen.
Lockern Sie dazu die Schrauben etwas und passen Sie die Distanzstücke unter den Schraubenköpfen ein. Anschließend ziehen Sie die Schrauben wieder fest.

Wechsel des Türanschlags
Vor der Durchführung von Arbeiten am Gerät ist stets der Netzstecker ziehen. Beim Wechsel des Türanschlags muss wie folgt vorgegangen werden:
- Die nachfolgend beschriebenen Tätigkeiten müssen mit Hilfe einer zweiten Person durchgeführt werden, um ein Herunterfallen der Türen zu vermeiden.
- Die Tür bei aufrecht stehendem Gerät öffnen. Lösen Sie die Schrauben und entfer-
nen Sie die Kunststoffverkleidung der oberen Tür.
- Entfernen Sie das kleine Kunststoffteil von der Kunststoffverkleidung der Tür und bringen Sie es an der anderen Seite (d) wieder an.
- Legen Sie das Gerät mit der Rückseite nach unten ab.

text_image
d d 0 0- Lösen Sie die Schraube des Scharnierabdeckstopfens (a).
- Schrauben Sie das obere Türscharnier ab und nehmen Sie es ab (b).
- Lösen Sie die Schraube und entfernen Sie den Türanschlag (c).

- Entfernen Sie die Tür.
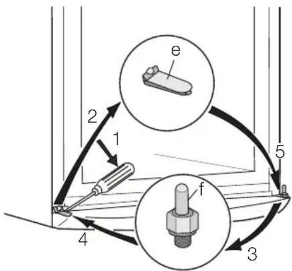
- Entfernen Sie mit einem Werkzeug die Abdeckung (e), schrauben Sie den unteren Scharnierstift (f) ab und auf der gegenüberliegenden Seite wieder an.
- Bringen Sie die Abdeckung (e) auf der entgegengesetzten Seite wieder an.
- Bringen Sie die Tür wieder an.
- Stellen Sie sicher, dass die Frontplatte der Türen parallel zur Frontplatte der oberen Tür ist.
- Befestigen Sie den Türstopper auf der gegenüber liegenden Seite.
- Das obere Scharnier, das sich im Beutel mit der Anleitung befindet, an der gegenüber liegenden Seite ansetzen und befestigen.
• Die Schraube des neuen Scharniers der Abdeckung, die sich ebenfalls im Beutel mit der Anleitung befindet, festziehen.

text_image
e 2 1 5 f 3 4- Heben Sie das Gerät in die vertikale Position.
- Öffnen Sie die Türe und befestigen Sie die Kunststoffabdeckung der oberen Türe mit den Schrauben.

- Bringen Sie den Griff auf der gegenüber liegenden Seite an und schließen Sie die Öffnungen mit den Plastikstopfen aus dem Beutel mit der Anleitung.

Warnung! Schieben Sie das Gerät wieder an seinen Standort, richten Sie es waagerecht aus und nehmen Sie es mindestens vier Stunden lang nicht in Betrieb. Schließen Sie es dann an die Stromversorgung an.
Wenden Sie sich bitte an den Kunden- dienst, falls Sie die oben beschriebenen Tä- tigkeiten nicht selbst durchführen möchten. Ein Kundendiensttechniker wird die Türen dann auf Ihre Kosten umbauen.

Warnung! Nach einem Wechsel der Türanschläge stellen Sie bitte sicher,
dass alle Schrauben korrekt angezogen sind und die Magnetdichtung fest am Gerät haftet. Bei niedrigen Umgebungstemperaturen (z.B. im Winter) kann es sein, dass die Türdichtung nicht richtig am Gerät an- liegt. Warten Sie in diesem Fall auf die natürliche Anpassung der Dichtung. Le- gen Sie das Gerät mit der Rückseite nach unten ab.
HINWEISE ZUM UMWELTSCHUTZ
Das Symbol ☒auf dem Produkt oder seiner Verpackung weist darauf hin, dass dieses Produkt nicht als normaler Haushaltsabfall zu behandeln ist, sondern an einem Sammelpunkt für das Recycling von elektrischen und elektronischen Geräten abgegeben werden muss. Durch Ihren Beitrag zum korrekten Entsorgen
dieses Produkts schützen Sie die Umwelt und die Gesundheit Ihrer Mitmenschen. Umwelt und Gesundheit werden durch falsches Entsorgen gefährdet. Weitere Informationen über das Recycling dieses Produkts erhalten Sie von Ihrem Rathaus, Ihrer Müllabfuhr oder dem Geschäft, in dem Sie das Produkt gekauft haben.

www.electrolux.com/shop




EinfachAnleitung