ERC 39350 W - Réfrigérateur ELECTROLUX - Notice d'utilisation et mode d'emploi gratuit
Retrouvez gratuitement la notice de l'appareil ERC 39350 W ELECTROLUX au format PDF.
| Caractéristiques | Détails |
|---|---|
| Type de réfrigérateur | Réfrigérateur combiné |
| Capacité totale | 300 litres |
| Classe énergétique | A++ |
| Dimensions (HxLxP) | 185 x 60 x 65 cm |
| Système de refroidissement | Froid statique |
| Niveau sonore | 40 dB |
| Fonctionnalités supplémentaires | Éclairage LED, tiroir à légumes, étagères en verre |
| Entretien | Dégivrage manuel recommandé |
| Sécurité | Système de verrouillage de porte |
| Garantie | 2 ans |
| Informations avant achat | Vérifier les dimensions pour l'installation |
FOIRE AUX QUESTIONS - ERC 39350 W ELECTROLUX
Questions des utilisateurs sur ERC 39350 W ELECTROLUX
0 question sur cet appareil. Repondez a celles que vous connaissez ou posez la votre.
Poser une nouvelle question sur cet appareil
Téléchargez la notice de votre Réfrigérateur au format PDF gratuitement ! Retrouvez votre notice ERC 39350 W - ELECTROLUX et reprennez votre appareil électronique en main. Sur cette page sont publiés tous les documents nécessaires à l'utilisation de votre appareil ERC 39350 W de la marque ELECTROLUX.
MODE D'EMPLOI ERC 39350 W ELECTROLUX
notice d'utilisation
benutzerinformation
Køleskab
Koelkast
Fridge
Réfrigérateur
Kühlschrank
Partagez notre imagination sur www.electrolux.com
SOMMAIRE
Consignes de sécurité 33
Fonctionnement 35
Première utilisation 36
Utilisation quotidienne 36
Conseils utiles 37
Entretien et nettoyage 37
En cas d'anomalie de fonctionnement
38
Caractéristiques techniques 40
Installation 41
En matière de sauvegarde de
l'environnement 43
Sous réserve de modifications

CONSIGNES DE SÉCURITÉ
Pour votre sécurité et garantir une utilisation correcte de l'appareil, lisez attentivement cette notice, y compris les conseils et avertissements, avant d'installer et d'utiliser l'appareil pour la première fois. Pour éviter toute erreur ou accident, veillez à ce que toute personne qui utilise l'appareil connaisse bien son fonctionnement et ses fonctions de sécurité. Conservez cette notice avec l'appareil. Si l'appareil doit être vendu ou cédé à une autre personne, veillez à remettre cette notice au nouveau propriétaire, afin qu'il puisse se familiariser avec son fonctionnement et sa sécurité.
Pour la sécurité des personnes et des biens, conservez et respectez les consignes de sécurité figurant dans cette notice.
Le fabricant décline toute responsabilité en cas de dommages dus au non-respect de ces instructions.
Sécurité des enfants et des personnes vulnérables
- Cet appareil n'est pas destiné à être utilisé par des enfants ou des personnes dont les capacités physiques, sensorielles ou mentales, ou le manque d'expérience et de connaissance les empêchent d'utiliser l'appareil sans risque lorsqu'ils sont sans surveillance ou en l'absence d'instruction d'une personne responsable qui puisse leur assurer une utilisation de l'appareil sans danger.
Empêchez les enfants de jouer avec l'appareil.
- Ne laissez pas les différents emballages à portée des enfants. Ils pourraient s'asphyxier.
- Si l'appareil doit être mis au rebut, veillez à couper le câble d'alimentation électrique au ras de l'appareil pour éviter les risques d'électrocution. Démontez la porte pour éviter que des enfants ne restent enfermés à l'intérieur.
- Cet appareil est muni de fermetures magnétiques. S'il remplace un appareil équipé d'une fermeture à ressort, nous vous conseillons de rendre celle-ci inutilisable avant de vous en débarrasser. Ceci afin d'éviter aux enfants de s'enfermer dans l'appareil et de mettre ainsi leur vie en danger.
Mesures générales de sécurité
Attention Veillez à ce que les orifices de ventilation ne soient pas obstrués.
- Cet appareil est destiné uniquement à la conservation d'aliments et/ou de boissons dans le cadre d'un usage domestique normal, tel que celui décrit dans la présente notice.
- N'utilisez pas d'appareils électriques, d'agents chimiques ou tout autre système artificiel pour accélérer le processus de dégivrage.
- N'utilisez pas d'autres appareils électriques (par exemple, sorbetières) à l'intérieur d'appareils réfrigérants sauf s'ils sont homologués pour cet usage par leur fabricant.
- Faites très attention lorsque vous déplacez l'appareil afin de ne pas endomma-
ger des parties du circuit de refroidissement et ainsi d'éviter des risques de fuite.
- Le circuit de refroidissement de l'appareil contient de l'isobutane (R600a), un gaz naturel offrant un haut niveau de compatibilité avec l'environnement mais qui est néanmoins inflammable.
Pendant le transport et l'installation de l'appareil, assurez-vous qu'aucune pièce du circuit de refroidissement n'est endommagée.
Si tel est le cas :
- Évitez les flammes vives (briquet) et tout autre allumage (étincelles).
- Aérez soigneusement la pièce où se trouve l'appareil.
- Ne modifiez pas les spécifications de l'appareil. Un cordon d'alimentation endommagé peut être la cause de courts-circuits, d'incendies et/ou de décharges électriques.
Avertissement Les composants électriques (cordon d'alimentation, prise, compresseur) doivent être remplacés par un technicien d'entretien agréé ou par un électricien spécialisé.
- L'appareil ne doit pas être raccordé à l'aide d'un prolongateur, d'une prise multiple ou d'un raccordement multiple (risque d'incendie).
- Assurez-vous que la prise n'est pas écrasée ou endommagée par l'arrière de l'appareil. Une prise de courant endommagée peut surchauffer et provoquer un incendie.
- Vérifiez que la prise murale reste accessible une fois que l'installation est terminée.
- Ne débranchez pas l'appareil en tirant sur le câble, particulièrement lorsque l'appareil est tiré de son logement.
- Si la fiche du cordon d'alimentation est desserrée, ne la branchez pas dans la prise murale. Risque d'électrocution ou d'incendie !
- N'utilisez pas l'appareil si le diffuseur de l'ampoule d'éclairage n'est pas présent ^16) pour l'éclairage intérieur.
- Cet appareil est lourd. Faites attention en le déplaçant.
- Ne touchez pas avec les mains humides les surfaces givrées et les produits congelés (risque de brûlure et d'arrachement de la peau).
- Évitez une exposition prolongée de l'appareil aux rayons solaires.
- Ampoules ^17) utilisées dans cet appareil sont des ampoules spéciales dédiées uniquement à un usage avec des appareils ménagers. Elles ne conviennent pas à l'éclairage des pièces d'une habitation.
Utilisation quotidienne
- Ne posez pas d'éléments chauds sur les parties en plastique de l'appareil.
- Ne stockez pas de gaz ou de liquides inflammables dans l'appareil (risque d'explosion).
- Ne placez pas d'aliments directement contre la sortie d'air sur la paroi arrière de l'appareil. ^18)
- Un produit décongelé ne doit jamais être recongelé.
- Conservez les aliments emballés conformément aux instructions de leur fabricant.
- Respectez scrupuleusement les conseils de conservation donnés par le fabricant de l'appareil. Consultez les instructions respectives.
- Ne mettez pas de bouteilles ni de boîtes de boissons gazeuses dans le compartiment congélateur, car la pression se formant à l'intérieur du contenant pourrait le faire éclater et endommager ainsi l'appareil.
- Ne consommez pas certains produits tels que les bâtonnets glacés dès leur sortie de l'appareil, car ils peuvent provoquer des brûlures.
Entretien et nettoyage
- Avant toute opération d'entretien, mettez l'appareil hors tension et débranchez-le de la prise de courant.
- N'utilisez pas d'objets métalliques pour nettoyer l'appareil.
- N'utilisez pas d'objet tranchant pour gratter la couche de givre. Utilisez une spatule en plastique.
- Contrôlez régulièrement l'orifice d'évacuation de l'eau de dégivrage dans le compartiment réfrigérateur. Nettoyez-le, si be-
soin. Si l'orifice est bouché, l'eau s'écoulera en bas de l'appareil.
Installation
Important Avant de procéder au branchement électrique, respectez scrupuleusement les instructions fournies dans cette notice.
- Déballez l'appareil et vérifiez qu'il n'est pas endommagé. Ne branchez pas l'appareil s'il est endommagé. Signalez immédiatement au revendeur de l'appareil les
dommages constatés. Dans ce cas, gar- dez l'emballage. - Il est conseillé d'attendre au moins quatre heures avant de brancher l'appareil pour que le circuit frigorifique soit stabilisé.
- Veillez à ce que l'air circule librement autour de l'appareil pour éviter qu'il ne surchauffe. Pour assurer une ventilation suffisante, respectez les instructions de la notice (chapitre Installation).
- Placez l'appareil dos au mur pour éviter tout contact avec le compresseur et le condenseur (risque de brûlure).
- Placez de préférence votre appareil loin d'une source de chaleur (chauffage, cuisson ou rayons solaires trop intenses).
- Assurez-vous que la prise murale reste accessible après l'installation de l'appareil.
- Branchez à l'alimentation en eau potable uniquement. ^19)
Maintenance
- Les branchements électriques nécessaires à l'entretien de l'appareil doivent être réalisés par un électricien qualifié ou une personne compétente.
- Cet appareil ne doit être entretenu et réparé que par un Service après-vente autorisé, exclusivement avec des pièces d'origine.
Protection de l'environnement
Le système frigorifique et l'isolation de votre appareil ne contiennent pas de C.F.C. contribuant ainsi à préserver l'environnement. L'appareil ne doit pas être mis au rebut avec les ordures ménagères et les déchets urbains. La mousse d'isolation contient des gaz inflammables : l'appareil sera mis au rebut conformément aux règlements applicables disponibles auprès des autorités locales. Veillez à ne pas détériorer les circuits frigorifiques, notamment au niveau du condenseur. Les matériaux utilisés dans cet appareil identifiés par le symbole 📊 sont recyclables.
FONCTIONNEMENT
Mise en fonctionnement
Branchez l'appareil sur une prise murale. Tournez le bouton du thermostat dans le sens des aiguilles d'une montre sur une position moyenne.
Mise à l'arrêt
Pour mettre à l'arrêt l'appareil, tournez le bouton du thermostat sur la position "O".
Réglage de la température
La température est réglée automatiquement. Pour faire fonctionner l'appareil, procédez comme suit :
- tournez le bouton du thermostat vers le bas pour obtenir un réglage de froid minimum.
- tournez le bouton du thermostat vers le haut pour obtenir un réglage de froid maximum.
i Une position moyenne est la plus indiquée.
Toutefois, le réglage doit être choisi en tenant compte du fait que la température à l'intérieur de l'appareil dépend de plusieurs facteurs :
- la température ambiante
- la fréquence d'ouverture de la porte
- la quantité de denrées stockées
- l'emplacement de l'appareil.
Important Si le thermostat est réglé sur la position de froid maximum, lorsque la température ambiante est élevée et que l'appareil est plein, il est possible que le compresseur fonctionne en régime continu. Dans ce cas, il y a un risque de formation excessive de givre sur la paroi postérieure à l'intérieur de l'appareil. Pour éviter cet inconvénient, placez le thermostat sur une température plus élevée de façon à permettre un dégivrage automatique et, par conséquent, des économies de courant.
PREMIÈRE UTILISATION
Nettoyage intérieur
Avant d'utiliser l'appareil pour la première fois, nettoyez l'intérieur et tous les accessoires internes avec de l'eau tiède savonneuse pour supprimer l'odeur caractéristique du "neuf" puis séchez soigneusement.
Important N'utilisez pas de produits abrasifs, poudre à récurer, éponge métallique pour ne pas abîmer la finition.
UTILISATION QUOTIDIENNE
Clayettes amovibles
Les parois du réfrigérateur sont équipées d'une série de glissières pour que les clayettes puissent être placées en fonction des be-soins.

Emplacement des balconnets de la porte
En fonction de la taille des paquets d'ali- ments conservés, les balconnets de la por- te peuvent être positionnés à différentes ha- teurs.
Pour les ajuster, procédez comme suit : tirez progressivement dans le sens des flèches pour les dégager, puis repositionnez-les selon les besoins.

Placez les bouteilles (ouverture vers l'avant) dans le compartiment prévu à cet effet.
Important Si le compartiment est positionné dans le sens horizontal, n'y placer que des bouteilles fermées.

Ce porte-bouteilles peut être incliné afin de pouvoir y ranger des bouteilles déjà ouvertes. Pour ce faire, tirez le compartiment vers le haut afin qu'il puisse tourner vers le haut et être placé sur le niveau supérieur.

Conseils pour l'économie d'énergie
- N'ouvrez pas la porte trop souvent ou plus longtemps que nécessaire.
- Si la température ambiante est élevée, le dispositif de réglage de température est sur la position de froid maximum et l'appareil est plein : il est possible que le compresseur fonctionne en régime continu, d'où un risque de formation excessive de givre sur l'évaporateur. Pour éviter ceci, modifiez la position du dispositif de réglage de température de façon à obtenir des périodes d'arrêt du compresseur et ainsi permettre un dégivrage automatique, d'où des économies d'énergie.
Conseils pour la réfrigération de denrées fraîches
Pour obtenir les meilleures performances possibles :
- n'introduisez pas d'aliments encore chauds ou de liquides en évaporation dans le réfrigérateur
- couvrez ou enveloppez soigneusement les aliments, surtout s'ils sont aromatiques
- placez les aliments pour que l'air puisse circuler librement autour
ENTRETIEN ET NETTOYAGE

Attention débrancher l'appareil avant toute opération d'entretien.

Cet appareil contient des hydrocarbures dans son circuit réfrigérant : l'entretien et la recharge ne doivent donc être effectués que par du personnel autorisé.
Conseils pour la réfrigération
Conseils utiles :
Viande (tous les types) : enveloppez-la dans des sachets en plastique et placez-la sur la tablette en verre au-dessus du bac à légumes.
La période de conservation est de 1 à 2 jours au maximum.
Aliments cuits, plats froids, etc. : placez-les bien couverts sur une clayette.
Fruits et légumes : placez-les une fois nettoyés dans le(s) bac(s) à légumes fourni(s). Beurre et fromage : placez-les dans des récipients étanches spéciaux ou enveloppez-les soigneusement dans des feuilles d'aluminium ou de polyéthylène, pour emmagasiner le moins d'air possible.
Lait en bouteille : bouchez-le et placez-le dans le balconnet de la contreporte réservé aux bouteilles.
Bananes, pommes de terre, oignons et ail ne se conservent pas au réfrigérateur, s'ils ne sont pas correctement emballés.
Nettoyage périodique
Cet appareil doit être nettoyé régulièrement :
- nettoyez l'intérieur et tous les accessoires avec de l'eau tiède savonneuse.
- vérifiez régulièrement les joints de porte et nettoyez-les en les essuyant pour éviter toute accumulation de déchets.
- rincez et séchez soigneusement.
Important Ne pas tirer, déplacer ou endommager les tuyaux et/ou câbles qui se trouvent à l'intérieur de l'appareil.
Ne JAMAIS utiliser de produits abrasifs ou caustiques ni d'éponges avec grattoir pour nettoyer l'intérieur de façon à ne pas l'abîmer et laisser de fortes odeurs.
Nettoyer le condenseur (grille noire) et le compresseur situés à l'arrière de l'appareil avec une brosse ou un aspirateur. Cette opération améliore les performances de l'appareil et permet des économies d'énergie.
Important Attention à ne pas endommager le système de réfrigération.
De nombreux détergents pour la cuisine recommandés par les fabricants contiennent des produits chimiques qui peuvent attaquer/endommager les pièces en plastique utilisées dans cet appareil. Il est par conséquent recommandé d'utiliser seulement de l'eau chaude additionnée d'un peu de savon liquide pour nettoyer la carrosserie de l'appareil.
Après le nettoyage, rebranchez l'appareil.
Dégivrage du réfrigérateur
Le givre est automatiquement éliminé de l'évaporateur du compartiment réfrigérateur à chaque arrêt du compresseur, en cours d'utilisation normale. L'eau de dégivrage est collectée dans un récipient spécial situé à l'arrière de l'appareil, au-dessus du compresseur, d'où elle s'évapore.
Il est important de nettoyer régulièrement l'orifice d'écoulement de la gouttière d'évacuation de l'eau de dégivrage située au milieu du compartiment réfrigérateur pour empêcher l'eau de déborder et de couler sur les aliments qui se trouvent à l'intérieur. Nettoyez l'orifice d'écoulement de l'eau de dégivrage avec le bâtonnet spécial se trouvant déjà dans l'orifice.

En cas d'absence prolongée ou de non-utilisation
Prenez les précautions suivantes :
- débranchez l'appareil
• retirez tous les aliments - dégivrez ^20) et nettoyez l'appareil et tous les accessoires
- laissez la porte/les portes entrouverte(s) pour prévenir la formation d'odeurs désagréables.
Si, toutefois, vous n'avez pas la possibilité de débrancher et vider l'appareil, faites vérifier régulièrement son bon fonctionnement pour éviter la détérioration des aliments en cas de panne de courant.
EN CAS D'ANOMALIE DE FONCTIONNEMENT

Avertissement Avant de résoudre les problèmes, débranchez l'appareil.
La résolution des problèmes, non mentionnés dans le présent manuel, doit être exclusivement confiée à un électricien qualifié ou une personne compétente.
Important Certains bruits pendant le fonctionnement (compresseur, système réfrigérant) sont normaux.
| Anomalie Cause possible Remède | ||
| L'appareil ne fonctionne pas. L'ampoule ne fonctionne pas. | L'appareil est à l'arrêt. Mettez l'appareil en fonctionnement. | |
| La fiche n'est pas correctement | branchée sur la prise de courant. | Branchez correctement la fiche sur la prise de courant. |
| Le courant n'arrive pas à l'appareil. La prise de courant n'est pas alimentée. | Branchez un autre appareil électrique sur la prise de courant.Faites appel à un électricien qualifié. | |
| L'ampoule ne fonctionne pas. | L'ampoule est en mode veille. Ouvrez et fermez la porte. | |
| L'ampoule est défectueuse. | Consultez le paragraphe "Remplacement de l'ampoule". | |
| Le compresseur fonctionne en permanence. | La température n'est pas correc-tement réglée. | Sélectionnez une température plus élevée. |
| La porte n'est pas correctement fermée. | Consultez le paragraphe "Fermeture de la porte". | |
| La porte a été ouverte trop sou-vent. | Ne laissez pas la porte ouverte plus longtemps que nécessaire. | |
| La température du produit est trop élevée. | Laissez le produit revenir à température ambiante avant de le ran-ger dans l'appareil. | |
| La température ambiante est trop élevée. | Réduisez la température ambiante. | |
| De l'eau s'écoule sur la plaque arrière du compartiment réfrigérateur. | Pendant le dégivrage automatique, le givre fond sur la plaque arrière. | Ce phénomène est normal. |
| De l'eau s'écoule dans le compartiment réfrigéra-teur. | La gouttière d'évacuation de l'eau de dégivrage est obstruée. | Nettoyez la gouttière d'évacuation. |
| Des produits empêchent l'eau de s'écouler dans le réservoir d'eau. | Assurez-vous que les produits ne touchent pas la plaque arrière. | |
| De l'eau coule sur le sol. L'eau de dégivrage ne s'écoule pas dans le plateau d'évaporation situé au-dessus du compresseur. | Fixez la gouttière d'évacuation de l'eau au plateau d'évaporation. | |
| La température à l'intérieur de l'appareil est trop basse. | La température n'est pas correc-tement réglée. | Sélectionnez une température plus élevée. |
| La température à l'intérieur de l'appareil est trop élevée. | La température n'est pas correc-tement réglée. | Sélectionnez une température plus basse. |
| La porte n'est pas correctement fermée. | Consultez le paragraphe "Fermeture de la porte". | |
| La température du produit est trop élevée. | Laissez le produit revenir à température ambiante avant de le ran-ger dans l'appareil. | |
| Trop de produits ont été introduits simultanément. | Introduisez moins de produits en même temps. | |
| L'air froid ne circule pas dans l'appareil. | Assurez-vous que l'air froid circule dans l'appareil. | |
Remplacement de l'ampoule d'éclairage
- Débranchez l'appareil.
- Retirez la vis du diffuseur.
- Retirez le diffuseur (voir l'illustration).
- Remplacez l'ampoule défectueuse par une ampoule neuve de puissance identique, spécifiquement conçue pour les appareils électroménagers (la puissance maximale est indiquée sur le diffuseur).
- Installez le diffuseur.
- Serrez la vis du diffuseur.
- Branchez l'appareil.
- Ouvrez la porte. Vérifiez que l'ampoule s'allume.
Fermeture de la porte
- Nettoyez les joints de la porte.
- Si nécessaire, ajustez la porte. Consultez le paragraphe "Installation".
- Si nécessaire, remplacez les joints défectueux. Contactez le Service Après-vente.

| Dimensions | ||
| Hauteur 1800 mm | ||
| Largeur 600 mm | ||
| Profondeur 650 mm |
Les caractéristiques techniques figurent sur la plaque signalétique située sur le côté gau-
che à l'intérieur de l'appareil et sur l'étiquette d'énergie.
INSTALLATION
Pour votre sécurité et le bon fonctionnement de l'appareil, veuillez lire attentivement les "Consignes de sécurité" avant d'installer l'appareil.
Emplacement
L'appareil doit être installé à bonne distance de toute source de chaleur telle que radiateurs, chauffe-eau, lumière directe du soleil etc. Assurez-vous que l'air circule librement à l'arrière de l'appareil. Pour garantir un rendement optimum si l'appareil est installé sous un élément suspendu, la distance entre le haut de l'armoire et l'élément suspendu doit être de 100 mm minimum. Si possible, évitez de placer l'appareil sous des éléments suspendus. La mise à niveau se fait à l'aide d'un ou de plusieurs pieds réglables à la base de l'appareil.
Si l'appareil est placé dans un angle et si le côté avec les charnières est face au mur, la distance entre le mur et l'appareil doit être de 10 mm minimum afin de permettre à la porte de s'ouvrir suffisamment pour pouvoir sortir les clayettes.
Avertissement L'appareil doit pouvoir être débranché à tout moment ; il est donc nécessaire que la prise murale reste accessible après l'installation.

Branchement électrique
Contrôlez, avant de brancher l'appareil, si la tension et la fréquence indiquées sur la plaque signalétique correspondent à celles de votre réseau.
L'appareil doit être relié à la terre. La fiche du câble d'alimentation comporte un logement pour mise à la terre. Si la prise de courant murale n'est pas mise à la terre, branchez l'appareil sur une prise de terre conformément aux normes en vigueur, en demandant conseil à un électricien qualifié.
Le fabricant décline toute responsabilité en cas d'incident suite au non-respect des consignes de sécurité sus-mentionnées.
Cet appareil est conforme aux directives communautaires.
Entretoises arrière
Vous trouverez deux entretoises dans l'appareil qui doivent être installées comme indiqué sur la figure.
Desserrez les vis et introduisez l'entretoise sous la tête de vis, puis resserrez les vis.

Réversibilité de la porte
Avant toute opération, débranchez la fiche de la prise de courant. Pour changer le sens d'ouverture de la porte, procédez comme suit :
- Pour effectuer les opérations suivantes, il est conseillé de se faire aider par une au-
tre personne pour maintenir fermement les portes de l'appareil pendant les opérations.
- Ouvrez la porte quand l'appareil est debout. Dévissez les vis et retirez la moulure en plastique de la porte supérieure.
- Retirez le petit cache en plastique de la moulure en plastique de la porte et remettez-le en place sur le côté opposé (d).
- Couchez l'appareil sur son dos.

text_image
d d• Retirez la vis du cache charnière (a).
- Dévissez la charnière supérieure (b) et en-levez-la.
- Dévissez la vis et retirez la butée de porte (c).

- Enlevez la porte.
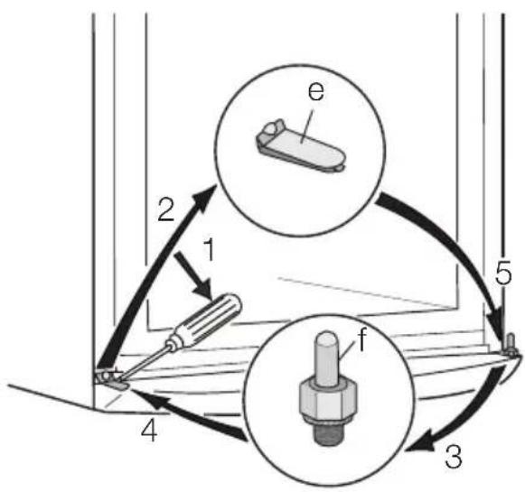
- Enlevez le cache (e) à l'aide d'un outil, dévissez le gond de la charnière inférieure (f) et placez-le sur le côté opposé.
- Réinsérez le cache (e) sur le côté opposé.
-
Replacez la porte.
-
Assurez-vous que le panneau avant des portes est parallèle au panneau avant de l'élément supérieur.
- Fixez la butée de porte sur le côté opposé.
- Positionnez et fixez la charnière supérieure (vous la trouverez dans le sachet de la notice d'utilisation) sur le côté opposé.
- Fixez la vis de la nouvelle charnière (vous la trouverez dans le sachet de la notice d'utilisation).

text_image
e 2 1 4 3 5 f- Remettez l'appareil en position verticale.
- Ouvrez la porte et remettez en place la moulure en plastique de la porte supérieure en utilisant les vis.

- Fixez la poignée sur le côté opposé, puis insérez les capuchons plastique dans les orifices laissés libres (vous les trouverez dans le sachet de la notice d'utilisation).
Avertissement Remettez l'appareil en place, mettez-le d'aplomb, attendez quatre heures au moins puis branchez-le sur la prise de courant.
Si vous ne voulez pas effectuer personnellement les opérations décrites ci-dessus, contactez le S.A.V. le plus proche. Un technicien du S.A.V. pourra inverser le sens d'ouverture de la porte, mais cette intervention vous sera facturée.

Avertissement Après avoir changé le sens d'ouverture des portes, vérifiez que toutes les vis sont correctement
serrées et que le joint magnétique adhère bien à l'appareil.
Si la température ambiante est basse (en hiver, par exemple), il se peut que le joint n'adhère pas parfaitement. Dans ce cas, attendez que le joint reprenne sa taille naturelle. Couchez l'appareil sur son dos.
EN MATIÈRE DE SAUVEGARDE DE L'ENVIRONNEMENT
Le symbole sur le produit ou son emballage indique que ce produit ne peut être traité comme déchet ménager. Il doit être remis au point de collecte dédié à cet effet (collecte et recyclage du matériel électrique et électronique). En procédant à la mise au rebut de l'appareil dans les règles de l'art, nous
préservons l'environnement et notre sécurité, s'assurant ainsi que les déchets seront traités dans des conditions optimum. Pour obtenir plus de détails sur le recyclage de ce produit, veuillez prendre contact avec les services de votre commune ou le magasin où vous avez effectué l'achat.
Notice Facile