ERC 39350 W - Fridge ELECTROLUX - Free user manual and instructions
Find the device manual for free ERC 39350 W ELECTROLUX in PDF.
Questions des utilisateurs sur ERC 39350 W ELECTROLUX
0 question sur cet appareil. Repondez a celles que vous connaissez ou posez la votre.
Poser une nouvelle question sur cet appareil
Download the instructions for your Fridge in PDF format for free! Find your manual ERC 39350 W - ELECTROLUX and take your electronic device back in hand. On this page are published all the documents necessary for the use of your device. ERC 39350 W by ELECTROLUX.
USER MANUAL ERC 39350 W ELECTROLUX
Electrolux. Thinking of you.
natural_image
Line drawing of a hand holding a shelf with a small object on top (no text or symbols)natural_image
Diagram of a storage unit with two upward-pointing arrows inside, no text or symbols presentFlaskehylde
natural_image
Diagram of a cable being inserted into a rack, showing rope routing and a bottle (no text or symbols)natural_image
Diagram of a bottle partially submerged in a wavy line between two parallel plates, with an arrow indicating flow direction (no text or symbols)NYTTIGE OPLYSNINGER OG RÅD
Energisparetips
natural_image
Illustration of a hand holding a tool inside a circular arrow, with no text or symbols present.Pause i brug
natural_image
Line drawing of a hand using a tool to apply a component on a metal bracket (no text or symbols)Lukke døren
text_image
10mm100mm 10mmElektrisk tilslutning
natural_image
Diagram showing a hand operating a switch inside a device, with no visible text or symbolsVending af dør
text_image
Technical diagram showing a mechanical assembly with labeled components 'd' and directional arrows indicating motion or force.text_image
Technical diagram showing mechanical assembly with labeled components a, b, and c, including a close-up of a component detail.text_image
Diagram illustrating a mechanical or electrical system with labeled components and directional arrows indicating motion or flow.natural_image
Technical line drawing of a mechanical bracket with screw fasteners and an inset close-up showing a tool inserted into a component (no text or symbols)Electrolux. Thinking of you.
natural_image
Line drawing of a hand holding a shelf with a wooden board, no text or symbols presentnatural_image
Diagram of a storage unit with two upward-pointing arrows inside, no text or symbols presentFlessenrek
natural_image
Diagram of a bottle connected to coiled wires on a grid-like structure (no text or symbols)natural_image
Diagram of a bottle partially submerged in a coiled tube, with an arrow indicating fluid flow (no text or symbols)natural_image
Illustration of a hand holding a tool inside a circular arrow, with no text or symbols present.natural_image
Line drawing of a hand using a screwdriver to apply a tool to a component on a metal shelf (no text or symbols)De deur sluiten
text_image
10mm100mm 10mmnatural_image
Diagram showing a hand operating a tool on a panel, with an inset magnified view of the process (no text or symbols present)text_image
Technical diagram showing mechanical assembly with labeled components a, b, and c, including a close-up view of a component.natural_image
Technical line drawing of a bracket with screws and a magnified inset showing a tool inserted into a component (no text or symbols)Electrolux. Thinking of you.
Share more of our thinking at www.electrolux.com
CONTENTS
Safety information 23
Operation 25
First use 25
Daily use 25
Helpful hints and tips 26
Care and Cleaning 27
What to do if... 28
Technical data 30
Installation 30
Environmental concerns 32
Subject to change without notice

SAFETY INFORMATION
In the interest of your safety and to ensure the correct use, before installing and first using the appliance, read this user manual carefully, including its hints and warnings. To avoid unnecessary mistakes and accidents, it is important to ensure that all people using the appliance are thoroughly familiar with its operation and safety features. Save these instructions and make sure that they remain with the appliance if it is moved or sold, so that everyone using it through its life will be properly informed on appliance use and safety.
For the safety of life and property keep the precautions of these user's instructions as the manufacturer is not responsible for damages caused by omission.
Children and vulnerable people safety
- This appliance is not intended for use by persons (including children) with reduced physical, sensory or mental capabilities, or lack of experience and knowledge, unless they have been given supervision or instruction concerning use of the appliance by a person responsible for their safety. Children should be supervised to ensure that they do not play with the appliance.
- Keep all packaging well away from children. There is risk of suffocation.
- If you are discarding the appliance pull the plug out of the socket, cut the connection cable (as close to the appliance as you can) and remove the door to prevent playing children to suffer electric shock or to close themselves into it.
- If this appliance featuring magnetic door seals is to replace an older appliance having a spring lock (latch) on the door or lid, be sure to make that spring lock unusable before you discard the old appliance. This will prevent it from becoming a death trap for a child.
General safety

Caution! Keep ventilation openings clear of obstruction.
- The appliance is intended for keeping foodstuff and/or beverages in a normal household as explained in this instruction booklet.
- Do not use a mechanical device or any artificial means to speed up the thawing process.
- Do not use other electrical appliances (such as ice cream makers) inside of refrigerating appliances, unless they are approved for this purpose by the manufacturer.
- Do not damage the refrigerant circuit.
- The refrigerant isobutane (R600a) is contained within the refrigerant circuit of the appliance, a natural gas with a high level of environmental compatibility, which is nevertheless flammable.
During transportation and installation of the appliance, be certain that none of the components of the refrigerant circuit become damaged.
If the refrigerant circuit should become damaged:
- avoid open flames and sources of ignition
– thoroughly ventilate the room in which the appliance is situated
- It is dangerous to alter the specifications or modify this product in any way. Any damage to the cord may cause a short-circuit, fire and/or electric shock.

Warning! Any electrical component (power cord, plug, compressor) must be replaced by a certified service agent or qualified service personnel.
- Power cord must not be lengthened.
- Make sure that the power plug is not squashed or damaged by the back of the appliance. A squashed or damaged power plug may overheat and cause a fire.
- Make sure that you can come to the mains plug of the appliance.
- Do not pull the mains cable.
- If the power plug socket is loose, do not insert the power plug. There is a risk of electric shock or fire.
-
You must not operate the appliance without the lamp cover ^11) of interior lighting.
-
This appliance is heavy. Care should be taken when moving it.
- Do not remove nor touch items from the freezer compartment if your hands are damp/wet, as this could cause skin abrasions or frost/freezer burns.
- Avoid prolonged exposure of the appliance to direct sunlight.
- Bulb lamps ^12) used in this appliance are special purpose lamps selected for household appliances use only. They are not suitable for household room illumination.
Daily Use
- Do not put hot pot on the plastic parts in the appliance.
- Do not store flammable gas and liquid in the appliance, because they may explode.
- Do not place food products directly against the air outlet on the rear wall. ^13)
- Frozen food must not be re-frozen once it has been thawed out.
-
Store pre-packed frozen food in accordance with the frozen food manufacturer's instructions.
-
Appliance's manufacturers storage recommendations should be strictly adhered to. Refer to relevant instructions.
- Do not place carbonated or fizzy drinks in the freezer compartment as it creates pressure on the container, which may cause it to explode, resulting in damage to the appliance.
- Ice lollies can cause frost burns if consumed straight from the appliance.
Care and cleaning
- Before maintenance, switch off the appliance and disconnect the mains plug from the mains socket.
- Do not clean the appliance with metal objects.
- Do not use sharp objects to remove frost from the appliance. Use a plastic scraper.
- Regularly examine the drain in the refrigerator for defrosted water. If necessary, clean the drain. If the drain is blocked, water will collect in the bottom of the appliance.
Installation
Important! For electrical connection carefully follow the instructions given in specific paragraphs.
- Unpack the appliance and check if there are damages on it. Do not connect the appliance if it is damaged. Report possible damages immediately to the place you bought it. In that case retain packing.
- It is advisable to wait at least four hours before connecting the appliance to allow the oil to flow back in the compressor.
- Adequate air circulation should be around the appliance, lacking this leads to overheating. To achieve sufficient ventilation follow the instructions relevant to installation.
- Wherever possible the back of the product should be against a wall to avoid touching or catching warm parts (compressor, condenser) to prevent possible burn.
- The appliance must not be located close to radiators or cookers.
- Make sure that the mains plug is accessible after the installation of the appliance.
- Connect to potable water supply only. ^14)
Service
- Any electrical work required to do the servicing of the appliance should be carried out by a qualified electrician or competent person.
- This product must be serviced by an authorized Service Centre, and only genuine spare parts must be used.
Environment Protection

This appliance does not contain gasses which could damage the ozone layer,
in either its refrigerant circuit or insulation materials. The appliance shall not be discarded together with the urban refuse and rubbish. The insulation foam contains flammable gases: the appliance shall be disposed according to the applicable regulations to obtain from your local authorities. Avoid damaging the cooling unit, especially at the rear near the heat exchanger. The materials used on this appliance marked by the symbol 🌐 are recyclable.
OPERATION
Switching on
Insert the plug into the wall socket. Turn the Temperature regulator clockwise to a medium setting.
Switching off
To turn off the appliance, turn the Temperature regulator to the "O" position.
Temperature regulation
The temperature is automatically regulated. To operate the appliance, proceed as follows:
- turn the Temperature regulator toward lower settings to obtain the minimum coldness.
- turn the Temperature regulator toward higher settings to obtain the maximum coldness.
i A medium setting is generally the most suitable.
However, the exact setting should be chosen keeping in mind that the temperature inside the appliance depends on:
- room temperature
• how often the door is opened
• the quantity of food stored - the location of the appliance.
Important! If the ambient temperature is high or the appliance is fully loaded, and the appliance is set to the lowest temperatures, it may run continuously causing frost to form on the rear wall. In this case the dial must be set to a higher temperature to allow automatic defrosting and therefore reduced energy consumption.
FIRST USE
Cleaning the interior
Before using the appliance for the first time, wash the interior and all internal accessories with lukewarm water and some neutral soap so as to remove the typical smell of a brand-new product, then dry thoroughly.
DAILY USE
Movable shelves
The walls of the refrigerator are equipped with a series of runners so that the shelves can be positioned as desired.
Important! Do not use detergents or abrasive powders, as these will damage the finish.

natural_image
Line drawing of a hand holding a shelf with a small object on top (no text or symbols)Positioning the door shelves
To permit storage of food packages of various sizes, the door shelves can be placed at different heights.
To make these adjustments proceed as follows:
gradually pull the shelf in the direction of the arrows until it comes free, then reposition as required.

natural_image
Diagram of a container with two upward-pointing arrows inside, no text or symbols presentHELPFUL HINTS AND TIPS
Hints for energy saving
- Do not open the door frequently or leave it open longer than absolutely necessary.
- If the ambient temperature is high and the Temperature Regulator is set to low temperature and the appliance is fully loaded, the compressor may run continuously, causing frost or ice on the evaporator. If this happens, set the Temperature Reg-
Bottle rack
Place the bottles (with the opening facing front) in the pre-positioned shelf.
Important! If the shelf is positioned horizontally, place only closed bottles.

natural_image
Diagram of a mechanical assembly with a cylindrical component and coiled wires, no text or symbols presentThis bottle holder shelf can be tilted in order to store previously opened bottles. To obtain this result, pull the shelf up so it can rotate upwards and be placed on the next higher level.

natural_image
Diagram of a bottle partially submerged in a wavy channel with an arrow indicating flow direction (no text or symbols)ulator toward warmer settings to allow automatic defrosting and so a saving in electricity consumption.
Hints for fresh food refrigeration
To obtain the best performance:
- do not store warm food or evaporating liquids in the refrigerator
- do cover or wrap the food, particularly if it has a strong flavour
- position food so that air can circulate freely around it
Hints for refrigeration
Useful hints:
Meat (all types) : wrap in polythene bags and place on the glass shelf above the vegetable drawer.
For safety, store in this way only one or two days at the most.
Cooked foods, cold dishes, etc.: these should be covered and may be placed on any shelf.
Fruit and vegetables: these should be thoroughly cleaned and placed in the special drawer(s) provided.
Butter and cheese: these should be placed in special airtight containers or wrapped in aluminium foil or polythene bags to exclude as much air as possible.
Milk bottles: these should have a cap and should be stored in the bottle rack on the door.
Bananas, potatoes, onions and garlic, if not packed, must not be kept in the refrigerator.
CARE AND CLEANING

Caution! Unplug the appliance before carrying out any maintenance operation.

This appliance contains hydrocarbons in its cooling unit; maintenance and re-charging must therefore only be carried out by authorized technicians.
Periodic cleaning
The equipment has to be cleaned regularly:
- clean the inside and accessories with lukewarm water and some neutral soap.
- regularly check the door seals and wipe clean to ensure they are clean and free from debris.
- rinse and dry thoroughly.
Important! Do not pull, move or damage any pipes and/or cables inside the cabinet. Never use detergents, abrasive powders, highly perfumed cleaning products or wax polishes to clean the interior as this will damage the surface and leave a strong odour.
Clean the condenser (black grill) and the compressor at the back of the appliance with a brush or a vacuum cleaner. This operation will improve the performance of the appliance and save electricity consumption.
Important! Take care of not to damage the cooling system.
Many proprietary kitchen surface cleaners contain chemicals that can attack/damage the plastics used in this appliance. For this reason it is recommended that the outer casing of this appliance is only cleaned with
warm water with a little washing-up liquid added.
After cleaning, reconnect the equipment to the mains supply.
Defrosting of the refrigerator
Frost is automatically eliminated from the evaporator of the refrigerator compartment every time the motor compressor stops, during normal use. The defrost water drains out through a trough into a special container at the back of the appliance, over the motor compressor, where it evaporates. It is important to periodically clean the defrost water drain hole in the middle of the refrigerator compartment channel to prevent the water overflowing and dripping onto the food inside. Use the special cleaner provided, which you will find already inserted into the drain hole.

natural_image
Illustration of a hand holding a tool inside a circular arrow, with no text or symbols present.Periods of non-operation
When the appliance is not in use for long periods, take the following precautions:
- disconnect the appliance from electricity supply
- remove all food
- defrost ^15) and clean the appliance and all accessories
- leave the door/doors ajar to prevent unpleasant smells.
If the cabinet will be kept on, ask somebody to check it once in a while to prevent the food inside from spoiling in case of a power failure.
WHAT TO DO IF...

Warning! Before troubleshooting, disconnect the mains plug from the mains socket.
Only a qualified electrician or competent person must do the troubleshooting that is not in this manual.
Important! There are some sounds during normal use (compressor, refrigerant circulation).
| Problem Possible cause Solution | ||
| The appliance does not operate. The lamp does not operate. | The appliance is switched off. Switch on the appliance. | |
| The mains plug is not connected to the mains socket correctly. | Connect the mains plug to the mains socket correctly. | |
| The appliance has no power. | There is no voltage in the mains socket. | Connect a different electrical appli-ance to the mains socket.Contact a qualified electrician. |
| The lamp does not work. | The lamp is in stand-by. | Close and open the door. |
| The lamp is defective. | Refer to "Replacing the lamp". | |
| The compressor oper-ates continually. | The temperature is not set cor-rectly. | Set a higher temperature. |
| The door is not closed correctly. | Refer to "Closing the door". | |
| The door has been opened too frequently. | Do not keep the door open longer than necessary. | |
| The product temperature is too high. | Let the product temperature de-crease to room temperature be-fore storage. | |
| The room temperature is too high. | Decrease the room temperature. | |
| Water flows on the rear plate of the refrigerator. | During the automatic defrosting process, frost defrosts on the rear plate. | This is correct. |
| Water flows into the refrigerator. | The water outlet is clogged. Clean the water outlet. | |
| Products prevent that water flows into the water collector. | Make sure that products do not touch the rear plate. | |
| Water flows on the ground. | The melting water outlet does not flow in the evaporative tray above the compressor. | Attach the melting water outlet to the evaporative tray. |
| The temperature in the appliance is too low. | The temperature regulator is not set correctly. | Set a higher temperature. |
| The temperature in the appliance is too high. | The temperature regulator is not set correctly. | Set a lower temperature. |
| The door is not closed correctly. | Refer to "Closing the door". | |
| The product temperature is too high. | Let the product temperature decrease to room temperature before storage. | |
| Many products are stored at the same time. | Store less products at the same time. | |
| There is no cold air circulation in the appliance. | Make sure that there is cold air circulation in the appliance. | |
Replacing the lamp
- Disconnect the mains plug from the mains socket.
- Remove the screw from the lamp cover.
- Remove the lamp cover (refer to the illustration).
- Replace the used lamp with a new lamp of the same power and specifically designed for household appliances. (the maximum power is shown on the lamp cover).
- Install the lamp cover.
- Tighten the screw to the lamp cover.
- Connect the mains plug to the mains socket.
- Open the door. Make sure that the lamp comes on.

natural_image
Line drawing of a hand using a screwdriver to adjust or install a component, with no visible text or symbols.Closing the door
- Clean the door gaskets.
- If necessary, adjust the door. Refer to "Installation".
- If necessary, replace the defective door gaskets. Contact the Service Center.
TECHNICAL DATA
| Dimension | ||
| Height 1800 mm | ||
| Width 600 mm | ||
| Depth 650 mm |
The technical information are situated in the rating plate on the internal left side of the appliance and in the energy label.
INSTALLATION
Read the "Safety Information" carefully for your safety and correct operation of the appliance before installing the appliance.
Location
The appliance should be installed well away from sources of heat such as radiators, boilers, direct sunlight etc. Ensure that air can circulate freely around the back of the cabinet. To ensure best performance, if the appliance is positioned below an overhanging wall unit, the minimum distance between the top of the cabinet and the wall unit must be at least 100 mm. Ideally, however, the appliance should not be positioned below overhanging wall units. Accurate levelling is ensured by one or more adjustable feet at the base of the cabinet.
If the cabinet is placed in a corner and the side with the hinges facing the wall, the distance between the wall and the cabinet must be at least 10 mm to allow the door to open enough so that the shelves can be removed.
Warning! It must be possible to disconnect the appliance from the mains power supply; the plug must therefore be easily accessible after installation.

text_image
10mm100mm 10mmElectrical connection
Before plugging in, ensure that the voltage and frequency shown on the rating plate correspond to your domestic power supply.
The appliance must be earthed. The power supply cable plug is provided with a contact for this purpose. If the domestic power supply socket is not earthed, connect the appliance to a separate earth in compliance with current regulations, consulting a qualified electrician.
The manufacturer declines all responsibility if the above safety precautions are not observed.
This appliance complies with the E.E.C. Directives.
Rear spacers
Inside the appliance you find two spacers which must be fitted as shown in the figure.
Slacken the screws and insert the spacer under the screw head, then retighten the screws.

natural_image
Diagram showing a hand using a tool to adjust or install a panel, with no visible text or symbols.Door reversibility
Before carrying out any operations, remove the plug from the power socket. To change the opening direction of the door, proceed as follows:
- To carry out the following operations, we suggest that this be made with another person that will keep a firm hold on the doors of the appliance during the operations.
- Open the door with the appliance in the upright position. Unscrew the screws and remove the upper door plastic trim.
- Remove the little plastic cover from the door plastic trim and refit on the opposite side (d).
- Lay down the appliance back side down.

text_image
Technical diagram showing a mechanical assembly with labeled components 'd' and directional arrows indicating motion or force.- Remove the screw of the hinge cover plug (a).
- Unscrew the upper hinge and remove it (b).
- Unscrew the screw and remove the door stopper (c).

text_image
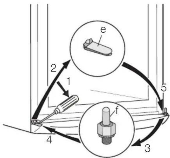
Technical diagram showing mechanical assembly with labeled parts a, b, and c, including a close-up of a component.- Remove the door.
- Remove using a tool the cover (e), un-screw the lower hinge pivot (f) and place it on the opposite side.
- Re-insert the cover (e) on the opposite side.
- Re-insert the door.
- Pay attention that the front board of the doors are parallel to the front board of the top.
• Fix the door stopper on the opposite side. - Position and fix the upper hinge (that can be found in the instruction for use bag) on the opposite side.
- Fix the screw of the new cover hinge (that can be found in the instruction for use bag).

text_image
e 2 1 5 4 f 3- Lift up the appliance to vertical position. - Open the door and reposition the upper door plastic trim with screws.

natural_image
Technical line drawing of a bracket with screws and a magnified inset showing a screwdriver inserted into a component (no text or symbols)ENVIRONMENTAL CONCERNS
The symbol ☒ on the product or on its packaging indicates that this product may not be treated as household waste. Instead it should be taken to the appropriate collection point for the recycling of electrical and electronic equipment. By ensuring this product is disposed of correctly, you will help prevent potential negative
- Fix the handle on the opposite side, insert the plastic plugs into the holes left open that can be found in the instruction for use bag.
Warning! Reposition, level the appliance, wait for at least four hours and then connect it to the power socket.
In case you do not want to carry out the above mentioned operations, contact the nearest After Sales Service Force. The After Sales Service specialist will carry out the reversibility of the doors at your cost.
Warning! After having reversed the opening direction of the doors check that all the screws are properly tightened and that the magnetic seal adheres to the cabinet. If the ambient temperature is cold (i.e. in Winter), the gasket may not fit perfectly to the cabinet. In that case, wait for the natural fitting of the gasket. Lay down the appliance back side down.
consequences for the environment and human health, which could otherwise be caused by inappropriate waste handling of this product. For more detailed information about recycling of this product, please contact your local council, your household waste disposal service or the shop where you purchased the product.
Electrolux. Thinking of you.
natural_image
Line drawing of a hand holding a shelf with a wooden plank (no text or symbols)natural_image
Diagram of a container with two upward-pointing arrows inside, no text or symbols presentPorte-bouteilles
natural_image
Diagram of a mechanical or electrical component with coiled wires and a cylindrical component, no text or symbols present.natural_image
Diagram of a bottle partially submerged in a wavy channel with an arrow indicating flow or movement (no text or symbols)CONSEILS UTILES
natural_image
Illustration of a hand holding a tool inside a circular arrow, with no text or symbols present.natural_image
Line drawing of a hand using a screwdriver to apply a tool to a metal component (no text or symbols present)CARACTÉRISTIQUES TECHNIQUES
EasyManual