RHV 994 X - Kuchyňská digestoř ROSIERES - Bezplatný návod k obsluze
Najděte návod k zařízení zdarma RHV 994 X ROSIERES ve formátu PDF.
Dotazy uživatelů ohledně RHV 994 X ROSIERES
0 otázka o tomto zařízení. Odpovězte na ty, které znáte, nebo položte vlastní.
Položte novou otázku o tomto zařízení
Stáhněte si návod pro váš Kuchyňská digestoř ve formátu PDF zdarma! Najděte svůj návod RHV 994 X - ROSIERES a vezměte svůj elektronický přístroj zpět do rukou. Na této stránce jsou zveřejněny všechny dokumenty potřebné k používání vašeho zařízení. RHV 994 X značky ROSIERES.
NÁVOD K OBSLUZE RHV 994 X ROSIERES
Montage- und Gebrauchsanweisung
Instruction on mounting and use
Prescriptions de montage et mode d'emploi
Montagevoorschriften en gebruiksaanwizing
Istruzioni di montaggio e d'uso
Montaje y modo de empleo
Instruções para montagem e'utilização
Инструкция по мontagensу у зацим
Návod na montáž a používání






6
Návod na montáž a použivání
Vyše uvedene instrukce musi byt pri montáži digestore prísně dodrženy. Vyrobce odmitá pržvít jakoukoliv odpovednost za pripadné závady, škody nebo vzniceni digestore, ktere byly zpúsobeny nedodržem im těchto prédpisú.
Použití
Digesto je realizován k použiti v odsavaci verzi s vnějsim vyfukem anebo filtrujici s vinitním Čistěním vzduchu.
Obr.6
Odsávací verze
Digestor je vybavena vzduchovym vyvodem B pro odvod kuchynskych par ven z odvetravaného prostoru - odtahová verze.(Potrubí pro odtah par není současti vlastné digestore).
Filtrujici verze
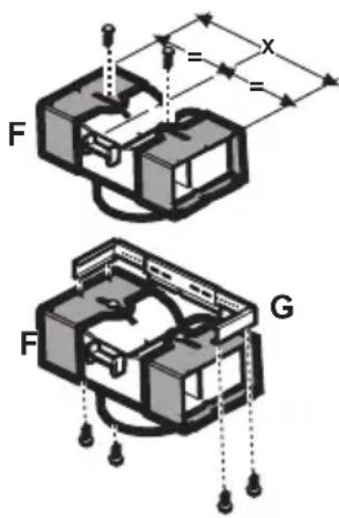
Jestlze není mozné páry pohlcované digestoř odvadět pomoci potrubí ven z mistrnosti, lze použít stejný typ digestоř ve filtracné verzì. V tomto pripadě musí byt nainstalován do digestоř uhlikový filtr a na držák G pripevněna vzduchová Rozbočka F. Pomoci potrubí pripojeného do vzduchoveho vyvodu B jsou odvaděné páry vedeny do vzduchové rozbočky F. Oba spoje jsou jištény paskou se sponou. Přefiltrované páry jsou potě prěs mřížky H vraceny zpět do mistrnosti.(Potrubí pro vedení par a pásky se sponou nejsou součásti dodávyk y vastné digestоř).
Modely bez sacho motoru jsou dodávány pouze v odtahové verzi a musi byt napojeny na externí odsáván.(Neni soucásti dodávky).
Instalace
Minimálni vzdálenost mezi podporou nádoby na varné plose a nejnižsí Časti digestoře nesmi byt mensí než 50cm v pripadě elektrický sporáků 65cm v pripadě plynových Či smíšených sporáků.
Pokud námod na instalaci varného zařizení na plyn doporučuju větů vzdálenost, je třeba se tímto pokynem ridit.
Elektrické pripojeni
Slove napeti musi opodvidat napeti uvedenemu na stitku s technickymi charakteristikami umisteniemu uvnit odsavoce. Je-li odsavoac vybaven zastrkou, napojte odsavoac na zasuvku opodvajici platnym predpisum a umistenou na pristupnem miste. Pokud odsavoac neniy vybaven zastrkou (primé napojeni na sit) použijte bipolarno spinace opodvajiciho platnym predpisum, s kontakty ve vázajemné vzdalenosti minimálne 3 mm (pristupne).
Upozornujeme, ze napajeci kabel musi byt vymenovan autorizovanou servisni sluzbou.
Instalace
Digestor je dodávána se specialnimi hmoždinkami, které jsou vchodné pro zavešeni do vetšiny stropních konstrukci. Přesto by měl zavešeni provost kvalifikovány odborny pracovnik, který rozhodne, zda jsou tyto hmoždinky vchodné pro mistné typ a material stropní konstrukce. Zároven zhodnotí unosnost stropu pro digestor.
Predbezná montáž drázaku (pouze v pripadě, ze je dodáván držák složeny z 3ásti).
Prijpavte 3 casti drzaku ci podpory komiu 4 srouby, sirka drzaku musi byt stejná s vnitrní sirkou teleskopického komiu.
Predbezná montáž deflektor (pouze v pripadé, ze je dodávan deflektor slozený z 3olesti - deflektor musí byt použit pouze pro filtrujíci verzi).
Prijpavte 3 cást deflektoru 3 srouby, sīrka deflektoru musi byt stejna s sīrkou držaku komiu.


Obr. 5-6
Odpojte digestor z hlavní domáci rozvodné desky elektrického proudu.
Odstrańte filtry proti mastnotám a ramec uhlikového filtru.
- Položte odsávací nařizení na rovnou plochu a vsunte do něj dolníčst digestоře.
- Napojte obě Časti na elektrickou sít'.
- Upevnete definitivne srouby digestor k odsavacimu zafrizeni.
- Tuzkou vyznache na stene caru jdouci az ke stropu, ktera rozdeli cely prostor a ktera usnadni montazni operace.
- Umistete vrtaci schema na stenu: svisla delici cara vytistena na derovaci sabloné musi opodvidat stredni delici care vyznacene na stene, mimo to okraj derovaciho schematu opodvda dolnimu okraj digestore:要去 na zreteli, ze dolni cast digestore musi byt po dokencene instalaci byt vzdalena od
varné plochy alespo 50 cm v pripadé elektrickych sporaku a 65 cm v pripadé sporaku plynovych ci smišen'ych.
- Položte dolní poděru na derováci schéma, tak ze se kryje s vyznaceným obdélníkem, vyznáčte oba vnéjsí olvory a vyvrtejte je, odejměte derováci schéma, vsuţe 2 hmoždíky do stěny a upevněte 2 šrouby 5x45mm poděru digestоře.
- Vestlze jsou dodany odmontované, upevnete zavesy dvema srouby po stranach agregatu (7a). Zaveste digestor na dolni podperu (7b).
- Zregulujte vzdalenost digestore od steny.
- Zreguljte horizontali umisteni digestore.
- Ze vnitku odsavacho zařizení vyznácte tuzkou otvor pro definitivné upevnění digestore (jsou nezbytné 1 Či 2 body pro definitivné upevněné).
- Vyjměte digestor z dolní podpěry.
- Na vyznačeném bodu vyvrteje otvor (R8 mm).
- Vsuñte 1 āi 2 hmoždíky do stěny, podle potřeby.
- Umistete podperu vfyku, G" na stenu blizko stropu, pouzijte pritom podperu komiu jako derovacischema (pokud existuje, maly otvor vyrtany na podpere se musi kryt s carou driVe vyznacenou na stene) a vyznacte tuzkou 2 otvory, vyvrtejte otvory (R8mm), vsunte 2 hmozdiky.
- Upevněte držák komínu na stenu 2 šrouby 5x45mm.
- Zavěste digestor na dolní držák.
- Upevněte definitivné digestor na stěnu (POVINNE!!!).
- Pripojte hadici pro vyfuk dymu (hadice a teshnici krouzky nejsou soucasti vybaveni - je treba je zakoupit) na spojovaci krouzek umisteny nad odsavacim motorem. Dalsi konec hadice musi byt spojen se zaifenim na vyfuk dymu navenek v pripadé pouziti digestore v odsavaci verzi. V pripadé, ze bye steheli pouzit digestor ve filtrujici verzi, upevnete deflektor F na drzak G a spoje dalsi konec hadice se spojovacin krouzkem na deflektoru F.
- Napojte na elektrickou sít.
- Umistete kominy a upevnete je 3 srouby (20a) na drzak kominu "G" (20b).
Pouze pro model s kontrolnim panelem na komíne:
Pouze v priapé, ze kontrlni panel nebyl doposud namontován na dolni komin:
Vsuñte povelovou desticku pocházejíci z motoróvého
agregatu prostrechnictvim otvoru komiu zevniš směrem navenek (20c).
Napojte kontrlni panel na desticku.
Pozor! Čep teminalu desticky se MUSí kryt s otvorem vytroenym do napojovaciho podstavce na zadní straně kontrolného panelu.
Pouze v pripadé, ze kontrlni panel byl jiz namontován na dolnim komine:
Napojte kontrlni panel na elektronickou skrǐnku digestоře.
Pozor! Čep teminalu desticky se MUSÍ krýt s otvorem vytvoreným do napojovacího podstavce na elektronicke skřínce (20d).
- Nechte sklouznout dolni casts komiu az do upnheho zakryti odsavaciho zairenya vsuhte ho do prislu-sneho ulozeni nad digestorfi.
- Upevné dolni sekci komiu dvěma srouby.
Namontujte zpět ramec uhlikového filtru a filtr/y proti mastnotám a zkontrolujte dokonale fungování digestore.
Pohled na digestoř
Obr.1
- Ovladaci panel
- Tukovy filtr
- Západka tukového filtru
- Halogenové osvětlení
- Pracovni plocha digestoře pro usměrněni par
- Teleskopicky kominek
- Vyfuk (pouze u filtracni verze)
Provoz
V priadé velmi intenzivni koncentration kuchynskych par použijte maximálni sací vykon. Doporučuje se zapnout digestor 5 minut pred zahajením vařeni a vypnout ji cca 15 minut po ukončeni vařeni.
Model s tlačitkový m ovládáním

A.Zapnut/vypnut osvetleni
B.Zapnuti/vypnuti odsavani a nastaveni nejnižsiho sacihostupne.
B+C.Zapnuti stredniho sacho stupne
B+D.Zapnuti maximánho sacho vykonu
E.Kontrlka funkci (u modelu s kruhovymi tlacitky)

a. - zapnutí/vypnutí osvětlení
b. -vypnuti motoru
SacVykon:
c. - minimálni; d. - střední; e. - maximální
Udrzba
Před zahájením prací pri údržbě digestoře prěnušte dodávku elektrického proudu.
Cisteni
Digestor musi byt casto cistena, ja uvnit tak zevne. Pro cisteni je treba pouzit latku navlchenou denaturovanym lihem anebo neutralnimi tekutymi cisticimi prostredky. Nepouziveje prostredky obsahujici brusné latky. NEPOUZIVEJTE ALKOHOL!
Pozor: Nedodrženi predispu tykajicich se cišěné digestore a vyměny i cišěné filtru znamená nebezpecí požáru. Doporučujeme tedy dodržovani uvedeného navodu.
Tukovy filtr
Obr.2
Tukovy filtr se musi 1 x do misice vyèistit (vyprat),(anebo jestlize systém vyznàeování saturace filtru -Pokud je souéásti vybavení vlastniného modelu - vyznàeujte tuto potèbu).
JeMZne jej eistit rueni jemnym mycim prostedkem nebo v kuchyoske myece poi nejnižsI teploti a kratsim programu. Demontaz sukoveho filtru je znazornina - zatlaete na zapadku filtru (B).
Filtr s aktivnim uhlikem (jen u filtracní verze)
Obr.3
Tento filtr poulcujé neprijemné pachy vznikajíc pi vařeni.
Filtr se musi kazdé 2 měsíce (anebo jestlize systém vyznacování saturace filtrù -Pokud je současti vybavení vlastného modelu - vyznacuje tuto potřebu) vycistit ručné v teplé vode vchodnym mycím prostředkem nebo v kuchynské mycce pri kompletním programu bez pritomnosti nádobi. Po vycistěné zbavte filtr prebytečné vody tak, aby jste jej neposkodili. Vyjměte jej z plastoveho rámu a dūkladné vysuste pri teplatě 100°C po dobu 10-ti minut v elektrické troube.
Filtr s aktivnim uhlikem se musi presto mènit každé 3 roky a navic vždy, když je poskozen.
Pro demontáž filtru pootočte fixačni šroubek rámu o 90^ (g).
Novou vložku s aktivnim uhlikem (i) vsunte do rámu (h) a vše namontujte zpět na odpopvidajci misto.
Je moźne používat tradicni typ filtru s uhlikem, ktery nelze myt Ci obnovit, a ktery je třeba vyměnovat jegnou za 3-4 měsice.
Ramec a pěnovka filtru s uhlikem jsou společné svařeny, eventuální ramec dodany s digestóří se tedy nemá používat.
Pred uzitim je tbreba ho umist do prislu-snheho ulozenia upevnit prostreductnictvim prislu-snych zaizeni.
Vymena zarovek
Obr.4
Odpoje pristroj z elektrické site.
Pozor! DriVe nez se doktete svitidel si ovebre ze vychladla.
Vyjměte ochranu jemným vypáčením pomoci malého sroubováku Č podobného nástroje.
Vyměnte poškozenou Žárovku.
- Používejte pouze halogenová svítidla PHILIPS STANDARD LINE kód 425409 a nová musí mit 12V 20W 30^ R35 12 V GU4.
- Pripojte lampicku k el.vedeni a vsunte lampicku zpe t do otvoru digestore.
Jestlize osvetleni nefunguje, dive nez zavolate servisi ovebre, zda jste spravnene nasadili zarovsky do ulozeni.
Vymena zarovek
Nepoužívejte nikdy digestoř bez správně namontované mřížky!
Mistnost musi byt dostatechne ventilovaná v pripadě, ze digestor je používána současné s da laími prístroji, které funguji na plyn a dalí paliva.
Odsány vzduch nésmi byt odvadén do potrubi použivaného pro vyvod dymu pocházejćich z pristrojú spalujćích plyn ci dalśi paliva.
Je přísně zakázáno pripravovatPokrmy na plameni, prímo pod digestoř.
Užíváni volného plamene je škodlivé pro filtry a muže věst k požárùm, proto je třeba se mu v kaźdem prípadě vyhnout.
Smazeni musi probihat pod kontrlou tak, aby rozpaleny olej se nevznftil.
Pokud se týká technickych a bezpečnostnich opatřeni, ktera je třeba prijmout pro vyvod dýmù, je třeba se rídit prěsne predpisy mistrichů príslušních organú.
digesto je nutno āsta o Čistit jak uvnit' tak zevně.
Nedodžovani norem Čišeni digestore a vyměny a Čišeni filtru sebou nese riziko požáru.
Tento spotbrebi je označeny v souladu s evropskou směrnici 2002/96/ES o likvidaci elektrického a elektronického zařizení (WEEE). Zajistěním správné likvidace tohoto vyrobku pomůžete zabránit pripadnám negativné dusledkúm naživotní prostřédí a lidské zdraví, ke kterým by nevhodnou likvidaci tohoto vyrobku mohlo dojít.

Symbol na vyrobku nebo na dokumentech prilozhenych k vyrobku udáva, ze tento spotřebic nepatri do domáciho opadu. Spotřebic je
nutne odvezt do sberného mista pro recyklaci elektrického a elektronického zařizení.
Likvidace musí být provedena v souladu s mîstnimi predpisy o ochraněživotniho prostředí, ktere se týkaji likvidace opadu.
Podrobnějs informace o zpracovani, reckuperaci a recyklaci tohoto vyrobku zjisté u príslušného mistrinho uradu, sluzby pro likvidaci domovniho oppadu nebo v obchodě, kde jste vyrobek zakoupili.
SnadnýManuál