Bravia KD55XG8196 - Televize SONY - Bezplatný návod k obsluze
Najděte návod k zařízení zdarma Bravia KD55XG8196 SONY ve formátu PDF.
Questions des utilisateurs sur Bravia KD55XG8196 SONY
0 question sur cet appareil. Repondez a celles que vous connaissez ou posez la votre.
Poser une nouvelle question sur cet appareil
Stáhněte si návod pro váš Televize ve formátu PDF zdarma! Najděte svůj návod Bravia KD55XG8196 - SONY a vezměte svůj elektronický přístroj zpět do rukou. Na této stránce jsou zveřejněny všechny dokumenty potřebné k používání vašeho zařízení. Bravia KD55XG8196 značky SONY.
NÁVOD K OBSLUZE Bravia KD55XG8196 SONY
Instalačné informace k používání nástěnného držák U Sony (SU-WL450)
Podporované modely:
KD-75XG80□□*/65XG81□□*/65XG80□□*/55XG81□□*/
- U Jednotlivych názvů modelů označuje „☐☐" Čísla a/nebo znaky popisujíci Jednotlivé konkrétné modely.
Pro zákazníky
Společnost Sony za učelem ochrany produktu a z důvodů bezpečnosti dürazné doporučuje, aby instalaci televizoru provedl prodejce Sony nebo autorizovaný dodavatel. Nepokoušejte se o jeho instalaci sami.
Pro prodejce a dodavatele Sony
Během instalace, pravidné udžby a prohlídek vyrobku dusledné dbeje na bezpečnost.
Instalace tohoto produktu vyžaduje dostatečné zkušenosti, zejměna pak pro posouzení, zda zed'unese váhu televizoru. Připevnění tohoto produktu na zed'byste měli svěrit prodejcům Sony nebo autorizovaným dodavatelům a během instalace věnovat patřčné pouzornost bezpečnosti. Společnost Sony nenesežádnou odpovědnost za poškození nebo zraněné způsoběné nesprávnou manipulaci nebo instalaci.
V zajmu bezpećné a správné instalace postupujte podle provoznich toknázi nástenného držák, průvodce nastavením televizoru a tokný v teto príručce.
Bezpečnostní opatřné
Dekujeme, ze jste si zakoupili tento produkt.
Informace pro zákazníky
Montáz tohoto produktu vyžaduje
odborné znalosti a zkušenosti. Proto
montáz tohoto produktu světe
prodejcúm nebo licencoványím
dodavatelüm společnosti Sonya během
montáze dodržujte uvedená
bezpečnostni opatřeni. Společnost Sony
nenese Žádnou odpovednost za jakékoli
skody nebo zraněni zpušobena
nesprávném zachazenim, nesprávnou
montázi nebo montáži jiného než
uvedeného produktu. Vase zákonna
préva (pokud existují) nejsou omezena.
Informace pro prodejce spolecnosti Sony
Montáz tohoto produktu vyzaduje
odborne znalosti a zkušenosti. Dukladné si pročtěte tento nadvok v použiti, abyste montáz mohli provest v souladu
s bezpečnostnimi potkyni. Společnost
Sony nenese zadnou opodědnost za jakékoli skody nebo zraněni zpúsobá naresprvný zacházenim nebo
nesprávnou montáź. Po povedení montáze tento nadvod vratte zákaznikovi.
Tento navod k pouziti popisuje spravnou manipulaci's produktem a obahujue dulezita upozorneni, jejichz dodržovani brani vzniku nahed. Tento navod si dukladne proctete a pouzivejte produkt spravnym zpusobem. Tento navod uschovejte pro budocii pouziti.
Produkty od společnosti Sony jsou navrženy s ohledem na bezpečnost. Pokud nebudete produkt použivat správně, mùže dojít k váznému zraněni ohmě, elektrickému šoku nebo v dusledku převrácné nebo pádu produktu. Aby k takovým nahodám nedoslo, vždy dodžujte uvedné bezpečnostní opatřeni.
UPOZORNENI
Urcené produity
Tato konzola pro montáž na zed je určena k použiti s urcenymi tevizory. V pflusnych Referencčnic přiruckák televizorum najdete informace o tom, se kterymi tevizory je možné nastěnný držák použivat.
Informace pro zákazníky
VAROVÁNÍ
Pokud nebudete dodržovat nasledujici bepezcnosti opateni, muze dojit k vázznym zraněnim nebo smrti v dusledku požáru, urazu elektrický proudem nebo pádu produktu.
Proto montáž tohoto\ produktu svěrte\ licencovanym\ dodavatelüm a během\ montáze nedovolte\ malým detem一定程度\ v blízkosti produktu.
Pokud konzolu pro montaz na zed nebo televizor nenamontujete spravne, muze dojit k nasledujicim nehodom. Montaz svte licencovanym dodavatelum.
- Televizor mûze spadnout a zpûsobit vázné
zraněni, napífklad zhmožděni nebo
zlomeninu. - Pokud zed, na kterou chete konzolu namontovat, neni stabilni, rovná a kolmá k podlaze, Jednotka muže spadnout a zpúsobit zraněni nebo poskozeni majetku. Stena by mela unest hmotnost alespón Čtyfnásoboku hmotnosti tsevizoru. (Informace o hmotnosti najdeve v Referenční píručce k tevizoru.)
- Pokud neni montaz konzoly na zed dostatečné pavna, Jednotka mužespdnout a zpúsobit zraněni nebo poskozeni majetku.
Preno nebo demontaz televizoru sverte licencovanym dodavatelum.
Pokud pfnos nebo demontaz tevizoru provadi jine osoby nez licencovani dodavatele, muze tevizor spatnout a zpuobservable nebo poškozeni majetku. Prenasei nebo demontaz tevizoru musi provadét dve nebo vice osob (ti nebo vice osob v pripadé tevizoru o velikosti 75 palcu a vice).
Po montáži televizoru nevytahujte šrouby atd.
V opacnem pripadé by mohl televizor spednout a zpúsobit zraneni nebo poškozeni majetku.
Současti konzoly pro montáž na zed'nijak neupravujte.
V opacnem pfipade by mohla konzola
spadnout a zpusobit zraneni nebo poskozeni
majetku.
Na konzolu nemontujte žádná jiná než určená zařízení.
Tato konzola pro montáž na zed je urcena k použí pouze s urcenymi zařizeními. Pokud na ni namontujete jine než urcené zařizení, mohlo by spadnout nebo se Rozlomit a zpúsobit zraněni nebo poškožné majetku.
Zabraţe tomu, aby na konzolu púsobila jiná zătež než televizor. Netřeste televizorem dolea/doprava, nahoru/ dolú.
V opacnem pripadé by mohl televizor
spadnout a zpusobit zraneni nebo poskozeni
majetku.
O televizor se neopírejte ani se na nej nezavěsujte.
O televizor se neopirejte ani se na nej nezavësujte, protoze by naVAS mohl spadnout a zpusobit vazné zraneni.
UPOZORNÉNÍ
Pokud nebudete dodržovat nasledujici opatfeni, muze dojit ke zraneni nebo poškozeni majetku.
Během Čistěné nebo provádećí udžržby na produkt nevyvjte nadměrnou silu.
Na horni ccast televizoru nevyvjejte silu. V opacnem pripadé by mohl televizor SPDnout a zpusobit zraneni nebo poskozeni majetku.
Bezpečnostní opatřné
- Pokud používáte televizor namontovany na konzole na zed dlouhou dobu, barva stěny za nebo nad televizorem se muže změnit nebo muže dojt k odlepeni tapety, v závislosti na materílu stěny.
- Pokud po montázi na zed konzolu odstranite, zustanou po ni diry na srouby.
Konzolu pro montáz na zed nepoužívejte na mistech, na která púsobí mechanické oftesy.
Montáž konzoly na zed'
Informace pro
prodejce společnosti
Sony
VAROVÁNÍ
Nasledujici pouny jsou urceny pouze pro prodejce spolecnosti Sony.Proctete siVyse uvedene pouny a behem montaze,udrzby a kontroy tohoto produktu venujte zvysenou pozornost bezpecnosti.
Konzolu na zed nemontujte na plochy stén, na kterych rohy nebo boky televizoru precnívaji ze steny.
Konzolu na zed nemontujte na plochy sten, napfiklad sloupy, na kterych rohy nebo boky televizoru pecnivaji ze steny. Pokud do vycnivajicho rohu nebo boku televizoru narazi osoba nebo predmet, muze dojit ke zraneni nebo poskozeni majetku.

Televizor nemontujte nad ani pod klimatizaci.
Pokud je televizor dlouhodobé vystaven prosakovani vody nebo proudu vduchuz klimatizace, muze dojit k pozaru, urazu elektrickym proudem nebo poruse televizoru.
Konzolu na zed'bezpecné namontujte podlenasledujicichPokynu v toto navodu k pouziti.
Pokud jsou kterekoli srouby uvolnene nebo poduk vypadnou, konzola muze spadnout a zpu sobit zarani nebo poskozeni majetku. Pouzivejtse srouby vhdne pro material steny a jegnotku bezpecné upevnete pomoci nejmene ctyr sroubu o prumru 8 mm (nebo ekvivalentni).

Používejte pouze
dodané šrouby a dalí
současti podlePokynú
uvedenych v tomto
námodu k použiti.
Pokud použijete
náhradní současti,
televizor můze
spadnout a způsobit
zraněni osob nebo
poskození televizoru.
Pokud jsou kterekoli srouby uovlnene nebo poskudnou, televizor muze spadnout a zpusobi zraneni osob nebo poškozeni televizoru.
Šrouby pevně utáhněte v určené poloze.
V opacnem pripadmuze tevizor spednout a zpuosbit zranenis obne poiskozeni tevizoru.
Během montáže dávejte pozor, aby nedoslo k nárazu televizoru.
Pokud je televizor vystaven nárazüm, muze dojit k jeho pádu nebo Rozlomeni. V dusledku toho by pak mohlo dojit ke zraneni.
Televizor namontujte na stenu, ktera je kolma a rovná.
V opacném pripadé by mohl tevizor
spadnout a zpusobit zraneni.
Pokud se do kabelú zamotaji osoby nebo jine prédměty, mže dojít ke zraněni nebo poskozeni televizoru.
Dávejte pozor, aby nedošlo ke skřipnuti napájecí šnúry nebo propojovacího kabelu.
Pokud dojde ke skripnuti napajeci šnúry nebo propojovacho kabelu mezi Jednotku a stenu nebo pokud dojde k jejich nasilinemu ohnuti nebo zkroucene, vinitni vodice mohou byt obnaženy a mohou zpúsobit zkrat nebo pferuseni elektrického obvodu. V dusledku toho muze dojt k požaru nebo urazu elektrickým proudem.

Šrouby nutné k montáži konzoly na zed'nejsou součástí baleni.
Při montáži konzoly na zed použivejte vchodné srouby pro material steny.
Obsah
Příprava na montáž. 5
Kontrola soucastei 5
Urcení mista montáze. 6
Montáž základny na zed' 8
Příprava na montáž televizoru 9
KD-75XG80□□ 9
KD-65XG81□/65XG80□ 10
KD-55XG81□□/55XG80□□ 11
KD-49XG81□/49XG80□/43XG81□/43XG80□
Montáž televizoru na zed 14
KD-75XG80□□ 14
KD-65XG81□□/65XG80□□/55XG81□□/ 55XG80□□/49XG81□□/49XG80□□/ 43XG81□□/43XG80□□
Potvrzení dokončeni montáze. 19
Dal'si informace 19
Technické udaje 19
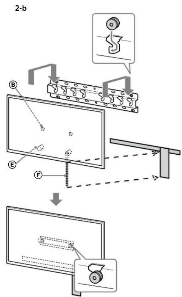
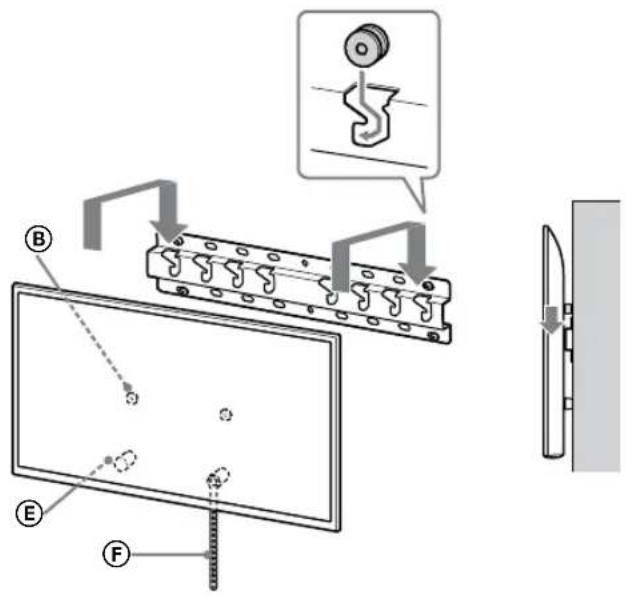
Montáž televizoru na zed
Montázní postupy se u jegnotlivych televizorú liśi.
K instalaci televizoru na zed' použijte nástěnný držák SU-WL450.
Poznámka
- Pokud je k televizoru pripojen stolni stojan,nejprve stolni stojan odpojte. Nahlédněte do dokumentu Prúvodce nastavením a provedte kroky pro pripojeni stolniho stojanu v obracnémen požadi.
Pri pirojovani casti prisluensstv nastenneho drakunnebo pri odstraovani stolniho stojanu od tevizorupolozte tevizor obrazovkou dolu na rovnou a stabilinpracovni plochuPokrytou silnou a mekkou latkou,aby nemohlo dojt k poskozeni povrchu LCD obrazovky.
Vysroubované srouby uschoveje na bezpecném miste mimo dosah deti.
Příprava na montáž
- Pred instalaci要去 po ruce referencni priručku a prüvodce nastavenim televizoru.
- Pred zahajenim sestaveni si prichystejte križový sroubovák pro urcené srouby.
Zkontrolujte montázní polohu televizoru. - Pripravte si nejmene ctyri srouby o prumere 8 mm a jeder sroub o prumere 5 mm nebo ekvivalentni (nejsou soucasti baleni).
Vyberte srouby vchodné pro material stěny.
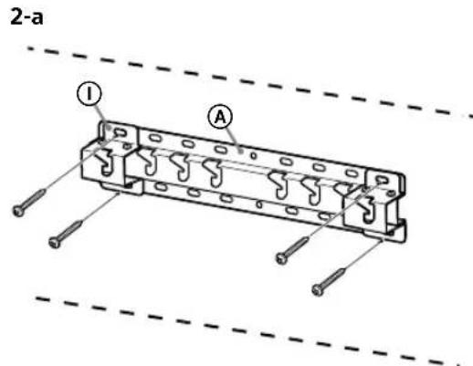
Kontrola současti
DodánosmodelemSU-WL450
Zkontrolujte, ze zdnSoucst nechybl.
| A Základna (20) (1) B | Kladka (2) |
| C Křížový šroub 6x20 (4) | D Křížový šroub 4x20 s průchodkou (2) |
| E Rozpěrka (20) (2) F | Pás (1) |
| G Průchodka (20) (M4) (2) | H Křížový šroub 4x20 (2) |
| I Adaptér základny (2) | J Křížový šroub 4x10 (8) |
| K Rozpěrka (60) (2) L | Křížový šroub 6x50 (2) |
| M Průchodka (M4) (2) | N Křížový šroub 4x50 (2) |
Urcení mista montáze
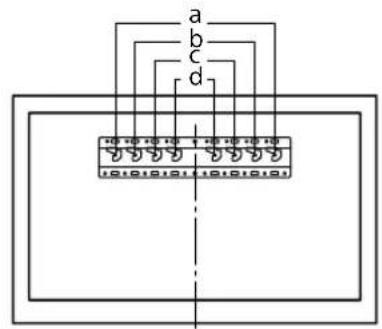
1 Rozhodněte se, kam chcete konzolu upevnit.
Ujistete se, ze je na zdi na televizor dostatek prostoru a ze zd' unese alespo nctyrnasobek hmotnosti televizoru. Informace o montaizi televizoru na zd' naleznete v nasledujici tabulce. Informace o hmotnosti televizoru naleznete v Referencni priruce k televizoru.

Jednotka: mm
| Název modelu | Rozměry obrazovky | Rozměr ve středu obrazovky | Délka pro montáž | |||
| a | b | c | d | e | ||
| Běžná montáž | Montáž u stěny | |||||
| KD-75XG80□□ | 1686970202690142100 | |||||
| KD-65XG81□□ | 1463845173597142100 | |||||
| KD-65XG80□□ | 1463845173597142100 | |||||
| KD-55XG81□□ | 124172195460141100 | |||||
| KD-55XG80□□ | 124172195460141100 | |||||
| KD-49XG81□□ | 1101645 | -15*314119 | 78 | |||
| KD-49XG80□□ | 1101645 | -15*314119 | 78 | |||
| KD-43XG81□□ | 97057023315119 | 77 | ||||
| KD-43XG80□□ | 97057023315119 | 77 | ||||
- Umistěné držák pod středem obrazovky.
Poznámka
- Hodnoty v tabulce se v závislosti na instalaci mohou miñě lišit.
Když televizor namontujete na zed, bude se horní strana televizoru miřné naklanět vpred.
Mezi televizorem a stropem a vyčnivajícimi
cástmi stěny ponechejte dostatečné
prostor, jak je znázorněno níze.
Jednotka: mm

- Abyste zajistili rădnou ventilaci a zabrani hromadeni neciastot nebo prachu:
Nepokladejte televizor naplocho, neinstalujte ho vzhuru nohama, obrazovkou ke stene ani na bok.
Neumistujte televizor na polici, koberec, postel ani do skfne.
- Nezakryvejte televizor latkou, napriklad zaclonami, ani takovymi prédmety, jako jsou noviny apod.
- Neinstalujte televizor, jak je znázorněno níze.
Cirkulace vzduchu je blokovana.

Poznámka
- Pokud mate v planu kabely vest steene, pred zaćatkem montaže vyvrteje ve zdi otvor pro kabely. Aby nedoslo ke skriplnuti kabelu, pripravte otvor ve zdi mimo obvod zakladny (20)®, adaptér zakladny ① a Rozpěrky (20)®, Rozpěrky (60) ®
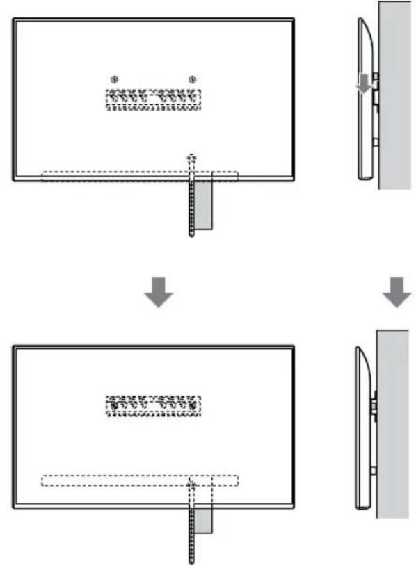
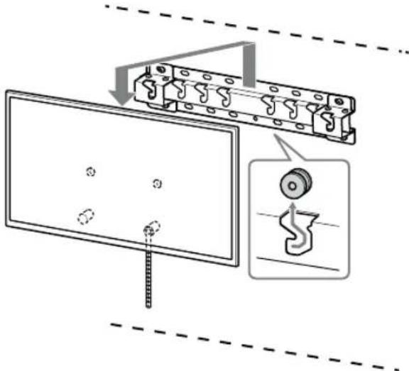
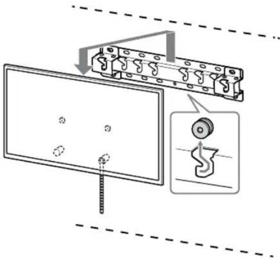
2 Zvolte styl montaze na zed. Vzdalenost zadni casti televizoru od steny muzete zvolit z nasledujicich moznosti.
2-a Bězná montáž
2-b Montáz u stény
Viz tabulku kroku 1.
VAROVÁNÍ
Kdyz volite moznost 2-b, bude pristup k zadnim konektorum omezeny.


3 Viz tabulku nize, ve které bajdete informace o mistréch pripevní adaptéru základny. Pokud zvolite možnost 2-b, tento krok preskócte.
| Název modelu Umístěné háku | |
| KD-75XG80□□ | |
| KD-65XG81□□ | b |
| KD-65XG80□□ | |
| KD-55XG81□□ | |
| KD-55XG80□□ | |
| KD-49XG81□□ | c |
| KD-49XG80□□ | |
| KD-43XG81□□ | d |
| KD-43XG80□□ | |

Když je zvolena moźnost 2-a, pripevněte adapterźakladny ① pomoci šroubu (PSW 4x10) ⑧ k zakladné (20) ④.

4 Určete umistěné šroubů pro montáž základny (20) (A).
Informace najdete v technickych udajich na strane 19.
Když zvolite moznost 2-a, použijte prosim umistěni otvoru adaptéru základny ①.
VAROVÁNÍ
- Stěna, na které bude televizor namontován, by mél unést hmotnost alespon Čtyrnássobku hmotnosti televizoru (Informace o hmotnosti najdete v Referencni pírucce k televizoru.)
-Urcete silu steny, na kterou bude televizor upevn. V priade potreby stenu dostatecné zpevnete.
- Pripravte si nejmene Čtyři srouby o prüměru 8 mm nebo ekvivalentné (nejsou současti baleni).
Umistete ctyri srouby do otvoru adaptere zukladny 1 a do zakladny (20) A (pouze 2-a). - Namontujte základnu (20) © na zed vodorovne.


Příprava na montáž televizoru
Instalaci na stojan provedte podle pruvodce nastavenim.
KD-75XG80□□
1 Vyznacte misto instalace na stene.
- Použijte maskovaci pásku atd. (není současti dodávky) pro vyznaceni umistěni televizoru v blízkosti základny nebo adaptéru základny. Viz následujíci tabulka.

Jednotka: mm
| Název modelu | Délka pro vyznačení | Rozměr ve středu obrazovky | ||
| a | b | c | d | |
| KD-75XG80☐☐ | 1 | 686 | 564 | 150 202 |
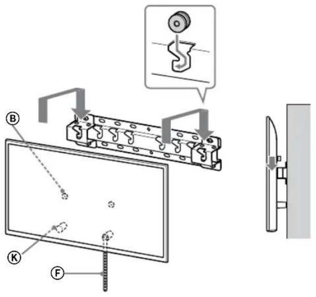
2 Připojte Časti príslušenství nástěnného držáku. Zkontrolujte Časti príslušenství v odstavci „Dodáno s modelem SU-WL450" v Časti „Kontrola současti“ na stranje 5.
Poznámka
- Pevne zajistete dily prisluşenstv pomoci šroubú.
Kdyz pouzivate elektricky sroubovak, nastavte utahovaci moment priblizne na 1,5 N·m {15 kgf·cm}. - Pouzite i nepouzite dily ulozte na bepezcnem miste pro budouci pouziti. Tento navod si uschovejte pro budouci pouziti.

Bězná montáž (2-a)
- Při totom zo púsobu montáze nebudete moci používat některé konektory a terminály na zadni straně televizoru.


Pred montaží televizoru na zed nezapamente zkontrolovat, zda jsou kabely pripojeny. Po montaží televizoru nebude mozné kabely zapojit. Informace najdete v Referencni prirucce dodané's televizorem.
Poznámka
Vytvořeni trasy kabelu ve stěné zadeje autorizovanému dodavateli.
- Spojte pripojovaci kabely do svazku, aby na ne nikdo nestoupl préd jejich montázi na stenu.
4 Odmontujte stolni stojan od televizoru.
- Odstraţe současné Jednu stranu stolniho stojanu. Pevné držte stolní stojan bezpečné oběma rukama, zatímco ostatné lidé zvedají televizor.

Opakujte predchozikrok a odstrahte druhou stranu stolniho stojanu.
Poznámka
- Odpojení stolniho stojanu od televizoru vyžaduje tri nebo vice lidí.
- Davejte pozor, abyste pri odpojovani stolniho stojanu od televizoru nepusobili nadmernou silou, protoze by televizor mohl spadnout a mohlo by tak dojit ke zraneni osob nebo k poskozeni televizoru.
- Pri manipulaci se stolnim stojanem daveje pozor, abyste zabrani poskozeni televizoru.
- Pri zvedaní televizoru budte opatrni, protoze pri odpojení stolního stojanu by mohlo dojit k jeho prevrácení a ke zraněni osob.
Pri demontazi stolniho stojanu z tevizoru budte opatrní, aby nedoslo k jeho pádu a poskození povrchu, na němž tevizor stoji.
KD-65XG81□□/65XG80□□
1 Připojte Časti príslušenství nástěnného držák. Zkontrolujte Časti príslušenství v odstavci „Dodáno s modelem SU-WL450" v Časti „Kontrola současti“ na straně 5.
Poznámka
- Pevně zajistěte díly príslušenství pomoci sroubú.
Kdyz pouzivate elektricky sroubovak, nastavte utahovaci moment priblznne na 1,5 N·m{15 kgf·cm}. - Pouzité i nepouzité díly uložte na bezpečné miste pro budouchi pouziti. Tento námod si uschovejte pro budouchi pouziti.

Bězná montáž (2-a)
Montáz u stěny (2-b)
Poznámka
- Pri toto zpusobu montaze nebudete moci pouzivat nekteré konektory a terminály na zadni straně televizoru.


Pred monta zi televizoru na zed nezapamente zkontrolovat, zda jsou kabely pripojeny. Po monta zi televizoru nebude mozné kabely zapojit. Informace najdete v Referencni priruce dedanés televizorem.
Poznámka
Vytvo'rení trasy kabelu ve stěné zadejte autorizovanému dodavateli.
- Spotje pripojovaci kabely do svazku, aby na ně nikdo nestoupl pred jejich montáží na stenu.
3 Odmontujte stolni stojan od televizoru.
- Odstraţe současné Jednu stranu stolniho stojanu. Pevné držte stolní stojan bezpečné oběma rukama, zatímco ostatné lidé zvedají televizor.

Opakujte predchozikrok a odstraente druhou stranu stolniho stojanu.
Poznámka
- Odpojení stolniho stojanu od televizoru vyžaduje tri nebo vice lidí.
Dávejte pozor, abyste pri odpojován stolního stojanu od televizoru nepusobili nadmernou silou, protoze by televizor mohl spadnout a mohlo by tak dojt ke zraněni osob nebo k poskození televizoru.
Pri manipulaci se stolnim stojanem davejte pozor, abyste zabrani poskozeni tevizoru.
Pri zvedanf televizoru budte opatnif, protoze pri odpojeni stolniho stojanu by mohlo dojit k jeho prveracenia ke zraneni osob.
Pri demontazi stolniho stojanu z tevizoru budte opatrní, aby nedoslo k jeho pádu a poskození povrchu, na němž tevizor stojí.
KD-55XG81□□/55XG80□□
1 Připojte Časti príslušenství nástěnného držáku. Zkontrolujte Časti príslušenství v odstavci „DodANO s modelem SU-WL450" v Časti „Kontrola současti“ na straně 5.
Poznámka
- Pevne zajistete dily prisluşenstvi pomoci šroubû.
Kdyz pouzivate elektricky sroubovak, nastavte utahovaci moment prblznne na 1,5 N·m {15 kgf·cm}. - Pouzité i nepouzité díly ulozté na bezpečné miste pro budouci pouziti. Tento námod si uschovejte pro budouci pouziti.

Bězná montáž (2-a)
Montáz u stěny (2-b)
Poznámka
- Pri toto zpusobu montaze nebudete moci pouzivat nekteré konektory a terminály na zadni straně televizoru.


Pred montaží televizoru na zed nezapamente zkontrolovat, zda jsou kabely pripojeny. Po montaží televizoru nebude mozné kabely zapojit. Informace najdete v Referencni prirucce dodané s televizorem.
Poznámka
Vytvořeni trasy kabelu ve stěné zadejte autorizovanému dodavateli.
- Spotje pripojovaci kabely do svazku, aby na ne nikdo nestoupl preejich monta zi na stenu.
3 Odmontujte stolni stojan od televizoru.

Poznámka
Pri zvedani televizoru budte opatni, protoze pri odpojeni stolnino stojanu by mohl dojit k jeho prevraceni a ke zraneni osob.
Pri demontazi stolniho stojanu z televizoru budte opatrní, aby nedoslo k jeho pádu a poskozeni povrchu, na němž televizor stoji.
KD-49XG81□□/
49XG80□□ / 43XG81□□ /
43XG80□□
1 Odmontujte stolni stojan od televizoru.

Poznámka
Položte televizor na misto, na které pred tim položite mekkou latku tak, aby nemohlo dojit k poskozeni povrchu obrazovky.
Pri instalaci nastenného drzaku nepoužívejte srouby vysroubované ze stolního stojanu.
- Odmontovany stolni stojan a jeho srouby uschovejte na bezpečné miste mimo dosah detí. Budete je potrebovat,Pokud BYSTE v budoucnosti chteli umistit televizor na stul.Stolni stojan nelze zakoupit samostatné.
VAROVÁNÍ
- Pred zapnutim televizoru se ujistete, ze se televizor nachazi ve svisle poloze. Televizor nezapinejte s LCD obrazovkou smerujici dolu, abyste zabranili vzniku nerovnomerneho obazu.
- Pokud bye stevizoru vystavili tlaku nebo nárazu, mohlo by dojit k prasknuti nebo poskozeni televizoru.
- Položte televizor obrazovkou dolu na stabilí a rovný povrch tak, aby stolní stojan prečnival prěs hranu tohoto povrchu. Pokud by byla obrazovka televizoru na stejné urovní jako stolní stojan, došlo by ke vzniku nestabilních pracovních podminek a k možnému poskození televizoru.
- Pri odpojovani stolniho stojanu od televizoru drzte stolni stojan pevnoe obema rukama.
2 Připojte Časti príslušenství nástěnného držáku. Zkontrolujte Časti príslušenství v odstavci „Dodáno s modelem SU-WL450" v Časti „Kontrola současti“ na straně 5.
Poznámka
- Pevně zajistěte díly príslušenství pomoci sroubu.
Kdyz pouzivate elektricky sroubovak, nastavte utahovaci moment priblznne na 1,5 N·m {15 kgf·cm}. - Pouzité i nepouzité díly uloze na bezměn misté pro budouci pouziti. Tento námod si uschovejte pro budouci pouziti.
Bězná montáž (2-a)

Při tomto zpúsobu montáze nebudete moci používat některé konektory a terminály na zadní straně televizoru.


Pred monta zi televizoru na zed nezapomezte zkontrolovat, zda jsou kabely pripojeny. Po monta zi televizoru nebude mozné kabely zapojit. Informace najdete v Referencni priruce dedanes televizorem.
Poznámka
Vytvoření trasy kabelu ve stěné zadejte autorizovanému dodavateli.
- Spotje pripojovací kabel do svazku, aby na ně nikdo nestoupl prerdjich montáží na stenu.
Montáž televizoru na zed'
KD-75XG80□□
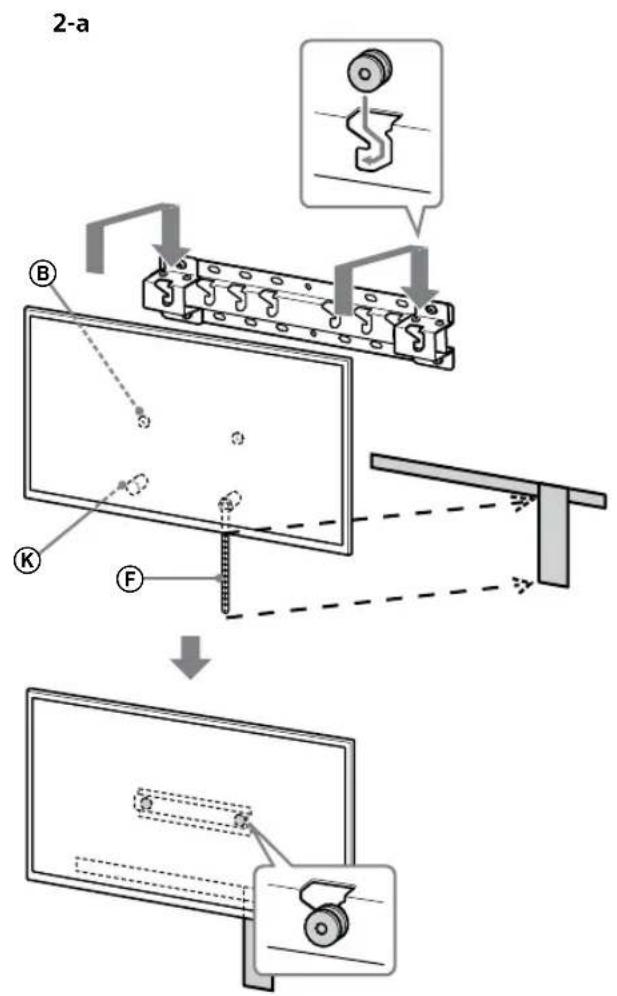
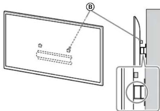
1 Zvedněte televizor.
- Informace o umisteni kladek (B) pro zavesei na zakladna nebo adapterz zakladny naleznete v tabulce, krok 3, v "Urcen i mista montaze" na strance 7.
- Ujistěte se, ze se zadní cást televizoru dotyká základny nebo adaptéru základny, když nesou televizor.
Poznámka
- Drzte televizor bezpečné oběma rukama a ujistěte se, ze páš (F) a spodní cást televizoru jsou zarovnány s maskováci paskou.
- Televizor by měli držet tří lidé a osoba, ktera stojí prěd televizorem, by měla ostatné navádet do správné pozice.

- Pri instalaci televizoru na stenu venujte velkou pozornost zejmena osobe, ktera tevizor drz i zespodu, protoze muze dojit k padu tevizoru a vaznemu zraneni nebo dokonce umrti.

2 Instalujte televizor na základnu nebo adaptorzákladny.
- Opatrne posunte televizor dolu a zaveste cladky (B) pripojené k zadni casti televizoru do zakladny nebo adaptru zakladny a zkontrolujte tvar otvoru.
- Po montáži televizoru na zed
zkontrolujte, zda jsou kladky (B) pevné
zaklapnuty v základné nebo v adaptéru
základny. - Pomalu uvolněte obě ruce a ujistěte se, ze nedojde k pádu televizoru.

- Po instalaci televizoru na stenu odstrańte maskovaci pasku atd. ze zdi.




VAROVÁNÍ
- Prenásení televizoru musí provadět dve nebo vice osob (trí nebo vice osob v pripadě televizoru o velikosti 75 palcu a vice).

3 Zajistete, aby se dolni casts televizoru neposunovala.
Uchopte kus pasu a pevné houpevnete ke zdi.


- Použijte sroub o prüméru 5 mm nebo ekvivalentni (není současti baleni).
Poznámka
Zkuste opatrě zatahnout za spodni stranu televizoru směrem k sobě a ujistěte se, ze se nepohne kupředu. Pokud zjistě je káykoli posun, není televizor rádně namontován a bude třeba pás (F) znovu pevně upevnit.
KD-65XG81□□/
65XG80□□ / 55XG81□□ /
55XG80□□ / 49XG81□□ /
49XG80□□ / 43XG81□□ /
43XG80□□
1 Zvedněte televizor.
- Informace o umisteni kladek (B) pro zavešeni na základny nebo adapterí rákladny naleznete v tabulce, krok 3, v „Urcení mista montáze" na stranc 7.
- Ujistěte se, ze se zadní cást televizoru dotyká základny nebo adaptéru základny, když nesou televizor.

Poznámka
- Drzte televizor bezpećné oběma rukama.
2 Instalujte televizor na zakladnu nebo adaptorzakladny.
- Opatrone posunte televizor dolu a zaveste cladky (B) pripojené k zadni casti televizoru do zakladny nebo adaptru zakladny a zkontrolujte tvar otvoru.
- Po montáži televizoru na zed'
zkontrolujte, zda jsou kladky ⑧ pevné
zaklapnuty v základné nebo v adaptéru
základny. - Pomalu uvolněte obě ruce a ujistěte se, ze nedojde k pádu televizoru.


2-a

2-b

↓

↓
VAROVÁNÍ
- Prenásení televizoru musí provadět dve nebo vice osob (trí nebo vice osob v pripadě televizoru o velikosti 75 palcú a vice).

3 Zajistete, aby se dolni casts televizoru neposunovala.
Uchopte kus pasu F a pevné ho upevnete ke zdi.


- Použijte šroub o prüměru 5 mm nebo ekvivalentni (není současti baleni).
Poznámka
Zkuste opatrne zatahnout za spodni stranu tevizoru smerem k sobe a ujistete se, ze se nepohne kupredu. Pokud zjistite jakykoli posun, neni tevizor radne namontovan a bude tbreba pás (F) znovu pevné upevnit.
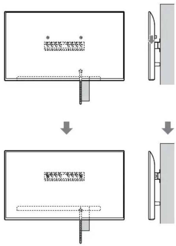
Potvrzení dokončeni montáže
Zkontrolujte následujíci body.
- Kladky (B) jsou pevné zavešeny na zakladne nebo na adaptéru zakladny.
- Snúry ani kabely nejsou zkroucenyi ani skriplnuty.
- Pás F je pevný, nikoli uvolnény.
VAROVÁNÍ
Nespravne umisteni napajeci sny atd. muze zpuosobit pozar nebo uraz elektrickym proudem v dusledku zkratu. Z bezpecnostnich duvodu je tbre da konceni montaze potvrdit.
Dalşı informace
Při demontáži televizoru provedte uvedeny postup v obraceném sledu.

VAROVÁNÍ
- Odstrańovani televizoru musi provadét dve neboVICE osob (tni nebo vice osob v pripadé televizoru o velikosti 75 palcu a vice).
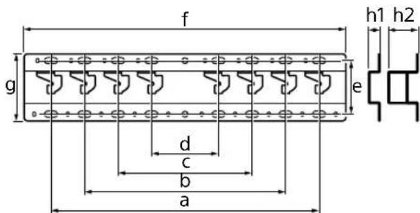
Technické udaje

Rozměry: (příbl.) [mm]
a : 400
b : 300
c : 200
d : 100
e:80
f:480
g : 100
h1:20(pripad 2-b)
h2:60(pripad2-a)
Hmotnost (pouze základna): (příbl.) [kg] 0,8
Vzhled a technické udaje se mohou bez predchozho upozorneni zmenit.
Počas instalácie, pravidelnej udržby a kontroly tohto produktu venujte plné pozornost bezpečnosti.
Instalacia tohto produktu vyžaduje adekvátne odborne znalosti. Obzvlást je potrebné urcit, cis je stena dostatočne pevná na to, aby udržala hmotnost televízneho prijímača. Pripevnenie tohto produktu na stenu zverte predajcom alebo licencovanym dodávatel'om spolocnosti Sony a poças instalacie venujte naležitú pozornost bezpečnosti. Spolocnost Sony nezodpovedá za ziadne škody ani zranenia spôsobené nevhodnou manipulaciou alebo nasprávnou instaláiou.
Pre bezpećnost a správnu instaláciu postupujte podla námodu na obsluhu montážnej konzoly na stenu, sprievodcu nastavením televízneho prijimača a podlaPokynov v toto námode.
Informácie o bezpečnosti
Montáž tohto produktu vyžaduje
adekvátne odborné znalosti. Montáž
zverte predajcovi alebo licencovanému
dodávatelovi produktov od spolocnosti
Sonya a poçaes montáze venujte nălezitù
pozornost bezpečnosti. Spolocnosti' Sony
nenesie zodpovednost za ziadne škody
ani ziranenia sposobene nésprévnou
manipuláciou alebo montážou, alebo
montážou akéhokolvek iného akó
specifikovaného produktu. Vase
pripadné zákonna né prava su nedotknuté.
Pre predajcov\ produktov spolocnosti\ Sony
Montáz toto produitу vyžaduje
adekvatne odbrorne znalosti. V zaujme
zaistenia bezpečnosti pri montázi si
dokladne prečitajte tento námod na
použivanie. Spolocnost Sony
nezodpovedá za ziadne skody ani
zranenia sposobene nevhodnou
manipuláciou alebo nesprávnou
montážou. Po montázi odovzdajte tento
námod zákaznikovi.
Časti montážnej konzoly na stenu neupravujte.
V opacnom pripade moze montazna konzola na stenu spadnut a sposobit zranenie alebo skody na majetku.
Priprava na montáž. 5
Kontrola dielov. 5
Kontrola dokončenej montáze 19
Dalsie informacia 19
Technické udaje 19
Montáž TV prijímaça na stenu
Postup montáze sa liši v závislosti od TV prijimaça.
Na instalaciu televizneho prijimaça na stenu pouzite montáznu konzolu na stenu SU-WL450.
Poznámka
- Ak je TV prijima c tripevneny k stolovemu stojanu, Najprv ho zo stoloveho stojana odmontujte. Ak chcete stolovy stojan odpojit, pozrite si Sprievodcu nastavenim a postupujte v opacnom poradi.
Pred pripevnenim upevnovacich casti montaznej konzoly na stenu alebo pri odpajan stoloveho stojana polozte televizny prijimač obrazovkou nadol na rovná a stabilné povrch zakrytý hrubou jemnou tkaninou, aby sa neposkodil povrch displeja LCD TV prijimača. - Odrskrutkované skruty uložte na bezpečnom miesto mimo dosahu detí.
Priprava na montáž
Položky dodávané s montážnou konzolou na stenu SU-WL450

Stredový bod obrazovky
Jednotka: mm
| Názov modelu | Rozmery displeja | Stredový rozmer obrazovky | Dížka pre montáž | |||
| a | b | c | d | e | ||
| Štandardná montáž | Montáž s krátkou vzdialenostou | |||||
| KD-75XG80□□ | 1686 | 970 | 202 | 690 | 142 | 100 |
| KD-65XG81□□ | 1463 | 845 | 173 | 597 | 142 | 100 |
| KD-65XG80□□ | 1463 | 845 | 173 | 597 | 142 | 100 |
| KD-55XG81□□ | 1241 | 721 | 95 | 460 | 141 | 100 |
| KD-55XG80□□ | 1241 | 721 | 95 | 460 | 141 | 100 |
| KD-49XG81□□ | 1101 | 645 | -15* | 314 | 119 | 78 |
| KD-49XG80□□ | 1101 | 645 | -15* | 314 | 119 | 78 |
| KD-43XG81□□ | 970 | 570 | 23 | 315 | 119 | 77 |
| KD-43XG80□□ | 970 | 570 | 23 | 315 | 119 | 77 |
- Hodnoty v tabulke sa možu v závislosti od instalacie mierne lišit.
- Ked' je televizny prijimač nainstalovaný na stene, horný okraj televizneho prijimača je mierne naklonený dopredu.
2-a Štandardná montáž
2-b Montáz s krátkou
vzdialenostou
Priprava na montáž TV prijímača
Montáž s krátkou vzdialenostou (2-b)
Poznámka
Montáž s krátkou vzdialenostou (2-b)
Poznámka
Pri pouziti tohto stylu montaze nemozete pouzivat niedtore z konektorov na zadnej strane televizneho prijimaça.


2 Pripojte k TV prijimaču potrebné káble.
1 Pripevnite upevnovacie Časti montážnej konzoly na stenu. Skontrolujte upevnovacie Časti podla Časti „Položky dodávané s montáznou konzolou na stenu SU-WL450" v sekci „Kontrola dielov" na strane 5.
Poznámka
- Pevne zaistite upevnovacie casti pomocou skrutiek.
Ak používate elektrický skrutkovač, krútiaci moment nastavte na približne 1,5 N·m {15 kgf·cm}.
Pouzite alebo nepouzite casti ulozte na bezpecnom mieste pre buduce pouzitie. Tento navod si odlozte pre pripad buducej potreby.
Standardná montáž (2-a)

Montáz s krátkou vzdialenostou (2-b)
Poznámka
Pri pouziti toto stylu montaze nemozete pouzivat niektoré z konektorov na zadnej strane televizneho prijimaça.


2 Pripojte k TV prijimaču potrebné káble.
Káble pripojte pred montážou TV prijímača na stenu. Po montáži TV prijímača k nemu nebude možné káble pripojit.
Štandardná montáž (2-a)

Montáz s krátkou vzdialenostou (2-b)
Poznámka
Pri použit tohto stylu montaze nemozete pouzivat niedkoré z konektorov na zadnej strane televizneho prijimaça.


3 Pripojte k TV prijimaču potrebné káble.
Káble pripoje pred montážou TV prijímača na stenu. Po montáži TV prijímača k nemu nebude možné káble pripojit.
Montáž TV prijímača na stenu
KD-75XG80□□
1 Zodvihnite televizny prijimač.
Skontrolujte nasledujuce:
- Kladky (B) pevne visia na podstavci alebo adapteri podstavca.
- Káble nie su skrutiene a priskripnute.
- Remen (F) je pevnapnuty.
VYSTRAHA
- Nesopravnu umiestnenie napajacieho kábla moze zapricinit požiar alebo zásah elektrickym prudom sposobene skratom. Z dovodu bezpečnosti nezabudnite skontrolovat kompletnost montáze.
Dalsie informácie
Pri demontázi TV prijímača zopakujte postup montáze v opacnom poradi.

VYSTRAHA
Dbajte na to, aby televizny prijima c pri odpajani drzali dvaja alebo viaceri luda (traja alebo viaceri luda pri televiznom prijima c 75 palcov a viac).
Technické udaje

Hmotnost (len podstavec): (pribl.) [kg]
0,8
Dizajn a technické udaje sa mozu zmenit bez upozornenia.
Glejte tabei v 1. koraku.
OPOZORILO
- Ce izberete 2-b, je dostop do zadnjih priključkov omejen.

SnadnýManuál