OF 1010 EBQ - Frézka FESTOOL - Bezplatný návod k obsluze
Najděte návod k zařízení zdarma OF 1010 EBQ FESTOOL ve formátu PDF.
Stáhněte si návod pro váš Frézka ve formátu PDF zdarma! Najděte svůj návod OF 1010 EBQ - FESTOOL a vezměte svůj elektronický přístroj zpět do rukou. Na této stránce jsou zveřejněny všechny dokumenty potřebné k používání vašeho zařízení. OF 1010 EBQ značky FESTOOL.
NÁVOD K OBSLUZE OF 1010 EBQ FESTOOL
| D | Originalbedienungsanleitung/Ersatzteilliste | 6 |
| GB | Original operating manual/Spare parts list | 12 |
| F | Notice d'utilisation d'origine/Liste de pieces de rechange | 18 |
| E | Manual de instrucciones original/Lista de piezas de repuesto | 24 |
| I | Istruzioni per l'uso originali/Elenco parti di ricambio | 30 |
| NL | Originele gebruiksaanwijzing/Lijst met reserveonderdelen | 36 |
| S | Originalbruksanvisning/Reservdelsliste | 42 |
| FIN | Alkuperäiset käytöohjeet/Varaosaluettelo | 47 |
| DK | Original brugsanvisning/Reservedelsliste | 52 |
| N | Originalbruksanvisning/Reservedelsliste | 57 |
| P | Manual de instruções original/Lista de peças sobreselentes | 62 |
| RUS | Оригинал Рожовсква по заимлуатаци/Перechень заимных частей | 68 |
| CZ | Originální námod k použití/Seznam náhradních dílů | 74 |
| PL | Oryginalna instrukcja eksploatacji/Lista.czěsci zamiennych | 79 |
OF 1010 Q
OF 1010 EQ
OF 1010 EBQ








6

7

8

9
Oberprüse
| Technické Údaje | OF 1010 EBQ | OF 1010 EQ | OF 1010 Q |
| Výkon 1010 W | 1010 W | 1010 V | 720 W |
| Otácky (volnobeh) | 10000 - 24000 min-1 | 9500 - 23000 min-1 | 26500 min-1 |
| Rychlé seřízení hloubky | 55 mm | 55 mm | 55 mm |
| Jemné seřízení hloubky | 8 mm | 8 mm | 8 mm |
| Přípojný zámít hnací hřídele | M16x1,5 | M16x1,5 | M16x1,5 |
| Průměr frézy | max. 35 mm | max. 35 mm | max. 35 mm |
| Hmotnost (bez kabelu) | 2,7 kg | 2,7 kg | 2,7 kg |
| Třída ochrany | ☐ / ☐ | ☐ / ☐ | ☐ / ☐ |
Uváděné obrázky jsou umístěny na začátku námodu k obsluze.
Symboly

Varováni préd všeobecným nebezpečím

Nosit ochranu sluchu!

Přecěte si námod/pokyny!

Používejte ochranné brýle.
1 Použivání k určenému učelu
Při použití vchodněch frézovacích nastrojů, doporučeněch v podkladech firmy Festool, je možno frézovat i hliník a sádrovou lepenku. Horní frézky jsou určeny k frézovány d'reva, umělych hmot a d'revu príbuzněch materiálú.

Za škody a urazy, které vznikly použiváním k jiným učelúm, než ke kterým je stroj určen, ručí uživatel.
2 BezpečnostníPokyny
2.1 Vseobecné bezpečnostní prędpisy

POZOR! Čtěte všechna bezpečnostní upozorněné a pokyny. Zanedbání níze uvedenych výstrah a nedodržováni príslušněch tokynú u způsobit zkrat, požár, event. těžký uraz elekám proudem.
Vsechny bezpečnostní použít i v budoucnosti.
Ve varovnych upozornénich použitý pojem „elektrónářadi“ se vztahuje na elektrónářadi provozované na el. siti (se sítovém kabelem) a na elektrónářadi provozované na akumulátoru (bez sítoveho kabelu).
2.2 Bezpečnostní poukyny specifikné prostroj
- Maximálí počet otáček, uvedeny na strojku, nesmí byt prekročen, rozsah otáček je třeba dodržovat.
- Upínejte pouze nástroje o takovém prùměru stopky, na který je upínaci klestina určená.
- Zkontrolujte pevnézasazení frézy a jej bezvadný chod.
- Upínaci klestina a présuvná matice nesměj vykazovatŽádné poškození.
- Frézky s trhlinami nebo se zdeformovaným tvarem se nesměji používat.

Používejte vchodné osobní ochranné pomůcky: ochranu sluchu, ochranné brýle a prachovou masku pričinnostech, kdy dochází ke vzniku prachu a pracovní rukavice pri opracovávání hrubích materialú nebo pri vyměné nastroje.
- Elektrické náradí Festool se smí montovat pouze na pracovní stúl, který je k tomu firmou Festool určeny. Montáž na jiný pracovní stúl nebo pracovní stúl vlastné výroby může zpúsobit, ze elektrické náradí nebude bezpečné, což může věst k těžkým urazům.
3 Informace o hlučnosti a vibracích
Hodnoty zjiisténé podle normy EN 60745 dosahuji následujících hodnot:
Hladina akustického tlaku/hladina akustického výkonu
OF 1010 EBQ, OF 1010 EQ 79/90 dB(A)
OF 1010 Q 87/98 dB(A)
Prídavná hodnota nespolehlivosti měřeni K = 3 dB

Nosit ochranu slchu!
Celković hodnoty vibrací (součet vektorů ve třech směrech) zjištěné podle EN 60745:
Hodnota vibraci (3 osy) a_h = 5,5 ~m / s^2
Rukojet a_h = 8,0 ~m / s^2 Nepresnost K = 2,0 ~m / s^2
Uvedené hodnoty vibraci a hlucnosti byly zmeřeny podle zkušebnich podminek uvedenych v EN 60745 a slouží pro porovnámí nářadi. Jsou vhodné také pro prědebězné posouzení zatíženi vibracemi a hlukem pri použití nářadi. Uvedené hodnoty vibraci a hlucnosti se vztahují k hlavnímu použití elektrického nářadi. Prijiném použití elektrického nářadi, s jinými nastroji nebo pri nedostatečné udžbě se zatíženi vibracemi a hlukem může během celé pracovní doby vyrazné zvysit. Pro prěsné posouzení během prědem stanovené pracovní doby je nutné zohlednít také dobu chodu nářadi na volnoběh a vypnutí nářadi v rámci títo doby. Tim se může zatíženi během celé pracovní doby vyrazné snížit.
4 Elektrické pripojení a uvedeni do provozu

Sít'ové napěti musí souhlasit s udaji na vykonovém štītu.
Spínač (1.2) slouží jako vypínač (I = zapnuto / 0 = vampnuto). Pro trvalý provoz jej lze zajistit postranním aretačním knoflíkem (1.1). Opakovaným stisknutím spínače se aretace uvolné.
Před kazdou prací na stroji je nutné vždy vytáhnout sít'ovou zăstrčku ze zásuvky!
5.1 Elektronika (OF 1010 EBQ/OF 1010 EQ)
Je-li elektronika porouchána, nepracujte se strojem, protoze jeho otáčky mohou prśahovat po-volené hodnoty otáček. Vladnou elektroniku poznáte podle toho, ze nedochází k pozvolnému rozběhu a nelze regulovat počet otáček.

Elektronickéřizení OF 1010 EBQ, OF 1010 EQ umožnuje:
Pozvolny rozběh
Otáčky lze plynule nastavit kolečkem (1.16) v rozsahu mezi 10000 a 24000 min ^-1 (OF 1010 EQ: 9500 a 23000 min ^-1 ). Timůžete vchodné prízpúsobit rychlost šržu použitěmu materiálu:
| Materiaíl | Prüměr frézy [mm] | Doporuče-ny šrezný materiál | ||
| 3 - 14 | 15 - 25 | 16 - 35 | ||
| Poloha prěpipinacího kolečka | ||||
| Tvrdé dřevo | 6 - 4 | 5 - 3 | 3 - 1 | HW (HSS) |
| Měkké dřevo | 6 - 5 | 6 - 3 | 4 - 1 | HSS (HW) |
| Dřevotřískové desky pota-žené | 6 - 5 | 6 - 3 | 4 - 2 | HW |
| Umělá hmota | 6 - 4 | 5 - 3 | 2 - 1 | HW |
| Hliník | 3 - 1 | 2 - 1 | 1 | HSS (HW) |
| Sádrový karton | 2 - 1 | 1 | 1 | HW |
Konstantí otáčky
Nastavené otáčky budou trvale udržovány jak pri chodu naprázdno tak i pri opracovávní.
Tepelná ochrana
K ochraně prístroje prěd prěhřátím vypne zajišťovací elektronika prístroj prí dosaženi kritické teploty motoru. Po ochlazení v rozmézi asi 3 až 5 minut je prístroj opět pripraven k použití. Doba ochlazení se zkrátí,Pokud prístroj pobeží na volnoběžné otáčky.
Brzda (OF 1010 EBQ)
Frézka OF 1010 EBQ je vybavena elektronickou brzdou, která po vypnutí strojku uvede vřeteno s nastrojem príbl. za 2 vteriny do klidu.
5.2 Vyměna nastroje
Za učelem výměny nastroje lze náradí postavit i vzhúru nohama.
a) nasazení nástroje
- Do otevřenych upinacích kleštin zasuţe frézovác nastrojPokud možno nadoraz,alespon však ke značce (V) na stopce frézy.
- Otočte vřetenem natolik, až pri zatlačeni zaskovi aretace vřetene (1.14) a vřeteno se zajisti.
- Utáhněte matici (1.13) pomoci vidlicového kíche SW 19.
b) vyjmutí nástroje
- Otočte vřetenem natolik, až pri zatlačeni zaskovi aretace vřetene (1.14) a vřeteno se zajisti.
- Povolte matici (1.13) pomoci vidlicového klide SW 19 natolik, abyste učitili odpor. Překonejte tento odpor dalším otačením vidlicového klide.
- Vyjměte frézovací nastroj.
5.3 Vyměna klešinového upínacího pouzdra
Lze obdržet upinací klestiny pro následující prüměry stopky: 6,0 mm, 6,35 mm, 8 mm (objecná Čísla viz katalog Festool nebo internetové strány „www.
festool.com“).
- Matici (1.13) kompletné odśroubujte a sejměte ji spolu s klešinovým upínacím pouzdrem z vřetene.
- Zasad'te nové klešinové upínací pouzdro smatici do vřetene a lehce matici pritáhněte. Neutahujte matici, není-li zasunutá fržka!
5.4 Nastavení hloubky frézování
Nastavení hloubky frézoványí Rozdělím do tří kroků:
a) Nastavení nulového bodu
- Otácejte upínací páčkou (1.6) tak, aby byl doraz hloubky (1.7) volné pohyblivý.
- Postavte horní frézku podložkou (1.11) na rovný podklad. Povolte knoflík (1.15) a zatlačte strojekt tak daleko dolů až frézovací nastroj prilehne k podkladu.
- Náradí v títo poloze zajistěte utažením otočného knoflíku (1.15).
- Zatlačte doraz hloubky drážky proti Jednomu ze tří pevních dorazu otočného revolverového dorazu (1.9).
Šroubovákem můžete jegnotlivě nastavit výšku kázdého pevného dorazu:
- Posuţe rafičku (1.4) dol'u tak, aby na stupnici (1.5) bylo 0 mm.
b) Predvolení hloubky frézování
Požadovanou hloubku fržováni je možno prědvolit bud'to pomoci rychlého nebo jemného nastavení hloubky fržováni.
- Rychlé nastavení hloubky: Vytáhněte doraz hloubky dražky (1.7) tak dalece směrem nahoru, až raficka ukáze požadovanou hloubku frézovány. V títo poloze upnéte doraz hloubky dražky upinací páčkou (1.6).
Jemné nastavení hloubky: Utáhněte doraz hloubky drážky upínaci páčkou (1.6). Otačením regulačniho kolečka (1.3) nestavte požadovanou hloubku fržovány. Otočite-li regulačním kolečkem o jestnu rysku, zmení se hloubka fržovány vždy o 0,1 mm. Jedna kompletní otáčka prydstavuje 1 mm. Maximálné regulačné rozsah kolečka cini 8 mm.
c) Prisun frézovací hloubky
-
Povolte knoflik (1.15) a zatlačte strojek směrem dolů tak, aby se doraz hloubky drážky dotýkal pevného dorazu.
-
Nařadi v títo poloze zajistěte utažením otočného knoflíku (1.15).
5.5 Odsavání

Náradí by mélo být trvale pripojeno k odsávacímu zařizení.
Horní frézky jsou sériově vybaveny prípiojkou pro odsávání pilin a prachu (1.8). Současně zabrañuje odsávaci kryt (2.2) na bočním dorazu vylétání pilin.
Pří frezováni hran dosáhnemenejlepšího odsávání pomoci ochranného krytu AH-OF, který je součástí príslušenstvi.
Lapac trisek KSF-OF
Pomoci lapace trisek KSF-OF (9.1) (castecnve rozsahu dodavky) je mozné pri frezovani hran zvysit učinnost odsavani. Montáž se provádi analogicky s kopírovacim kroužkem.
Kryt je mozné podél dražek (9.2) seríznout a tím zmenšit. Lapac trísek ne mozné používat u vnitrních poloměrů až do maximálniho poloměru 40 mm.
6 Práce s náradím

Obrobek upevněte vždy tak, aby se pri opracovávání nemohl pohybovat.
Nářadi držte vždy oběma rukama za príslušná držadla (1.15, 1.17).
Pracujte vždy tak, aby směr prědsuvu horní frézký byl v protisměru otáčeni frézovaciho nastroje (protichůdné frézoványi)!
Frézujte pouze v protisměru (směr posuvu stroje ve směru Žezu náradí, obrázek 5).
6.1 Obráběné hliníku

Při opracováni hliníku je z bezpečnostních důvodů nutné dodržovat následujíci opatěrní:
- Okružné pilu zapojte prěs jistič s proudovou ochranou (Fl, PRCD).
- K nárdí prípoje vhodný vysavač.
- Náradí pravidelné Čistěte a kryt motoru zbavujte nánosù prachu.

Používejte ochranné brýle.
6.2 Ručni frézování
Horní frézu vedeme ručné predevším pri frézoványí písma nebo obrazu a pri opracováványí hran pomoci fréz s nábhovým kruhem nebo vodicím Čepem.
6.3 Frézováns bočním dorazem
Pro práce vykonávané rovnobězně s hranou je možno použít bočné doraz (3.2), který je součástí dodávky (u „modulu 5A“ není v rozsahu dodávky):
- Obě vodici tyće (3.7) uchyt'te otočnými knoflíky (3.3) na bočním dorazu.
- Vodicí tyčezasunte na požadovaný rozměr do dražek (1.10) stolu frézky a upevněte je otočnám knoflíkem (3.1).
Rychleji a prěsněji mûžete tuto vzdálenost nastavit pomocić jemného serízení (3.6), které tvóř součást príslušenství:
- Zašroubujte justovaci šroub (3.4) do umělohmotné Časti bočniho dorazu,
- upněte vodici listy pomoci knoflíků (3.5) k jemnému seřízení,
- povolte knofliky (3.3) na bočním dorazu,
- nastavte požadovaný odstup pomoci justovacího sroubu a knoflíky znovu utáhněte.
6.4 Frézováni se zařizením pro rozsǐrení stolu TV-OF
Za učelem rožsīreni áložné plochy stolu horní frézky a zlepšeni vedení frézky, např. pri frézováni těsněPRI okrají je možno použít zařizení pro rožsīreni stolu TV-OF, které tvörí součást príslušenstvi.
6.5 Frézováni pomoci vodicího systému FS
Vodicí systém, ktery je součásti príslušenství, usnadnuje frézovány rovnych dražek.
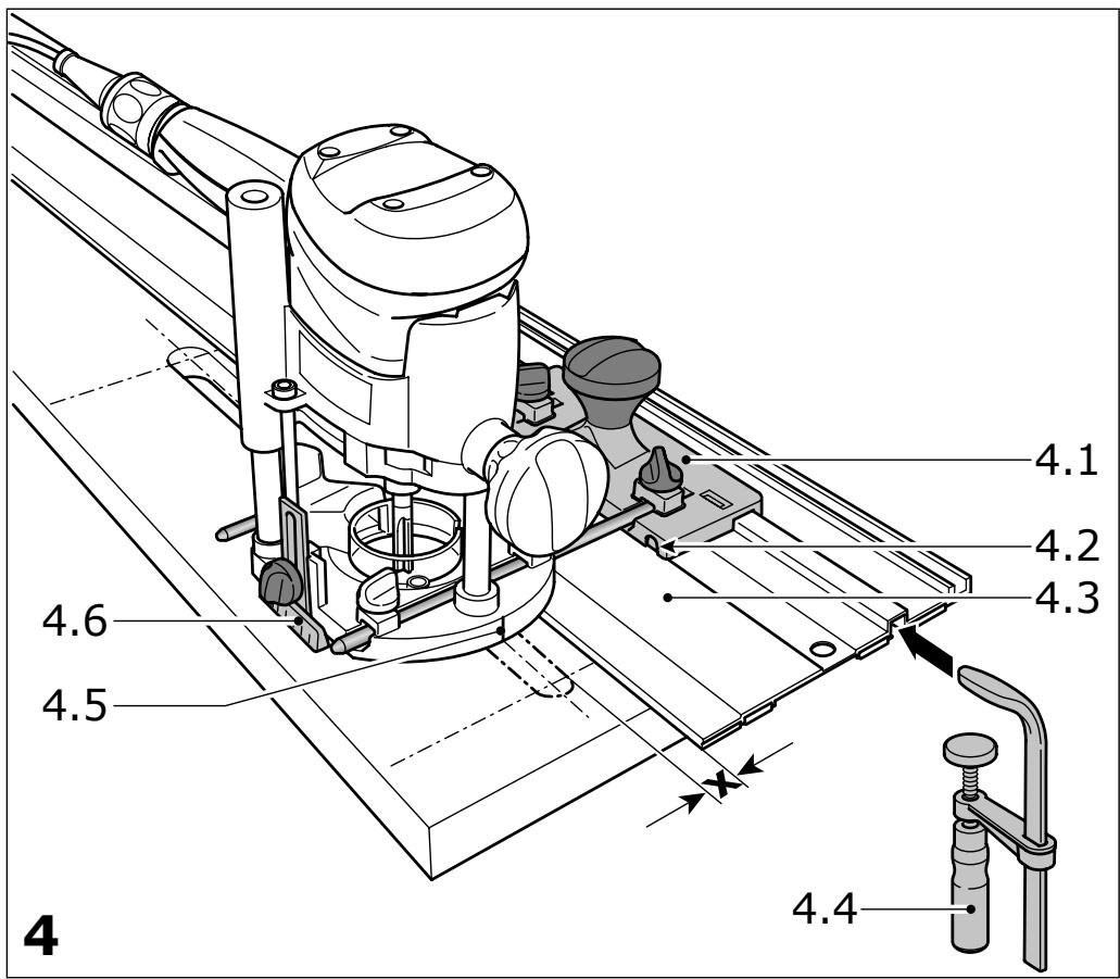
- Připevněte vodici doraz (4.1) s vodicími listami (3.7) bočniho dorazu k frézovacímu stolu.
- Připevněte vodici lištu (4.3) šroubovacími svorníky (4.4) k obrobku. Dbejte na to, aby byl zajistěn bezpečnostné odstup X (obr. 4) ve vzdálenosti 5 mm mezi prědní hranou vodici lišty a frézovacímm nastrojem, przyp. drázkou.
- Nasad'te vodici doraz na vodici listu, jak je znázorněno na obr. 4. K zajišťeni vedení fržovacího dorazu bez vůle múžete šroubovákem dvěma postranními otvory (4.2) nastavit dvě vodici Želisti.
- Příšroubujte podpěru (4.6), u které lze nastavovat požadovanou výšku, k závitovému otvoru (6.6) frézovaciho stolu tak, aby spodní strana frézovaciho stolu byla rovnobězně s povrchem obrobku.
Aby bylo możno pracovat podle nárysu, ukazuje značka na frézovacím stole (4.5) a stupnice na podpěře (4.6), střed osy frézovacího nástroje.
6.6 Frézováni s tycovým kružítkem SZ-OF 1000
Pomoci tycového kružitka SZ-OF 1000, které je součástí príslušenství, lze tvořit kulaté cásti, príp. kruhové vyřezy o prüměru mezi 153 a 760 mm.
- Zasunte tycové kruzidlo tak daleko do předné
casti frézovacího stolu, až dosáhnete požadovaný poloměr.
- Zaaretujte tycové kružidlo knoflikem (1.12).
Praktická rada
Aby nedocházelo k vytvořeni drážky špičkou kružidla, je možno do středu pripevnit oboustrannou lepici páskou tenkou desticku.
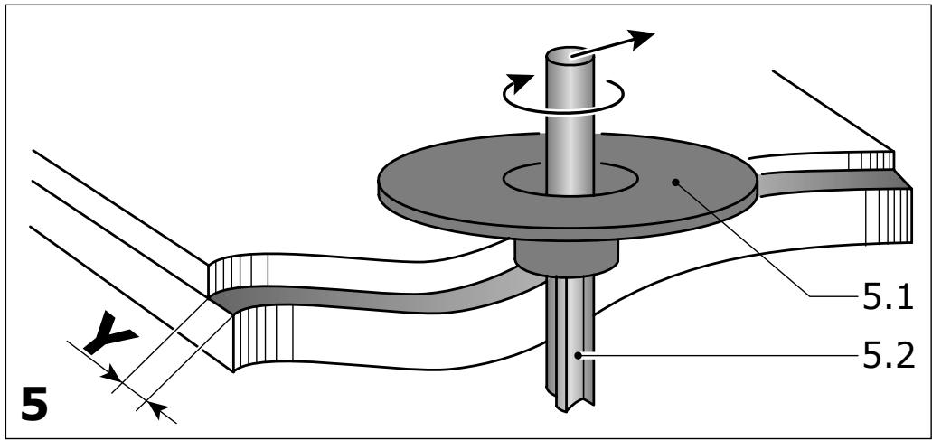
6.7 Kopírovací frézování
K vyrobě navlas stejnych vyrobků se používa kopírovaci kroužek nebo kopírovací zařizení (oboji je současti príslušenstvi).
a) Kopírováčí kroužek
Připevněte kopírovací kroužek na mistro kryciho kroužku (2.1), zespodu k frézovacímu stolu.
Při volbě velikosti kopírovacího kroužku (5.1) dbejte na to, aby frézovaci nastroj (5.2) prošel jeho otvoREM.
Přesah Y (obr. 5) mezi obrobkem a šablonou se vypocítá následovné:
$$ Y = \underbrace {(\emptyset k o p i r o v a c i h o k r o u z k u - \emptyset f r e z o v a c i h o n a n s t r o j e)} _ {2} $$
S centrovacím trnem ZD-OF (obj.cís. 486035) se nechá kopírovácí krouzek presne vystredit.
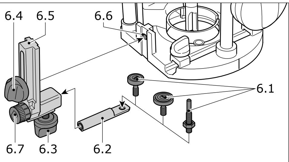
b) Kopirovací zařizení
Ke kopírovacímu zařizení je nutné úhelníkové rameno WA-OF (6.5) a sada kopírovacích hrotů KT-OF, která se skláda z držák uvalce (6.2) a trí kopírovacích valců (6.1).
- Příšroubujte uhelníkové rameno knoflíkem (6.4) v požadované výšce k závitovému otvoru (6.6) frézovacího stolu.
- Kopírovácí válec pripevněte k držák uvalcú a príšroubujte jej knoflíkem (6.3) k uhelníkovému ramenu. Dbejte na to, aby kopírovácí válec a frézovácí nastroj měly stejný prüměr!
- Otáčením regulačniho kolečka (6.7) je možno nastavit vzdálenost valce k ose frézky.
6.8 Lícované frézování nákližkú
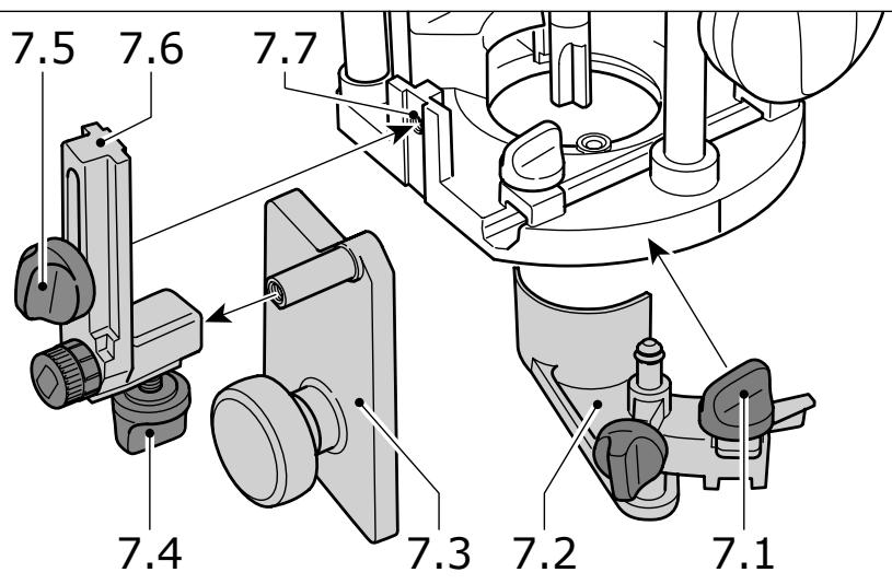
Pomoci uhelnikového ramena WA-OF (7.6), ve spojení s vodici deskou UP-OF (7.3), oboji tvorí součást príslušenstvi, je možno provadět licované frézovány présahujćích náklížků.
- Příšroubujte uhelníkové rameno knoflíkem (7.5) k závitovému otvoru (7.7) frézovácho stolu.
- Příšroubujte vodici desku k úhelníkovému ramenu knoflíkem (7.4).
- Hloubku frézoványí nastavte tak, aby Činila tlouš'ku nákližku + 2 mm.
-
Přitáhněte vodici desku (8.1) povolením knoflíku (8.3) co nejblíže k frézovacímu nástroji.
-
Nastavte regulačním kolečkem (8.2) hloubku frézováni vodicí desky tak, aby pri licovaném frézováni zustalo několik desetin milimétru, které pak zabrousité ručné.
Ochrana proti letu pilin SF-OF (7.2), ktera tvoři součást príslušenství, zlepšuje pri frézovány nákližků odsávány prachu. Knoflikem (7.1) se bočné pripevní k frézovacím u stolu a kryje pri przy (_{obr.8}) frézovác nastroj shora.
7 Príslušenstvī

Pro zajisteni vlastni bezpečnosti používejte pouze originálni príslušenstvi a nahradní díly Festool.
Festool nabízí obsáhlé príslušenství, které Vám umožné mnhostranné a efektivné využití Vašeho nařadi, napr.: fržovací kružítko, vodicí lipty s ċradami ċdér, fržovací pomůcka, stúl fržky pro stacionární použiti.
Evidencni cisla objednani pro prisiušenstvi a nastroje naleznete ve Vašem katalogu Festool, nebo na internetu pod „www.festool.com".
8 Udrzba apéce

Před každou prací na stroji je nutné vždy vyтáhnout sít'ovou zástrčku ze zásuvky!

Vsechny ukony provadene pri udrzbe a opravach, ktere vyzaduji otevreni krytu motoru, smi provadet pouze autorizovaná servisni dlna.
K zajišěné cirkulace vzduchu, museji být chladici otvory vzduchu v krytu motoru vždy volné a udržované v Čistotě.
Přístroj je vybaven samovypínacími specielními uhlyk. Pokud se opotřebuji, dojde k automatickému prerušeni proudu a přístroj se zastaví.
9 Likvidace
Nevyhazujte elektrická nářadi do domovního odpadu! Nechte ekologicky zlikvidovat nářadi, príslušenstvá a obaly! Dodržujte pritom platné národní prédpisy.
Pouze EU: Podle evropské směrnice 2002/96/ES musí být stará elektrická zařizení tréděna a prědána k ekologické likvidaci.
10 Záruka
Pro naše prístroje poskytujeme záruku na materiálni nebo vyrobní vady podle zákonnych ustanovení dané země, minimálné však 12 měsiců. Ve statech Evropské unie je záručné doba 24 měsiců (prokázání fakturou nebo dodacím listem). Škody vyplývajćí z prirozeného opotřebení, prětežoványí, nasprávného zacházení, resp. Škody zaviněné uzivatelem nebo
zpʊsobené použitím v Rozporu s námodem k obsslupe, nebo škody, které byly pri nákupu známty, jsou ze záruky vyloučeny. Rovnéž jsou vyloučeny škody, které byly zpʊsobeny použitím neoriginalniho príslušenstvī a spotřebního materiálu (napr. brusné talîre).
Reklamace mohou byt uznány pouze tehdy,Pokud bude strojek v nerozebraném stavu zaaslán zpět dodavateli nebo autorizovanému servisímu středisku Festool. Dobre si uschovejte námod k obsluze, bezpečnostnéPokyny,seznam nahradních dìlú a doklad o koupi.Jinak platí vždy dané aktuálné záručné podmínky vyrobce.
Poznámka
Díky neustálému vyzkumu a vyvoji jsou změny zde uvádenych technickích udajú vyhrazeny.
11 ES prohlášeni o shodě
| Horní frézka | Sériovéč. |
| OF 1010 Q | 490108 |
| OF 1010 EQ | 491991 |
| OF 1010 EBQ | 490174 |
| Rok označení CE: 2000 |
Prohlasujeme s veskerou odpovedností, ze tento vyrobek je ve shoděs následujićimi normami nebo nominativnémi dokumenty.
EN 60745-1, EN 60745-2-17, EN 55014-1, EN 55014-2, EN 61000-3-2, EN 61000-3-3 podle ustanové směrnic 98/37/ES (do 28. prosince 2009), 2006/42/ES (od 29. prosince 2009), 2004/108/ES.
paa. 0j. jdaaenn nn
Dr. Johannes Steimel 11.01.2010
Vedouci vyzkumu, vyvoje, technické dokumentace
FESTOOL GmbH
Wertstr. 20, D-73240 Wendlingen
Adresa pro vyrobky Festool, jejich príslušenstvá spotřebnímaterial
REACH je naízení o chemickych látkách, platné od roku 2007 v celé Evropě. Jako následné uživatel, tedy jako vyrobce vyrobkú jsme si vědomi své informáčné povinnosti vúči zákazníkům. Abychom vás mohlí vždy informovat onejnovějsím vyvoji a o možněch látkách zeseznamu látek v nasích vyrobcích, vytrořili jsme pro vás následující webovou stránku: www.festool.com/reach
Notice-Facile